патент
№ RU 2022521
МПК A61B3/10

УСТРОЙСТВО ДЛЯ КОНЪЮНКТИВАЛЬНОЙ БИОМИКРОСКОПИИ

Авторы:
Слободянюк И.Л.
Номер заявки
4911890/14
Дата подачи заявки
15.02.1991
Опубликовано
15.11.1994
Страна
RU
Как управлять
интеллектуальной собственностью
Чертежи 
2
Реферат

[13]

Изобретение относится к медицине и предназначено для прижизненного исследования микроциркуляторного русла коньюнктивы глаза человека. Цель изобретения - повышение эффективности исследования. Устройство содержит налобник 1 с элементом фиксации его на голове, выполненным в виде упруго-эластичной ленты. На налобнике 1 закреплена горизонтальная направляющая 3, на которой установлены две подвижные каретки 4, снабженные фиксатором положения 5 плоско-пружинного типа и надглазным элементом, выполненным в виде светонепрозрачного шара 6, размер которого соответствует диаметру не более 1,5 см, закрепленного на конце штока 7, установленного в вертикальном проеме каретки 4 перед направляющей 3 с возможностью осевого перемещения за рукоятку 8, расположенную на другом конце штока 7. Шток 7 снабжен фиксатором положения 9, выполненным в виде плоской пружины. 1 з.п. ф-лы, 3 ил.

Формула изобретения

1. УСТРОЙСТВО ДЛЯ КОНЪЮНКТИВАЛЬНОЙ БИОМИКРОСКОПИИ, содержащее налобник с горизонтальной направляющей, установленной на последней подвижную каретку с фиксатором ее положения и надглазным элементом, закрепленным на каретке соединительным элементом с фиксатором, отличающееся тем, что, с целью повышения эффективности исследования, устройство снабжено аналогичным надглазным элементом, закрепленным соединительным элементом на дополнительной каретке, при этом надглазный элемент выполнен в виде шара диаметром преимущественно 1,5 см.

2. Устройство по п.1, отличающееся тем, что фиксаторы положения кареток и соединительных элементов выполнены в виде плоских пружин.

Описание

[1]

Изобретение относится к медицине и предназначено для прижизненного исследования микроциркуляторного русла конъюнктивы глаза человека.

[2]

Известна щелевая лампа ШЛ=56, предназначенная для исследования глаз в целях диагностики глазных болезней, травм и проведения конъюнктивальной биомикроскопии, содержащая осветитель, лицевой установ с подручником, координатный и инструментальный столики, бинокулярный микроскоп с офтальмонологической линзой.

[3]

Недостатком данной щелевой лампы является неудобство ее использования при проведении конъюнктивальной биомикроскопии, так как свет от осветителя, попадая в зрачок, вызывает слезотечение и моргание, что затрудняет визуальное наблюдение, фото- и киносъемку и является причиной снижения точности исследования сосудистого русла глаза. Данное устройство обладает также сложной конструкцией.

[4]

Известно устройство для биомикрогониоскопии, содержащее щелевую лампу, налобник с элементом крепления его на голове и закрепленной на нем горизонтальной направляющей, снабженной подвижной кареткой с фиксатором положения и надглазным элементом. Недостатком этого устройства является неприменимость для конъюнктивальной биомикроскопии микроциркуляторного русла глаза, применение анестезии глаза и векорасширителей при соприкосновении с роговицей глаза, что приводит к сложностям в работе и дискомфорту исследуемого пациента, а также неудобство использования фиксирующими устройствами положения надглазного элемента.

[5]

Целью изобретения является повышение эффективности исследования.

[6]

Эта цель достигается тем, что надглазный элемент выполнен в виде светонепрозрачного шара, диаметром не более 1,5 см, причем надглазных элементов установлено два, на раздельных каретках с плоско-пружинными фиксаторами положения.

[7]

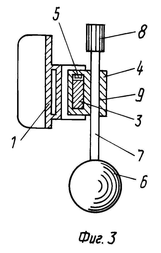
На фиг. 1 изображено устройство, общий вид; на фиг. 2 - устройство в плане; на фиг. 3 - разрез А-А на фиг. 1.

[8]

Предлагаемое устройство для конъюнктивальной биомикроскопии включает в себя налобник 1 с элементом 2 фиксации его на голове, выполненным в виде упруго-эластичной ленты. На налобнике 1 закреплена горизонтальная направляющая 3, на которой установлены две подвижные каретки 4, снабженные фиксаторами положения 5 плоско-пружинного типа и надглазными элементами 6, выполненными в виде светонепрозрачного шара, размер которого соответствует диаметру не более 1,5 см, закрепленного на конце штока 7, установленного в вертикальном проеме каретки 4 перед направляющей 3 с возможностью осевого перемещения за рукоятку 8, расположенную на другом конце штока 7. Шток 7 снабжен фиксатором положения 9, выполненным в виде плоской пружины. На направляющей 3 установлены две подвижные каретки, что значительно облегчает условия исследования.

[9]

Предлагаемое устройство используют следующим образом. Пациента усаживают перед источником освещения. Перемещением каретки 4 и штока 7 за рукоятку 8 устанавливают надглазные элементы 6 в такое положение, при котором их тень от источника света падает на глаз только в пределах радужки, после чего приступают к исследованию: отмечают периваскулярные изменения в виде наличия или отсутствия периваскулярного отека, единичных или множественных геморрагий. Изучают форму сосудов: венул, артериол и капилляров, обращают внимание на неравномерность калибра, наличие аневризм, меандровидной извитости, изучают сетчатую структуру капилляров, отмечают зону запустевания, наличия сосудистых клубочков. Определяют артериоло-венозное соотношение. С целью документации полученных данных, можно проводить фото- или киносъемку.

[10]

Положительный эффект от использования предлагаемого устройства по сравнению с базовым (щелевая лампа ЩЛ-56) выражается в повышении точности проводимых исследований и удобства использования. Использование предлагаемого устройства позволяет получить качественно новый положительный эффект, заключающийся в том, что надглазный элемент в форме светонепрозрачного шара обеспечивает наложение тени на глаз точно в форме круга, а размер его - не более 1,5 см - обеспечивает наложение тени только в пределах радужки, чем обеспечивается полная комфортность исследуемого пациента при предельно простом управлении устройством.

[11]

Изобретение целесообразно использовать в медицинской практике для исследования микроциркуляторной системы организма, являющейся важнейшей частью кровеносного русла, на уровне которой происходит ряд сложнейших биологических процессов: тканевый обмен веществ, газообмен, распределение крови, нейрорефлекторная регуляция. Эта система представляет собой сложную структуру, реагирующую на все патологические процессы еще в доклиническом периоде и принимающую на себя первый удар. С этих позиций изучение данной системы представляет для клиницистов несомненный интерес. Биомикроскопия является одним из самых простых и доступных методов исследования микроциркуляторной системы в целом. Расстройство гемомикроциркуляции, выявленное биомикроскопически, позволяет констатировать наличие болезни, своевременно диагностировать ранние сосудистые изменения, предшествующие его клиническому проявлению, контролировать результаты лечения. Предлагаемое устройство для конъюнктивальной биомикроскопии рекомендуется использовать во врачебной практике специалистам следующих профессий: терапевтами, окулистами, хирургами, педиатрами, невропатологами.

[12]

Биомикроскопия позволяет наблюдать динамику патологического процесса, своевременно ориентироваться в выборе метода лечения. Пользуясь биомикроскопией можно уже в ранние сроки наблюдения за больным, судить о прогнозе заболевания. Отмечено большое значение этих исследований для изучения патогенеза, диагностики, оценки клинического состояния больных и контроля эффективности лечения при ряде патологических процессов.

Как компенсировать расходы
на инновационную разработку
Похожие патенты