патент
№ RU 2021474
МПК E21B17/00

УСТРОЙСТВО ДЛЯ ОПРЕССОВКИ ЛИФТОВОЙ КОЛОННЫ В СКВАЖИНЕ

Авторы:
Куртов В.Д.
Номер заявки
5014456/03
Дата подачи заявки
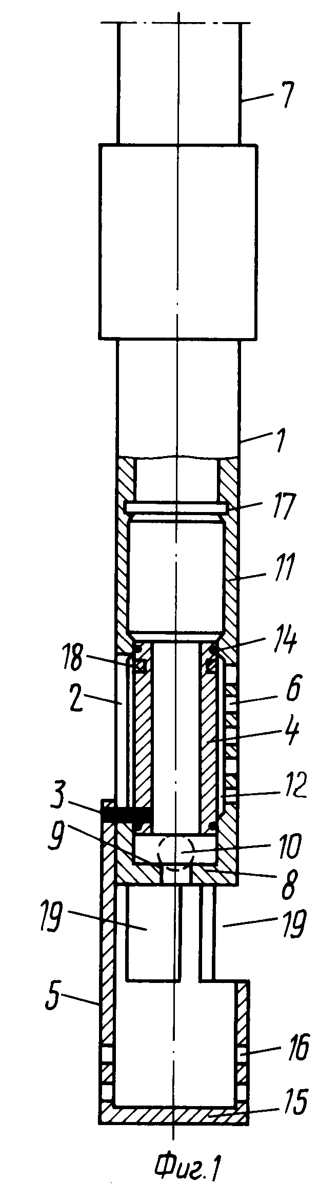
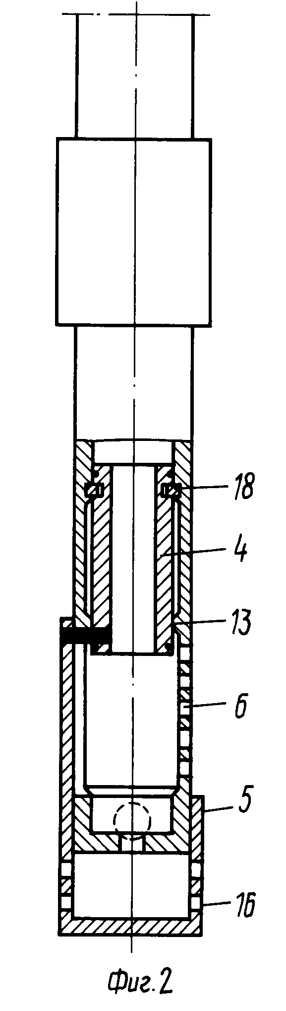
29.11.1991
Опубликовано
15.10.1994
Страна
RU
Как управлять
интеллектуальной собственностью
Чертежи 
2
Реферат

[17]

Использование: в нефтегазодобывающей промышленности и разведке на нефть и газ при спрессовке лифтовых колонн. Сущность: устройство состоит из корпуса имеющего сквозные пазы, по которым скользит соединительный элемент, связывающий втулку, установленную внутри и чехол. Корпус выполнен с промывочными окнами в нижней части и с дном. Корпус имеет седло под бросовый запорный орган и выполнен с кольцевыми расточками, разделенными кольцевым буртом. Выше верхней расточки имеется кольцевая канавка для захода в нее пружинного фиксатора, установленного на наружной поверхности втулки. Для опрессовки лифтовой колонны внутрь ее сбрасывают запорный орган и создают опрессовочное давление. Для открытия промывочных окон и производства скважинных работ устройство на колонне опускают до забоя и весом колонны перемещают вверх чехол и втулку которая в верхнем положении фиксируется фиксатором. 1 з.п. ф-лы, 2 ил.

Формула изобретения

1. УСТРОЙСТВО ДЛЯ ОПРЕССОВКИ ЛИФТОВОЙ КОЛОННЫ В СКВАЖИНЕ, включающее корпус с седлом в нижней части осевого канала под бросовый запорный орган, отличающееся тем, что, с целью уменьшения времени на проведение подготовительных работ, оно снабжено расположенной в полости корпуса втулкой и установленным с наружной стороны корпуса с возможностью ограниченного осевого перемещения кожухом, имеющим в нижней части опору и связанным с втулкой соединительным элементом, причем корпус выполнен со сквозным пазом под последний и с промывочными окнами, а втулка имеет фиксатор ее положения в верхней части корпуса и установлена с возможностью перекрытия промывочных окон корпуса в рабочем положении устройства.

2. Устройство по п.1, отличающееся тем, что, с целью повышения надежности в работе, корпус на внутренней поверхности выполнен с расположенными одна под другой кольцевыми расточками, имеющими длину меньше длины втулки, и кольцевым буртом между расточками, причем нижняя кольцевая расточка выполнена в месте расположения промывочных окон корпуса.

Описание

[1]

Изобретение относится к нефтегазодобывающей промышленности и предназначено для опрессовки колонны насосно-компрессорных труб.

[2]

Известно устройство для опрессовки колонны бурильных труб в скважине, содержащее корпус с седлом под бросовый запорный орган (1).

[3]

В данном устройстве значительно сужен проходной канал по сравнению с каналом бурильной колонны. А так как по колонне НКТ закачивают значительные объемы жидкости и нередко с наличием наполнителей (при проведении изоляционных работ, интенсификации, гидроразрывы и др.), то это сужение вызывает большие гидравлические сопротивления, а нередко закупоривается.

[4]

Наиболее близким к предлагаемому является устройство для опрессовки лифтовой колонны в скважине, содержащее корпус с седлом под бросовый запорный орган (2).

[5]

При применении данного устройства для проведения дальнейших работ бросовый орган нужно вымыть на поверхность обратной промывкой. На это приходится тратить значительное время, для промывки с увеличенной производительностью нужны дополнительные промывочные агрегаты. При этом часто, особенно в наклонных скважинах вымыть бросовый орган (шар) не удается.

[6]

Целью изобретения является сокращение подготовительно-заключительных работ.

[7]

Эта цель достигается тем, что в известном устройстве для опрессовки лифтовой колонны, содержащем корпус с седлом под бросовый запорный орган, дополнительно содержится втулка, помещенная внутри корпуса, и чехол, расположенный снаружи, связанные между собой соединительным элементом, скользящим по сквозным пазам корпуса, корпус выполнен с промывочными окнами, перекрываемыми в рабочем положении втулкой, вход снизу имеет опору, причем чехол и втулка установлены с возможностью осевого передвижения вверх и с фиксацией в крайнем положении.

[8]

С целью повышения надежности и снижения усилий при передвижении вверх, корпус выполнен с двумя проточками внутри, разделенными перешейком, при этом нижняя проточка выполнена на уровне нахождения промывочных окон корпуса, а верхняя - на уровне нахождения втулки в транспортном положении.

[9]

На фиг.1 изображено предлагаемое устройство в рабочем положении (в момент опрессовки лифтовой колонны); на фиг.2 - то же, в транспортном положении.

[10]

Устройство имеет корпус 1 (см. фиг.1), выполненное со сквозными пазами 2, по которым скользят штифты 3, жестко соединяющие втулку 4, вставленную внутрь корпуса 1, и чехол 5. Корпус 1 выполнен с промывочными окнами 6 в нижней части суммарная площадь которых должна быть не меньше площади его поперечного сечения. Это обеспечит минимальную величину гидравлических сопротивлений при прокачивании жидкости. Вверху корпус 1 имеет резьбу для соединения с колонной лифтовых труб 7, а внизу дно 8 с седлом 9 под бросовый запорный орган 10. Чтобы при передвижении втулки 4 вверх или вниз оказывались минимальные сопротивления, в корпусе 1 выполнены две кольцевые расточки 11, 12, разделенные кольцевым буртом 13, имеющим диаметр, равный внутреннему диаметру корпуса 1 в месте посадки втулки 4 в нижнем положении и обеспечивающим герметичность перекрытия окон 6 втулкой 4.

[11]

Втулка 4 имеет уплотнения 14, расположенные на ее наружной поверхности. Высота втулки 4 превышает высоту расточки 12, чтобы обеспечить герметичность перекрытия промывочных окон 6. Чехол 5 имеет снизу опору 15, а в боковой стенке его выполнены окна 16. Выше верхней расточки 11 в корпусе 1 выполнена кольцевая канавка 17 для захода в верхнем положении пружинного фиксатора 18, установленного на наружной стороне втулки 4. В верхней части кожуха 5 выполнены полусквозные широкие прорези 19 для исключения перекрытия промывочных окон 6 корпуса 1 в верхнем положении чехла (см. фиг.2).

[12]

Опрессовку лифтовой колонны с помощью описываемого устройства производят следующим образом.

[13]

Перед проведением работ по ремонту скважины, например, изоляционных работ (или других) лифтовую колонну 7 нужно опрессовывать. Для этого в скважину опускают колонну НКТ 7 (или лифтовую колонну) с устройством на конце (но без бросового запорного органа 10). Как правило, подавляющее большинство работ по изоляции проводят в районе продуктивного пласта, т.е. вблизи забоя. Чтобы чехол 5 в процессе спуска колонны 7 не переместился вверх, на колонне 7 вблизи устройства устанавливают два центратора (на чертежах они не показаны). При спуске устройства в осложненных условиях (больший угол наклона ствола скважины, ствол скважины заполнен промывочной жидкостью с большим удельным весом и т.д.), чехол 5 следует дополнительно зафиксировать, на корпусе 1, например, с помощью срезного элемента (срезаемого при упоре на забой, допустим, при усилии 1,5 тс). В этом случае низ опоры 15 чехла 5 следует делать конусной.

[14]

После спуска лифтовой колонны 7 и промывки скважины внутрь колонны 7 сбрасывают запорный орган 10 (шар). После посадки шара 10 в седло 9 в колонне 7 создают нужное давление и выдерживают ее положенное время. Окончив опрессовку, давление в колонне 7 плавно снижают. Колонну 7 допускают до забоя и весом ее (частично разгрузив) сдвигают чехол 5 в крайнее верхнее положение. При своем передвижении чехол 7 сдвигает вверх через штифты 3 втулку 4. Как только пружинный фиксатор 18 окажется против кольцевой канавки 17, он заходит в нее (см. фиг.2) и жестко фиксирует втулку 4 в корпусе 1. Через открывшиеся промывочные окна можно делать любые скважинные операции, связанные с промывкой скважин, в том числе и изоляционные работы. Для выполнения этих операций устройство на колонне 7 поднимают на заданную глубину и производят запланированные работы.

[15]

Устройств не сложно по конструкции и может быть сделано в промысловых мастерских. Обеспечивается надежная работа его в разнообразных условиях, в том числе и наклонных скважинах. Позволяет сократить время на проведение скважинных работ, так как они производятся сразу после проведения опрессовки без дополнительных потерь времени.

[16]

Устройство принято Долиискоим УПНП и КРС к проведению испытаний в Ноябрьском нефтепромысловом районе (Север Тюменской области) решением техсовета от 29.IX.91).

Как компенсировать расходы
на инновационную разработку
Похожие патенты