патент
№ RU 201918
МПК G01V11/00

Устройство для геофизических исследований

Авторы:
Холодков Игорь Николаевич Алёшин Игорь Михайлович Холодков Кирилл Игоревич
Все (6)
Номер заявки
2020128261
Дата подачи заявки
25.08.2020
Опубликовано
21.01.2021
Страна
RU
Как управлять
интеллектуальной собственностью
Чертежи 
2
Реферат

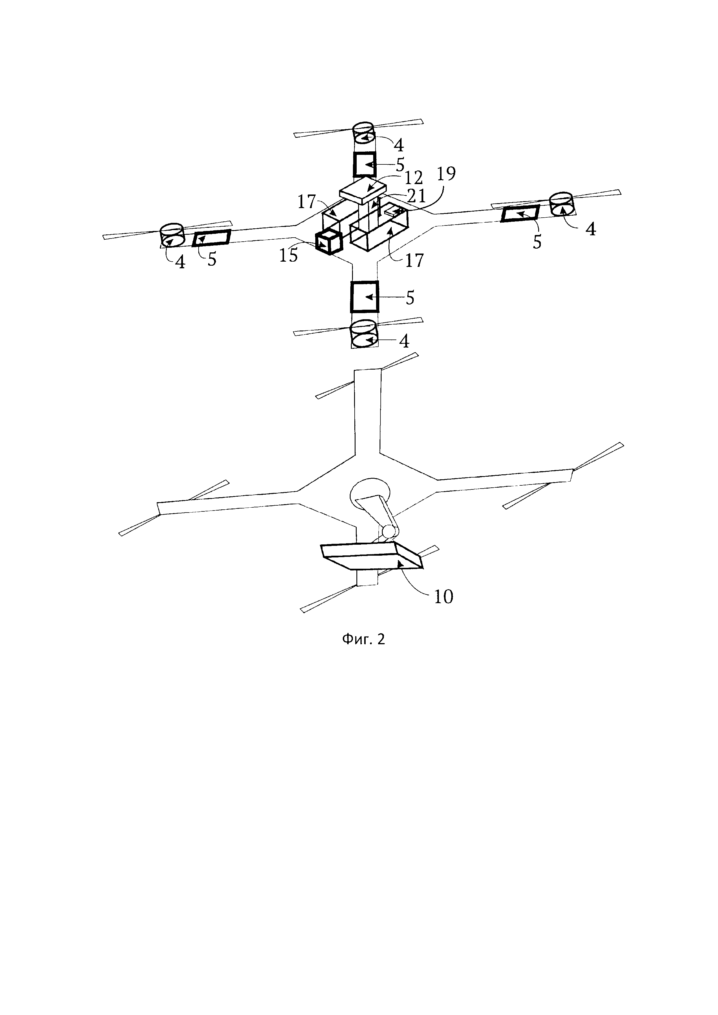
Полезная модель включает мультироторный летательный аппарат 1, состоящий из рамы 2 с лучами 3, к которой прикреплены, по меньшей мере, четыре электродвигателя 4, регуляторы скорости двигателя 5, количество которых соответствует количеству электродвигателей 4, система 6 управления полетом с трехосевым гироскопом 7, трехосевым акселерометром 8 и барометром 9, геофизические приборы 10, приемник 11 сигналов ГНСС с антенной 12, блок 13 данных индикаторов полета, система 14 синхронного сбора данных измерений, выполненных геофизическими приборами, и данных индикаторов полета, курсовая камера 15, соединенная с блоком 16 аналоговой видеопередачи изображения, источник питания 17, представляющий собой по меньшей мере одну аккумуляторную батарею, радиомодем 18 для связи с компьютером оператора, компас 19, приемник сигналов управления внешнего пилота 20. В качестве геофизических приборов используют по меньшей мере один прибор, выбранный из группы: камеру видимого диапазона, мультиспектральную камеру, сканирующий лидар, магнитометр, гравиметр, радоновый датчик, георадар или устройство электроразведки. Приемник 11 сигналов ГНСС установлен с возможностью работы с по меньшей мере двумя основными гражданскими сигналами ГНСС и обеспечения частоты измерений не менее 10 Гц. Антенна 12 выполнена двухдиапазонной и жестко закреплена на нерастяжимой поддерживающей платформе 21 и установлена соосно вертикальной оси гироскопа, т.е. ее фазовые центры расположены соосно вертикальной оси гироскопа. 2 ил.

Формула изобретения

Устройство для геофизических исследований, включающее мультироторный летательный аппарат, состоящий из рамы с лучами, к которой прикреплены по меньшей мере четыре электродвигателя, регуляторы скорости двигателя, система управления полетом с трехосевым гироскопом, трехосевым акселерометром и барометром, геофизические приборы, приемник сигналов ГНСС с антенной, отличающееся тем, что оно снабжено блоком данных индикаторов полета, системой синхронного сбора данных измерений, выполненных геофизическими приборами, и данных блока индикаторов полета, курсовой камерой, соединенной с блоком аналоговой видеопередачи изображения, при этом приемник сигналов ГНСС установлен с возможностью работы с по меньшей мере двумя основными гражданскими сигналами ГНСС и обеспечения частоты измерений не менее 10 Гц, антенна выполнена двухдиапазонной и жестко закреплена на нерастяжимой поддерживающей платформе и установлена соосно вертикальной оси гироскопа, а в качестве геофизических приборов используют по меньшей мере один прибор, выбранный из группы: камера видимого диапазона, мультиспектральная камера, сканирующий лидар, магнитометр, гравиметр, радоновый датчик, георадар, устройство для электроразведки.

Описание

[1]

Полезная модель относится к области геофизики и может быть использована для выполнения геофизических измерений, таких как геомагнитные измерения, георадарная разведка, электроразведка, радиоизотопные измерения, измерения формы рельефа, мультиспектральное картирование.

[2]

Известен беспилотный аэромагнитный комплекс коптерного типа, включающий расположенные на подвешенном на тросе выпускном диске, магниточувствительный датчик для измерения модуля полного вектора магнитной индукции, датчик GPS, стабилизатор и измерительный блок(см, патент RU на полезную модель №173640, G01V 3/16, 2016).

[3]

Недостатком данного устройства является низкая эффективность исследований за счет ограниченной функциональности из-за невозможности ручного маловысотного пилотирования, низкое качество измерений из-за расположения антенны приемника ГНСС, т.к. летательный аппарат заслоняет часть небосвода и создает электромагнитные помехи.

[4]

Наиболее близким по технической сущности к предлагаемой полезной модели является комплекс для беспилотной аэромагниторазведки, состоящий из беспилотного летательного аппарата с шасси и с прикрепленным к нему магнитометром, при этом в качестве беспилотного летательного аппарата используется мультироторный летательный аппарат, состоящий из рамы с лучами, к которой прикреплены двигатели с винтами, регуляторы вращения двигателей, аккумуляторная батарея, полетный контроллер с GPS-антенной и магнитометр, при этом магнитометр прикреплен к раме с применением виброгасящей прослойки и состоит из блока управления, включающего магнитоизмерительный преобразователь и контроллер магнитометра, складного подвеса и выносного датчика, причем датчик жестко присоединен к концу складного подвеса, а другим концом подвес прикреплен к блоку управления, кроме того, датчик соединен с блоком управления кабелем (см. патент на полезную модель №172078, В64С 39/02, 2016).

[5]

Недостатком данного устройства является низкая эффективность исследований из-за невозможности проведения различных геофизических измерений, низкое качество измерений из-за несинхронной записи условий измерений, а именно координат комплекса и времени.

[6]

Техническим результатом является повышение эффективности геофизических исследований за счет выполнения целого комплекса геофизических измерений на больших площадях и в условиях труднопроходимой местности и уменьшения времени и затрат на исследования и повышение качества геофизических исследований за счет устранения электромагнитных помех и совместной обработки данных ГНСС и данных гироскопа/акселерометра.

[7]

Технический результат достигается в беспилотном геофизическом комплексе, включающем мультироторный летательный аппарат, состоящий из рамы с лучами, к которой прикреплены по меньшей мере четыре электродвигателя, регуляторы скорости двигателя, система управления полетом с трехосевым гироскопом, трехосевым акселерометром и барометром, геофизические приборы, приемник сигналов ГНСС с антенной, блок данных индикаторов полета, система синхронного сбора данных измерений, выполненных геофизическими приборами, и данных блока индикаторов полета, курсовая камера, соединенная с блоком аналоговой видеопередачи изображения, при этом приемник сигналов ГНСС установлен с возможностью работы с по меньшей мере двумя основными гражданскими сигналами ГНСС и обеспечения частоты измерений не менее 10 Гц, антенна выполнена двухдиапазонной и жестко закреплена на нерастяжимой поддерживающей платформе и установлена соосно вертикальной оси гироскопа, а в качестве геофизических приборов используют по меньшей мере один прибор, выбранный из группы: камера видимого диапазона, мультиспектральную камера, сканирующий лидар, магнитометр, гравиметр, радоновый датчик, георадар, устройство для электроразведки.

[8]

Беспилотный геофизический комплекс поясняется чертежом, где на фиг. 1 представлен общий вид беспилотного геофизического комплекса, на фиг. 2 - изометрическая проекция беспилотного геофизического комплекса.

[9]

Беспилотный геофизический комплекс включает мультироторный летательный аппарат 1, состоящий из рамы 2 с лучами 3, к которой прикреплены по, меньшей мере четыре электродвигателя 4, регуляторы скорости двигателя 5, количество которых соответствует количеству электродвигателей 4, система 6 управления полетом с трехосевым гироскопом 7, трехосевым акселерометром 8 и барометром 9, геофизические приборы 10, приемник 11 сигналов ГНСС с антенной 12, блок 13 данных индикаторов полета, система 14 синхронного сбора данных измерений, выполненных геофизическими приборами, и данных индикаторов полета, курсовая камера 15, соединенная с блоком 16 аналоговой видеопередачи изображения, источник питания 17, представляющий собой по меньшей мере одну аккумуляторную батарею, радиомодем 18 для связи с компьютером оператора, компас 19, приемник сигналов управления внешнего пилота 20. В качестве геофизических приборов используют по меньшей мере один прибор, выбранный из группы: камеру видимого диапазона, мультиспектральную камеру, сканирующий лидар, магнитометр, гравиметр, радоновый датчик, георадар или устройство электроразведки. Приемник 11 сигналов ГНСС установлен с возможностью работы с по меньшей мере двумя основными гражданскими сигналами ГНСС и обеспечения частоты измерений не менее 10 Гц. Антенна 12 выполнена двухдиапазонной и жестко закреплена на нерастяжимой под держивающей платформе 21 и установлена соосно вертикальной оси гироскопа, т.е. ее фазовые центры расположены соосно вертикальной оси гироскопа.

[10]

Беспилотный геофизический комплекс работает следующим образом.

[11]

Каждый из электродвигателей 4 мультироторного летательного аппарата 1 управляется регулятором скорости 5, который, в свою очередь, подключен двухсторонней связью к системе управления полетом 6. Система 6 управляет регуляторами скорости 5 таким образом, чтобы достичь поставленных целевых условий в маршруте движения или целевых условий, поставленных внешним пилотом при помощи аппаратуры управления, посылающей команды на приемник 20 сигналов управления. Внешний пилот получает изображение с курсовой камеры 15 посредством блока 16 аналоговой видеопередачи изображения. Целевые условия - это показания углов наклона или скоростей изменения углов наклона (по трем осям), величины подъемной силы, направления и географической позиции, а также относительной, абсолютной и/или истинной высоты. Регуляторы 5 скорости сообщают системе управления полетом 6 текущие обороты двигателей и ток потребления. Эта информация, а также показания барометра 9, компаса 19, гироскопа 7, акселерометра 8 и напряжение питания источника 17 используется системой 6 для управления полетом и сохраняется для передачи в систему 14 синхронного сбора данных измерений, выполненных геофизическими приборами, и данных индикаторов полета. Мультироторный летательный аппарат 1 производит полет по заранее заданной траектории, либо пилотируется вручную. Во время полета установленные на борту геофизические приборы 10 выполняют измерения и передают их в систему 14 синхронного сбора данных измерений, выполненных геофизическими приборами, и данных индикаторов полета с блока 13, а именно показания барометра 9, гироскопа 7, акселерометра 8, обороты электродвигателей 4, ток потребления электродвигателей 4, показания компаса 19, а также исходные спутниковые измерения, полученные с приемника 11 сигналов ГНСС. После завершения маршрута или допустимого исчерпания емкости батареи источника питания 17 мультироторный летательный аппарат 1 возвращается в точку старта автоматически или вручную, где производится посадка. Все собранные данные передаются для обработки по радио при помощи радиомодема 18. Антенна ГНСС 12 жестко закреплена на нерастяжимой поддерживающей платформе 21 и установлена соосно вертикальной оси гироскопа. Такая установка повышает качество геофизических исследований за счет устранения электромагнитных помех и совместной обработки данных ГНСС и данных гироскопа/акселерометра.

[12]

Предложенный беспилотный геофизический комплекс повышает эффективность геофизических исследований за счет выполнения целого комплекса геофизических измерений на больших площадях и в условиях труднопроходимой местности и уменьшения времени и затрат на исследования, повышает качество геофизических исследований и точность измерений.

Как компенсировать расходы
на инновационную разработку
Похожие патенты