патент
№ RU 201578
МПК B05B13/00

АВТОНОМНЫЙ РОБОТ ДЛЯ ПОКРАСКИ

Авторы:
СОСА ГОНСАЛЕС, Кармело (ES)
Правообладатель:
Номер заявки
2020112398
Дата подачи заявки
26.03.2020
Опубликовано
22.12.2020
Страна
RU
Дата приоритета
16.12.2025
Номер приоритета
Страна приоритета
Как управлять
интеллектуальной собственностью
Чертежи 
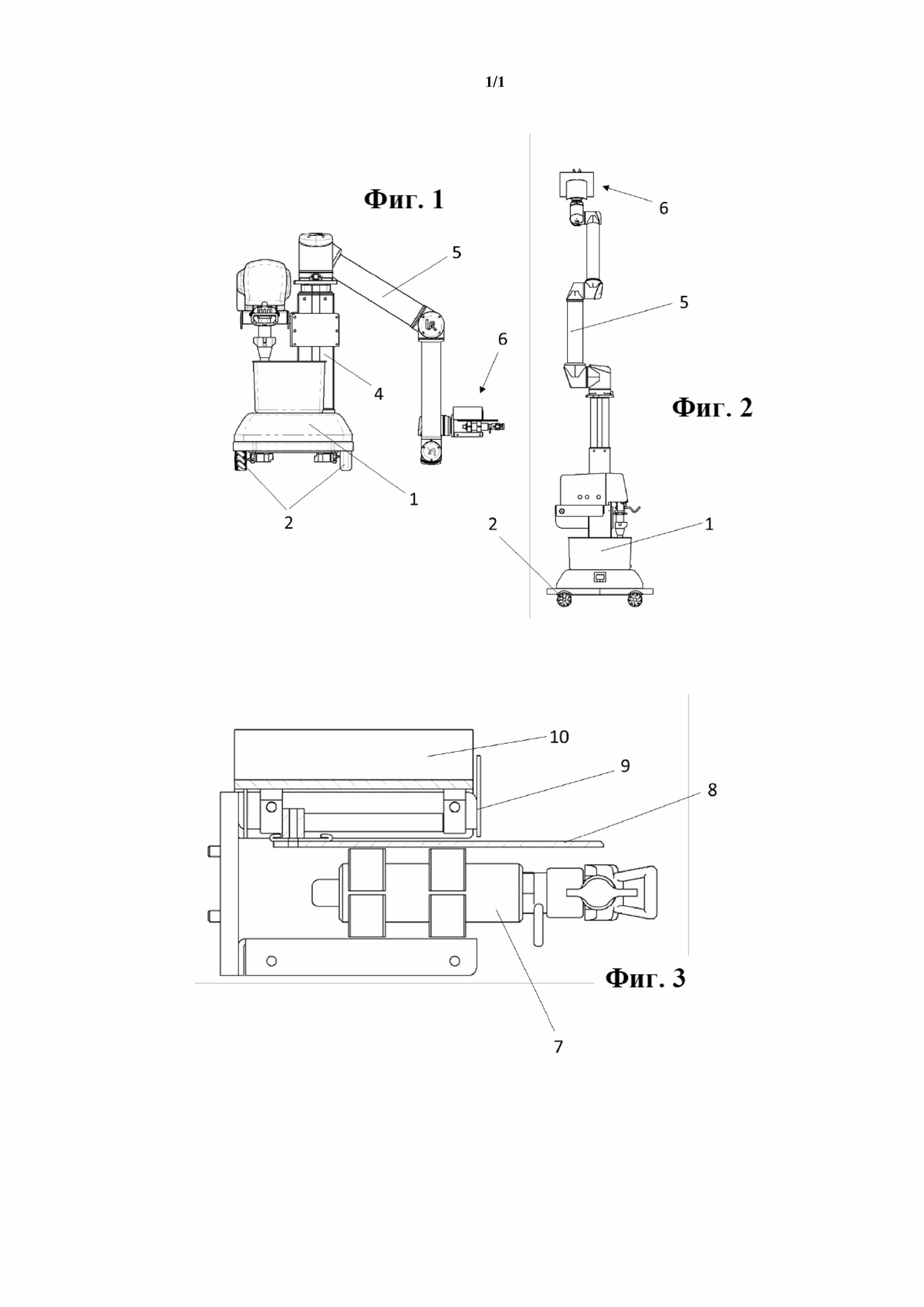
1
Реферат

Полезная модель может быть использована в области дизайна интерьера при покраске внутренней части помещений. Автономный робот для покраски содержит подвижное основание 1, оснащенное баком для краски и насосом. Основание 1 содержит ряд датчиков, выполненных с возможностью определения местоположения основания 1 и обнаружения препятствий, по существу, вертикальную подъемную колонну 4, на конце которой расположена сочлененная рука робота 5, увенчанная головкой 6. Головка 6 содержит пистолет с краской, подключенный к насосу, камеру, выполненную с возможностью распознавания поверхностей, подлежащих покраске и обрисовке, и датчик приближения. Полезная модель позволяет уменьшить усилия и время, необходимые для выполнения покраски и обрисовки труднодоступных поверхностей при распознавании препятствий в рабочей зоне. 4 з.п. ф-лы, 3 ил.

Формула изобретения

1. Автономный робот для покраски, содержащий подвижное основание (1), оснащенное баком для краски и насосом, отличающийся тем, что основание (1) содержит ряд датчиков, выполненных с возможностью определения местоположения основания (1) и обнаружения препятствий, по существу, вертикальную подъемную колонну (4), на конце которой расположена сочлененная рука (5) робота, увенчанная головкой (6), которая содержит пистолет (7) с краской, подключенный к насосу, камеру (9), выполненную с возможностью распознавания поверхностей, подлежащих покраске и обрисовке, и датчик (10) приближения.

2. Робот по п. 1, отличающийся тем, что основание (1) содержит всенаправленные колеса (2).

3. Робот по п. 1, отличающийся тем, что пистолет (7) относится к пистолету «безвоздушного» типа.

4. Робот по п. 1, отличающийся тем, что головка (6) также содержит выдвижной шпатель (8).

5. Робот по п. 1, отличающийся тем, что камера (9) головки (6) содержит источники света.

Описание

[1]

Настоящая полезная модель относится к автономному роботу для покраски внутренней части домов, коммерческих помещений, гостиниц и т. д. Этот робот представляет собой устройство, выполненное с возможностью покраски и обрисовки при распознавании препятствий в рабочей зоне, направленное на уменьшение усилий и времени, необходимых для выполнения этих операций.

[2]

Данное устройство применимо в области дизайна интерьера и завершения небольших работ по отделке.

[3]

УРОВЕНЬ ТЕХНИКИ

[4]

Несмотря на последние технологические достижения в области строительства и улучшения в области технического обслуживания, вопрос покраски и реставрации внутренней части помещения остается весьма кустарным. Следовательно, это медленный и дорогостоящий процесс, особенно когда речь идет о больших внутренних поверхностях, которые нужно покрасить, таких как: салоны, большие поверхности, гостиницы и т. д.

[5]

Объектом настоящей полезной модели является устройство для покраски, обрисовки и распознавания препятствий в рабочей зоне, направленное на уменьшение усилий и времени, необходимых для выполнения этих операций.

[6]

Следовательно, персонал, отвечающий за реставрацию объектов на больших площадях, должен приложить значительные усилия для покраски высоких потолков и труднодоступных углов. Кроме того, положения, необходимые для достижения потолков или углов, часто бывают неправильными или труднодоступными и должны покрываться краской в ​несколько этапов из соображений гигиены труда.

[7]

Заявителю не известны другие устройства, подобные устройству согласно настоящей полезной модели.

[8]

КРАТКОЕ ОПИСАНИЕ СУЩНОСТИ

[9]

Настоящая полезная модель относится к автономному роботу для покраски согласно формуле полезной модели, варианты осуществления которого решают проблемы предшествующего уровня техники.

[10]

Основание в сборе руки робота представляет собой автономное устройство, которое позволяет покрасить все поверхности от минимального уровня – от уровня земли до потолка, что может составлять 3 метра и более, в зависимости от размеров помещения.

[11]

Автономный робот для покраски состоит из подвижного основания с баком для краски и насосом или компрессором. Основание содержит ряд датчиков, выполненных с возможностью определения местоположения и обнаружения препятствий. По существу вертикальная подъемная колонна отходит от основания, на конце которого расположена сочлененная рука робота, увенчанная головкой. Эта головка содержит пистолет с краской, подключенный к насосу, например, пистолет «безвоздушного» типа, одну или более камер и датчик приближения. Предпочтительно, она также содержит выдвижной шпатель.

[12]

В предпочтительном варианте осуществления основание содержит всенаправленные колеса.

[13]

Каждая из камер головки может содержать источники света.

[14]

Другие варианты будут описаны далее.

[15]

ОПИСАНИЕ ЧЕРТЕЖЕЙ

[16]

Для лучшего понимания настоящей полезной модели включены следующие фигуры.

[17]

На фиг. 1 представлен вид спереди варианта осуществления устройства со сложенной рукой робота.

[18]

На фиг. 2 представлен вид сбоку предыдущего иллюстративного варианта осуществления с развернутой рукой робота.

[19]

На фиг. 3 представлена деталь примера головки.

[20]

ВАРИАНТЫ ОСУЩЕСТВЛЕНИЯ ПОЛЕЗНОЙ МОДЕЛИ

[21]

Далее будет кратко описан вариант осуществления настоящей полезной модели в качестве ее иллюстративного и неограничивающего примера.

[22]

Робот, показанный в вариантах осуществления фигур, содержит подвижное основание (1), например, содержащее четыре всенаправленных колеса (2) типа «механического колеса». Эти колеса (2) обеспечивают возможность перемещения в любом направлении, чтобы приблизиться к области, подлежащей покраске. Основание также включает ряд лазерных, визуальных датчиков для определения местоположения и обнаружения препятствий. Например, основание оснащено инфракрасными датчиками вокруг основания (1) для обнаружения и обхода препятствий и границ помещения.

[23]

Основание (1) поддерживает подъемную колонну (4), например, телескопическую, которая расположена в по существу вертикальном направлении. В верхней части подъемной колонны (4) предусмотрена сочлененная рука (5) робота, увенчанная головкой (6), которая содержит пистолет (7) с краской. Пистолет (7) предпочтительно является пистолетом «безвоздушного» типа для уменьшения появления возможных пятен.

[24]

Головка (6) также содержит выдвижной шпатель (8). Он предназначен для обрисовки потолков, оконных рам и плинтусов.

[25]

Одна или более камер (9) в головке (6), в идеале каждая с источниками света, и датчик (10) приближения позволяют распознавать поверхности, подлежащие покраске и обрисовке. Датчик цвета позволяет распознать, достаточно ли было одного прохода пистолета (7) или цвет необходимо ретушировать. Датчик цвета может работать независимо или путем программирования из изображений с камер (9).

[26]

Основание (1) содержит бак для краски и насос или компрессор для подачи краски к пистолету (7) через подходящую трубку, прикрепленную к руке (5) робота. Бак является съемным для облегчения замены краски, его очистки и открепления от насоса или компрессора.

[27]

Все вышеперечисленные элементы питаются от одной или более батарей, от проводки, подключенной к сети, или от обеих.

Как компенсировать расходы
на инновационную разработку
Похожие патенты