патент
№ RU 2015709
МПК A63B29/00

СТРАХОВОЧНЫЙ КАРАБИН

Авторы:
Волоконский Владимир Васильевич
Правообладатель:
Все (3)
Номер заявки
4925764/12
Дата подачи заявки
09.04.1991
Опубликовано
15.07.1994
Страна
RU
Как управлять
интеллектуальной собственностью
Реферат

[30]

Сущность изобретения: устройство -страховочный карабин содержит силовую скобу с крюками и спинкой, замыкающее звено, дополнительную замыкающую силовую связь и второе замыкающее звено, что позволяет повысить безопасность при эксплуатации. 2 з.п. ф-лы, 14 ил.

Формула изобретения

1. СТРАХОВОЧНЫЙ КАРАБИН, содержащий силовую скобу с крюками, замыкающим звеном и спинкой, изогнутой перпендикулярно плоскости крюков и замыкающего звена с отклонением в обе стороны от этой плоскости, отличающийся тем, что, с целью повышения безопасности альпиниста путем расширения функций, выполняемых карабином, он снабжен дополнительной замыкающей силовой связью и вторым замыкающим звеном, при этом дополнительная замыкающая связь расположена аппозитно первой замыкающей силовой связи относительно изгиба спинки.

2.Карабин по п.1, отличающийся тем, что второе замыкающее звено включено в изогнутую спинку.

3.Карабин по п.1, отличающийся тем, что второе замыкающее звено включено в дополнительную замыкающую силовую связь.

Описание

[1]

Изобретение относится к снаряжению альпинистов, в частности к страховочным карабинам, и может быть использовано в других областях народного хозяйства, где требуется страховка от падения людей, работающих на высоте.

[2]

Известны страховочные карабины, содержащие плоскую силовую скобу с замыкающим звеном (см. каталог "МАММUТ", 1989, с. 32).

[3]

Общим недостатком известных страховочных карабинов является низкая безопасность альпиниста и затрудненное прохождение склона со сравнительно малым углом наклона, т.к. в этом случае страховочная веревка может быть прижата карабином к поверхности, и требуются дополнительные усилия для протягивания ее через карабин.

[4]

Наиболее близким к предлагаемому устройству по своей технической сущности и достигаемому результату является страховочный карабин, содержащий силовую скобу с крюками и спинкой и замыкающее звено, соединяющее концы силовой скобы с образованием замкнутой силовой связи. При этом спинка силовой скобы изогнута в плоскости, перпендикулярной плоскости крюков и замыкающего звена, с отклонением в обе стороны от этой плоскости [1].

[5]

Недостатком данного карабина является низкая безопасность альпиниста за счет того, что функции карабина ограничены только простой поддержкой веревки или простым перехлестом. Использование данного карабина для спуска пострадавших или регулирование тормозного усилия при нормальном спуске ограничено, т.к. данный карабин не является универсальным. Как правило, при прохождении склона невозможно заранее предугадать будущую ситуацию, поэтому приходится иметь при себе большое количество специализированных устройств. Кроме того при возникновении нештатной ситуации приходится повторно проходить трассу, чтобы заменить стандартный карабин на специализированное устройство, что связано с дополнительным риском.

[6]

Целью настоящего изобретения является повышение безопасности альпиниста при восхождении - спуске путем расширения функций, выполняемых карабином.

[7]

Поставленная цель достигается тем, что страховочный карабин содержит силовую скобу с крюками и спинкой и замыкающее звено, соединяющее концы силовой скобы с образованием замкнутой силовой связи, спинка силовой скобы изогнута в плоскости, перпендикулярной плоскости крюков и замыкающего звена, с отклонением в обе стороны от этой плоскости. Карабин снабжен дополнительной замыкающей силовой связью и вторым замыкающим звеном. При этом дополнительная силовая связь расположена оппозитно замыкающей силовой связи относительно плоскости изгиба спинки.

[8]

Второе замыкающее звено включено либо в изогнутую спинку, либо в дополнительную замыкающую силовую связь.

[9]

Сопоставительный анализ с прототипом показывает, что предлагаемый страховочный карабин отличается тем, что он снабжен дополнительной замыкающей силовой связью и вторым замыкающим звеном с защелкой. Дополнительная замыкающая силовая связь расположена оппозитно замыкающей силовой связи относительно плоскости изгиба спинки. Второе замыкающее звено с защелкой включено либо в изогнутую спинку, либо в дополнительную замыкающую силовую связь.

[10]

Таким образом, предлагаемый страховочный карабин соответствуует критерию изобретения "новизна".

[11]

Сравнение предлагаемого решения не только с прототипом, но и с другими техническими решениями в данной области техники не позволило выявить в них признаки, отличающие предлагаемое решение от прототипа, что позволяет сделать вывод о соответствии критерию "существенные отличия".

[12]

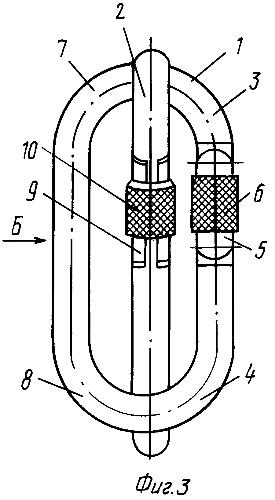
На фиг. 1-2 показан в двух проекциях страховочный карабин со вторым замыкающим звеном, включенным в дополнительную замыкающую связь; на фиг. 3-4 - в двух проекциях страховочный карабин со вторым замыкающим звеном, включенным в изогнутую спинку; на фиг. 5 - вторая форма выполнения карабина; на фиг. 6-14 - различные варианты использования карабина в работе.

[13]

Страховочный карабин содержит силовую скобу 1, имеющую спинку 2 и крюки 3 и 4, соединенные шарнирным замыкающим звеном 5 с защелкой 6 с образованием первой замыкающей силовой связи. Спинка 2 силовой скобы 1 изогнута S-образно с отклонением в обе стороны от плоскости крюков 3 и 4.

[14]

Карабин имеет также еще дополнительную замыкающую связь, включающую два крюка 7 и 8, концы которых соединены. Крюки 7 и 8 расположены оппозитно крюкам 3 и 4 относительно спинки 2. Карабин снабжен вторым шарнирным замыкающим звеном 9 с защелкой 10.

[15]

Шарнирное замыкающее звено 9 может либо соединять концы крюков 7 и 8, как это показано на фиг. 1 и 2, либо включается в изогнутую спинку 2, как это изображено на фиг. 3 и 4.

[16]

Таким образом, дополнительная замыкающая связь образована на фиг. 1 и 2 силовыми крюками 7 и 8 и шарнирным замыкающим звеном 9 с защелкой 10. На фиг. 3 и 4 дополнительная силовая связь образована крюками 7 и 8, непосредственно соединенными между собой.

[17]

Карабин необязательно имеет симметричную форму, как это изображено на фиг. 1-4. Возможно также асимметричное исполнение карабина, как это показано на фиг. 5, но в любом случае дополнительная замыкающая силовая связь - силовые крюки 7 и 8, соединенные шарнирным звеном 9 с защелкой 10, расположена оппозитно первой замыкающей связи.

[18]

Варианты использования карабина показаны на фиг. 6-14.

[19]

Карабин зацепляется за кронштейн 11 и страховочный троc 12 пропускается через карабин.

[20]

При подъеме по склону страховочный трос 12 свободно проходит через карабин при любом варианте закладки троса 12: через одну из силовых связей - фиг. 6, через изгиб спинки - фиг. 7, или в обход спинки - фиг. 8. Карабин свободно ориентирован на страховочном тросе 12, обеспечивая минимальное сопротивление перемещению троса.

[21]

При срыве альпиниста, в зависимости от варианта закладки страховочного троса 12 в карабине, можно получить различные варианты страховки альпиниста.

[22]

Диапазон страховки по усилиям, прилагаемым страхующим альпинистом, оценивается по соотношению усилий в ветвях страховочного троса 12:
К = K= где F1 - усилие в ветви страховочного торса, конец которого удерживается страхующим альпинистом;
F2 - усилие в ветви страховочного троса, конец которого прикреплен к страхуемому альпинисту.

[23]

Простейший вариант, показанный на фиг. 9, обеспечивается как предлагаемым карабином, так и прототипом. При срыве страховочный трос образует простой перехлест при соотношении усилий К = 1,2-2;
При пропуске страховочного троса 12 через верхнюю дугу изогнутой спинки (фиг. 7) можно получить два варианта страховки. В первом случае страховочный трос 12, соскользнув вниз, зажимается как показано на фиг. 10 и 11 несколькими перегибами. При этом получаем соотношение усилий К = 4-5.

[24]

При перевернутом положении карабина или при пропуске страховочного троса 12 через нижнюю дугу изогнутой спинки страховочный трос 12, соскользнув вниз, огибает спинку 2 и поджимается к крюкам фиг. 12. Соотношение усилий К = 2.

[25]

Наибольший выигрыш в усилии для страхующего получается при варианте, изображенном на фиг. 13 и 14. В этом случае верхняя ветвь страховочного троса 12, соскользнув вниз при срыве альпиниста, зажимает нижнюю ветвь страховочного троса 12, идущую к страхующему, образуя простой узел. Соотношение усилий К = 10-12, максимально для рассматриваемого страховочного карабина.

[26]

Таким образом, если усилие, необходимое для торможения страхуемого альпиниста, составит 4000 H (400 кгс), то страхующему достаточно приложить усилия 400 H (40 кгс), что можно сделать, удерживая страховочный трос двумя руками.

[27]

В обычных страховочных карабинах, в том числе и в карабине, принятом в качестве прототипа, можно реализовать только первую схему с диапазоном изменения соотношения усилий К = 1,2-2.

[28]

В предлагаемом страховочном карабине диапазон изменения соотношения усилий значительно расширяется от К = 1,2-2 до К = 1,2-12, что подтверждает большую универсальность применения предложеннного страховочного карабина.

[29]

Карабин можно использовать также в качестве блока при организации из подручных средств полиспаста для подъема груза или в качестве опоры при необходимости изменения направления страховочного троса.

Как компенсировать расходы
на инновационную разработку
Похожие патенты