патент
№ RU 20149
МПК F23D11/00

ГОРЕЛКА ДЛЯ ЖИДКОГО ТОПЛИВА

Авторы:
Гнедочкин Ю.М.
Номер заявки
2000122541/20
Дата подачи заявки
28.08.2000
Опубликовано
20.10.2001
Страна
RU
Как управлять
интеллектуальной собственностью
Чертежи 
1
Формула изобретения

Горелка, содержащая в цилиндрическом корпусе соосно форсунку, конфузорный патрубок с завихрителем первичного воздуха, завихритель вторичного воздуха с тангенциальными лопатками и конфузорным патрубком, с подачей воздуха от одного источника, отличающаяся тем, что, с целью дополнительного подогрева жидкого топлива до оптимальной температуры, она снабжена кольцевым радиационным подогревателем топлива, установленным спереди горелки вокруг патрубка вторичного воздуха с подачей и нагреванием топлива снизу вверх без перемешивания.

Описание

[1]

Полезная модель относится к энергетике и может быть использована для сжигания жидких теплив в топках котлов и печей.

[2]

Известна мазутная горелка, содержащая корпус, центральный и периферийный воздухоподающие каналы, кольцевой топливный коллектор и распылитель топлива с радиальными лопатками , вращающийся от двигателя. Недостатками этой горелки является необходимость установки отдельного двигателя для вращения распылителя топлива, а так же отсутствие дополнительного подогрева топлива перед распиливанием, поскольку коллектор установлен в тепловой изоляции амбразуры горелки. (Авторское свидетельство СССР №981759, кл. F23D 17/00, 1976).

[3]

Наиболее близкой по технической сущности является горелка , содержащая цилиндрический корпус с мазутной форсункой , снабженной завихрителем. В корпусе установлена конфузорная обечайка. Завихритель образует с мазутной форсункой кольцевой канал и снабжен кожухом с конфузорным выходным участком. (Авторское свидетельство СССР №798415, кл. F23D11/00, 1981}.

[4]

лением и расходом энергии, конструкция завихрителя с радиальными лопатками, имеющими невысокую степень крутки воздуха , отсутствие подогрева топлива.

[5]

Технический результат полезной модели заключается в создании конструкции горелки для эффективного сжигания недостаточно подогретого перед горелкой жидкого топлива.

[6]

Задача решается за счет применения кольца для дополнительного радиационного подогрева топлива в горелке и раздельной установки завихрителя первичного воздуха в конфузорном патрубке и завихрителя вторичного воздуха с тангенциальными лопатками.

[7]

Отличительные признаки:

[8]

имеется кольцо для дополнительного радиационного подогрева жидкого топлива установленное в передней части горелки вокруг патрубка вторичного воздуха, топливо подается в нижнюю часть кольца, подогревается, поднимается , не перемешиваясь, и отводится из верхней части кольца к форсунке;

[9]

завихритель первичного воздуха с форсункой установлен по оси горелки в конфузорном патрубке, что позволяет более полно использовать для распиливания статический и скоростной напор потока воздуха от одного источника; завихритель вторичного воздуха с тангенциальными лопатками и конфузорным патрубком имеет более высокую, по сравнению с радиальными лопатками, степень крутки и дает одновременное поджатие закрученного потока вторичного воздуха к оси горелки для улучшения перемешивания горючей смеси.

[10]

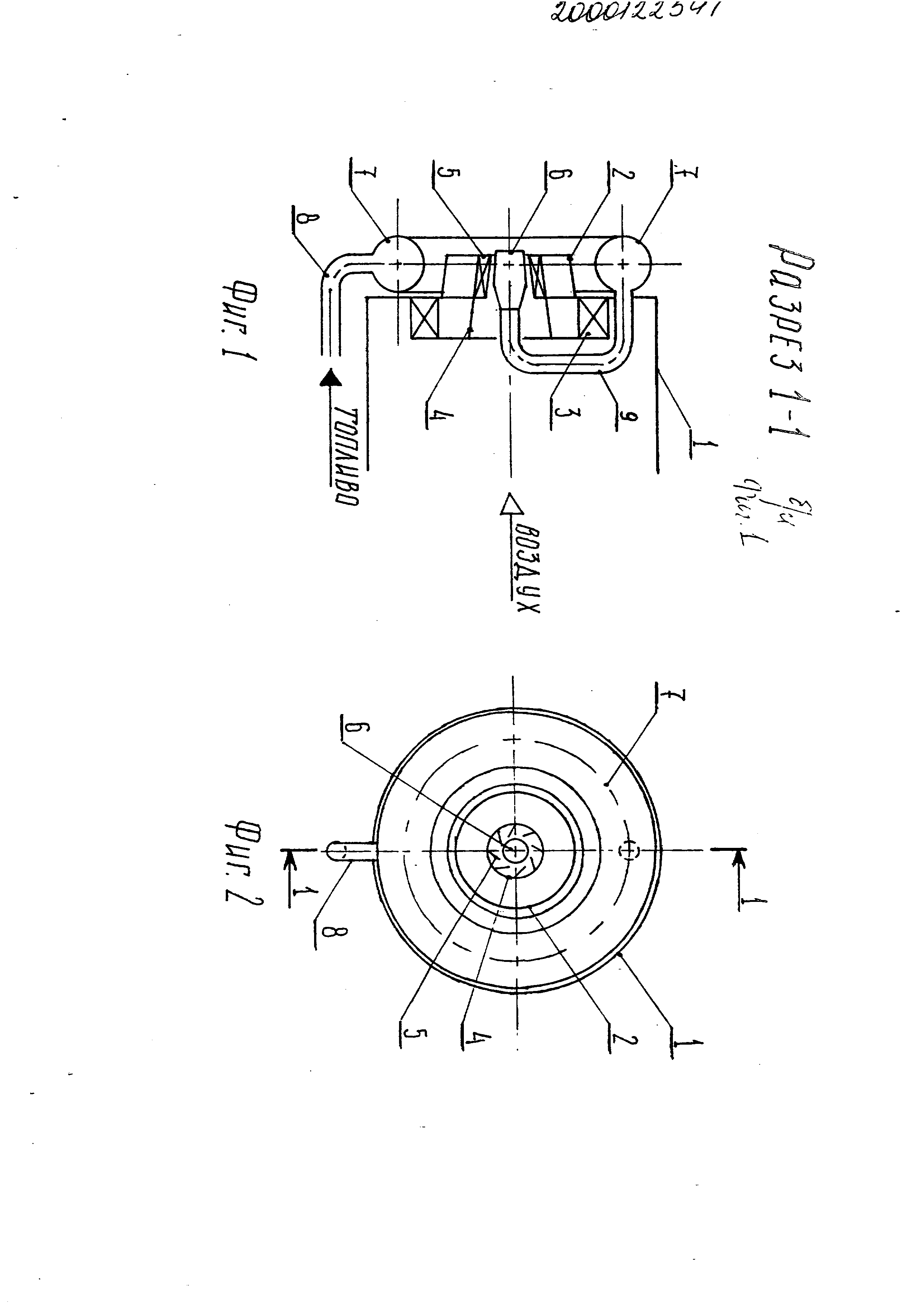
На Фиг. 1 и Фиг. 2 изображена конструкция горелки с дополнительным радиационным подогревом соплива.

[11]

Горелка имеет корпус 1 в виде обечайки, конфузорный патрубок вторичного воздуха 2, завихритель вторичного воздуха с тангенциальными лопатками 3, конфузорный патрубок первичного воздуха 4 с завихрителем первичного воздуха 5, форсунку б, кольцо дополнительного радиационного подогрева жидкого топлива 7, трубопроводы подвода топлива 8 и отвода топлива 9.

[12]

Горелка работает следующим образом. Жидкое топливо под давлением поступает по трубопроводу 8 в нижнюю часть кольца дополнительного радиационного подогрева топлива 7, подогреваясь за счет излучения факела до необходимой температуры , топливо поднимается вверх по кольцу 7, не перемешиваясь , и отводится через трубопровод 9 к форсунке. Степень дополнительного подогрева топлива определяется размерами (поверхностью радиационного нагрева) кольца. Легкое топливо может нагреваться выше температуры испарения и истекает из форсунки в виде паров топлива, что дает наиболее полное сгорание.

[13]

Часть воздуха от одного источника через конфузорный патрубок первичного воздуха 4 и завихритель первичного воздуха 5 подается к распиливающему отверстию форсунки б, при этом наиболее полно используется статический и скоростной напор воздуха и обеспечивается максимальная скорость

[14]

первичного воздуха.

[15]

Другая чаешь воздуха от одного источника через завихритель вторичного воздуха 3 с тангенциальными лопатками, дающими достаточную степень крутки потока, через конфузорный патрубок вторичного воздуха 2, дающий поджатие закрученного потока втори.чного воздуха к оси горелки, улучшающее перемешивание топливной смеси, поступает в зону горения .

[16]

В результате получена конструкция горелки для эффективного сжигания жидких топлив, в том числе недостаточно подогретых , что имеет важное значение, особенно для применения на водогрейных котлах с низкими параметрами теплоносителя .

[17]

Jj(X№2254l

[18]

3

[19]

Как компенсировать расходы
на инновационную разработку
Похожие патенты