патент
№ RU 2011633
МПК B66F3/08

ВИНТОВАЯ СТЯЖКА-РАСПОРКА

Авторы:
Рабинов А.И.
Номер заявки
4866814/11
Дата подачи заявки
17.09.1990
Опубликовано
30.04.1994
Страна
RU
Как управлять
интеллектуальной собственностью
Чертежи 
5
Реферат

[30]

Использование: в грузоперемещающих механизмах, а именно в переносных винтовых механизированных силовых устройствах, обеспечивающих перемещение в двух взаимно противоположных направлениях. Сущность изобретения: стяжка-распорка содержит привод с уравновешенным двигателем с уменьшенной заделкой лопаток, ротор которого имеет центральное отверстие и посажен на цилиндрическую поверхность гайки ударно-вращательного механизма. Ротор двигателя непосредственно взаимодействует с ударником ударно-вращательного механизма. Телескопическое размещение винтов и разный шаг у винтов позволяют получить большие перемещения при малом осевом габарите стяжки-распорки. Стяжка-распорка имеет защиту от заклинивания винтов в сведенном положении путем использования эластичного 55 и металлического 56 дисков, размещенных в цилиндрической полости одного винта 14 с возможностью контактирования металлического диска с концом второго винта 13, а эластичного диска - со стержнем, взаимодействующим с регулировочным винтом 53, размещенным в резьбовом отверстии первого винта. 2 з. п. ф-лы, 6 ил.

Формула изобретения

1. ВИНТОВАЯ СТЯЖКА-РАСПОРКА, содержащая корпус, связанную с приводом гайку, выполненную с резьбовыми участками разного диаметра и направления, винты, один из которых выполнен с цилиндрической полостью и расположен со стороны одного из концов внутри гайки и зацеплением его с резьбовым участком гайки большего диаметра, а другой со стороны его одного конца размещен в цилиндрической полости первого винта и внутри гайки с зацеплением с резьбовым участком меньшего диаметра, и элемент для контактирования с перемещаемым объектом, закрепленный на втором конце второго винта, отличающаяся тем, что она снабжена закрепленным на втором конце первого винта элементом для контактирования с другим подвижным объектом, при этом первый винт выполнен со стороны второго конца с резьбовым отверстием, сообщенным с его цилиндрической полостью и выполненным меньшего диаметра, чем эта полость, в упомянутом отверстии размещены стержень и с возможностью контактирования с одним концом последнего регулировочный винт, в цилиндрической полости первого винта с возможностью контактирования с вторым концом стержня установлены диск из эластичного материала, допускающего всестороннее сжатие, а с возможностью контактирования с упомянутым диском и первым концом второго винта - металлический диск, оба диска выполнены диаметром, равным диаметру цилиндрической полости первого винта, а привод поворота гайки содержит ударно-вращательный механизм, наковальня которого образована продольным выступом, выполненным на наружной поверхности гайки, а ударник выполнен цилинжрическим, охватывающим гайку и имеющим продольный паз на стенке его центрального отверстия для размещения с угловым зазором продольного выступа гайки и пазы на торце, и связанный с пусковым устройством пневмодвигатель, включающий в себя встроенный в корпус, соединенный с крышками, и выполненный в виде втулки с воздухоподводящими и выхлопными каналами статор и ротор, размещенный внутри статора с кольцевым зазором, выполненный с центральным отверстием, соосным ударнику, и выступами, размещенными в пазах торца ударника, и охватывающий с возможностью поворота гайку, и пластины, подвижно связанные с ротором и радиально размещенные в упомянутом кольцевом зазоре с образованием воздушных камер.

2. Стяжка-распорка по п. 1, отличающаяся тем, что шаг резьбы второго винта выполнен большим, чем шаг резьбы первого винта.

3. Стяжка-распорка по п. 1, отличающаяся тем, что эластичный диск выполнен из резины.

Описание

[1]

Изобретение относится к грузоперемещающим механизмам, а именно к механизированным винтовым силовым устройствам, обеспечивающим перемещение в двух взаимно противоположных направлениях, и может быть использовано для выполнения сборочных и ремонтных работ в различных отраслях промышленности, в частности в судостроении, а также в качестве силового элемента в различных механизмах.

[2]

Известна винтовая стяжка-распорка ударно-вращательного действия, включающая корпус, крышку с пружиной, пусковое устройство, и расположенные последовательно друг за другом в корпусе пневмодвигатель, ударно-вращательный механизм, винт и гайку с проушиной. Винт опирается на упорный подшипник двустороннего воспpиятия нагрузки, зафиксированный в корпусе [1] . Конструкция имеет большой осевой габарит и массу, а также ряд других недостатков, что существенно снижает удобство при эксплуатации. Известная винтовая стяжка-распорка ударно-вращательного действия включает корпус с двумя цилиндрическими полостями, крышку с проушиной, размещенный в одной цилиндрической полости корпуса пневмодвигатель, связанный с размещенным в соседней цилиндрической полости и посаженный на гайку ходового винта, расположенных здесь же, ударно-вращательным механизмом посредством зубчатой передачи, два упорных подшипника зафиксированных относительно крышки с пружиной. Ходовой винт выполнен с пружиной. Ходовой винт выполнен с пружиной и зафиксирован относительно корпуса с возможностью поступательного перемещения [2] . Конструкция имеет небольшой осевой габарит, но увеличенный поперечный. Разнесенность двигателя и ударно-вращательного механизма несколько снижает надежность эффективность преобразования энергии в устройстве. Наличие зубчатой передачи, а также двух упорных подшипников усложняет конструкцию и увеличивает массу. Кроме того, в конструкции отсутствует эффективная система защиты от заклинивания винта в крайнем утопленном положении, что может приводить к трудоемкому ремонту или к выходу из строя стяжки распорки.

[3]

Указанные недостатки снижают надежность устройства и удобство его в эксплуатации.

[4]

Известно устройство, содержащее корпус, гайку, выполненную с резьбовыми участками разного диаметра, винты, один из которых выполнен с цилиндрической полость и расположен со стороны одного из концов внутри гайки с зацеплением его с резьбовым участком гайки большего диаметра, а другой со стороны одного конца - размещен со стороны одного из концов внутри гайки с зацеплением его с резьбовыми участком гайки большего диаметра, а другой со стороны одного конца - размещен со стороны одного конца в цилиндрической полости первого винта и внутри гайки с зацеплением с резьбовым участком меньшего диаметра, и элемент для контактирования с перемещаемым объектом, закрепленным на втором конце второго винта [3] Данное решение принято в качество наиболее близкого аналога. Устройство достаточно простое, так как нагружены только винты и гайка. Однако его затруднительно использовать для стягивания двух подвижных объектов, оно имеет ручной привод и при работе возможно заклинивание винта, что существенно снижает удобство устройства в эксплуатации.

[5]

Цель изобретения - повышение удобства эксплуатации.

[6]

Указанная цель достигается тем, что винтовая стяжка-распорка, включающая корпус, связанную с приводом гайку, выполненную с резьбовыми участками разного диаметра и направления, винты, один из которых выполнен с цилиндрической полостью и расположен со стороны одного из концов внутри гайки с зацеплением его с резьбовым участком гайки большего диаметра, а другой со стороны его одного конца размещен в цилиндрической полости первого винта и внутри гайки с зацеплением с резьбовым участком меньшего диаметра, и элемент для контактирования с перемещаемым объектом, закрепленный на втором конце второго винта, снабжена закрепленным на втором конце первого винта элементом для контактирования с другим подвижным перемещаемым объектом. Первый винт выполнен со стороны второго конца с резьбовым отверстием, сообщенным с цилиндрической полостью и выполненным меньшего диаметра, чем эта полость. В отверстии размещен стержень и с возможностью контактирования с одним концом последнего - регулировочный винт. В цилиндрической полости первого винта с возможностью контактирования со вторым концом стержня установлен диск из эластичного материала, допускающего всестороннее сжатие, а с возможностью контактирования с упомянутым диском и первым концом второго винта - металлический диск. Оба диска выполнены с диаметром, равным диаметру цилиндрической полости первого винта, приводом, содержащим ударно-вращательный механизм наковальня которого образована продольным выступом, выполненным на наружной поверхности гайки. Ударник выполнен цилиндрическим, охватывающим гайку и имеющим продольный паз на стенке его центрального отверстия для размещения с угловым зазором продольного выступа гайки и пазы на торце, и связанный с пусковым устройством пневмодвигателя, имеющий встроенный корпус и выполненный в виде втулки с воздухоподводящими и выхлопными каналами статор и ротор, размещенный внутри статора с кольцевым зазором, выполненный с центральным отверстием, соосным ударнику, и выступами, размещенными в пазах торца ударника, и охватывающий с возможностью поворота гайку, и пластины, подвижно связанные с ротором и радиально размещенные в кольцевом зазоре с образованием воздушных камер.

[7]

Наличие на втором конце первого винта элемента для контактирования с подвижным объектом позволяет разгрузить корпус от воздействия ударных нагрузок при работе, так как ударные нагрузки через элементы для контактирования воспринимаются перемещаемыми объектами.

[8]

Наличие эластичного диска и металлического диска в цилиндрической полости первого винта, а также стержня и регулировочного винта в теле его, позволяет предотвращать выход из строя стяжки-распорки по причине заклинивания первого и второго винтов при их предельном сближении, что осуществляется выворачиванием регулировочного винта и снятием, тем самым, напряжения в эластичном диске, поскольку увеличивается объем, занимаемый им.

[9]

Выполнение ротора пневмодвигателя с центральным отверстием, посадка его на цилиндрическую поверхность гайки, а также непосредственное взаимодействие ротора с ударником позволяют сделать стяжку-распорку достаточно легкой малогабаритной. Кроме того, повышается эффективность преобразования энергии в механизме стяжки-распорки, особенно при максимальных нагрузках, что обусловлено повышением жесткости системы участвующих в соударении тел, и обеспечивающей сокращение времени взаимодействия контактных поверхностей при ударе.

[10]

С целью улучшения условия восприятия ударного импульса гайкой и увеличения ходя стяжки-распорки, шаг резьбы второго винта выполнен больше, чем шаг резьбы первого винта. Такое решение выгодно как с точки зрения компоновки конструкции, так и сточки зрения выравнивания крутящего момента в резьбовых зацеплениях первого и второго винтов, так как из резьбы имеют разные диаметры, а нагружены одинаковой силой.

[11]

Благодаря наличию реверсивного двигателя и двух элементов для контактирования с перемещаемыми объектами, обеспечивающих передачу усилий в двух противоположных направлениях, стяжка-распорка позволяет перемещать объекты вперед-назад без перестановки.

[12]

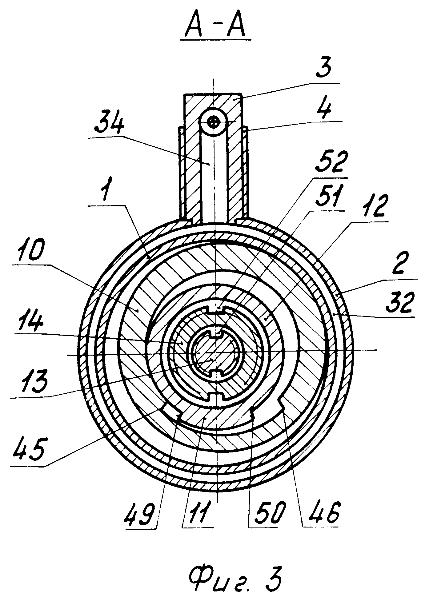
На фиг. 1 изображен стяжка-распорка, фронтальный разрез; на фиг. 2 - то же, вид сбоку с вырывами в корпусе и крышке; на фиг. 3 - разрез А-А на фиг. 1 на фиг. 4 - разрез Б-Б на фиг. 1; на фиг. 5 - разрез В-В на фиг. 4; на фиг. 6 - ротор.

[13]

Стяжка-распорка имеет корпус, представляющий собой сварную конструкцию, состоящую из обечайки 1, втулки 2, рукоятки 3 и двух ребер 4, два двигателя одного типоразмера состоящие из статоров 5, роторов, образованных ступенчатой втулкой 6 и плоским кольцом 7 или 8, и пластин 9, ударник 10 и наковальню ударно-вращательного механизма, представляющую собой выступ 11 на наружной поверхности гайки 12, взаимодействующей посредством резьб с винтами 13 и 14, оснащенными элементами для контактирования с перемещаемыми объектами, выполненными в виде проушины. Винты зафиксированы от вращения относительно корпуса шпонками 15 выполненными в крышках 16 и 17, зафиксированных в корпусе пружинными кольцами 18 и 19. В рукоятке 3 размещено пусковое устройство, состоящее из рычага 20, посаженного на ось 21, клапана 22, пружины 23 и гайки 24.

[14]

Обечайка 1 сварного корпуса представляет собой тонкостенную втулку. В торцах обечайки выполнены узкие прорези 25 и широкие прорези 26. Прорези 25 предназначены для взаимодействия с радиальными выступами 27 на крышках 16 и 17. На боковых поверхностях обечайки имеются две пары диаметрально расположенных отверстий 28 и 29, а по обе стороны от них расположены группы мелких отверстий 30. Втулка 2 сварного корпуса имеет четыре торцовых выступа 31. На внутренней поверхности втулки имеется канавка 32, а на внутренних поверхностях выступов 31 сообщающиеся с канавкой 32 выборки 33. В рукоятке 3 выполнено гнездо для размещения пускового устройства, подводящий канал 34 и резьба 35 для присоединения к системе питания сжатым воздухом.

[15]

При сварке корпуса втулка 2 располагается по отношению к обечайке 1 таким образом, что выступы 31 накрывают отверстия 28 и 29. Статоры 5 двигателей представляют собой цилиндрические втулки с фигурной внутренней поверхностью, образованной наложением трех отверстий 36, 37, 38 цилиндрической формы, оси которых лежат в одной плоскости. На боковой поверхности статора выполнены две пары отверстий 39 и 40 и приварена рукоятка 41. В ступени меньшего диаметра ступенчатой втулки 6 ротора выполнены четыре равномерно распределенные по окружности, радиальные прорези для пластин. Эти прорези продолжены в тело ступени большего диаметра втулки 6 и образуют направляющие пазы 42. Аналогичные пазы 43 выполнены на торцовой поверхности кольца 7. На плоском кольце втулки 6 выполнены выступы 44 прямоугольной формы в сечении для взаимодействия с ударником. Наибольшие диаметры втулки 6 и кольца 7 превышают наибольший размер фигурного отверстия в статоре 5. Пластины 9 имеют прямоугольную форму и выполнены и легкого антифрикционного материала, например из текстолита.

[16]

При сборке двигателя статор 5 насаживается на ступень меньшего диаметра втулки 6, в прорези устанавливаются пластины 9 и накрываются кольцом 7 таким образом, чтобы пластины вошли в пазы 43. Винтами 8 кольцо 7 фиксируется на втулке 6. В таком виде двигатели встраиваются корпус стяжки-распорки с противоположных торцов, при этом рукоятки 41 статоров размещаются в пазах 26 обечайки 1 корпуса.

[17]

Ударник 10 представляют собой массивную втулку с отверстием сложной формы, образованным двумя цилиндрическими поверхностями разных диаметров, имеющими общую ось, с двумя радиальными переходами между ними, образующими заплечики 45 и 46. На торцах ударника выполнены пазы 47 и 48 для подвижного взаимодействия с выступами 44 роторов. Выступы 11 на поверхности втулки 12 - наковальня - имеет два радиально расположенных участков 49 и 50, которые выполняют роль ударных поверхностей. Втулка 12 выполнена с внутренней резьбой двух типоразмеров, различающихся по диаметру, по шагу и направлению резьбы, причем шаг резьбы меньшего диаметра несколько больше шага резьбы большего диаметра.

[18]

Винт 13 выполнен с проушиной на одном конце и со сферической пятой на другом. На резьбовой части винта имеются продольные канавки 51.

[19]

Винт 14 с большим диаметром резьбы также выполнен с проушиной, а резьба отличается по направлению и по шагу от резьбы винта 13. Причем шаг винта 14 меньше шага резьбы винта 13. На резьбовой поверхности винта 14 имеются продольные канавки 52, а в теле винта выполнена продольная цилиндрическая полость, диаметр которой превышает диаметр винта 13. Кроме того, в теле винта 14 в области проушины, имеется гнездо для винта 53, сообщающееся с продольной цилиндрической полостью посредством отверстия малого диаметра, в котором размещается стержень 54. На дне продольной полости размещены диск 55 из эластичного материала, например, из резины, и металлический диск 56.

[20]

Крышки 16 и 17 представляют собой плоские кольца с радиальными выступами 27 на наружных цилиндрических поверхностях и шпонками 15 на внутренних. Посредством выступов 27 крышки взаимо- действуют с прорезями 25 на торцах обечайки 1. Посредством направляющих шпонок 15 крышка 16 взаимодействует с пазами 52 винта 14, крышка 17 с паза 51 винта 13.

[21]

Стяжка-распорка работает следующим образом.

[22]

Производится присоединение к пневмосети. Рукоятки 41 обоих двигателей упирают в уступы либо 57, либо 58 прорези 26 в зависимости от требуемого направления движения винтов стяжки-распорки. При этом пары отверстий, например 40, статоров обоих двигателей совмещаются с отверстиями, 28 и 29 в обечайке, а другие пары отверстий 39 - с выхлопными отверстиями 30. Далее, нажатием на рычаг 20 открывается клапан 22, и сжатый воздух по каналу 34, кольцевой канавке 32, выборкам 33 и через отверстия 28 и 29 поступает к двигателям. Через отверстия 40 в статорах воздух поступает в полости 59 и 60, и распираясь между выступами 61 статора и пластинами 9, вращает ротор, так как статор зафиксирован от вращения рукояткой 41, упертой в выступ 58 корпуса.

[23]

При повороте ротора на 90о в работу вступает следующая пара пластин 9 и отсекает часть увеличившихся полостей 59 и 60, отделяя от них полости 62 и 63. После этого первая пара пластин 9 проходит участок статора, где расположены отверстия 39. При этом полости 62 и 63 сообщаются с атмосферой и производится выхлоп. При последующем вращении ротора пластины 9 проходят под перемычками 61 и вновь вступает в работу.

[24]

Пластины 9 прижимаются к статору 5 центробежной силой. Реверс двигателей осуществляется перемещением рукоятки 41 до упора в уступ 57. При этом двигатели работают аналогично вышеописанному, но в противоположном направлении.

[25]

Двигатели вращают ударник 10, взаимодействующий посредством пазов 47, 48 с выступами 44 на роторах. При вращении ударник 10 своей внутренней поверхностью взаимодействует с наружной поверхностью втулки 12 и выступом, что приводит к сведению его ударных заплечиков 45 или 46, в зависимости от направления вращения, и поверхности 49 или 50 наковальни 11. При соударении, из-за разницы углов взаимного расположения плоскостей ударных поверхностей ударника и направляющих плоскостей пазов 47 и 48, возникает неуравновешенная радиальная составляющая ударного импульса, направленная вдоль пазов 47 и 48, которая стремится отбросить ударник. К моменту соударения, например, заплечика 45 с поверхностью 49 наковальни 11, заплечик 46 находится за пределами наковальни и ударник под действием неуравновешенной составляющей ударного импульса смещается в направлении ее действия несколько позволяет внутренней отверстие ударника. При этом заплечик 45 выходит из зацепления с поверхностью 49 наковальни и ударник, подхваченный двигателями, преодолевает выступ и идет на следующий виток.

[26]

От наковальни 11 ударный импульс передается втулке 12, взаимодействующий посредством резьб с винтами 13 и 14. Поскольку винты 13 и 14 зафиксированы от вращения относительно корпуса посредством шпонок 15, то втулка 12, преодолевая сопротивление трения в резьбах, поворачивается относительно оси на некоторый угол, определяемый величиной сопротивления, а винты 13 и 14 либо выдвигаются, либо втягиваются и при этом совершают работу. Так как винт 13 имеет больший шаг, чем у винта 14, то он выдвигается больше. Перемещение груза на заданную величину в пределах хода винтов осуществляется с посредством многократного повторения ударного воздействия ударника 10 на наковальню 11.

[27]

Работа прекращается высвобождением рычага 20. Реверс осуществляется переводом рукояток 41 в противоположном положении.

[28]

В случае аварийной ситуации, когда по неопытности или невнимательности рабочего стяжка-распорка работала длительное время после выборки рабочего хода в направлении стягивания винтов и в результате произошла заклинка механизма, немного отворачивает винт 53. При этом эластичный диск 55 вдавливается в отверстие, в которое вставлен стержень 54, объем полости занимаемый диском 55, увеличивается, а напряжения сжатия снижается. Соответственно снижаются контактные нагрузки в зоне соприкосновения диска 56 и винта 13.

[29]

При этом, дав обратный ход двигателям, винты разводятся. Винт 53 заворачивается до упора, после чего можно продолжать работу.

Как компенсировать расходы
на инновационную разработку
Похожие патенты