патент
№ RU 200400
МПК B62D57/00
Номер заявки
2020110397
Дата подачи заявки
12.03.2020
Опубликовано
22.10.2020
Страна
RU
Как управлять
интеллектуальной собственностью
Чертежи 
3
Реферат

Полезная модель относится к транспортному машиностроению, преимущественно к сочлененным транспортным средствам, например мобильным роботам, и предназначена для использования при инженерной разведки местности.Техническим результатом является уменьшение разрушающего действия на почву при маневрировании.Технический результат достигается тем, что в сочлененном транспортном средстве, состоящем из переднего, среднего и заднего модулей, каждый из которых оснащен мотор-колесами, причем передний и задний модули соединены между собой средним модулем с приводами, обеспечивающими независимое продольное перемещение, складывание относительно поперечной оси и вращение относительно продольной оси переднего и заднего модулей транспортного средства в свободном и принудительном (управляемом) режимах, в среднем модуле установлен шарнир с осью, перпендикулярной продольной оси транспортного средства и оси, проходящей через центры вращения колес среднего модуля, оснащенный приводом, обеспечивающим поворот переднего модуля относительно заднего модуля в горизонтальной плоскости. 3 ил.

Формула изобретения

Сочленённое транспортное средство, состоящее из переднего, среднего и заднего модулей, каждый из которых оснащён мотор-колесами, причём передний и задний модули соединены между собой средним модулем с приводами, обеспечивающими независимое продольное перемещение, складывание относительно поперечной оси и вращение относительно продольной оси переднего и заднего модулей транспортного средства в свободном и управляемом режимах, отличающееся тем, что в среднем модуле установлен шарнир с осью, перпендикулярной продольной оси транспортного средства и оси, проходящей через центры вращения колёс среднего модуля, оснащённый приводом, обеспечивающим поворот переднего модуля относительно заднего модуля в горизонтальной плоскости.

Описание

[1]

Полезная модель относится к транспортному машиностроению, преимущественно к сочлененным транспортным средствам, например мобильным роботам и предназначена для использования при инженерной разведки местности.

[2]

Известно сочлененное полноприводное транспортное средство, содержащее шарнирную раму с установленными на ней тремя парами колес и силовым приводом принудительного взаимного поворота полурам относительно связывающего их поперечного шарнира, и способ изменения направления его движения. Изменение направления движения может осуществляться двумя режимами. Первый режим заключается в том, что предварительно отрываются колеса средней оси от грунта и изменяется режим вращения колес одного борта, при этом происходит движение транспортного средства по дуге. Второй режим заключается в том, что предварительно отрываются колеса средней оси от грунта и колесам крайних осей задается вращение в противоположном направлении, при этом происходит разворот транспортного средства на месте. Патент РФ № 2019463, МПК B62D 57/02, 15.09.1994. Недостатком данного сочлененного транспортного средства является то, что при обоих режимах изменения направления его движения происходит разрушение поверхностного слоя почвы за счет проскальзывания колес.

[3]

Известен одноосный вездеход с компенсированием реактивного момента на кабине, содержащий ведущий мост с колесами и несущее основание с кабиной с обитаемым и моторным отсеками, при этом обитаемый отсек с органами управления установлен на несущих балках впереди колес-движителей, а моторный отсек с двигателем, трансмиссией и отдельным приводом к балке моста подвешен к несущим балкам позади колес-движителей так, что центр тяжести кабины располагается ниже оси колес-движителей, привод на балку моста смещает по опорным роликам основание относительно ведущего моста для создания вращательных моментов, компенсирующих реактивные моменты, отклоняющие кабину при движении. Патент РФ № 2102272, МПК B62D 61/00, 20.01.1998. Недостатком конструкции является ограничение по массе полезной нагрузки и по ее расположению относительно оси колес-движителей.

[4]

Известно сочлененное транспортное средство, содержащее раму, состоящую из передней и задней секций с передней и задней осями, на которых установлены мотор-колеса, причем передняя и задняя секции соединены между собой модулем средней оси с соответствующими мотор-колесами с помощью шарниров, и силовые приводы, обеспечивающие независимое продольное перемещение и складывание секций относительно оси, проходящей через центры вращения колес модуля. Свободный поворот секций относительно продольной (ось симметрии транспортного средства) и поперечной (проходящей через центр вращения колес модуля) осей транспортного средства обеспечивает постоянный контакт всех колес с поверхностью и, как следствие, постоянную загрузку колес при движении по сложному рельефу, то есть обеспечивает высокую профильную проходимость и улучшенные конфигурационные возможности транспортного средства. Патент РФ № 173865, МПК B62D 57/00, 15.09.2017. Данное техническое решение принято в качестве прототипа.

[5]

Недостатком данного транспортного средства является наличие бокового проскальзывания колес по поверхности при повороте, что приводит к нарушению целостности почвенного покрова и ухудшает экологию окружающей среды, особенно в условиях северных регионов с трудно восстанавливающейся тундровой растительностью.

[6]

Технической задачей является разработка сочлененного транспортного средства, которое способно маневрировать с минимальным разрушением почвы и не имеет ограничений по допустимой полезной нагрузке.

[7]

Техническим результатом является уменьшение разрушающего действия на почву при маневрировании.

[8]

Технический результат достигается тем, что в сочлененном транспортном средстве, состоящем из переднего, среднего и заднего модулей, каждый из которых оснащен мотор-колесами, причем передний и задний модули соединены между собой средним модулем с приводами, обеспечивающими независимое продольное перемещение, складывание относительно поперечной оси и вращение относительно продольной оси переднего и заднего модулей транспортного средства в свободном и управляемом режимах, в среднем модуле установлен шарнир с осью, перпендикулярной продольной оси транспортного средства и оси, проходящей через центры вращения колес среднего модуля, оснащенного приводом, обеспечивающим поворот переднего модуля относительно заднего модуля в горизонтальной плоскости.

[9]

Сущность полезной модели поясняется схемами 1–3.

[10]

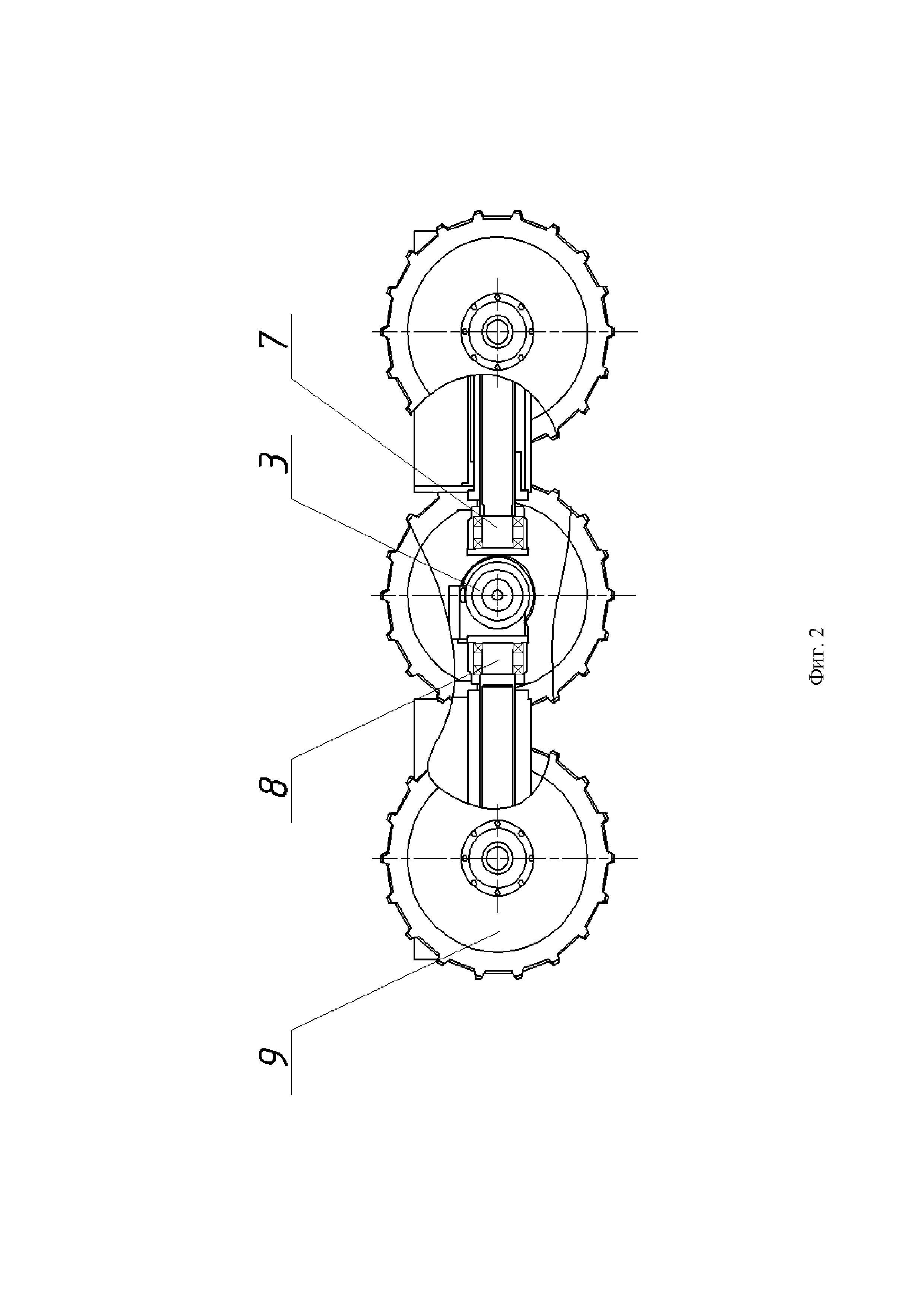
На фиг. 1, 2 изображена схема предполагаемого сочлененного транспортного средства, где 1 – передний модуль, 2 – задний модуль, 3 – шарнир соединения модулей 1 и 2, 4 – средний модуль, 5, 6 – приводы продольного перемещения, 7, 8 – приводы поворота переднего и заднего модулей, 9 – мотор-колеса, 10 – привод складывания модулей, 11 – шарнир соединения среднего модуля и привода, обеспечивающего поворот переднего модуля относительно заднего, 12 – привод поворота переднего модуля относительно заднего модуля.

[11]

Предлагаемое сочлененное транспортное средство состоит из переднего модуля 1 и заднего модуля 2, соединенных шарниром 3, расположенным в среднем модуле 4. Приводы продольного перемещения 5, 6 обеспечивают изменение колесной базы между средним модулем и колесными осями переднего и заднего модулей.

[12]

Принудительный (управляемый) поворот переднего и заднего модулей относительно продольной оси транспортного средства обеспечивается при помощи приводов 7 и 8.

[13]

Изменение угла между передним и задним модулями относительно поперечной оси, проходящей через центры вращения мотор-колес 9 модуля 4, обеспечивается с помощью привода складывания 10, входящего в состав среднего модуля. Конструкция привода складывания модулей допускает как свободный поворот модулей, так и принудительный подъем/опускание одного из модулей. Свободная самоустановка переднего и заднего модулей относительно продольной и поперечной осей транспортного средства обеспечивает постоянный контакт всех мотор-колес с опорной поверхностью и, как следствие, постоянную загрузку колес при движении по сложному рельефу.

[14]

В среднем модуле установлен шарнир 11, ось которого перпендикулярна продольной оси транспортного средства и оси, проходящей через центры вращения колес данного модуля. Шарнир 11 оснащен приводом 12, обеспечивающим поворот переднего модуля относительно заднего модуля в горизонтальной плоскости.

[15]

На фиг. 3 изображена схема поворота сочлененного транспортного средства за счет изменения взаимного положения переднего и заднего модулей при помощи складывания шарнира 11 приводом 12. Движение сочлененного транспортного средства осуществляется по дуге с заданным радиусом. При таком способе поворота поперечное проскальзывание мотор-колес по поверхности является минимальным, что обеспечивает отсутствие разрушения почвенного слоя.

[16]

Сочлененное транспортное средство обладает уменьшенным разрушающим действием на почву при маневрировании, чем прототип, поскольку позволяет расположить плоскости вращения мотор-колес по касательной к дуге поворота существенно снижая поперечное проскальзывание мотор-колеса при повороте транспортного средства, что уменьшает механическое повреждение поверхностного слоя почвы. Кроме того, возможность маневрирования (поворота) при сохранении контакта с поверхностью всех колес транспортного средства позволяет увеличить предельно допустимую полезную нагрузку на передний и задний модули.

Как компенсировать расходы
на инновационную разработку
Похожие патенты