патент
№ RU 199499
МПК G01M7/06

УСТРОЙСТВО ДЛЯ ИСПЫТАНИЯ УПРУГИХ МУФТ

Авторы:
Минасян Армен Минасович Лэ Хи Ха Минасян Минас Арменакович
Все (4)
Номер заявки
2020112142
Дата подачи заявки
24.03.2020
Опубликовано
03.09.2020
Страна
RU
Как управлять
интеллектуальной собственностью
Чертежи 
1
Реферат

Устройство для испытания упругих муфт относится к области испытательной техники и применяется при определении силовой характеристики и крутильной жесткости виброизолирующих муфт приводов. Устройство содержит неподвижную стойку крепления ведомого фланца испытываемой муфты, центрирующее устройство, средство прикладываемой силы - рычаг выполнен ступенчатой формы. Центрирующее устройство - в виде цапфы, при этом ступенчатый рычаг одним концом прикреплен к ведущему - подвижному фланцу муфты, а другим концом связан с нагрузочным устройством. Высота ступени рычага составляет половину высоты муфты. Корневая часть цапфы установлена в отверстиях ведомого - неподвижного фланца муфты и неподвижной стойки и закреплена неподвижно крепежными средствами, а свободный конец-шип цапфы входит в центральное осевое отверстие ведущего фланца муфты, которое служит в качестве подшипниковой опоры шипа. Техническим результатом является упрощение конструкции, уменьшение массы и габаритов устройства

Формула изобретения

Устройство для испытания упругих муфт, содержащее неподвижную стойку крепления ведомого фланца испытываемой муфты, центрирующее устройство, средство прикладываемой силы - рычаг, отличающееся тем, что рычаг выполнен ступенчатой формы, а центрирующее устройство - в виде цапфы, при этом ступенчатый рычаг одним концом прикреплен к ведущему - подвижному фланцу муфты, а другим концом связан с нагрузочным устройством, высота ступени рычага составляет половину высоты муфты, корневая часть цапфы установлена в отверстиях ведомого - неподвижного фланца муфты и неподвижной стойки и закреплена неподвижно крепежными средствами, а свободный конец-шип цапфы входит в центральное осевое отверстие ведущего фланца муфты, которое служит в качестве подшипниковой опоры шипа.

Описание

[1]

Полезная модель относится к области испытательной техники и применяется при определении силовой характеристики и крутильной жесткости виброизолирующих муфт приводов.

[2]

Устройства для испытания упругих муфт известны, например, в книге Беляковского Н.Г «Конструктивная амортизация механизмов, приборов и аппаратуры на судах» - П.: Судостроение, 1965, с. 435-438.) Наиболее близким техническим решением является «Устройство для испытания упругих муфт» - патент на изобретение РФ №2206880, принятое за прототип.

[3]

Устройство содержит муфту, основание, передвигаемую и неподвижную стойки с опорными лапами, центрирующее устройство составной конструкции с множеством элементов, средство прикладываемой силы выполнено в виде составного вильчатого механизма, содержащее две щеки, кронштейн.

[4]

Крутящий момент на ведущем фланце возникает через проушину и щеку, а вторая щека совершает свободный поворот вокруг цапфы, обеспечивая тем самым только крутильную деформацию упругих элементов муфты.

[5]

Существенным недостатком известного устройства для испытания упругих муфт является сложность конструкции, большие масса и габариты.

[6]

Техническим результатом предлагаемого устройства является упрощение конструкции и, как следствие, уменьшение массы и габаритов.

[7]

Для достижения указанной цели предлагаемое устройство содержит неподвижную стойку крепления ведомого фланца испытываемой муфты, центрирующее устройство, средство образования прикладываемой силы в скручивающий момент выполнено в виде ступенчатого рычага, который одним концом закреплен к ведущему - подвижному фланцу муфты, а другим концом связан с нагрузочным устройством. Высота ступени рычага составляет половины высоты муфты, то есть часть рычага со стороны нагрузочного устройства расположена симметрично высоте муфты. Центрирующее устройство выполнено в виде цапфы, корневая часть которой установлена в отверстиях ведомого - неподвижного фланца муфты и неподвижной стойки и закреплена неподвижно крепежными средствами, а свободный конец-шип входит в центральное осевое отверстие ведущего фланца муфты, которое служит в качестве подшипниковой опоры шипа.

[8]

Таким образом, предлагаемое устройство содержит, одну (вместо двух у прототипа) неподвижную стойку для крепления ведомого фланца испытываемой муфты, центрирующее устройство в виде цапфы, средство прикладываемой силы - ступенчатый рычаг (вместо сложного и составного вильчатого механизма), что значительно упрощает конструкцию, уменьшает массу и габариты.

[9]

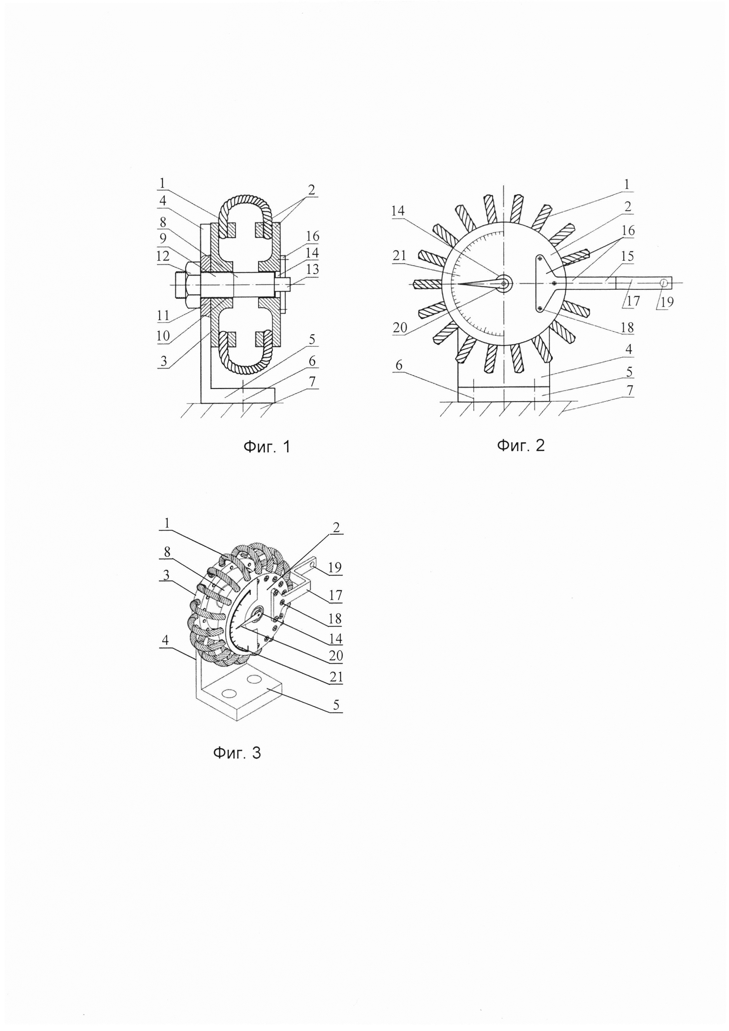
Техническое решение поясняется чертежами, представленными на фиг. 1-3. На фиг. 1 изображен продольный разрез устройства, на фиг. 2 - вид устройства со стороны ведущего фланца с рычагом, на фиг. 3 - общий вид устройства, где:

[10]

1 - муфта;

[11]

2 - ведущий подвижный фланец муфты;

[12]

3 - ведомый неподвижный фланец муфты;

[13]

4 - стойка;

[14]

5 - опорная лапа стойки;

[15]

6 - крепление опорной лапы стойки к основанию;

[16]

7 - основание;

[17]

8 - цапфа центрирующего устройства;

[18]

9 - корневая часть цапфы;

[19]

10 - крепежное резьбовое отверстие ведомого - неподвижного фланца муфты;

[20]

11 - отверстие стойки;

[21]

12 - крепежное средство;

[22]

13 - крепежное резьбовое отверстие ведущего - подвижного фланца муфты;

[23]

14 - шип цапфы;

[24]

15 - ступенчатый рычаг - механизм образования прикладываемой силы в скручивающий момент;

[25]

16 - корневая часть ступенчатого рычага;

[26]

17 - торцевая - ступенчатая часть рычага;

[27]

18 - средство крепления корневой части ступенчатого рычага к ведущему подвижному фланцу муфты;

[28]

19 - проушина в торцевой части рычага - для соединения с нагрузочным устройством

[29]

20 - стрелка;

[30]

21 - шкала.

[31]

Устройство содержит испытуемую муфту 1 с упругим элементом, например, из стального каната, ведущий 2 и ведомый 3 фланцы муфты, неподвижную стойку 4 с опорной лапой 5, закрепленной с помощью крепежных средств 6 к основанию 7 устройства, цапфу 8 центрирующего устройства с опорным основанием 9, крепежное резьбовое отверстие 10 ведомого неподвижного фланца, отверстие 11 стойки, гайку 12, крепежное резьбовое отверстие 13 ведущего подвижного фланца муфты, шип 14 цапфы, рычаг 15 с корневой 16 и носовой - ступенчатой 17 частями со средствами крепления 18 и проушиной 19, стрелки 20 со шкалой 21. Корневая часть 9 цапфы установлена в отверстиях 10 ведомого - неподвижного фланца 3 муфты и неподвижной стойки 4 и закреплена неподвижно крепежными средствами 12, а свободный конец-шип 14 входит в центральное осевое отверстие 13 ведущего фланца 2 муфты, которое служит в качестве подшипниковой опоры шипа 14.

[32]

Порядок подготовки и проведения статических испытаний муфты заключается в следующем.

[33]

1. Перед испытанием муфты 1 составляют план испытаний, где в качестве основной исходной данной является выбор максимального угла закручивания муфты, предположим 30°. Угол закручивания определяется по стрелке 20 и шкалы 21.

[34]

2. Выбирается нагрузочное устройство (испытательная машина, динамометр с талрепом, гиря и т.п.) - на фиг не показано, которое соединяют с проушиной 19 рычага 15.

[35]

3. Выбирают шаг регистрации крутящего момента по углу закручивания, например, через 5°.

[36]

4. Начинают нагружение силой (крутящим моментом) со скоростью углового деформирования в пределах от 1 до 15 мм в минуту с регистрацией через каждый 5° величины соответствующего крутящего момента. При нагружении под действием ступенчатого рычага 15 через корневую часть 16 и ведущий подвижный фланец 2, происходит угловая деформация упругого элемента 2 муфты.

[37]

5. После достижения выбранного (30°) угла закручивания ведущего подвижного фланца 2, начинают медленную разгрузку с соответствующей регистрацией силы (крутящего момента).

[38]

6. В результате получают статическую нагрузочную характеристику муфты 1 в виде гистерезисной петли.

[39]

7. Для стабилизации упругодемпфирующих характеристик испытания муфты следует производить не менее трех циклов.

[40]

8. Обработкой нагрузочных характеристик устанавливают значения податливостей (или статических жесткостей) применительно к конкретным условиям его работы, которые могут встречаться в эксплуатации и понадобиться при расчетной оценке амортизирующих неопорных креплений - муфт.

[41]

По полученным значениям получают восходящую и нисходящую ветви кривой "момент - угловая деформация" и так как данные, соответствующие процессам нагружения и разгружения не совпадают, то графическое изображение представляет из себя замкнутую кривую - петлю гистерезиса, что позволяет определить жесткость, коэффициент демпфирования и другие характеристики муфты.

[42]

Таким образом, вышеуказанные отличительные конструктивные особенности предлагаемого устройства для испытания упругих муфт по сравнению с прототипом обеспечивают простоту конструкции при минимальной массе и габаритных размерах.

Как компенсировать расходы
на инновационную разработку
Похожие патенты