патент
№ RU 195704
МПК A62C35/00

УСТАНОВКА ВОДЯНОГО ПОЖАРОТУШЕНИЯ ЛЕНТОЧНЫХ КОНВЕЙЕРОВ

Авторы:
Карасева Тамара Михайловна
Номер заявки
2019116479
Дата подачи заявки
28.05.2019
Опубликовано
04.02.2020
Страна
RU
Как управлять
интеллектуальной собственностью
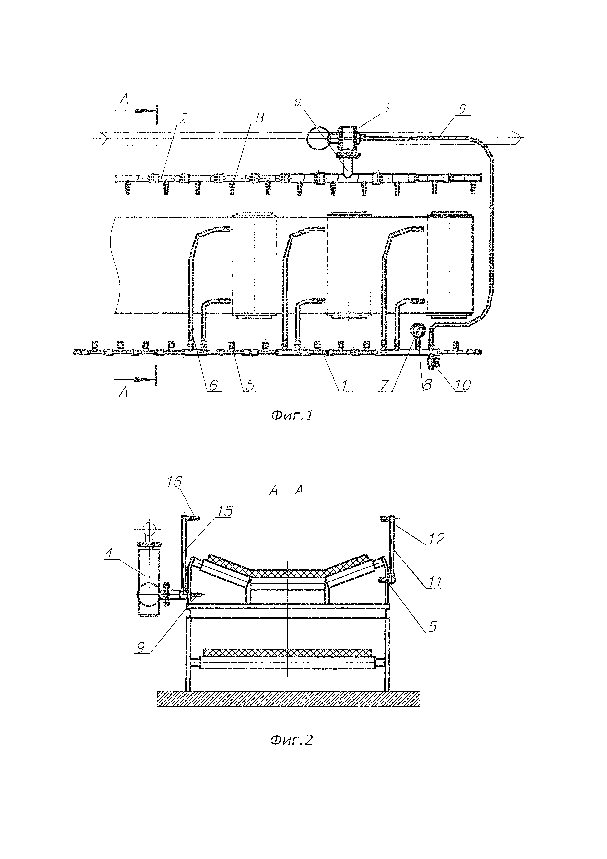
Чертежи 
2
Реферат

Установка водяного пожаротушения ленточных конвейеров относится к противопожарной технике и может быть использована в угольной промышленности для тушения пожаров на ленточных конвейерах, а также в других отраслях народного хозяйства.Техническим результатом полезной модели является повышение безопасности шахты, повышение надежности работы сигнализирующего манометра, уменьшение трудоемкости изготовления. Установка содержит побудительную линию 1, пожаротушащий став 2, клапан 3 и фильтр 4. Сущность полезной модели заключается в том, что побудительная линия установки снабжена дополнительными трубками с температурными датчиками для обнаружения возгорания над конвейерной лентой, пожаротушащий став снабжен дополнительными трубками с водяными распылителями для ликвидации пожара, в том числе и распространяющегося над конвейерной лентой, сигнализирующий манометр соединен с побудительной линией через демпферное устройство, которое сглаживает перепады давления в системе, тем самым обеспечивает надежную работу манометра и увеличивает его срок службы, в нижней крышке клапана вместо круглых отверстий выполнены четыре кольцевые прорези для подачи воды из пожарно-оросительного трубопровода к распылителям пожаротушащего става. 3 з.п. ф-лы, 4 фиг.

Формула изобретения

1. Установка водяного пожаротушения ленточных конвейеров, включающая:

побудительную линию, содержащую соединенные между собой металлические трубы, к которым подсоединяются датчики температуры, рукава с датчиками, манометр, шаровой кран и рукав, соединяющий побудительную линию с пусковым клапаном;

пожаротушащий став, содержащий соединенные между собой металлические трубы, к которым присоединены распылители и тройник для присоединения пожаротушащего става к пусковому клапану;

фильтр и пусковой клапан, соединенный с фильтром, побудительной линией и пожаротушащим ставом,

отличающаяся тем, что сигнализирующий манометр соединен с побудительной линией через демпферное устройство, а в нижней крышке клапана выполнены кольцевые прорези.

2. Установка по п. 1, отличающаяся тем, что побудительная линия снабжена дополнительными трубками с датчиками для контроля температуры над конвейерной лентой.

3. Установка по п. 1, отличающаяся тем, что пожаротушащий став имеет дополнительные трубки с водяными распылителями для тушения пожара над конвейерной лентой.

4. Установка по п. 1, отличающаяся тем, что кольцевые прорези выполнены в количестве четырех.

Описание

[1]

Полезная модель относится к противопожарной технике и может быть использована в угольной промышленности для тушения пожаров на ленточных конвейерах, а также в других отраслях народного хозяйства.

[2]

Известна установка автоматического пожаротушения (патент на ПМ №16077, заявлено 25.05.2000 г., опубликовано в 2000 г, Бюл. №34), содержащая напорную магистраль, распределительный трубопровод с оросителями, побудительную гидравлическую линию и запорно-пусковое устройство, включающее напорную и дренчерную камеры и мембранный клапан, установленный между указанными камерами, мембрана которого снабжена центральным отверстием малого диаметра. Нижняя крышка клапана снабжена сквозными каналами, выходящими под мембрану и в дренчерную камеру.

[3]

Основным недостатком установки является то, что центральное отверстие в мембране клапана запорно-пускового устройства, имеющее малый диаметр, забивается твердыми включениями, находящимися в шахтовой воде. Практическое использование данного запорно-пускового устройства показало, что сквозные каналы овального вида, расположенные под мембраной на нижней крышке, значительно повышают трудоемкость изготовления и снижают прочность мембраны вследствие воздействия на нее большого давления воды в месте расположения сквозных каналов, особенно в центральной части. Кроме того, распределительный трубопровод и побудительная линия установки собираются с помощью резьбовых муфт с контргайками, что создает сложность и неудобство сборки установки при монтаже и эксплуатации.

[4]

Наиболее близким аналогом является установка автоматического пожаротушения (патент на ПМ №113157, заявлена 05.07.2011 г., опубликовано 10.02.2012, Бюл. №4), включающая побудительную линию, пожаротушащий став и запорно-пусковое устройство, состоящее из пускового клапана и фильтра и соединенное с пожарно-оросительным трубопроводом и пожаротушащим ставом установки.

[5]

Недостатком является то, что установка, согласно описанию, монтируется между грузовой и порожней ветвями ленточного конвейера для обнаружения и тушения пожара, возникшего в результате возгорания штыба. В случае, когда загорается уголь, находящийся на движущейся ленте конвейера, датчики температуры, расположенные под лентой, не смогут своевременно среагировать и включить установку для тушения пожара.

[6]

Кроме того, как показала практика, давление в пожарно-оросительном трубопроводе (ПОТ), проходящем по выработкам шахты, часто меняется, тем самым выводит из строя сигнализирующий манометр, входящий в состав установки. Сигнализирующий манометр соединен с диспетчерским пунктом шахты и, в случае срабатывания установки при возникновении пожара, подает сигнал об аварийной ситуации дежурному диспетчеру для принятия своевременных мер по ликвидации аварии. При выходе из строя манометра сигнал не пойдет диспетчеру и не будут приняты меры, необходимые для быстрой ликвидации аварии.

[7]

Также недостатком является то, что нижняя крышка клапана имеет 32 отверстия, расположенные в шахматном порядке на конусной поверхности. Такое расположение отверстий и большое их количество значительно повышает трудоемкость изготовления крышки, т.к. необходимо применять специальное приспособление для разметки и сверления отверстий на конусной поверхности, обработку кромок всех отверстий с тем, чтобы острые края, получающиеся при сверлении, не смогли прорезать резиновую мембрану.

[8]

Техническим результатом полезной модели является обеспечение надежности и простоты работы установки водяного пожаротушения на большей площади, что обеспечивает безопасную работу шахты.

[9]

Указанный технический результат достигается тем, что увеличивается зона обслуживания установки за счет возможности тушения пожара, возникающего в результате возгорания штыба под конвейерной лентой или угля на конвейерной ленте, также благодаря тому, что сигнализирующий манометр снабжен демпферным устройством, а нижняя крышка клапана имеет кольцевые прорези.

[10]

Заявленный технический результат обеспечивается благодаря тому, что сигнализирующий манометр подключается к побудительной линии через демпферное устройство, предохраняющее чувствительный элемент манометра от динамических ударов, обеспечивая надежную работу и увеличивая срок службы манометра. Это обеспечивает надежную работу всей установки и безопасность шахты, т.к. показания сигнализирующего манометра постоянно передаются на диспетчерский пункт и от его эффективной работы зависит скорость принятия мер по тушению пожара и оповещению горнорабочих шахты.

[11]

Также на нижней крышке клапана вместо 32 круглых отверстий сделаны кольцевые прорези, которые выполняются на фрезерном станке с помощью делительной головки, достаточным является количество от 4. Обработка острых кромок прорезей, которые могут привести к порыву мембраны, проще и удобнее, чем обработка кромок 32 отверстий, что улучшает технологию изготовления клапана и значительно уменьшает трудоемкость. Порыв мембраны ведет к поломке клапана и выходу из строя всей установки, т.е. участок конвейера может остаться без средств пожаротушения. Поэтому безупречная работа клапана обеспечивает надежную работу установки и безопасность шахты.

[12]

Дополнительно, побудительная линия может быть снабжена дополнительными трубками с датчиками для контроля температуры над конвейерной лентой, пожаротушащий став имеет дополнительные трубки с водяными распылителями для тушения пожара, распространяющегося в том числе и над конвейерной лентой, тем самым увеличивается зона

[13]

обслуживания конвейера одной установкой и значительно уменьшается время обнаружения очага пожара и повышается возможность ликвидации аварии в начальной стадии.

[14]

Установка водяного пожаротушения ленточных конвейеров устанавливается на конвейере согласно проекту противопожарной защиты шахты, в месте возможного возникновения пожара. Чаще всего местом возникновения пожара на конвейере является зона расположения барабанов (приводного, концевого или натяжного). В одной зоне могут располагаться как один, так и несколько барабанов. В месте соприкосновения конвейерной ленты и барабана происходит трение ленты о поверхность барабана, при этом может возникнуть искра, которая приведет к воспламенению угольной пыли, образующейся вокруг при транспортировке угля на конвейере или в месте перегруза угля с одного конвейера на другой. Угольная пыль, находящаяся в воздухе или осевшая на окружающие поверхности, является легко воспламеняемой и очень взрывоопасной. Кроме того, например, на концевом барабане, который вращается только за счет движения конвейерной ленты, в месте соприкосновения ленты и барабана может возникнуть заштыбовка (спрессование) угольной пыли, при этом барабан перестает вращаться и трение ленты о барабан возрастает в несколько раз, что приводит к возгоранию штыба (спресованной угольной пыли). Установка водяного пожаротушения ленточных конвейеров предназначена для защиты барабана (или нескольких барабанов, находящихся рядом) от пожара. При повышении температуры в зоне расположения установки разрушается тепловой замок температурного датчика, расположенного на побудительной линии, срабатывает пусковой клапан, и вода из пожарно-оросительного трубопровода шахты поступает в пожаротушащий став установки, и через расположенные на ставе разбрызгиватели происходит тушение пожара.

[15]

Сущность полезной модели поясняется чертежами, где на фиг. 1 показан общий вид установки, на фиг. 2 - поперечный разрез, на фиг. 3 -клапан пусковой с разрезами.

[16]

Предложена установка водяного пожаротушения ленточных конвейеров, содержащая побудительную линию 1, пожаротушащий став 2, пусковой клапан 3 и фильтр 4.

[17]

Побудительная линия 1 представляет собой металлические трубы, соединенные между собой с помощью быстроразъемных соединений, к которым подсоединяются датчики температуры (спринклеры) 5 и рукава 6 с датчиками на конце для контроля температуры в месте соприкосновения барабана и конвейерной ленты. На побудительной линии также расположены: манометр 7 для контроля давления, соединенный с побудительной линией через демпферное устройство 8, рукав 9, соединяющий побудительную линию с побудительной камерой запорно-пускового клапана, шаровой кран 10 для пуска установки вручную или для проверки срабатывания пускового клапана. Дополнительно к побудительной линии подсоединены трубки 11 с датчиками температуры 12 на конце для контроля температуры над конвейерной лентой.

[18]

Пожаротушащий став 2 состоит из металлических труб, соединенных между собой быстроразъемными соединениями, и содержит распылители 13, тройник 14 для присоединения запорно-пускового устройства, а также трубки 15 с распылителями 16 для тушения пожара над конвейерной лентой.

[19]

Клапан 3 (см. фиг. 1 и фиг. 3) представляет собой корпус, состоящий из трубы 25, закрытой с одной стороны фланцем 26 со шпильками 27, которыми клапан подсоединяется к фильтру 4, а к другой стороне трубы 25 приварена нижняя крышка 21, к которой с помощью болтов 28 крепится крышка 29. К крышке 29 приварена муфта 30 для присоединения рукава 9 от побудительной линии. С помощью фланца 31 клапан присоединяется к тройнику 14 пожаротушащего става 2. Внутри корпуса имеется труба 32, приваренная к нижнему фланцу 21 и фланцу 26. Крышка 29 и нижняя крышка 21 образуют побудительную камеру 18, а труба 32 образует напорную камеру 17. Камеры разделены мембраной 19, которая снабжена центральным отверстием 20 малого диаметра, обеспечивающего сообщение этих камер. На конической поверхности нижней крышки 21 расположены четыре кольцевые прорези 22. Пружина 23 служит для поджатия мембраны к нижней крышке клапана, когда установка находится в состоянии ожидания. Через полость 24 вода поступает из клапана 3 в пожаротушащий став 2.

[20]

Фильтр 4 служит для очищения шахтовой воды от различных твердых частиц, чтобы исключить возможность забивания центрального отверстия 20 в мембране клапана и представляет собой корпус круглой формы, внутри которого находится сетка. Фильтр через торцевой фланец соединен с пожарно-оросительным трубопроводом (непоказан), а через другой фланец, расположенный сбоку корпуса, соединен с клапаном.

[21]

Демпферное устройство 8 предназначено для уменьшения пульсаций измеряемой жидкости и предохранения чувствительных элементов манометра от динамических ударов. Демпферное устройство устанавливается перед манометром и состоит из корпуса, ввертыша с регулировочной иглой. Перед установкой на побудительную линию, демпфер наворачивается на штуцер манометра так, чтобы ось регулировочной иглы была перпендикулярна по отношению к плоскости циферблата манометра. Окончательная регулировка производится на рабочем режиме, после заполнения побудительной линии водой. Оптимальным положением регулировочной иглы демпфера считается положение, при котором размах колебаний стрелки манометра не превышает двух делений.

[22]

Ниже приведен принцип действия установки.

[23]

В приведенном ниже подробном описании реализации изобретения приведены многочисленные детали реализации, призванные обеспечить отчетливое понимание настоящего изобретения. Однако, квалифицированному в предметной области специалисту, очевидно каким образом можно использовать настоящее изобретение, как с данными деталями реализации, так и без них. В других случаях хорошо известные методы, процедуры и компоненты не были описаны подробно, чтобы не затруднять излишне понимание особенностей настоящего изобретения.

[24]

Кроме того, из приведенного изложения ясно, что изобретение не ограничивается приведенной реализацией. Многочисленные возможные модификации, изменения, вариации и замены, сохраняющие суть и форму настоящего изобретения, очевидны для квалифицированных в предметной области специалистов.

[25]

Установка пожаротушения ленточных конвейеров монтируется в определенном месте конвейера согласно проекту противопожарной защиты шахты. Побудительная линия 1 и пожаротушащий став 2 крепятся к раме конвейера так, чтобы распылитель 13 пожаротушащего става и спринклер 5 побудительной линии находились между грузовой и порожней лентами, а распылитель 16 и спринклер 12 - над лентой. К тройнику 14 пожаротушащего става крепится клапан 3, который соединяется с побудительной линией рукавом 9. К клапану 3 присоединяется фильтр 4, который подсоединяется к фланцу пожарно-оросительного трубопровода шахты.

[26]

При повышении температуры окружающего установку воздуха на величину, превышающую порог срабатывания теплового замка спринклеров 5 или 12 в зоне контроля, происходит разрушение теплового замка. Давлением воды из побудительной камеры клапана, равным давлению воды в пожарно-оросительном трубопроводе (ПОТ), выталкивается тепловой замок спринклера 5 и вода из трубы побудительной линии вытекает через спринклер, при этом происходит падение давления в побудительной линии 1 и в побудительной камере 18 клапана 3. Когда давление в побудительной камере 18 клапана 3 уменьшится до атмосферного, то давлением воды из напорной камеры 17 клапана 3 отжимается мембрана 19, открывая доступ воды через кольцевые прорези 20 в нижней крышке 21 клапана в полость 24 и далее в пожаротушащий став установки к распылителям 13 и 16.

[27]

Побудительная линия 1, также как и клапан 3 имеет два режима эксплуатации.

[28]

- состояние ожидания применения (дежурный режим), когда пожар отсутствует, при этом побудительная линия находится под давлением воды в ПОТ;

[29]

- рабочее состояние, когда при возникновении пожара срабатывает один или несколько спринклеров, включается клапан 3 и вода из оросителей 13 и 16 пожаротушащего става 2 подается в место возникновения пожара.

[30]

В рабочее состояние клапан (соответственно всю установку) можно привести вручную открытием шарового крана 10, при этом принцип срабатывания установки тот же, что и от спринклера 5.

[31]

Для приведения установки в дежурный режим необходимо закрыть задвижку (не показана) на пожарно-оросительном трубопроводе перед запорно-пусковым устройством, при этом давление воды в напорной камере 17 клапана снизится, и пружина 23 прижмет мембрану 19 к нижней крышке. Далее надо заменить спринклер 5 или закрыть шаровой кран 10, а затем открыть задвижку для заполнения побудительной линии водой и выравнивания давления в системе.

[32]

По окончании тушения пожара, для приведения установки в дежурный режим необходимо закрыть задвижку (не показана) на пожарно-оросительном трубопроводе, при этом давление воды в напорной камере 17 клапана 3 снизится и пружина 23 вернет мембрану 19 в исходное положение. Далее надо заменить спринклеры 5 или 12, тепловые замки которых были разрушены высокой температурой, или закрыть шаровой кран 10, а затем открыть задвижку для заполнения побудительной камеры 18 клапана и побудительной линии 1 водой до выравнивания давления в установке и в пожарно-оросительном трубопроводе шахты. Пружина 23 и давление воды в побудительной камере клапана равномерно прижмут мембрану к нижней крышке 21. Отверстия для прохода воды, выполненные в виде прорезей 22, расположенных по диаметру в нижней крышке 21, обеспечивают равномерное распределение нагрузки (давления воды) на мембрану.

[33]

В настоящих материалах заявки представлено предпочтительное раскрытие осуществление заявленного технического решения, которое не должно использоваться как ограничивающее иные, частные воплощения его реализации, которые не выходят за рамки испрашиваемого объема правовой охраны и являются очевидными для специалистов в соответствующей области техники.

Как компенсировать расходы
на инновационную разработку
Похожие патенты