патент
№ RU 195372
МПК B02C15/00

ДРОБИЛКА ШНЕКО-ЗУБЧАТАЯ

Авторы:
Шалашов Денис Викторович
Номер заявки
2019130902
Дата подачи заявки
01.10.2019
Опубликовано
23.01.2020
Страна
RU
Как управлять
интеллектуальной собственностью
Чертежи 
2
Реферат

Полезная модель относится к устройствам для дробления твердых неметаллических горных пород. Дробилка включает в себя основание, прямоугольный корпус, электродвигатели, редукторы, муфты, подшипники, фиксирующие полукольца, шнеки зубчатые, состоящие из валов с насаженными на них дисками зубчатыми, где прямоугольный корпус содержит отверстия, для установки валов шнеков зубчатых, и расположен на основании, электродвигатели соединены с валами шнеков зубчатых через редукторы при помощи муфт, валы шнеков зубчатых закреплены в отверстиях корпуса при помощи фиксирующих полуколец, на валах шнеков зубчатых насажены диски зубчатые, на которых зубья установлены с помощью болтового соединения. Зубья на диске зубчатом дополнительно закреплены с помощью сварки. Наружные поверхности дисков зубчатых содержат износостойкую наплавку, а в качестве муфты применена торовая муфта с высокоэластичной оболочкой. Дробилка обеспечивает повышение надежности конструкции.

Формула изобретения

1. Дробилка шнеко-зубчатая, включающая в себя основание, прямоугольный корпус, электродвигатели, редукторы, муфты, подшипники, фиксирующие полукольца, шнеки зубчатые, состоящие из валов с насаженными на них дисками зубчатыми, где прямоугольный корпус содержит отверстия, для установки валов шнеков зубчатых, и расположен на основании, электродвигатели соединены с валами шнеков зубчатых через редукторы при помощи муфт, валы шнеков зубчатых закреплены в отверстиях корпуса при помощи фиксирующих полуколец, на валах шнеков зубчатых насажены диски зубчатые, на которых зубья установлены с помощью болтового соединения, отличающаяся тем, что зубья на диске зубчатом дополнительно закреплены с помощью сварки, при этом наружные поверхности дисков зубчатых содержат износостойкую наплавку, а в качестве муфты применена торовая муфта с высокоэластичной оболочкой.

2. Дробилка по п. 1, отличающаяся тем, что основание представляет собой общую раму.

3. Дробилка по п. 1, отличающаяся тем, что зубья на диске зубчатом привариваются по контуру.

4. Дробилка по п. 1, отличающаяся тем, что в качестве материала покрытия наружной поверхности диска использована износостойкая сетка, наплавленная электродами ОЗН-6 ГОСТ 9466-75.

5. Дробилка по п. 1, отличающаяся тем, что расстояние между осями валов составляет от 500 до 1300 мм.

6. Дробилка по п. 1, отличающаяся тем, что диски зубчатые изготовлены из высоколегированной стали типа 35ХМЛ ГОСТ 977-88.

7. Дробилка по п. 1, отличающаяся тем, что зубья изготовлены из высокомарганцовистой стали типа 110Г13Л.

8. Дробилка по п. 1, отличающаяся тем, что наружный диаметр корпуса подшипника составляет от 400 до 900 мм.

9. Дробилка по п. 1, отличающаяся тем, что толщина стенки корпуса подшипника составляет от 30 до 100 мм.

10. Дробилка по п. 1, отличающаяся тем, что поверхность зубьев содержит износостойкую наплавку электродами ОЗН-6 ГОСТ 9466-75.

Описание

[1]

Заявляемая полезная модель относится к устройствам для дробления/измельчения твердых неметаллических горных пород.

[2]

Дробилки шнеко-зубчатые предназначены для дробления рудных и нерудных полезных ископаемых, в том числе материалов, склонных к налипанию. Заявляемая полезная модель относится к дробильному оборудованию в горнорудной промышленности, по типу дробилок шнеко-зубчатых ДШЗ-500/140, ДШЗ-750/220, ДШЗ-1000/320, ДШЗ-1000/320А, ДШЗ-1200/350, ДШЗ-1300/300.

[3]

Известна валковая дробилка для отделения угля от породы (патент РФ №2569474, опубликован 27.11.2015), содержащая корпус, на котором установлен ряд связанных с приводом валков с резцами, и установленный на корпусе над частью валков бункер, который имеет на боковой стенке со стороны открытых валков отверстие для вывода породы. Отверстие боковой стенки бункера перекрыто с помощью по меньшей мере одной заслонки, а дробилка снабжена средством измерения степени загрузки бункера, связанным с приводом валков.

[4]

Недостатком известной конструкции являются низкая надежность, а соответственно и определяемая этим низкая долговечность и износостойкость.

[5]

Наиболее близким техническим решение к заявляемой дробилке шнеко-зубчатой, является ряд дробилок, раскрытых в проспекте Новокраматорского машиностроительного завода (http://work.nkmz.com/?id=548). Дробилка шнеко-зубчатая, включает в себя основание, прямоугольный корпус, электродвигатели, редукторы, муфты, подшипники, фиксирующие полукольца, шнеки зубчатые, состоящие из валов с насаженными на них дисками зубчатыми, где прямоугольный корпус содержит отверстия, для установки валов шнеков зубчатых и расположен на основании, электродвигатели соединены с валами шнеков зубчатых через редукторы при помощи муфт, валы шнеков зубчатых закреплены в отверстиях корпуса при помощи фиксирующих полуколец, на валах шнек зубчатых насажены диски зубчатые, на которых зубья установлены с помощью болтового соединения.

[6]

Недостатком известной конструкции также являются низкая надежность, а соответственно и определяемая этим низкая долговечность и износостойкость.

[7]

Целью заявляемой полезной модели является устранение выявленного недостатка для достижения такого технического результата, как повышение надежности конструкции, и определяемой этим, повышение долговечности и износостойкости дробилок.

[8]

Поставленная цель достигается следующим образом: дробилка шнеко-зубчатая, включающая в себя основание, прямоугольный корпус, электродвигатели, редукторы, муфты, подшипники, фиксирующие полукольца, шнеки зубчатые, состоящие из валов с насаженными на них дисками зубчатыми, где прямоугольный корпус содержит отверстия, для установки валов шнеков зубчатых и расположен на основании, электродвигатели соединены с валами шнеков зубчатых через редукторы при помощи муфт, валы шнеков зубчатых закреплены в отверстиях корпуса при помощи фиксирующих полуколец, на валах шнек зубчатых насажены диски зубчатые, на которых зубья установлены с помощью болтового соединения, характеризующаяся тем, что зубья на диске зубчатом дополнительно закреплены с помощью сварки, при этом наружные поверхности дисков зубчатых содержат износостойкую наплавку, а в качестве муфты применена торовая муфта с высокоэластичной оболочкой.

[9]

Дробилка в частности может характеризоваться тем, что основание представляет собой общую раму.

[10]

Дробилка в частности может характеризоваться тем, что зубья на диске зубчатом привариваются по контуру.

[11]

Дробилка в частности может характеризоваться тем, что в качестве материала покрытия наружной поверхности диска использована износостойкая сетка, наплавленная электродами ОЗН-6 ГОСТ 9466-75.

[12]

Дробилка в частности может характеризоваться тем, что расстояние между осями валов составляет от 500 до 1300 мм.

[13]

Дробилка в частности может характеризоваться тем, что диски зубчатые изготовлены из высоколегированной стали типа 35ХМЛ ГОСТ 977 - 88.

[14]

Дробилка в частности может характеризоваться тем, что зубья изготовлены из высокомарганцовистой стали типа 110Г13Л.

[15]

Дробилка в частности может характеризоваться тем, что наружный диаметр корпуса подшипника составляет от 400 до 900 мм.

[16]

Дробилка в частности может характеризоваться тем, что толщина стенки корпуса подшипника составляет от 30 до 100 мм.

[17]

Дробилка в частности может характеризоваться тем, что поверхность зубьев содержит износостойкую наплавку электродами ОЗН-6 ГОСТ 9466-75.

[18]

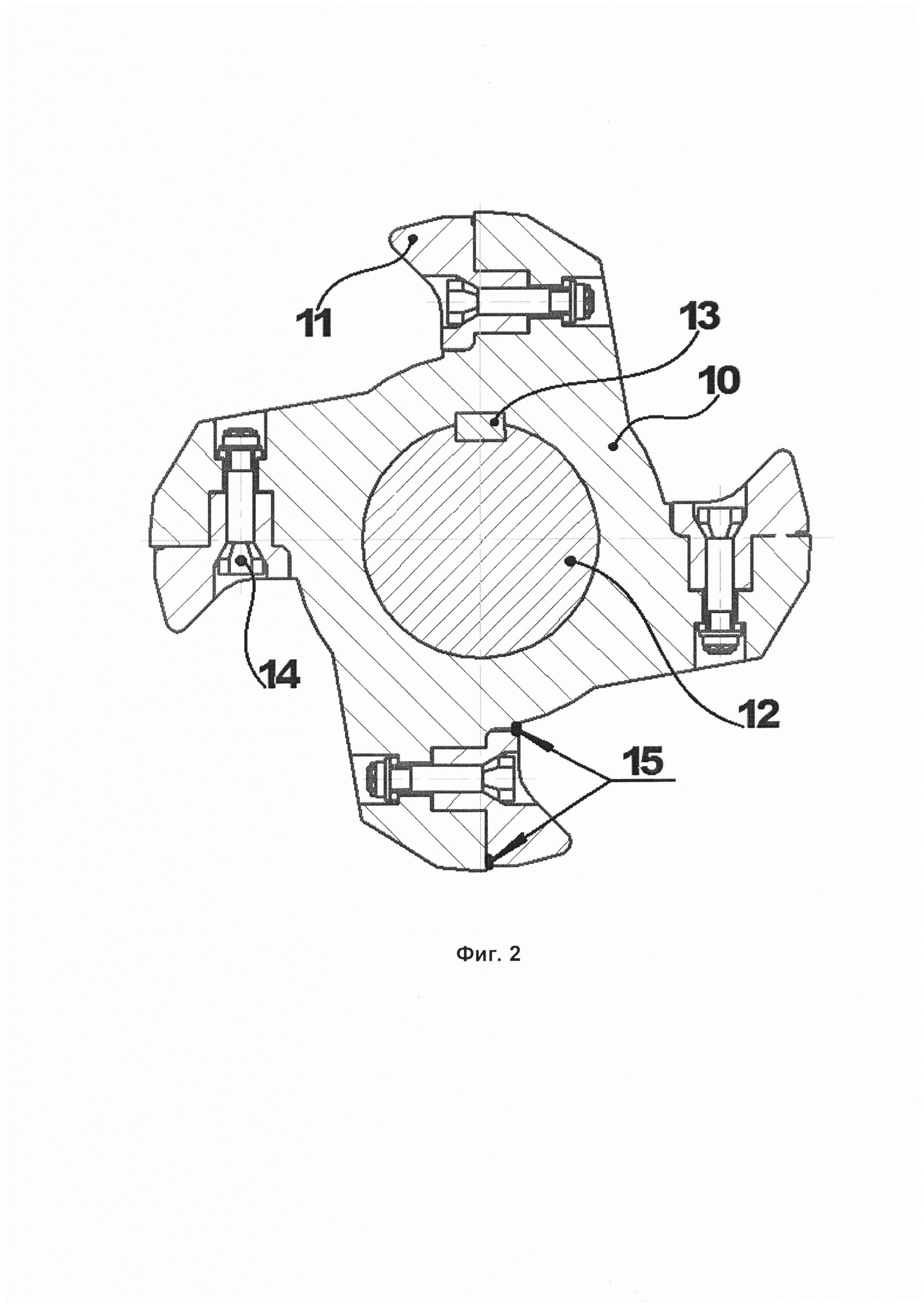
На Фиг. 1 схематично представлена дробилка шнеко-зубчатая, на Фиг. 2 показано схематичное изображение диска с закрепленными на нем зубьями, где цифрами обозначено следующее:

[19]

1. Основание

[20]

2. Корпус

[21]

3. Электродвигатель

[22]

4. Редуктор

[23]

5. Муфта торовая

[24]

6. Подшипник, установленный в отверстии корпуса

[25]

7. Фиксирующее полукольцо

[26]

8. Шнек зубчатый, состоящий из вала с насаженными зубчатыми дисками

[27]

9. Зубья корпуса

[28]

10. Диск зубчатый

[29]

11. Зубья дисковые

[30]

12. Вал

[31]

13. Шпонка

[32]

14. Болтовое соединение

[33]

15. Место обварки по контуру прилегания

[34]

Представленная на фигурах дробилка шнеко-зубчатая устроена следующим образом.

[35]

На основании 1 закреплен прямоугольный корпус 2, с зубьями корпуса 9, на противоположных торцевых стенах которого симметрично расположены по два отверстия, в которых закреплены фиксирующие полукольца 7 с подшипниками 6. Между двумя противоположно расположенными фиксирующими полукольцами расположен вал 12, который, за счет подшипника, способен вращаться относительно своей оси. Расстояние между осями валов в заявляемой конструкции может составлять от 500 до 1300 мм. На валу насажены диски зубчатые 10, снабженные зубьями 11. Электродвигатели 3 соединены с редукторами 4 и торовыми муфтами 5. Валы 12 выступают с одной части корпуса, для соединения с муфтами 5. Диск зубчатый 10 может быть закреплен на валу 12 при помощи шпонки 13, что предотвращает его проворачивание.

[36]

С целью увеличения надежности заявляемой конструкции, за счет отсутствия элементов соединения, прямоугольное основание может представлять собой общую раму. Также, для увеличения надежности составных элементов конструкции, в частности, дисков зубчатых, они могут быть изготовлены, например из высоколегированной стали типа 35ХМЛ ГОСТ 977-88. За счет высоких упругих свойств высоколегированной стали, диски зубчатые способны длительное время переносить ударную нагрузку, характерную для данного типа конструкции, что повышает их долговечность и износостойкость. Зубья дробилки могут быть изготовлены из высокомарганцовистой стали типа 110Г13Л. Применение данного типа стали было выбрано исходя из того, что зубья испытывают высокое удельное давление и данный тип стали является наиболее подходящим для высоких износостойких показателей дробилки. Также, для еще большего повышения долговечности и износостойкости зубьев, они могут быть покрыты износостойкой наплавкой электродами ОЗН-6 ГОСТ 9466-75. Очевидно, что дополнительная защита поверхности зубьев, на которые приходится основная нагрузка, благоприятно сказывается на надежности работы всей конструкции в целом. Наружный диаметр корпуса подшипника для данной конструкции был выбран в диапазоне от 400 до 900 мм, а толщина стенки корпуса подшипника может составлять от 30 до 100 мм. Данные показатели свидетельствуют о массивности тела подшипника, что, несомненно, также будет положительно влиять на показатели надежности конструкции.

[37]

Поскольку основная ударная нагрузка приходится на зубья зубчатых дисков, то именно этот элемент является наиболее подверженным риску разрушения, деформации или срыва с поверхности. С целью надежного закрепления зубьев, последние, наряду с традиционным болтовым удержанием, при помощи болтов 14, приваривают к поверхности зубчатого диска (место обварки 15 схематично представлено на Фиг. 2). При этом, очевидно, что наиболее качественное удержание зубьев сваркой будет в случае приваривания их по контуру, то есть сварка полностью закрывает соединительную щель между зубьями и зубчатым диском, обеспечивая надежное неразъемное соединение. Также, высоким ударным нагрузкам подвергаются и диски зубчатые, которые, с целью повышения износостойкости и долговечности, покрывают износостойкой наплавкой. В качестве материала покрытия наружной поверхности диска, может быть использована износостойкая сетка, наплавленная электродами ОЗН-6 ГОСТ 9466-75. Данное покрытие обеспечивает надежную защиту зубчатых дисков, а его сетчатая структура является дополнительным измельчающим, в том числе, твердый грунт, органом.

[38]

В процессе эксплуатации заявляемой шнеко-зубчатой дробилки, при работе с твердыми породами, неизбежно возникают вибрации. Вибрации разрушающим образом воздействуют на элементы соединения конструкции, вызывая в них люфт и разрушение. С целью снижения вибрации и повышения долговечности и износостойкости конструкции, а стало быть, и ее надежности, в качестве муфты применяют торовую муфту с высокоэластичной оболочкой. За счет высоких показателей эластичности муфты, происходит гашение вибрационной составляющей.

[39]

Представленная на фигурах дробилка шнеко-зубчатая действует следующим образом.

[40]

Исходный дробимый материал подается на вращающиеся, за счет работы электродвигателей, навстречу друг другу шнеки зубчатые. Крупные куски захватываются зубьями, раздавливаются и проходят через разгрузочную щель между шнеками зубчатыми вниз. Мелкая фракция просыпается между шнеками зубчатыми без дробления, как через разгрузочную щель, так и вдоль стенок дробильного корпуса.

[41]

Таким образом, использование в конструкции дробилки шнеко-зубчатой, высокоэластичной муфты, наряду с применением износостойкой наплавки зубчатых дисков, а также дополнительной фиксации зубьев с помощью сварки, позволяет достигать заявляемого технического результата, а именно - повышения надежности конструкции, и определяемой этим, долговечности и износостойкости дробилок шнеко-зубчатых.

[42]

Промышленная применимость.

[43]

Заявляемые дробилки шнеко-зубчатые могут быть использованы в горнодобывающей, строительной и других отраслях промышленности. Изготавливаются на специализированных механо-сборочных заводах.

Как компенсировать расходы
на инновационную разработку
Похожие патенты