патент
№ RU 194920
МПК B25B29/02

УСТРОЙСТВО ДЛЯ ВЫТЯЖКИ ШПИЛЕК ФЛАНЦЕВЫХ СОЕДИНЕНИЙ

Авторы:
Семенцов Андрей Валерьянович
Номер заявки
2019121832
Дата подачи заявки
09.07.2019
Опубликовано
30.12.2019
Страна
RU
Как управлять
интеллектуальной собственностью
Чертежи 
4
Реферат

Полезная модель относится к устройствам для вытяжки шпилек фланцевых соединений. Устройство включает опорный механизм, , содержащее опорный механизм, состоящий из опорного и натяжного колец, при этом опорное кольцо выполнено с пазами для установки приводных элементов ключей для вращения шпилек, гидравлический силовой механизм, имеющий гидроцилиндры для подвода рабочей жидкости от пневмогидравлического агрегата, каждый из которых выполнен с поршнем, имеющим отверстие под тяговый резьбовой элемент для навертывания по резьбе на концы шпилек фланцевого соединения, и систему подвода рабочей жидкости. Каждый гидроцилиндр выполнен одноступенчатым и содержит корпус с системой каналов, на поршне гидроцилиндра установлен пружинный амортизатор, а система подвода рабочей жидкости включает распределитель, связанный шлангами с системой каналов в корпусе гидроцилиндров и пневмогидравлическим агрегатом, при этом каждый тяговый резьбовой элемент снабжен гайкой, а на верхнем торце резьбовой тяги установлен датчик перемещения. Техническим результатом является упрощение и удешевление конструкции и повышение ее надежности. 2 з.п. ф-лы, 4 ил.

Формула изобретения

1. Устройство для вытяжки шпилек фланцевых соединений, содержащее опорный механизм, состоящий из опорного и натяжного колец, при этом опорное кольцо выполнено с пазами для установки приводных элементов ключей для вращения шпилек, гидравлический силовой механизм, имеющий гидроцилиндры для подвода рабочей жидкости от пневмогидравлического агрегата, каждый из которых выполнен с поршнем, имеющим отверстие под тяговый резьбовой элемент для навертывания по резьбе на концы шпилек фланцевого соединения, и систему подвода рабочей жидкости, отличающееся тем, что каждый гидроцилиндр выполнен одноступенчатым и содержит корпус с системой каналов, на поршне гидроцилиндра установлен пружинный амортизатор, а система подвода рабочей жидкости включает распределитель, связанный шлангами с системой каналов в корпусе гидроцилиндров и пневмогидравлическим агрегатом, при этом каждый тяговый резьбовой элемент снабжен гайкой, а на верхнем торце резьбовой тяги установлен датчик перемещения.

2. Устройство по п. 1, отличающееся тем, что гидроцилиндры на соседних шпильках фланцевого соединения установлены на разной высоте.

3. Устройство по п. 1, отличающееся тем, что распределитель в системе подвода рабочей жидкости к гидроцилиндрам выполнен дисковым.

Описание

[1]

Заявляемое в качестве полезной модели устройство для вытяжки шпилек фланцевых соединений относится к машиностроению, а именно к устройствам для сборки и разборки резьбовых соединений в виде шпилек с гайками для крепления крышек сосудов высокого давления.

[2]

Известно устройство для сборки и разборки групп крупных резьбовых узлов фланцевых соединений, содержащее монтажное кольцо, установленное в роликовых опорах на кольцевом рельсе. На монтажном кольце крепятся стягивающие узлы, состоящие из корпусов, крышек и гидродомкратов, вспомогательных тяг с гайками, кулачковых муфт с приводами. На монтажном кольце крепятся также узлы навинчивания и отвинчивания основных гаек, содержащие магазины гаек и гайковерты, включающие шпиндели, размещенные внутри телескопически сочлененных гильз. Шпиндели имеют приводы их вращения, а гильзы имеют приводы их осевого перемещения. На торцах шпинделей размещены шариковые замки-захваты основных гаек (авт. св. СССР №1618626, МПК В25В 29/02, заявлено 19.08.1988, опубл. 07.01.1991).

[3]

Недостатком устройства по авт. св. СССР №1618626 является проведение вытяжки шпилек группами, что значительно увеличивает продолжительность процесса сборки основного разъема сосуда высокого давления, при этом из-за неравномерности задавливания прокладки, установленной во фланцевом соединении, не удается добиться с первого раза требуемой величины вытяжки шпилек в упомянутой группе, что ведет к повтору циклов вытяжки шпилек и вращению гайки для каждой шпильки.

[4]

Известно устройство для сборки или разборки фланцевых соединений, включающих шпильки и гайки, обеспечивающее одновременную вытяжку всех шпилек фланцевого соединения и содержащее установленные на основании устройства для вытяжки шпилек с гидроцилиндрами и тягами с гайками, каждое устройство для вытяжки шпилек выполнено в виде расположенного перпендикулярно вытягиваемой шпильке гидроцилиндра, корпус и поршень которого через вилки и оси связаны с парами рычагов, опертых на две опорные площадки с осями, при этом одна из опорных площадок выполнена взаимодействующей через основание с одним из фланцев, а вторая - с гайкой, установленной на тяге. Блок управления гидроцилиндрами осуществляет распределение рабочей жидкости при ее подаче в гидроцилиндры. (Описание к патенту РФ №2657150, МПК В25В 29/02, заявлено 25.07.2016, опубл. 08.06.2018).

[5]

Недостатком устройства является наличие механической системы в устройстве, передающей усилие от гидроцилиндров на тяговые элементы (гайку и тягу). Указанная механическая система обуславливает дополнительную нагрузку на поршень и шток гидроцилиндра и на узел подачи рабочей жидкости, увеличивая энергетические затраты. Кроме того, наличие шарнирных соединений между элементами механической рычажной системы снижает надежность конструкции.

[6]

Наиболее близким по назначению, технической сущности и достигаемому результату к заявляемому устройству является устройство для вытяжки шпилек, содержащее опорный механизм с гидравлическим силовым механизмом и механизм вращения гаек. Опорный механизм выполнен в виде натяжного и опорного колец. Силовой механизм взаимодействует с резьбовыми тягами, установленными на шпильках, и выполнен в виде многоступенчатых гидроцилиндров. Последние расположены по периметру опорного кольца. Поршни гидроцилиндров имеют отверстия под резьбовые тяги и торцами упираются один в другой. Опорное кольцо выполнено с пазами по торцам для установки ключей на приводы механизма вращения гаек. Устройство снабжено блоком управления гидроцилиндрами. Подвод рабочей жидкости к гидроцилиндрам производится от пневмогидравлического агрегата рукавом высокого давления через быстроразъемное соединение, а затем по системе каналов в натяжном кольце. (Описание к патенту РФ №2458782, МПК В25В 29/02, заявлен 24.03.2011, опубл. 20.08.2012).

[7]

Недостатком устройства является сложность и, следовательно, дороговизна конструкции, обусловленная необходимостью изготовления многоступенчатых гидроцилиндров, рассчитанных на высокое давление для создания большого усилия вытяжки шпилек, и выполнением системы каналов для подачи рабочей жидкости в гидроцилиндры в натяжном кольце. При этом наличие быстроразъемного соединения в системе подачи рабочей жидкости в гидроцилиндры и соединение каналов в корпусах гидроцилиндров с каналами в натяжном кольце снижает надежность конструкции.

[8]

Задачей усовершенствования устройства для вытяжки шпилек является упрощение и удешевление конструкции за счет применения одноступенчатых гидроцилиндров, воздействующих непосредственно на тяговые элементы силового механизма.

[9]

Техническим результатом предлагаемого усовершенствования устройства является повышение надежности конструкции.

[10]

Указанный технический результат достигается тем, что в устройстве для вытяжки шпилек фланцевых соединений, включающем опорный механизм из опорного и натяжного колец, механизм вращения гаек шпилечного соединения, к приводным элементам которого, размещенным на упомянутых гайках, для установки ключей выполнены пазы в опорном кольце, гидравлический силовой механизм, представленный гидроцилиндрами с системой подвода рабочей жидкости от пневмогидравлического агрегата, поршни которых выполнены с отверстиями под тяговые элементы, навернутые по резьбе на концы шпилек фланцевого соединения, согласно полезной модели гидроцилиндры силового механизма выполнены одноступенчатыми, а подвод рабочей жидкости от пневмогидравлического агрегата организован системой, включающей распределитель, например, дисковый, связанный шлангами с каналами корпусов гидроцилиндров, кроме того гидроцилиндры на соседних шпильках фланцевого соединения установлены на разной высоте.

[11]

Выполнение силового агрегата с одноступенчатыми гидроцилиндрами и системой подачи рабочей жидкости, включающей дисковый распределитель и шланги, соединяющие его непосредственно с каналами в корпусах гидроцилиндров, обеспечивает упрощение и удешевление конструкции устройства, повышает ее надежность.

[12]

Снабжение системы подачи рабочей жидкости распределительной емкостью позволяет выровнять давление во всех гидроцилиндрах, обеспечивая равномерность создаваемого усилия в гидроцилиндрах и нагрузки на все шпильки фланцевого соединения.

[13]

Пример выполнения устройства поясняется эскизами.

[14]

На фиг. 1 показано устройство для вытяжки шпилек в аксонометрии;

[15]

На фиг. 2 представлен в разрезе общий вид устройства, установленного на фланцевом соединении;

[16]

На фиг. 3 показан вариант устройства для фланца меньшего диаметра.

[17]

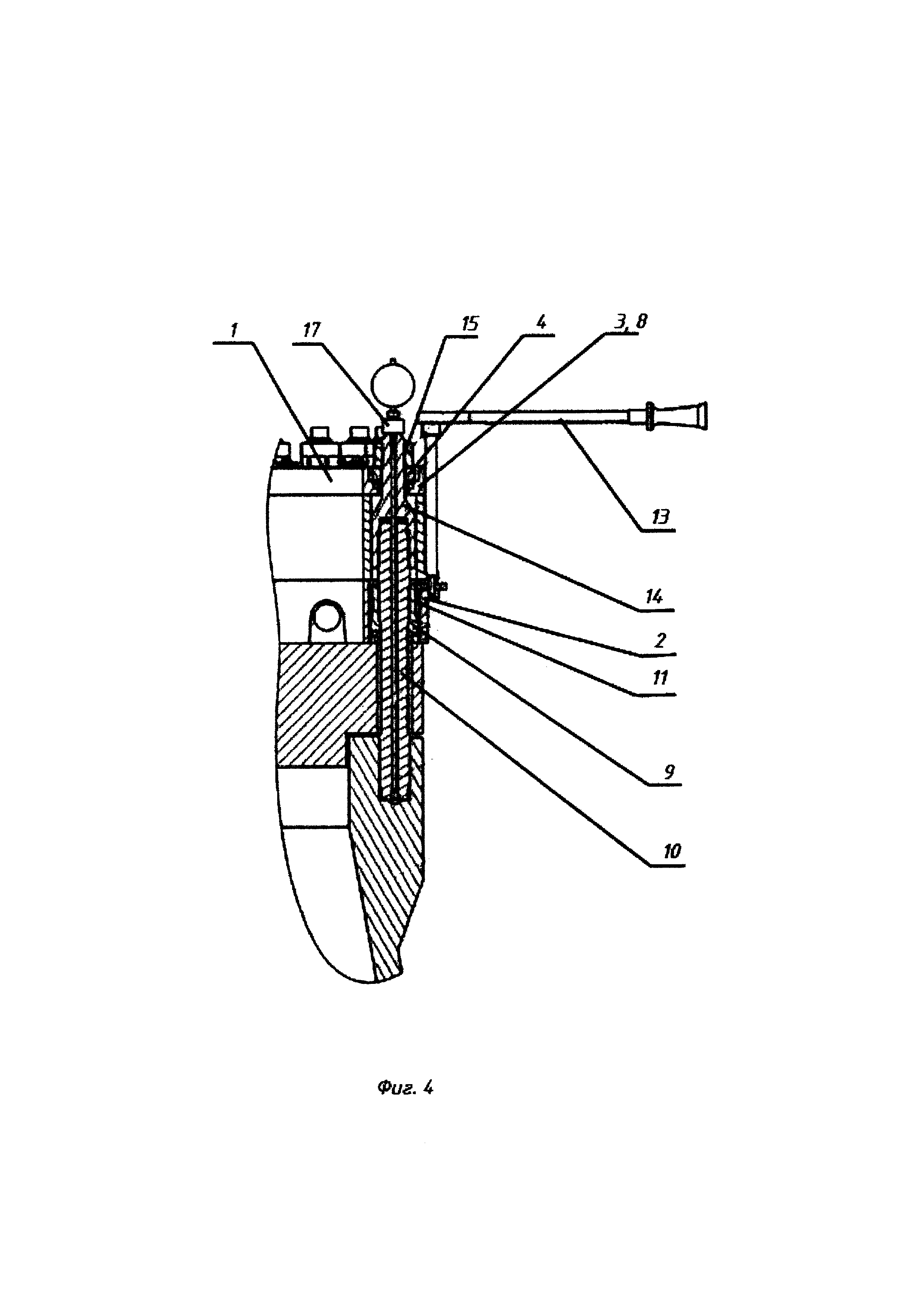
На фиг. 4 дана схема установки гидроцилиндра на шпилечном соединении;

[18]

Предлагаемое устройство состоит из двух колец, натяжного 1 и опорного 2. В натяжном кольце 1 закреплены с помощью болтов гидроцилиндры 3 с поршнями 4. Подвод масла к гидроцилиндрам производится от пневмогидравлического агрегата (на чертеже не показан) рукавом высокого давления через дисковый распределитель 5, а затем по шлангам 6 к системе каналов 7 в корпусе 8 каждого гидроцилиндра. Опорное кольцо 2 установлено на крышке фланцевого соединения. Предварительно на каждую гайку 9 шпильки 10 фланцевого соединения устанавливается привод механизма вращения гаек - адаптер 11, к которым, через пазы 12, выполненные в опорном кольце, впоследствии устанавливаются ключи 13 для вращения гаек 9. На каждую выступающую часть шпильки 10 по резьбе накручиваются тяги 14, которые при установке натяжного кольца 1 проходят через отверстия в поршнях 4. На конце каждой тяги устанавливают тяговые гайки 15. На корпусах 8 гидроцилиндров установлены пружинные амортизаторы 16, предназначенные для возврата поршней 4 гидроцилиндров 3 в исходное положение по окончании процесса вытяжки шпилек. На верхних торцах резьбовых тяг 14 установлены датчики перемещения 17, осуществляющие контроль величины вытяжки каждой шпильки.

[19]

Работа с помощью предлагаемого устройства осуществляется следующим образом. Опорное кольцо 2 устанавливают на крышку фланцевого соединения. Перед этим предварительно на каждую гайку 9 шпильки 10 устанавливается адаптер 11. На каждую выступающую часть шпильки 10 устанавливается резьбовая тяга 14. На опорное кольцо 2 устанавливают натяжное кольцо 1, фиксируя его штифтами и закрепляя винтами, и на конце каждой тяги 14 устанавливают тяговые гайки 15. Заворачивают до упора гайки 15, при этом поршни 4 устанавливаются в крайнее нижнее положение, пружинные амортизаторы 16 на каждом гидроцилиндре сжимаются. С помощью пневмогидравлического агрегата, создающего гидравлическое давление, в дисковый распределитель 5 подается рабочая жидкость, из которого по шлангам 6 и системе каналов 7 в корпусах 8 каждого гидроцилиндра рабочая жидкость поступает под поршни 4, которые перемещаются вверх. Поршни 4 гидроцилиндров, упираясь в тяговые гайки 15, тянут резьбовые тяги 14 и связанные с ними шпильки 10, растягивая упомянутые шпильки на заданную величину. Контроль величины вытяжки шпилек 10 осуществляется с помощью датчиков перемещения 17, установленных на верхних торцах резьбовых тяг 14. При достижении всеми шпильками проектной величины вытяжки давление в гидроцилиндрах не сбрасывают, в пазы 12 опорного кольца 2 устанавливают ключи 13 (на фиг 3), шестерни которых входят в зацепление с зубьями на адаптерах 11. После этого с помощью динамометрических ключей, устанавливаемых на ключах 13, производят частичный поворот гаек 9 на шпильках 10 (например, на 1/8 шага) заданным крутящим моментом. Фланцевое соединение разуплотняется, давление в гидравлической системе устройства сбрасывается и амортизаторы 16 возвращают поршни 4 гидроцилиндров в исходное положение. После чего выполняются операции отвинчивания или затяжки гаек 9 на фланцевом соединении.

[20]

Использование предлагаемого устройства возможно для фланцевых разъемов различных диаметров, т.к. конструкцией устройства предусматривается возможность установки гидроцилиндров на разных высотах (см. на фиг. 3), что позволяет уменьшить диаметры опорного и натяжного колец.

[21]

Конструкция устройства для вытяжки шпилек в виде расположенных на каждой шпильке гидроцилиндров, корпус и поршень которого передают усилие вытяжки непосредственно на вытягиваемую шпильку, дает возможность упростить конструкцию гидроцилиндров, сделав их одноступенчатыми, и, следовательно, менее габаритными и более дешевыми. Меньший габарит устройства, обеспечиваемый также установкой гидроцилиндров на разных высотах, позволяет установить гидроцилиндры на каждую шпильку, что позволяет вытягивать все шпильки одновременно и обеспечивает возможность использования устройства на фланцевых разъемах различного диаметра.

Как компенсировать расходы
на инновационную разработку
Похожие патенты