патент
№ RU 193260
МПК B01J2/00

ГРАНУЛЯТОР С ВОДЯНЫМ ОХЛАЖДЕНИЕМ

Авторы:
Акатов Игорь Сергеевич
Правообладатель:
Номер заявки
2018134654
Дата подачи заявки
01.10.2018
Опубликовано
21.10.2019
Страна
RU
Как управлять
интеллектуальной собственностью
Чертежи 
2
Реферат

Полезная модель относится к области гранулирования сыпучих материалов и может быть использована в сельском, лесном хозяйстве, в области утилизации бытовых и промышленных отходов. Подходит для получения топливных гранул, использования в животноводческой области, получения гранул. Для переработки травяной муки, сена, а также любых зерновых в качестве корма для животных, а также для получения топлива для отопления. Для гранулирования торфа, угля, в качестве удобрения, топлива, а также для гранулирования иных материалов.Гранулирование указанной смеси гранул осуществляют в грануляторе путем уплотнения смеси прессующими вальцами через фильеры гранулятора.

Формула изобретения

Гранулятор с водяным охлаждением, характеризующийся тем, что включает загрузочный бункер с отверстием в верхней части для подачи сырья, с установленным в бункере вальцовым узлом, вальца которого жестко закреплены на валу привода гранулятора и расположены над плоской неподвижной перфорированной матрицей с отверстиями для выхода образующихся гранул, под которой расположен корпус, в который попадают образующиеся гранулы, при этом бункер и корпус снабжены терморегулирующей рубашкой с соответствующими входными и выпускными отверстиями, заполненной терморегулирующей жидкостью, обеспечивающей контроль температуры оснастки и сырья в рабочей зоне во время процесса гранулирования.

Описание

[1]

ОБЛАСТЬ ПРИМЕНЕНИЯ

[2]

Устройство «Гранулятор с водяным охлаждением» относится к области гранулирования сыпучих материалов и может быть использовано в сельском, лесном хозяйстве, в области утилизации бытовых и промышленных отходов.

[3]

НАЗНАЧЕНИЕ

[4]

«Гранулятор с водяным охлаждением» подходит для получения топливных гранул, использования в животноводческой области, получения гранул. Для переработки травяной муки, сена, а также любых зерновых в качестве корма для животных, а также для получения топлива для отопления. Для гранулирования торфа, угля, в качестве удобрения, топлива, а также для гранулирования иных материалов.

[5]

ОБЛАСТЬ ТЕХНИКИ

[6]

Настоящая полезная модель относится к области техники для сельского хозяйства, производства гранул из сыпучих материалов.

[7]

Аналоги полезной модели.

[8]

УРОВЕНЬ ТЕХНИКИ

[9]

Известно устройство (СССР патент №426873) пресс-гранулятор содержащее неподвижно укрепленную матрицу, вал с установленным водилом с расположенными на нем прессующими вальцами.

[10]

К недостаткам данной конструкции можно отнести отсутствие возможности контроля температуры перерабатываемых в гранулы материалов, что приводит к снижению эффективности процесса гранулирования, вынужденных перерывах во время работы для охлаждения оборудования и невозможности получения гранулированного сырья с заданными свойствами.

[11]

В приложении имеется чертеж.

[12]

Описание чертежей.

[13]

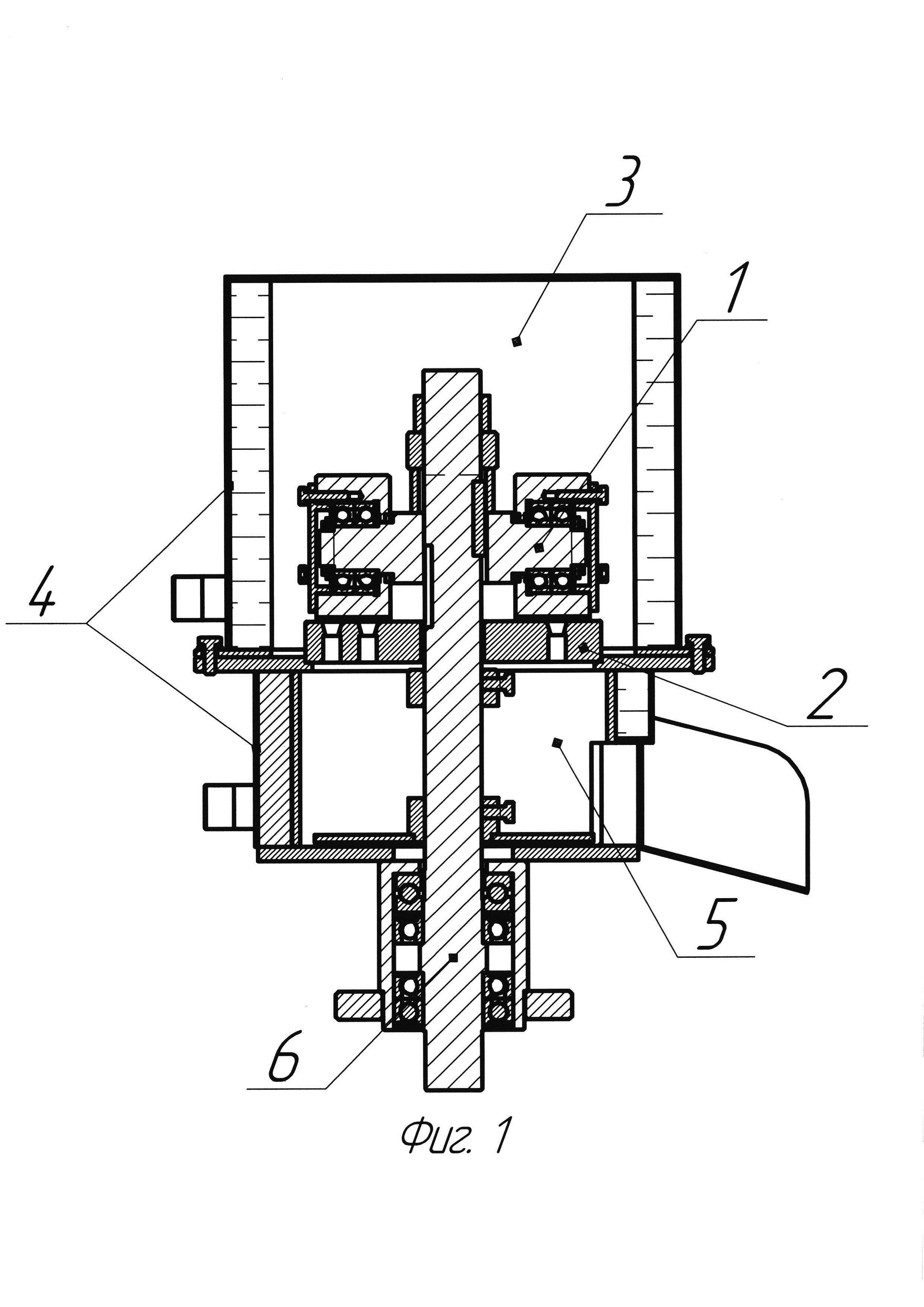
Устройство для получения гранул состоит из (1) вальцевого узла, (2) перфорированной матрицы, (3) бункера, (4) терморегулирующая рубашки, (5) корпуса, (6) привода. Вальцы жестко закреплены на валу привода и расположены над плоской фиксированной(не подвижной) перфорированной матрицей, таким образом, чтобы прокатываемое сырье, проходя через фильеры матрицы (отверствия), спрессовывалось в гранулу.

[14]

Терморегулирующая рубашка обеспечивает контроль температуры оснастки и сырья в рабочей зоне во время процесса гранулирования.

[15]

Устройство и принцип работы поясняются чертежами. Фиг. 1 схема устройства для получения гранул в разрезе, где 1 - вальцевый узел, 2 - перфорированная матрица, 3 - бункер, 4 - терморегулирующая рубашка, 5 - корпус, 6 - привод.

[16]

Фиг. 2 - принцип работы устройства, где 7 - сырье, 8 - терморегулирующая жидкость, 9 - гранулы.

[17]

Устройство для получения гранул, содержащее вальцевый узел, привод, перфорированную матрицу, бункер, отличающееся тем, что имеет терморегулирующую рубашку с циркулирующей между корпусом и рубашкой, бункером и рубашкой, терморегулирующей жидкостью заданной температуры, обеспечивающей заданные условия в рабочей зоне. Необходимая температура теплоносителя или охлаждающей жидкости подбирается экспериментальным путем в зависимости от вида гранулируемого сырья, максимальной эффективности непрерывной работы устройства и необходимых для получения биологических свойств в готовом продукте.

[18]

Отличия (существенные признаки).

[19]

РАСКРЫТИЕ ПОЛЕЗНОЙ МОДЕЛИ

[20]

Целью создания данного изобретения является разработка устройства для получения гранул, обеспечивающего непрерывный процесс работы и получение продукта с заданными физическими и биологическими свойствами.

[21]

Цель достигается тем, что предлагаемое устройство оснащено терморегулирующей рубашкой. Благодаря циркуляции теплоносителя или охладителя между рубашкой и бункером, рубашкой и корпусом достигается снижение или повышение температуры рабочей зоны устройства.

[22]

При повышении температуры рабочей зоны можно достигнуть более высокой пластичности сырья, за счет перехода части его компонентов в жидкую фазу с последующей ее пластификацией. Также повышенная температура, при необходимости, во время переработки органического сырья позволяет добиться эффекта пастеризации.

[23]

При охлаждении рабочей зоны устройства, повышается производительность оборудования за счет его непрерывной работы. Также при гранулировании биологических материалов, к примеру комбикормов, они сохраняют полезные вещества и витамины, так как не происходит их распад под действием высоких температур.

[24]

В иных аналогичных устройствах вовсе отсутствует охлаждающий бункер и рубашка.

[25]

3 - бункер, 4 - терморегулирующая рубашка.

[26]

Минусы данной полезной модели.

[27]

Необходимость замены охлаждающей жидкости в период эксплуатации, однако данный недостаток является несущественным, поскольку смена охлаждающей жидкости не требует значительных затрат по времени.

[28]

ПРОМЫШЛЕННАЯ ПРИМЕНИМОСТЬ

[29]

Осуществление полезной модели.

[30]

Цель достигается тем, что предлагаемое устройство оснащено терморегулирующей рубашкой. Благодаря циркуляции теплоносителя или охладителя между рубашкой и бункером, рубашкой и корпусом достигается снижение или повышение температуры рабочей зоны устройства.

[31]

При гранулировании сыпучих материалов и непрерывной работе, охлаждающий бункер и рубашка позволяет охлаждать движущиеся элементы, что увеличивает производительность и как следствие коэффициент полезного действия.

[32]

Также возможно повышать температуру, что позволяет достигнуть более высокой пластичности сырья, за счет перехода части его компонентов в жидкую фазу с последующей ее пластификацией. Также повышенная температура, при необходимости, во время переработки органического сырья позволяет добиться эффекта пастеризации.

[33]

Существенные отличия полезной модели.

[34]

Целью создания данного изобретения является разработка устройства для получения гранул, обеспечивающего непрерывный процесс работы и получение продукта с заданными физическими и биологическими свойствами.

[35]

Цель достигается тем, что предлагаемое устройство оснащено терморегулирующей рубашкой (4). Благодаря циркуляции теплоносителя или охладителя между рубашкой и бункером, рубашкой и корпусом достигается снижение или повышение температуры рабочей зоны устройства.

[36]

При повышении температуры рабочей зоны можно достигнуть более высокой пластичности сырья, за счет перехода части его компонентов в жидкую фазу с последующей ее пластификацией. Также повышенная температура, при необходимости, во время переработки органического сырья позволяет добиться эффекта пастеризации.

[37]

При охлаждении рабочей зоны устройства, повышается производительность оборудования за счет его непрерывной работы. Также при гранулировании биологических материалов, к примеру комбикормов, они сохраняют полезные вещества и витамины, так как не происходит их распад под действием высоких температур.

Как компенсировать расходы
на инновационную разработку
Похожие патенты