патент
№ RU 188784
МПК B23P19/027

Раскрепитель гидравлический

Авторы:
Жебрак Антон Викторович
Номер заявки
2018133837
Дата подачи заявки
26.09.2018
Опубликовано
23.04.2019
Страна
RU
Как управлять
интеллектуальной собственностью
Чертежи 
3
Реферат

Область использования: трубные ключи, используемые для свинчивания, развинчивания, раскрепления и затяжки соединительных узлов трубных колонн, при спускоподъемных операциях во время бурения, ремонта или эксплуатации нефтяных, газовых и других скважин.Технический результат: снижение металлоемкости и трудоемкости изготовления ключа за счет упрощения конструкции при одновременном обеспечении большого крутящего момента, что позволяет использовать ключ для развинчивания труб и муфт, бывших в эксплуатации длительное время.Сущность: В раскрепителе гидравлическом, содержащим два расположенных один над другим узла захвата труб, приводимых от одного гидроцилиндра, шток которого кинематически связан с одним из узлом захвата труб, а цилиндр – со вторым узлом захвата труб, согласно полезной модели, шток и цилиндр гидроцилиндра связаны с соответствующим узлом захвата труб через С-образные рычаги, при этом каждый С-образный рычаг связан посредством шарнира, как с элементами гидропривода, так и с соответствующим элементом узла захвата труб. С-образный рычаг может быть выполнен цельным. С-образный рычаг может быть выполнен наборным из стальных листов, связанных болтовыми соединениями. 4 з.п. ф-лы, 3 фиг.

Формула изобретения

1. Гидравлический ключ для свинчивания и развинчивания трубных соединительных узлов, содержащий два расположенных один над другим узла для захвата труб, каждый из которых шарнирно соединен с концом соответствующего рычага, и гидроцилиндр, шток которого шарнирно связан с другим концом одного из упомянутых рычагов, а цилиндр шарнирно связан с другим концом второго упомянутого рычага, отличающийся тем, что упомянутые рычаги выполнены С-образными, а каждый из узлов для захвата труб выполнен в виде двух челюстей и последовательно шарнирно соединенных и расположенных поочередно друг с другом промежуточных звеньев и дополнительных челюстей, последняя из которых свободным концом шарнирно соединена с концом соответствующего рычага, шарнирно соединенного с концом одной из двух челюстей, на другом конце которой шарнирно установлена защелка с цилиндрическим стопором, выполненным с возможностью соединения с пазом на другой из двух челюстей, которая своим свободным концом шарнирно связана с концом первого из промежуточных звеньев.

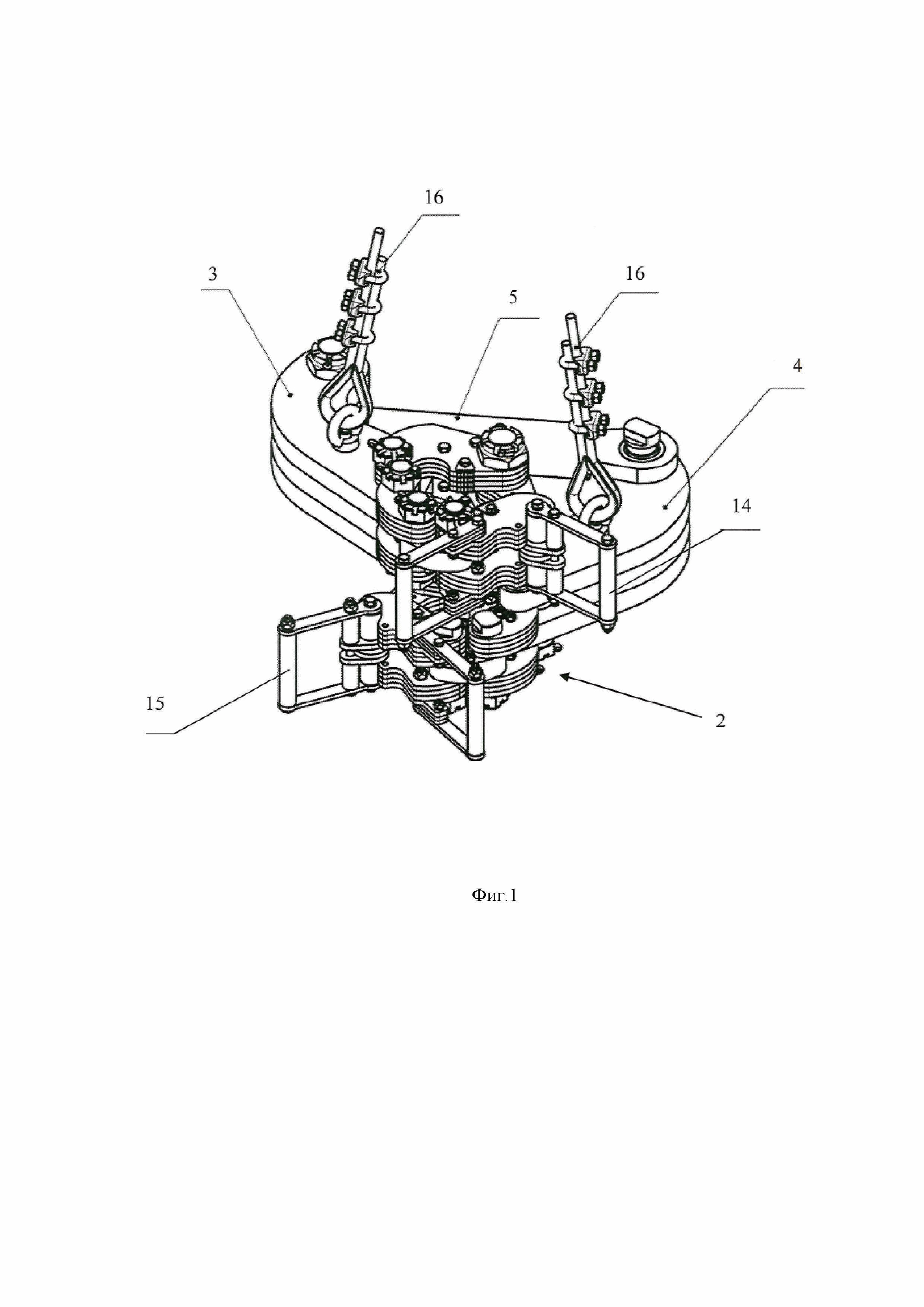
2. Гидравлический ключ по п. 1, отличающийся тем, что С-образные рычаги выполнены цельными.

3. Гидравлический ключ по п. 1, отличающийся тем, что С-образные рычаги выполнены наборными из стальных листов, связанных болтовыми соединениями.

4. Гидравлический ключ по п. 1, отличающийся тем, что челюсти выполнены в виде наборных пакетов из нескольких слоев листовой стали.

5. Гидравлический ключ по п. 1, отличающийся тем, что челюсти выполнены цельными.

Описание

[1]

Полезная модель относится к трубным ключам, используемым для свинчивания, развинчивания, раскрепления и затяжки соединительных узлов трубных колонн, при спускоподъемных операциях во время бурения, ремонта или эксплуатации нефтяных, газовых и других скважин.

[2]

Известен трубный ключ по патенту RU 2071411. Ключ содержит две шарнирно соединенные челюсти, одна из которых шарнирно соединена с рукояткой, и пружину, один конец которой закреплен в одной из челюстей.

[3]

Известный трубный ключ характеризуется тем, что челюсть, шарнирно закрепленная с рукояткой, выполнена составной из двух щек и фасонного элемента, установленного между ними, закрепленного на соответствующих щеках и имеющего с ними общую поверхность, а в фасонном элементе выполнена полость для закрепления второго конца пружины.

[4]

Известен универсальный машинный ключ по патенту RU 2039642. Ключ содержит рычаг, шарнирно связанные с ним одними концами челюсти с плашками, промежуточное звено, одним концом шарнирно связанное со свободным концом одной челюсти, дополнительную челюсть, шарнирно связанную с другим концом промежуточного звена, и защелку, шарнирно связанную со свободным концом другой челюсти. Известный ключ характеризуется тем, что защелка имеет цилиндрический выступ на свободном конце, а в дополнительной челюсти выполнены паз для размещения защелки и выемки для размещения цилиндрического выступа.

[5]

Известно устройство для закрепления и раскрепления резьбовых соединений бурильных и насосно-компрессорных труб, содержащее два расположенных один над другим на развинчиваемых трубах трубозажимных устройства, каждый из которых включает зажимной элемент и ручку, причем нижнее трубозажимное устройство закреплено неподвижно на опоре и фиксирует нижнюю трубу от поворота (см. авторское свидетельство SU №80677).

[6]

Однако данное устройство имеет сравнительно сложную конструкцию с использованием нескольких приводов, что ведет к снижению надежности работы данного устройства и усложняет его эксплуатацию.

[7]

Известно устройство для раскрепления резьбовых соединений бурильных и насосно-компрессорных труб по патенту RU 44731, принятое в качестве ближайшего аналога (прототипа).

[8]

Устройство содержит два расположенных один над другим на развинчиваемых трубах трубозажимных устройства (узлов захвата труб), каждое из которых включает зажимной элемент и ручку, причем нижнее трубозажимное устройство закреплено посредством страховочного каната неподвижно относительно труб с возможностью фиксации нижней трубы от поворота, между ручками трубозажимных устройств установлен привод, выполненный в виде установленного на раме гидроцилиндра, причем цилиндр гидроцилиндра посредством шарнира соединен с концом ручки одного из трубозажимных устройств, а шток поршня на конце снабжен наконечником, пропущенным через выполненное в раме вдоль штока щелевидное отверстие, и посредством шарнира соединен с концом ручки второго трубозажимного устройства, при этом наконечник штока снабжен ползуном, перемещающимся вдоль щелевидного отверстия и препятствующий изгибу штока от изгибающего момента.

[9]

Недостатком данного устройства, выбранного в качестве прототипа, является усложнение конструкции из-за использования наконечника, пропущенного через выполненное в раме вдоль штока щелевидное отверстие, обеспечивающего предотвращение изгиба штока от изгибающего момента.

[10]

Кроме того, в результате значительных изгибающих моментов, особенно, при раскручивании бывших в эксплуатации труб и муфт, остается риск перекоса штока.

[11]

Задачей настоящей разработки является упрощение конструкции и повышение надежности его работы.

[12]

Технический результат заключается в снижении металлоемкости и трудоемкости изготовления ключа за счет упрощения конструкции при одновременном обеспечении большого крутящего момента, что позволяет использовать ключ для развинчивания труб и муфт, бывших в эксплуатации длительное время.

[13]

Указанный технический результат достигается за счет того, что в гидравлическом ключе для свинчивания и развинчивания трубных соединительных узлов, содержащем два расположенных один над другим узла для захвата труб, каждый из которых шарнирно соединен с концом соответствующего рычага, и гидроцилиндр, шток которого шарнирно связан с другим концом одного из упомянутых рычагов, а цилиндр которого шарнирно связан с другим концом второго упомянутого рычага, согласно полезной модели, упомянутые рычаги выполнены С-образными, а каждый из узлов для захвата труб выполнен в виде двух челюстей и последовательно шарнирно соединенных и расположенных поочередно друг с другом промежуточных звеньев и дополнительных челюстей, последняя из которых свободным концом шарнирно соединена с концом соответствующего рычага, также шарнирно соединенного с концом одной из двух челюстей, на другом конце которой шарнирно установлена защелка с цилиндрическим стопором, выполненным с возможностью соединения с пазом на другой из двух челюстей, которая своим свободным концом шарнирно связана с концом первого из промежуточных звеньев.

[14]

С-образные рычаги выполнены цельными.

[15]

С-образные рычаги выполнены наборными из стальных листов, связанных болтовыми соединениями.

[16]

Челюсти выполнены в виде наборных пакетов из нескольких слоев листовой стали.

[17]

Челюсти выполнены цельными.

[18]

Выполнение рычагов С-образными позволяет обеспечить оптимальное распределение нагрузки, поэтому их можно выполнить более мощными. Такая форма выполнения рычагов для соединения элементов гидропривода с соответствующими элементами узлом захвата труб позволяет исключить возможность перекосов и деформации штока гидроцилиндра, в результате чего конструкция упрощается, а надежность устройства повышается.

[19]

В зависимости от диаметра охватываемой трубы, муфты или другого элемента трубной колонны, компоновка узла может состоять из разного количества дополнительных челюстей и промежуточных звеньев.

[20]

Проведенные патентные исследования показали, что заявляемое устройство отвечает условию патентоспособности полезной модели «новизна».

[21]

Заявляемый раскрепитель гидравлический соответствует условию патентоспособности «промышленная применимость».

[22]

Сущность заявляемого устройства поясняется чертежами, где на фиг. 1 представлен внешний вид раскрепителя гидравлического, на фиг. 2 – чертежи раскрепителя гидравлического (виды прямо, сбоку, и сверху), на фиг. 3 – узел захвата труб.

[23]

Заявляемый раскрепитель гидравлический содержит два узла для захвата труб 1, 2, два С-образных рычага 3, 4 и гидроцилиндр 5. С-образный рычаг 1 шарнирно связан со штоком гидроцилиндра 5, второй С-образный рычаг 2 шарнирно связан с цилиндром 5.

[24]

Каждый узел захвата труб 1 или 2 включает челюсти 6 и 7 со сменными плашками 8, которые фиксируются при помощи специальных стопорных пластин, защелки 9 с цилиндрическим стопором, дополнительных челюстей 10, промежуточных звеньев 11 и соответствующий С-образный рычаг 3 или 4.

[25]

Все элементы последовательно соединены между собой через оси 12 и 13. Такое соединение обеспечивает необходимую подвижность при работе узла захвата труб и возможность быстрой смены элементов для перенастройки узла под необходимый диаметр колонны.

[26]

Конкретный состав узла захвата труб 1 и 2 (его исполнение) зависит от диаметра колонны, для работы с которой собирается узел. В зависимости от исполнения меняется количество дополнительных челюстей 10, а так же количество и типоразмер промежуточных звеньев 11, что позволяет применять данный узел для широкого диапазона диаметров трубных колонн и их элементов. Но в любом составе каждый ключ замыкается за счет защелки 9, цилиндрический стопор которой помещается в паз крайней челюсти, имеющей для этого специальные пазы и выступы для надежной фиксации защелки стопора 9 .

[27]

Для удобства обхвата трубы и последующей фиксации узла оператором узел снабжен рукоятками 14 и 15. При фиксации узла на колонне посредством этих рукояток стопор защелки 9 заводится в паз соответствующей челюсти 6 или 7.

[28]

Через рычаги 3 и 4 на узлы захвата труб передается усилие от гидравлического привода (от штока или от корпуса цилиндра).

[29]

При работе с колонной труб раскрепитель гидравлический посредством подвесной системы 16 вывешивается на подъемном устройстве таким образом, чтобы его гидроцилиндр 5 находился в горизонтальном положении. Затем каждый из узлов для захвата труб 1, 2 фиксируется на соответствующий из парных элементов трубной колонны, подвергаемых раскреплению или затяжке, в зависимости от производимой на скважине спускоподъемной операции. Узлы захвата труб раскрепителя гидравлического работают на противоходе, усилие создается за счет подачи под давлением рабочей жидкости в гидроцилиндр 5 раскрепителя.

[30]

Описанный раскрепитель гидравлический уже успешно прошел стендовые и опытно-промысловые испытания, в ходе которых применялся на трубах и муфтах диаметрами от 60 до 270 мм. Испытаниями подтверждена возможность применения раскрепителя гидравлического при работах на свинчивание, развинчивние, раскрепление и затяжку соединительных узлов трубных колонн.

[31]

Плашки выполнены из конструкционной легированной стали с химико-термической обработкой или из металлокерамики.

Как компенсировать расходы
на инновационную разработку
Похожие патенты