патент
№ RU 188066
МПК B60T17/06

Узел крепления резервуара воздушного на раме вагона

Авторы:
Власко Андрей Сергеевич Жабко Андрей Викторович Сидоренко Денис Викторович
Все (6)
Номер заявки
2018132494
Дата подачи заявки
12.09.2018
Опубликовано
28.03.2019
Страна
RU
Как управлять
интеллектуальной собственностью
Чертежи 
5
Реферат

Заявляемая полезная модель относится к железнодорожному транспорту и касается конструкции узла крепления резервуара воздушного на раме вагона.Узел крепления резервуара воздушного на раме вагона содержит раму вагона, ложемент, имеющий скругление в месте перехода вертикальной стенки в опорную дугообразную поверхность, крепежные хомуты, представляющие собой прут в виде дуги, концы которого расположены параллельно друг другу, направлены в одну сторону и имеют резьбу, при этом один конец выполнен прямым а другой имеет радиусный перегиб, крепежные элементы и резервуар воздушный. Резервуар воздушный состоит из обечайки, глухого днища, днища с отверстием, подкладных колец, штуцера днища, штуцера обечайки и пробки. Резервуар воздушный закреплен на ложементе снизу рамы вагона штуцером обечайки вниз. Радиус скруглений ложемента в месте перехода вертикальной стенки в опорную поверхность находится в пределах от 12 до 18 мм. Ширина ложемента составляет не более половины наружного диаметра резервуара воздушного. Расстояние между прямым концом крепежного хомута и ложементом составляет не менее четверти наружного диаметра резервуара воздушного, а продольный сварной шов обечайки резервуара воздушного расположен в промежутке между прямым концом крепежного хомута и ложементом таким образом, что угол «а» в поперечном сечении резервуара воздушного между осью штуцера обечайки резервуара воздушного и серединой продольного сварного шва обечайки резервуара воздушного находится в пределах от 115 до 150°.Заявляемая полезная модель позволяет создать конструкцию узла крепления резервуара воздушного на раме вагона, исключающую возможность повреждения и смятия резервуара воздушного при затяжке крепежных элементов. 5 ил.

Формула изобретения

Узел крепления резервуара воздушного на раме вагона, содержащий ложемент, имеющий скругление в месте перехода вертикальной стенки в опорную дугообразную поверхность, крепежные хомуты, закрепленные на раме вагона посредством крепежных элементов, при этом каждый крепежный хомут выполнен из прута в виде дуги с располагающимися параллельно друг другу концами, направленными в одну сторону и имеющими резьбу, также один конец крепежного хомута выполнен прямым, а другой имеет радиусный перегиб, при этом резервуар воздушный закреплен на ложементе снизу рамы вагона таким образом, что штуцер обечайки резервуара воздушного направлен вертикально вниз, отличающийся тем, что радиус скруглений ложемента в месте перехода вертикальной стенки в опорную поверхность выполнен в пределах от 12 до 18 мм, при этом ширина ложемента составляет не более половины наружного диаметра резервуара воздушного, расстояние между прямым концом крепежного хомута и вертикальной стенкой ложемента составляет не менее четверти наружного диаметра резервуара воздушного, а продольный сварной шов обечайки резервуара воздушного расположен в промежутке между прямым концом крепежного хомута и ложементом, вместе с этим, угол в поперечном сечении резервуара воздушного между осью штуцера обечайки резервуара воздушного и серединой продольного сварного шва обечайки резервуара воздушного составляет интервал от 115 до 150°.

Описание

[1]

Заявляемая полезная модель относится к железнодорожному транспорту и касается конструкции узла крепления резервуара воздушного на раме железнодорожного вагона.

[2]

Из уровня техники известна конструкция резервуара воздушного для тормозов вагонов железных дорог (ГОСТ Р 52400-2005), предназначенного для тормозов грузовых и пассажирских вагонов железных дорог колеи 1520 мм. Резервуар состоит из обечайки, глухого днища, днища с отверстием, подкладных колец, штуцера днища, штуцера обечайки и пробки. Требования к данной конструкции позволяют установку штуцера обечайки в любом месте обечайки на расстоянии не менее 100 мм от поперечных или продольных сварных швов.

[3]

Недостатком вышеописанной конструкции является отсутствие требований к расположению продольного сварного шва обечайки резервуара, которые гарантировано исключали бы возможность повреждения и смятия резервуара при монтаже подвижного состава железных дорог, вследствие точечного контакта обечайки резервуара с хомутом либо ложементом при затяжке элементов крепления.

[4]

Также из уровня техники известна конструкция узла крепления запасного резервуара грузового вагона [патент РФ на полезную модель №178864, опубликованная 19.04.2018 г.].

[5]

Узел крепления запасного резервуара грузового вагона, содержит запасной резервуар, кронштейны, жестко закрепленные на хребтовой балке рамы вагона. Рама вагона содержит нижние полки с крайними наружными гранями, а также крепежные хомуты, посредством которых запасной резервуар крепится к кронштейнам. Кронштейны закреплены на нижних полках хребтовой балки таким образом, что запасной резервуар расположен вдоль хребтовой балки под нижними полками хребтовой балки и не выступает за крайние наружные грани нижних полок хребтовой балки.

[6]

Данная конструкция выбрана в качестве прототипа для заявляемой полезной модели.

[7]

Недостатком вышеописанной конструкции является то, что при креплении резервуара воздушного к раме вагона посредством типовых крепежных хомутов Тип I ОСТ 24.153.03-81, представляющий собой прут в виде дуги концы которой расположены параллельно друг другу, направлены в одну сторону и имеют резьбу, при этом один конец выполнен прямым а другой имеет радиусный перегиб, не исключается возможность повреждения и смятия резервуара воздушного вследствие возникновения точечного напряжения в месте контакта сварного шва обечайки резервуара и крепежного хомута либо ложемента при затяжке элементов крепления. Данные повреждения являются браковочным признаком, запрещающим эксплуатацию резервуара воздушного, что приводит в эксплуатации к замене воздушного резервуара и как следствие к дополнительным трудозатратам на ремонт вагона.

[8]

Задачей, на решение которой направлена заявляемая полезная модель, является создание конструкции узла крепления резервуара воздушного на раме вагона, при размещении резервуара снизу рамы, обеспечивающей исключение возможности образования повреждений и смятия резервуара воздушного вследствие возникновения точечного напряжения в месте контакта продольного сварного шва обечайки резервуара воздушного с крепежным хомутом либо ложементом при затяжке элементов крепления, с уменьшением трудозатрат при ремонте тормозной системы в грузовом вагоне за счет отсутствия необходимости замены поврежденного воздушного резервуара.

[9]

Техническим результатом заявляемой полезной модели является повышение надежности конструкции узла крепления резервуара воздушного на раме вагона за счет исключения возможности возникновения точечного напряжения в месте контакта сварного шва обечайки резервуара с кронштейнами крепления либо ложементом.

[10]

Технический результат заявляемой полезной модели достигается за счет того, что в конструкции используется ложемент, шириной не более половины наружного диаметра резервуара воздушного, имеющий скругление в месте перехода вертикальной стенки в опорную поверхность радиусом в пределах от 12 до 18 мм, расстояние между прямой ветвью крепежного хомута и вертикальной стенкой ложемента составляет не менее четверти наружного диаметра резервуара воздушного, а сам резервуар воздушный выполнен таким образом, что при его монтаже снизу рамы вагона штуцером обечайки вниз, продольный сварной шов обечайки находится в промежутке между прямой ветвью крепежного хомута и ложементом, таким образом, что угол в поперечном сечении резервуара воздушного между осью штуцера обечайки и середины сварного шва находится в пределах от 115 до 150°. Данный угол гарантирует исключение контакта продольного сварного шва обечайки с крепежным хомутом и ложементом, так как прямой конец крепежного хомута, за счет его вертикального расположения, начинает соприкасаться с резервуаром воздушным в значении угла относительно оси штуцера, в поперечном сечении резервуара, равном 90°, а пятно контакта ложемента и резервуара воздушного, за счет того, что ложемент равен половине наружного диаметра воздушного резервуара и имеет радиусные скругления, образует угол менее 60°, что в свою очередь обеспечивает размещение сварного шва на угол 150° относительно оси штуцера обечайки резервуара воздушного.

[11]

Сущность заявляемой полезной модели заключается в том, что узел крепления резервуара воздушного на раме вагона, содержащий раму вагона, ложемент, имеющий скругление в месте перехода вертикальной стенки в опорную дугообразную поверхность, крепежные хомуты, закрепленные на раме вагона посредством крепежных элементов, при этом каждый крепежный хомут выполнен из прута в виде дуги, с располагающимися параллельно друг другу концами, направленными в одну сторону и имеющими резьбу, также один конец крепежного хомута выполнен прямым, а другой имеет радиусный перегиб, резервуар воздушный состоящий из обечайки, выполненной из вальцованного плоского листа, кромки которого соединены сварным швом, глухого днища, днища с отверстием, подкладных колец, штуцера днища, штуцера обечайки и пробки, закрепленный на ложементе снизу рамы вагона таким образом, что штуцер обечайки направлен вертикально вниз, при этом радиус скруглений ложемента в месте перехода вертикальной стенки в опорную поверхность выполнен в пределах от 12 до 18 мм, ширина ложемента составляет не более половины наружного диаметра резервуара воздушного, расстояние между прямым концом крепежного хомута и вертикальной стенкой ложемента составляет не менее четверти наружного диаметра резервуара воздушного, а продольный сварной шов обечайки резервуара воздушного расположен в промежутке между прямым концом крепежного хомута и ложементом, вместе с этим, угол в поперечном сечении резервуара воздушного между осью штуцера обечайки резервуара воздушного и серединой продольного сварного шва обечайки резервуара воздушного составляет интервал от 115 до 150°.

[12]

Сущность заявляемой полезной модели поясняется чертежами:

[13]

фиг. 1 - поперечное сечение узла крепления резервуара воздушного на раме вагона;

[14]

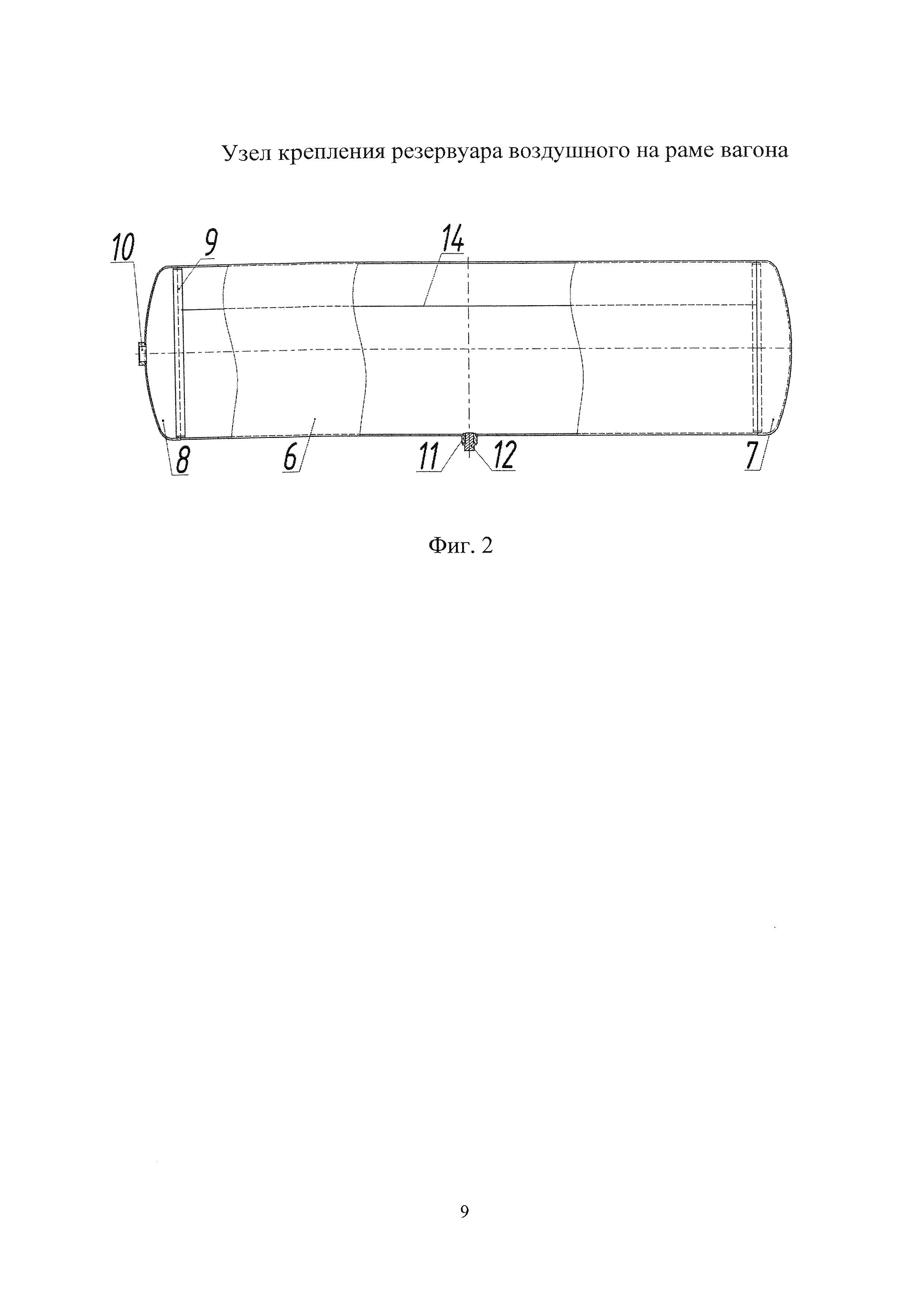
фиг. 2 - резервуар воздушный;

[15]

фиг. 3 - крепежный хомут;

[16]

фиг. 4 - ложемент;

[17]

фиг. 5 - углы контакта резервуара воздушного с крепежным хомутом и ложементом.

[18]

Узел крепления резервуара воздушного на раме вагона содержит раму вагона (1), ложемент (5), крепежные хомуты (2), крепежные элементы (3) и резервуар воздушный (4) состоящий из обечайки (6), глухого днища (7), днища (8) с отверстием, подкладных колец (9), штуцера днища(10), штуцера обечайки (11) и пробки (12), закрепленный снизу рамы вагона (1), на ложементе (5). Ложемент (5) имеет скругление (13) в месте перехода вертикальной стенки в опорную поверхность. Резервуар воздушный (4) размещен таким образом, что штуцер обечайки (11) направлен вертикально вниз. Радиус скруглений (13) ложемента (5) в месте перехода вертикальной стенки в опорную поверхность находится в пределах от 12 до 18 мм, ширина ложемента (5) составляет не более половины наружного диаметра (D) резервуара воздушного, а расстояние между прямым концом крепежного хомута (2) и вертикальной стенкой ложемента (5) составляет не менее четверти наружного диаметра (D) резервуара воздушного (4). Продольный сварной шов (14) обечайки (6) резервуара воздушного (4) расположен в промежутке между прямым концом крепежного хомута (2) и ложементом (5). Угол (а) в поперечном сечении резервуара воздушного (4) между осью штуцера обечайки (11) резервуара воздушного (4) и серединой продольного сварного шва (14) обечайки (6) резервуара воздушного (4) находится в пределах от 115 до 150°

[19]

В настоящее время на заявляемую полезную модель разработана конструкторская документация и проведены всесторонние испытания опытных образцов, начат выпуск установочной партии вагонов.

Как компенсировать расходы
на инновационную разработку
Похожие патенты