Устройство для правки соосно установленных торцешлифовальных кругов двухшпиндельных станков проходного типа содержит корпус, установленный на промежуточной плите, оправку, держатель для крепления правящего инструмента и правящий инструмент. Оправка выполнена П-образной формы и жестко закреплена на корпусе. Держатель выполнен П-образной формы и закреплен в оправке с возможностью перемещения внутри нее посредством регулировочных винтов. Правящий инструмент с установленными в нем закаленными дисками закреплен на внешнем конце держателя. Правящий инструмент имеет возможность перемещения относительно шлифовальных кругов. Между оправкой и держателем установлены упругий элемент и пластина. Пластина может перемещаться внутри оправки посредством фиксирующих винтов. Корпус установлен на промежуточной плите с возможностью поворота на 180° относительно продольной оси корпуса посредством металлического стержня. Металлический стержень закреплен в нижней части корпуса и размещен в отверстии промежуточной плиты. Промежуточная плита неподвижно закреплена на установочной плите конвейера. Торцешлифовальные круги равноудалены от продольной оси корпуса.
Устройство для правки соосно установленных торцешлифовальных кругов на двухшпиндельном станке проходного типа, имеющего конвейер, содержащее держатель для крепления правящего инструмента и правящий инструмент с установленными в нем закаленными дисками, имеющий возможность перемещения относительно торцешлифовальных кругов, установленных с определенным зазором между их торцами, отличающееся тем, что держатель правящего инструмента выполнен П-образной формы и закреплен с возможностью перемещения посредством регулировочных винтов внутри оправки, выполненной П-образной формы и жестко закрепленной на корпусе, установленном на промежуточной плите с возможностью поворота на 180° относительно продольной оси корпуса посредством металлического стержня, размещенного в отверстии промежуточной плиты, при этом между оправкой и держателем установлены упругий элемент и пластина, которая имеет возможность перемещения внутри оправки посредством фиксирующих винтов, а промежуточная плита неподвижно закреплена на установочной плите конвейера станка, причем торцешлифовальные круги равноудалены от продольной оси корпуса.
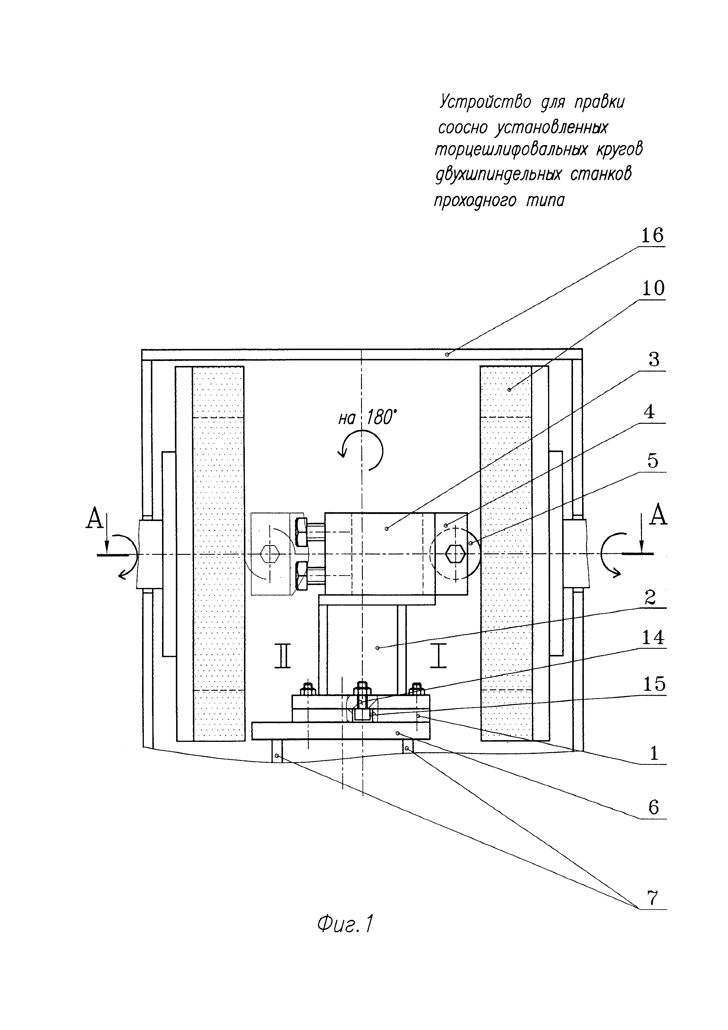
Настоящая полезная модель относится к классу «Шлифование», а именно к устройствам для правки плоских поверхностей абразивных инструментов и может быть использована в автомобильной промышленности для правки торцешлифовальных кругов на двухшпиндельных станках проходного типа при обработке литых заготовок. Наиболее близким к заявляемой полезной модели является устройство для правки соосно установленных торцешлифовальных кругов двухшпиндельных станков, патент №81669 В24В 53/02, содержащее укрепленный на валу рычаг с держателем для крепления правящего инструмента и правящий инструмент, имеющий возможность перемещения относительно шлифовальных кругов, установленных с определенным зазором между их торцами, вал, на котором укреплен рычаг, являющийся цилиндрической частью кронштейна, установленного на защитном кожухе станка и крепление рычага к валу осуществляется через оправку, с обеих сторон которой размещены регулировочные втулки, причем оправка установлена с возможностью вращения на этом валу и имеет цилиндрический выступ с выполненным в нем отверстием, в котором рычаг через закрепленную на нем ось установлен шарнирно, при этом держатель правящего инструмента с правящим инструментом, представляющим собой замкнутый контур прямоугольной формы, внутри которого установлены закаленные диски, размещен на одном конце рычага, а другой конец рычага представляет собой хвостовик, имеющий возможность движения вверх-вниз, вправо-влево и продольная ось рычага равноудалена от торцев шлифовальных кругов. Недостатками данного устройства является: - низкая производительность труда, так как применение данного устройства требует остановки станка проходного типа, демонтаж защитного кожуха и его последующий монтаж после произведенной правки; - трудоемкость и малопроизводительность процесса, так как правка торцешлифовальных кругов производится вручную. Заявляемое техническое решение направлено на увеличение производительности труда, снижение трудоемкости и повышение производительности процесса. Для этого в устройстве для правки соосно установленных торцешлифовальных кругов двухшпиндельных станков проходного типа, содержащем держатель для крепления правящего инструмента и правящий инструмент с установленными в нем закаленными дисками, имеющий возможность перемещения относительно шлифовальных кругов, установленных с определенным зазором между их торцами, держатель выполнен П-образной формы и закреплен в оправке с возможностью перемещения внутри нее посредством регулировочных винтов, при этом оправка выполнена П-образной формы и жестко закреплена на корпусе, установленном на промежуточной плите с возможностью поворота на 180° относительно продольной оси корпуса посредством металлического стержня, размещенного в отверстии промежуточной плиты, между оправкой и держателем установлены упругий элемент и пластина, которая посредством фиксирующих винтов может перемещаться внутри оправки, при этом промежуточная плита неподвижно закреплена на установочной плите конвейера, кроме того, торцешлифовальные круги равноудалены от продольной оси корпуса. На фиг. 1 изображено устройство для правки соосно установленных торцешлифовальных кругов двухшпиндельных станков проходного типа, общий вид; На фиг. 2 - разрез А-А на фиг. 1. Устройство для правки соосно установленных торцешлифовальных кругов двухшпиндельных станков проходного типа содержит установленный на промежуточной плите 1 корпус 2 с жестко закрепленной на нем оправкой 3, держатель 4 П-образной формы для крепления правящего инструмента и правящий инструмент 5. Промежуточная плита 1 неподвижно закреплена на установочной плите 6 конвейера 7. Держатель 4 закреплен в оправке 3 с возможностью перемещения внутри нее посредством регулировочных винтов 8. Оправка 3 выполнена П-образной формы. Закрепленный на внешнем конце держателя 4 правящий инструмент 5 с установленными в нем закаленными дисками 9 имеет возможность перемещения относительно шлифовальных кругов 10, за счет движения держателя 4 внутри оправки 3. Между оправкой 3 и держателем 4 установлены упругий элемент 11 и пластина 12, которая посредством фиксирующих винтов 13 имеет возможность перемещения внутри оправки 3. Наличие упругого элемента 11 позволяет защитить шлифовальные круги 10 от разрушения. Корпус 2 установлен на промежуточной плите 1 с возможностью поворота на 180° относительно продольной оси корпуса 2 посредством металлического стержня 14, выполняющего роль шарнира. Металлический стержень 14 закреплен в нижней части корпуса 2 и размещен в отверстии 15 промежуточной t плиты 1. Поворот корпуса 2 позволяет производить поочередно правку шлифовальных кругов 10 в положениях I и II. Торцешлифовальные круги равноудалены от продольной оси корпуса 2 В зоне работы шлифовальных кругов 10 установлен защитный кожух 16 для обеспечения безопасной работы. Для определения местоположения отверстия 15 промежуточной плиты 1 необходимо выполнить следующие расчеты. Учитывая, что обрабатываемые торцы отливки 17 находятся на расстоянии а и в от оси конвейера, расстояние между торцешлифовальных кругов 10 будет равно а+в, значит, расстояние от продольной оси корпуса до торцешлифовальных кругов 10 будет Устройство для правки соосно установленных торцешлифовальных кругов двухшпиндельных станков проходного типа работает следующим образом. В зависимости от размера обрабатываемых отливок шлифовальные круги 10 устанавливают с определенным зазором между их торцами. Устройство для правки устанавливают на установочную плиту 6 конвейера 7. Правящий инструмент 5, посредством регулировочных винтов 8, подводят к торцу одного из шлифовальных кругов 10 и с помощью фиксирующих винтов 13, перемещая пластину 12, сжимают упругий элемент 11 до размера Н. При этом: Н=h - 3÷5 мм, где Н - ширина упругого элемента 11 после сжатия; h - первоначальная ширина упругого элемента 11. Такой размер позволяет обеспечить необходимую жесткость для качественной правки, а при больших нагрузках, за счет сжатия упругого элемента 11, защитить шлифовальные круги 10 от разрушения. Далее, приводят в движение торцешлифовальные круги 10. Оператор включает движение конвейера 7 станка проходного типа и, при проходе установочной плиты 6 конвейера 7 с установленным на нем устройством для правки, производится правка торцешлифовального круга 10. При необходимости правки второго торцешлифовального круга 10 корпус 2 поворачивают на 180° относительно продольной оси корпуса 2. Правка второго торцешлифовального круга 10 происходит без дополнительной настройки правящего инструмента 5, так же при движении конвейера 7 станка проходного типа. По мере износа закаленных дисков 9 правящего инструмента 5 держатель 4 подают вперед посредством регулировочных винтов 8 и перемещают при этом пластину 12 с помощью фиксирующих винтов 13 до получения необходимой жесткости упругого элемента 11. После правки шлифовальных кругов 10 устройство для правки снимают с установочной плиты 6 конвейера 7 и на нее устанавливают приспособление 18 для отливок 17. При этом защитный кожух 16 остается на месте. Необходимо отметить, что двухшпиндельный станок проходного типа имеет несколько установочных плит для установки обрабатываемых отливок, которые соединены между собой, образуя замкнутый конвейер. При необходимости правки торцешлифовальных кругов снимают только одно приспособление для отливки и на его место устанавливают заявляемое устройство для правки. При этом обработка отливок не прекращается, а шлифовальный круг после нескольких проходов правящего инструмента получает необходимую правку. Использование заявляемого технического решения позволяет увеличить производительность труда, снизить трудоемкость и увеличить производительность процесса за счет того что промежуточная плита устройства неподвижно закреплена на установочной плите конвейера, что позволяет производить правку торцешлифовальных кругов без остановки станка, исключить необходимость демонтажа и монтажа защитного кожуха и исключить использование ручного труда при правке торцешлифовальных кругов. Устройство для правки соосно установленных торцешлифовальных кругов двухшпиндельных станков проходного типа удобно в эксплуатации и обслуживании. Использование заявляемой полезной модели позволяет обеспечить качественную правку соосно установленных торцешлифовальных кругов.
В случаях когда а=в продольная ось конвейера совпадает с продольной осью корпуса.