патент
№ RU 183087
МПК H01H33/42

МЕХАНИЗМ ПРУЖИННОГО ПРИВОДА ДЛЯ ВЫСОКОВОЛЬТНОГО КОММУТАЦИОННОГО АППАРАТА

Авторы:
Полетаев Андрей Николаевич
Номер заявки
2017117536
Дата подачи заявки
19.05.2017
Опубликовано
07.11.2018
Страна
RU
Как управлять
интеллектуальной собственностью
Реферат

Заявленная полезная модель «Механизм пружинного привода для высоковольтного коммутационного аппарата» относится к области электротехники, к механической функциональной части автоматических пружинных приводов (независимого) одностороннего действия для контактных высоковольтных коммутационных аппаратов (ВКА), размещаемых вне ВКА, на его раме (привод выносного типа).Одной из взаимосвязанных технических проблем, решение которой обеспечивается при осуществлении заявленной полезной модели, является обеспечение повышения мощности привода путем увеличения количества пружин в блоках рабочих пружин до их нечетного числа. Повышение мощности привода указанным способом и при указанном условии, являющееся одним из взаимосвязанных заявленных технических результатов, не может быть достигнуто посредством конструкции привода-прототипа по патенту РФ №43682 U1 вследствие невозможности осуществления блока рабочих пружин с нечетным количеством пружин при конструкции верхнего пружинодержателя в составе этого блока, включающей только одно равнонагруженное двуплечее коромысло и натяжные болты, пропущенные через отверстия, которые для обеспечения равнонагруженности коромысла симметрично размещены в нем относительно его середины, и имеющие резьбовое соединение с зацепами верхних концов рабочих пружин - без дополнительного конструктивного элемента в этом пружинодержателе (траверсы верхнего пружинодержателя), отсутствующего, исходя из описания привода-прототипа и правил регистрации полезных моделей, в его конструкции. Отсутствие по указанной причине в верхнем пружинодержателе привода-прототипа указанного дополнительного конструктивного элемента обусловливает возможность осуществления блоков рабочих пружин этого привода только с четным количеством пружин.Другим заявленным техническим результатом, взаимосвязанным с указанным в предыдущем абзаце по инвариантности средств их достижения в заявленной полезной модели, является повышение мощности привода путем увеличения количества пружин в блоках рабочих пружин до их четного числа, который идентичен техническому результату, обеспечиваемому приводом-прототипом, но достигается в заявленной полезной модели посредством конструкции верхнего пружинодержателя, альтернативной конструкции верхнего пружинодержателя привода-прототипа (варианта конструкции верхнего пружинодержателя привода-прототипа при четном числе рабочих пружин в их блоке), то есть путем решения взаимосвязанной проблемы расширения арсенала технических средств определенного назначения.Для достижения вышеуказанных взаимосвязанных заявленных технических результатов - повышения мощности привода путем увеличения количества пружин в блоках рабочих пружин (свыше двух) - заявленная полезная модель отличается от ее прототипа тем, что верхний пружинодержатель каждого блока рабочих пружин ее силового устройства содержит дополнительно по меньшей мере двухопорную траверсу верхнего пружинодержателя с вильчатыми концами, установленную с опорой на зацепы верхних концов по меньшей мере двух боковых рабочих пружин, соединенных с коромыслом верхнего пружинодержателя через натяжные болты, и имеющую зацепление с бобышками этих зацепов путем охвата бобышек ее вильчатыми концами при силовом замыкании этого зацепления под действием реакции рабочих пружин, при этом траверса верхнего пружинодержателя шарнирно соединена с зацепом верхнего конца по меньшей мере одной средней рабочей пружины, а все рабочие пружины шарнирно соединены с нижней траверсой силового устройства через зацепы их нижних концов и нижний пружинодержатель, представляющий собой равнонагруженное двуплечее коромысло.Заявленным техническим результатом является повышение мощности привода не только путем увеличения количества рабочих пружин в их блоке - как при нечетном, так и при четном их числе - посредством применения новой конструкции верхнего пружинодержателя в заявленной полезной модели, но и путем причинно взаимосвязанной с таким увеличением периодической передачи повышенной мощности силового устройства (привода), полученной им от электродвигателя, управляемому ВКА посредством всех (кроме «рабочих пружин») механических функциональных частей, групп и элементов (деталей) механизма привода, охарактеризованных группами признаков в п. 1 заявленной ПМ (в том числе, посредством «силового устройства» - кроме «рабочих пружин») и находящихся в едином конструктивно-функциональном единстве между собой и с «рабочими пружинами» (иначе повышение мощности не имеет смысла), например, признаками «силового механизма включения», «электропривода силового устройства» и «устройства управления включением», обеспечивающих периодический завод рабочих пружин, то есть повторяющуюся передачу повышенной мощности от

Формула изобретения

1. Механизм пружинного привода для высоковольтного коммутационного аппарата, состоящий из плиты несущей с отверстием для пропуска тяги высоковольтного коммутационного аппарата, соединяющей механизм пружинного привода с механизмом привода контактов этого аппарата; из корпуса привода, установленного на плите несущей, который включает две параллельные пластины (щеки), жестко соединенные между собой через распорки и с третьей пластиной, перпендикулярной щекам корпуса привода (основанием корпуса привода), а также отверстие в основании корпуса привода, совпадающее по расположению и назначению с отверстием в плите несущей; из силового механизма включения, включающего трехплечий ведущий рычаг с горизонтальными (горизонтально ориентированными с возможностью отклонения от горизонтальной линии при повороте) противоположными плечами по обе стороны от оси его поворота и с нижним плечом, состоящий из двух параллельных щек, жестко соединенных между собой через распорки, двуплечий ведомый рычаг, состоящий из двух параллельных щек, жестко соединенных между собой перемычками, который расположен между щек ведущего рычага, шарнирно соединен с тягой высоковольтного коммутационного аппарата его длинным плечом и ориентирован с возможностью сцепления его коротким плечом через высшую кинематическую пару с рычагом-сцепителем на горизонтальном плече ведущего рычага в положении сцепления ведущего рычага его противоположным горизонтальным плечом с выходным звеном устройства управления включением (в положении готовности ко включению высоковольтного коммутационного аппарата), а также с возможностью его расцепления с рычагом-сцепителем в положении упора ведущего рычага в приводной элемент поршня демпфера включения (в положении готовности к заводу рабочих пружин), общую ось ведущего и ведомого рычагов, установленную на опорах вращения в щеках корпуса привода и имеющую выходной конец с элементами жесткого соединения снаружи корпуса привода, на которой установлены внутри корпуса привода (между его щек) ведущий рычаг с возможностью его поворота относительно этой оси из положения его сцепления с выходным звеном устройства управления включением в положение его упора в привод поршня демпфера включения и обратно и ведомый рычаг, имеющий жесткое соединение с общей осью в зоне его установки на этой оси между щеками ведущего рычага, с возможностью его поворота на этой оси в положение его сцепления с выходным звеном устройства управления отключением (в положение включения высоковольтного коммутационного аппарата), а также двуплечий рычаг-сцепитель, установленный на горизонтальном плече ведущего рычага, взаимодействующем с коротким плечом ведомого рычага, на оси между ее опор в щеках ведущего рычага с возможностью поворота из положения сцепления с коротким плечом ведомого рычага путем упора в это плечо через высшую кинематическую пару в положение расцепления с этим плечом и обратно под воздействием двух деталей-упоров на корпусе привода и перекидных пружин, зацепленных их концами за ведущий рычаг и плечо рычага-сцепителя, противоположное плечу, которым он входит в зацепление с ведомым рычагом, фиксирующее рычаг-сцепитель в положениях его сцепления и расцепления с ведомым рычагом путем упора этого плеча через двухконсольный стержневой упор (см. поз. 25 на фиг. 2 и фиг. 8Б-Г) в этом плече, соответственно, в верхнюю и нижнюю торцовую часть плеча ведущего рычага, на котором установлен рычаг-сцепитель; из силового устройства, включающего подвижную относительно корпуса привода верхнюю траверсу силового устройства, установленную перпендикулярно щекам корпуса привода и ведущего рычага силового механизма включения в горизонтальном плече этого рычага, противоположном плечу, на котором установлен рычаг-сцепитель этого механизма, и выведенную наружу из корпуса привода по обе его стороны через окна в нем, неподвижную относительно корпуса привода нижнюю траверсу силового устройства, установленную на корпусе привода перпендикулярно его щекам, а также блоки рабочих пружин с равным числом пружин, размещенные равным числом по обе стороны корпуса привода и состоящие из рабочих пружин, соединенных с нижней траверсой силового устройства через зацепы их нижних концов и шарнирно через нижние пружинодержатели, представляющие собой равнонагруженные двуплечие коромысла, и соединенных с верхней траверсой силового устройства через зацепы их верхних концов и верхние пружинодержатели, включающие каждый равнонагруженное двуплечее коромысло, шарнирно соединенное с верхней траверсой силового устройства, и натяжные болты, пропущенные через отверстия, которые симметрично размещены в коромысле относительно его середины, и имеющие резьбовое соединение с зацепами верхних концов рабочих пружин, фиксированное посредством контргаек; из электропривода силового устройства, включающего последовательно соединенные друг с другом через жесткие соединения электродвигатель, зубчатый редуктор, понижающую цепную передачу с ведущей звездочкой на выходном валу редуктора и кулачковый механизм с функцией преобразования вращательного движения плоского кулачка, жестко закрепленного на валу ведомой звездочки цепной передачи между опорами вращения этого вала в щеках корпуса привода, в качательное движение ведущего рычага силового механизма включения путем упора рабочей поверхности кулачка (через высшую кинематическую пару) в нижнее плечо этого рычага при силовом замыкании этого упора под действием рабочих пружин с последующим преобразованием этого качательного движения через верхнюю траверсу силового устройства в поступательное движение верхних пружинодержателей силового устройства в направлении завода рабочих пружин; из гидравлического демпфера включения (демпфера вязкого трения) поршневого типа, установленного между щек корпуса привода с возможностью упора горизонтального плеча ведущего рычага силового механизма включения, противоположного плечу, на котором установлен рычаг-сцепитель этого механизма, через высшую кинематическую пару в приводной элемент поршня демпфера (толкатель в форме ползуна с направляющей в корпусе демпфера, установленный с возможностью передачи и восприятия поступательного движения от поршня демпфера) при размещении поршня демпфера в крайнем нижнем его положении, при этом такой упор имеет место в положении ведущего рычага силового механизма включения, обеспечивающем зацепление начальной границы (линии или точки контакта) рабочей поверхности кулачка в составе электропривода силового устройства с нижним плечом этого рычага, при одновременном нахождении рычага-сцепителя в положении упора его плечом, противоположным плечу, которым он входит в зацепление с ведомым рычагом силового механизма включения, в нижнюю торцовую часть плеча ведущего рычага этого механизма (в положении расцепления рычага-сцепителя силового механизма включения с ведомым рычагом этого механизма); из устройства управления включением с запуском от дистанционно управляемого приводного электромагнита с вертикально перемещаемым внутренним якорем, установленного на корпусе привода, в форме рычажного механизма, входное звено которого представляет собой толкатель в форме ползуна с направляющей в корпусе электромагнита, установленный с возможностью восприятия поступательного движения от якоря и передачи такого движения якорю электромагнита и с упором в любом его положении в длинное плечо среднего звена, выполненного в форме двуплечего рычага, установленного на оси между ее опор в щеках корпуса привода, при силовом замыкании этого упора при отсутствии тягового усилия электромагнита под противоположным действием силы тяжести подвижных частей электромагнита и сил трения между ними и их направляющими, с одной стороны, и возвратной пружины среднего звена, с другой стороны, действующей в направлении возврата этого звена и толкателя электромагнита в их исходное положение готовности к заводу рабочих пружин, определяемое положением вдвинутого в электромагнит до упора толкателя, а выходное звено в форме двуплечего рычага, установленного на оси между ее опор в щеках корпуса привода и подпружиненного посредством возвратной пружины в направлении его исходного положения готовности к заводу рабочих пружин, определяемого стопором, установленным в корпусе привода, установлено с возможностью его фиксированного сцепления в его исходном положении с ведущим рычагом силового механизма включения через подпружиненную защелку на горизонтальном плече этого рычага, противоположном плечу, на котором установлен рычаг-сцепитель, и через удерживающую ось на одном из плеч выходного звена, взаимодействующую с защелкой, при силовом замыкании этого сцепления под действием заведенных рабочих пружин и фиксации этого сцепления посредством удерживающего упора через высшую кинематическую пару торцом короткого плеча среднего звена в исходном положении этого звена в плечо выходного звена, отличное от плеча с удерживающей осью, а также с возможностью его расцепления с ведущим рычагом силового механизма включения в положении поворота выходного звена против направления действия его возвратной пружины под действием на него через этот рычаг и подпружиненную защелку этого рычага заведенных рабочих пружин при снятом удерживающем упоре короткого плеча среднего звена в положении поворота этого звена из его исходного положения против направления действия его возвратной пружины под действием толкателя электромагнита; из кинематических элементов управления электродвигателем и подготовкой к включению устройства управления включением; из устройства управления отключением с запуском по меньшей мере от двух дистанционно управляемых приводных электромагнитов с горизонтально перемещаемыми внутренними якорями, действующих независимо друг от друга и установленных посредством кронштейна на корпусе привода, в форме рычажного механизма, входное звено которого представляет собой толкатели в форме ползуна с направляющими в корпусах электромагнитов, установленные с возможностью восприятия поступательного движения от якорей и передачи такого движения якорям электромагнитов и упора в плечо второго (считая от входного) звена в форме двуплечего рычага, установленного на оси с опорой в кронштейне, посредством общей промежуточной планки, закрепленной на этом плече второго звена, при силовом замыкании этого упора при отсутствии тягового усилия электромагнита под противоположным действием сил трения между подвижными частями электромагнита и их направляющими и возвратной пружины второго звена, действующей в направлении возврата этого звена и толкателей электромагнитов в их исходное положение готовности ко включению высоковольтного коммутационного аппарата, определяемое стопором, установленным на кронштейне, при этом другое плечо второго звена в исходном положении этого звена ориентировано с возможностью его фиксированного сцепления посредством плоскостной поступательной пары в форме защелки с длинным плечом третьего (считая от входного) звена в форме двуплечего рычага, установленного на оси между ее опор в щеках корпуса привода, в положении упора третьего звена торцом его короткого плеча через высшую кинематическую пару в плечо выходного звена, отличное от плеча с удерживающей осью, при силовом замыкании этого упора под действием возвратной пружины третьего звена и отключающей пружины высоковольтного коммутационного аппарата, действующей через тягу этого аппарата, ведомый рычаг силового механизма включения и выходное звено в положении их сцепления, а выходное звено в форме двуплечего рычага, установленного на оси между ее опор в щеках корпуса привода и подпружиненного в направлении его исходного положения готовности ко включению высоковольтного коммутационного аппарата, определяемого стопором, установленным в корпусе привода, установлено с возможностью его фиксированного сцепления в его исходном положении с ведомым рычагом силового механизма включения через подпружиненную защелку на длинном плече этого рычага и через удерживающую ось на плече выходного звена, взаимодействующую с этой защелкой, при силовом замыкании этого сцепления под действием отключающей пружины высоковольтного коммутационного аппарата и фиксации этого сцепления посредством удерживающего упора торцом короткого плеча третьего звена в плечо выходного звена, отличное от плеча с удерживающей осью, в положении фиксированного сцепления второго и третьего звеньев; из гидравлического демпфера отключения (демпфера вязкого трения) поршневого типа, установленного на оси, установленной по меньшей мере в одной опоре в корпусе привода, с возможностью неполного поворота (качательного движения); из привода демпфера отключения в форме рычажного механизма, входное звено которого представляют собой элементы жесткого соединения общей оси ведущего и ведомого рычагов силового механизма включения с ведомым рычагом этого механизма внутри корпуса привода, выходное звено - приводной элемент поршня демпфера отключения (толкатель в форме ползуна с направляющей в корпусе демпфера, установленный с возможностью передачи поступательного движения поршню демпфера), а среднее звено механизма привода демпфера отключения выполнено в форме рычажного узла - коромысла в функции силовой передачи с люфтом, включающего одноплечий ведущий рычаг со свободным концом, жестко соединенный противоположным концом посредством отверстия в его ступице на этом конце (опорной поверхности с элементами жесткого соединения) с выходным концом общей оси ведущего и ведомого рычагов силового механизма включения снаружи корпуса привода, а также одноплечий ведомый рычаг в форме вмещающего ведущий рычаг с его ступицей разъемного кожуха, установленный одним его концом посредством отверстий с гладкой опорной поверхностью в этом конце на ступице ведущего рычага с возможностью поворота относительно этой ступицы на некоторый угол, определяемый регулируемым промежутком между ограничителями свободного хода (стопорами) ведущего рычага внутри кожуха ведомого рычага, а другим его концом образующий вращательную пару с внешним концом приводного элемента поршня демпфера отключения, отличающийся тем, что верхний пружинодержатель каждого блока рабочих пружин силового устройства содержит дополнительно по меньшей мере двухопорную траверсу верхнего пружинодержателя с вильчатыми концами (см. фиг. 10А, 10Б, 12А и 12Б), установленную с опорой на зацепы верхних концов по меньшей мере двух боковых рабочих пружин, соединенных с коромыслом верхнего пружинодержателя через натяжные болты, и имеющую зацепление с бобышками этих зацепов путем охвата бобышек ее вильчатыми концами при силовом замыкании этого зацепления под действием реакции рабочих пружин, при этом траверса верхнего пружинодержателя шарнирно соединена с зацепом верхнего конца по меньшей мере одной средней рабочей пружины, а все рабочие пружины шарнирно соединены с нижней траверсой силового устройства через зацепы их нижних концов и нижний пружинодержатель, представляющий собой равнонагруженное двуплечее коромысло.

2. Механизм пружинного привода для высоковольтного коммутационного аппарата по п. 1, отличающийся тем, что сцепление рычага-сцепителя в составе силового механизма включения с коротким плечом ведомого рычага этого механизма выполнено через ролик, установленный на этом плече на оси между ее опор в щеках ведомого рычага.

3. Механизм пружинного привода для высоковольтного коммутационного аппарата по п. 1 или 2, отличающийся тем, что упор рабочей поверхности кулачка в составе электропривода силового устройства в нижнее плечо ведущего рычага силового механизма включения выполнен через ролик, установленный на этом плече на оси между ее опор в щеках ведущего рычага.

4. Механизм пружинного привода для высоковольтного коммутационного аппарата по п. 1, или 2, или 3, отличающийся тем, что упор горизонтального плеча ведущего рычага силового механизма включения в приводной элемент поршня демпфера включения выполнен через ролик, установленный на этом плече на оси между ее опор в щеках ведущего рычага.

5. Механизм пружинного привода для высоковольтного коммутационного аппарата по п. 1, или 2, или 3, или 4, отличающийся тем, что удерживающий упор торцом короткого плеча среднего звена устройства управления включением в исходном положении этого звена в плечо выходного звена, отличное от плеча с удерживающей осью, выполнен через ролик, установленный на этом плече выходного звена на оси.

6. Механизм пружинного привода для высоковольтного коммутационного аппарата по п. 1, или 2, или 3, или 4, или 5, отличающийся тем, что удерживающий упор торцом короткого плеча третьего звена устройства управления отключением в плечо выходного звена, отличное от плеча с удерживающей осью, в положении фиксированного сцепления второго и третьего звеньев выполнен через ролик, установленный на этом плече выходного звена на оси.

7. Механизм пружинного привода для высоковольтного коммутационного аппарата по п. 1, или 2, или 3, или 4, или 5, или 6, отличающийся тем, что детали-упоры для обеспечения поворота рычага-сцепителя силового механизма включения из положения его сцепления с коротким плечом ведомого рычага (путем упора в это плечо через высшую кинематическую пару) в положение расцепления с этим плечом и обратно установлены на корпусе привода.

8. Механизм пружинного привода для высоковольтного коммутационного аппарата по п. 1, или 2, или 3, или 4, или 5, или 6, или 7, отличающийся тем, что перекидных пружин рычага-сцепителя в составе силового механизма включения две.

9. Механизм пружинного привода для высоковольтного коммутационного аппарата по п. 1, или 2, или 3, или 4, или 5, или 6, или 7, или 8, отличающийся тем, что верхняя и нижняя траверсы силового устройства выполнены в форме стержня прямолинейной, коленчатой или изогнутой формы с поперечным сечением любой формы.

10. Механизм пружинного привода для высоковольтного коммутационного аппарата по п. 1, или 2, или 3, или 4, или 5, или 6, или 7, или 8, или 9, отличающийся тем, что приводной элемент поршня демпфера включения выполнен в форме штока, шток-поршня или плунжера.

11. Механизм пружинного привода для высоковольтного коммутационного аппарата по п. 1, или 2, или 3, или 4, или 5, или 6, или 7, или 8, или 9, или 10, отличающийся тем, что приводной элемент поршня демпфера отключения выполнен в форме штока, шток-поршня или плунжера.

12. Механизм пружинного привода для высоковольтного коммутационного аппарата по п. 1, или 2, или 3, или 4, или 5, или 6, или 7, или 8, или 9, или 10, или 11, отличающийся тем, что толкатель в форме ползуна с направляющей в корпусе электромагнита, установленный с возможностью восприятия поступательного движения от якоря и передачи такого движения якорю электромагнита, в составе устройства управления включением выполнен заодно с якорем электромагнита (неразъемным).

13. Механизм пружинного привода для высоковольтного коммутационного аппарата по п. 1, или 2, или 3, или 4, или 5, или 6, или 7, или 8, или 9, или 10, или 11, или 12, отличающийся тем, что приводной электромагнит устройства управления включением установлен на корпусе привода посредством кронштейна.

14. Механизм пружинного привода для высоковольтного коммутационного аппарата по п. 1, или 2, или 3, или 4, или 5, или 6, или 7, или 8, или 9, или 10, или 11, или 12, отличающийся тем, что приводной электромагнит устройства управления включением установлен на корпусе привода непосредственно.

15. Механизм пружинного привода для высоковольтного коммутационного аппарата по п. 1, или 2, или 3, или 4, или 5, или 6, или 7, или 8, или 9, или 10, или 11, или 12, или 13, или 14, отличающийся тем, что демпфер отключения установлен жестко, с возможностью неполного поворота (качательного движения) на оси, установленной по меньшей мере в одной опоре вращения в корпусе привода.

16. Механизм пружинного привода для высоковольтного коммутационного аппарата по п. 1, или 2, или 3, или 4, или 5, или 6, или 7, или 8, или 9, или 10, или 11, или 12, или 13, или 14, отличающийся тем, что демпфер отключения установлен на опоре вращения на оси, жестко закрепленной в корпусе привода по меньшей мере в одной опоре, с возможностью неполного поворота (качательного движения) относительно этой оси.

17. Механизм пружинного привода для высоковольтного коммутационного аппарата по п. 1, или 2, или 3, или 4, или 5, или 6, или 7, или 8, или 9, или 10, или 11, или 12, или 13, или 14, отличающийся тем, что демпфер отключения установлен на опоре вращения на оси, установленной по меньшей мере в одной опоре вращения в корпусе привода, с возможностью неполного поворота (качательного движения).

18. Механизм пружинного привода для высоковольтного коммутационного аппарата по п. 1, или 2, или 3, или 4, или 5, или 6, или 7, или 8, или 9, или 10, или 11, или 12, или 13, или 14, или 15, или 16, или 17, отличающийся тем, что шарнирное соединение тяги высоковольтного коммутационного аппарата с длинным плечом ведомого рычага силового механизма включения выполнено в форме цилиндрического шарнира, образованного проушиной, жестко соединенной с тягой высоковольтного коммутационного аппарата, и осью с опорами вращения, установленными в щеках ведомого рычага силового механизма включения.

19. Механизм пружинного привода для высоковольтного коммутационного аппарата по п. 1, или 2, или 3, или 4, или 5, или 6, или 7, или 8, или 9, или 10, или 11, или 12, или 13, или 14, или 15, или 16, или 17, отличающийся тем, что шарнирное соединение тяги высоковольтного коммутационного аппарата с длинным плечом ведомого рычага силового механизма включения выполнено в форме плоскостной вращательно-поступательной пары, образованной серьгой, жестко соединенной с тягой высоковольтного коммутационного аппарата, и осью с опорами вращения, установленными в щеках ведомого рычага силового механизма включения.

Описание

[1]

Заявленная полезная модель относится к области электротехники, к механической функциональной части автоматических пружинных приводов (независимого) одностороннего действия1 (1 Автоматические приводы осуществляют оперативное включение и отключение ВКА дистанционно (от реле); отключение может осуществляться и вручную.

[2]

Пружинные приводы ВКА относятся к приводам независимого (косвенного) действия, у которых энергия, необходимая для оперирования ВКА, предварительно запасается (непосредственно перед началом операции или заранее) в данном случае в пружинах, а потом уже передается приводу и расходуется им на совершение той или иной операции - в отличие от приводов зависимого (прямого) действия (ручные и электромагнитные, а также некоторые типы электродвигательных приводов), у которых энергия для оперирования ВКА сообщается приводу только в процессе оперирования.

[3]

Приводы одностороннего действия осуществляют либо только включение ВКА, либо только его отключение.) для контактных высоковольтных коммутационных аппаратов (далее - «ВКА»), в частности для высоковольтных выключателей (далее - «выключатель»), размещаемых вне ВКА, на его раме (привод выносного типа). По характеру условий эксплуатации заявленная полезная модель относится к механизмам приводов ВКА как наружной, так и внутренней установки2 (2 Конструкция привода ВКА внутренней установки - такая же, как и привода наружной установки. Только в последнем случае собственно привод (если он выносной, а не встроенный в ВКА) устанавливается внутри электротехнического шкафа, защищающего привод от непосредственного атмосферного воздействия (влаги, низкой температуры). В шкафу устанавливаются клеммы электрических цепей управления и силовых цепей питания электродвигателя, сигнальные лампы, а в случае надобности и подогревательное устройство.)

[4]

Известен внешний (выносного типа) пружинный привод одностороннего действия типа ППК-2300 для высоковольтного выключателя (см. В.В. Афанасьев, Э.Н. Якунин «Приводы к выключателям и разъединителям высокого напряжения» - Л.: Энергоатомиздат. Ленингр. отделение, 1982, с. 210-214). Этот привод (далее - «привод-аналог») предназначен только для включения выключателя (привод одностороннего действия) за счет энергии предварительно заведенных3 (3 «Заводом пружины» называется ее растяжение, сжатие или закручивание (в зависимости от типа пружины), при котором пружина запасает определенное количество потенциальной механической энергии (в данном случае для пружин привода-аналога - растяжение, а для пружин выключателя - сжатие.) пружин силового устройства привода-аналога, а также для удержания выключателя во включенном положении и расцепления удерживающего устройства (запирающего механизма) привода-аналога при отключении выключателя. Отключение выключателя (расцепление его контактов), то есть перемещение его подвижных частей и удержание их в отключенном положении осуществляется энергией отключающих пружин, расположенных в механизме самого выключателя и заводимых при его включении.

[5]

На рис. 8-4 на с. 211 вышеуказанного источника дана упрощенная принципиальная (кинематическая) схема привода-аналога (см. фиг. 1, идентичную указанному рисунку 8-4, далее - «схема привода-аналога»4). (4 На фиг. 1 приведены все позиции конструктивных элементов как они приведены на рисунке 8-4 к описанию привода-аналога в указанном источнике - без удаления позиций, не используемых в данном описании и с добавлением позиций, необходимых для характеристики привода-аналога. Это не противоречит Требованиям к описанию полезной модели в части этих требований к описанию аналогов полезной модели в разделе «Уровень техники» описания заявленной полезной модели.) Согласно схеме привода-аналога в соотнесении с ее текстовым описанием (далее - «описание привода-аналога»), конструкция привода-аналога имеет следующие элементы и функциональные части: «силовое устройство» (далее также - «блоки рабочих пружин» и «рабочие пружины»), «механизм завода рабочих пружин», «операционный механизм», включающий: «силовой механизм включения», «масляный буфер» (см. ниже), устройство управления включением выключателя (кинематическая цепь, приводимая в действие электромагнитом с соответствующей электрической схемой управления, далее - «устройство управления включением»), устройство управления отключением выключателя (также кинематическая цепь с электромагнитом и электросхемой управления, далее - «устройство управления отключением»).

[6]

Согласно теории приводов ВКА и описанию привода-аналога (см. вышеуказанный источник на с. 7-8, 210-214), операционный механизм привода-аналога включает также кинематические (механические) элементы управления контактами реле (блок-контактами), коммутирующими вспомогательные электроцепи управления (и сигнализации), в том числе коммутирующими электроцепи управления коммутационными элементами (магнитными пускателями или другими) силовой электроцепи питания электродвигателя в составе механизма завода рабочих пружин (далее, соответственно, - «кинематические элементы управления», «контакты КВЦ» и «электроцепи управления»). Однако кинематические элементы управления и схема указанных электроцепей привода в описании и в схеме привода-аналога явным образом не раскрыты.

[7]

Силовое устройство (блок рабочих пружин) - аккумулятор (накопитель периодического действия) потенциальной механической энергии (рабочих пружин) привода-аналога, получаемой путем предварительного преобразования электрической энергии через механизм завода рабочих пружин и передаваемой в процессе включения выключателю через силовой механизм включения. Согласно описанию привода-аналога, «концы рабочих пружин» (которых, согласно схеме привода-аналога, - две) «заделаны в траверсы», то есть, очевидно, жестко закреплены (через зацепы) в концах плеч равномерно нагруженных пластинчатых двуплечих рычагов-коромысел 31 и 33 треугольной формы (далее - «верхний» и «нижний» «пружинодержатели», см. фиг. 1). Опоры вращения (точки подвеса) пружинодержателей (очевидно, что оси цилиндрических вращательных пар) 32 и 34 перпендикулярны плоскости ведущего рычага 6 (см. ниже) Один из пружинодержателей - верхний 31 (подвижной относительно корпуса привода - см. ниже абзац последний на с. 7 и абзац 1 на с. 8) «шарнирно соединяется с ведущим рычагом 6» силового механизма включения (через ось 32), а другой пружинодержатель 33 (нижний) через ось 34 шарнирно соединен «с натяжным устройством 30» (натяжным болтом), очевидно, что закрепленным на корпусе привода-аналога при помощи двух гаек - основной и стопорной (контргайки).

[8]

Механизм завода рабочих пружин, размещенный ниже силового механизма включения (далее - «механизм завода рабочих пружин»), согласно описанию и схеме привода-аналога (см. фиг. 1), состоит из «электродвигателя» 35, «зубчатого редуктора 2», «цепной передачи 28», «кулачка 27» и «ведущего рычага 6» с «роликом 4» на его нижнем (по рисунку), самом коротком плече, а также с закрепленной в ведущем рычаге 6 перпендикулярно ему осью 325 (5 Собственно, ось 32 как соединительный элемент можно отнести и к силовому устройству привода.) (опорой вращения верхнего пружинодержателя 31) и с подпружиненной защелкой 9, фиксирующей состояние рабочих пружин, зацепленных за ведущий рычаг 6 через ось 32 и верхний пружинодержатель 31, во взведенном положении (см. фиг. 1 - обозначенное сплошной линией отключенное положение привода-аналога при заведенных рабочих пружинах). Оси вала «электродвигателя 35» и выходного вала редуктора 2 (ведущей звездочки цепной передачи 28) скрещиваются под прямым углом, из чего можно заключить, что «зубчатый редуктор 2» - это двухступенчатый (судя по схеме на фиг. 1) коническо-цилиндрический или червячно-цилиндрический редуктор. Он имеет на нижней ступени два выходных конца - для соединения с валом электродвигателя 35 (в форме мотор-редуктора) и для рукоятки 1 ручного завода рабочих пружин.

[9]

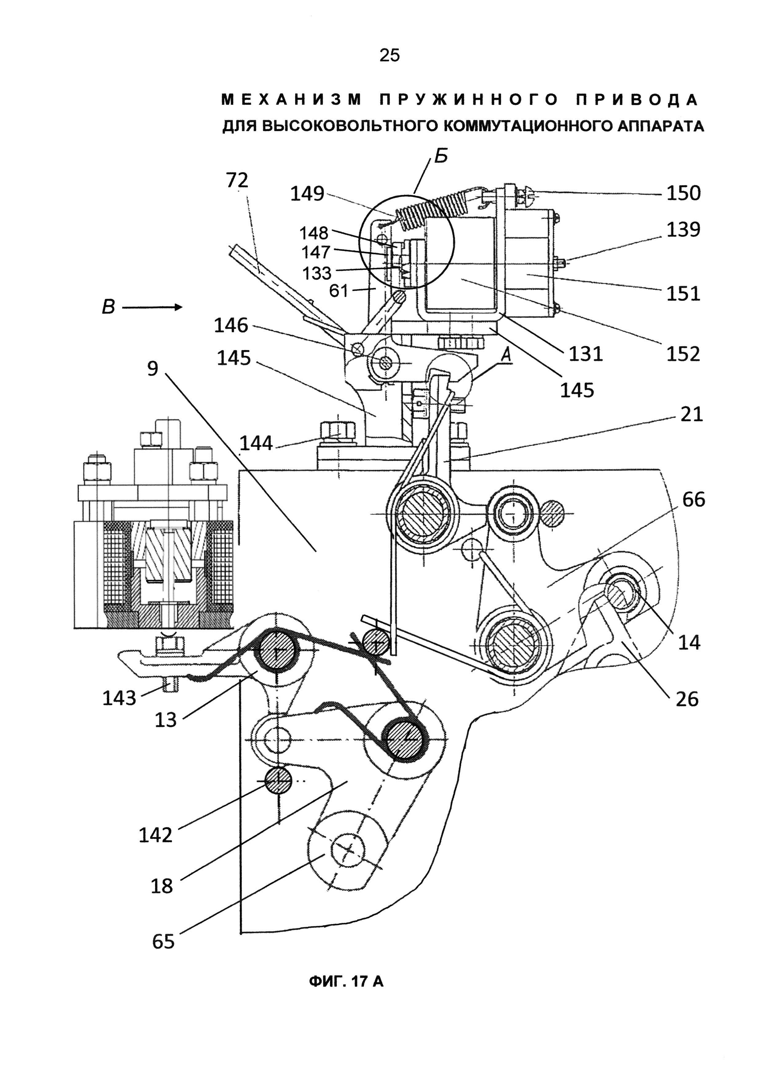
Взаимодействие механических элементов и устройств механизма завода рабочих пружин охарактеризовано ниже (см. с абзаца первого по абзац третий на с. 5)

[10]

Функция силового механизма включения привода-аналога - передача усилия от рабочих пружин (силового устройства) в ходе операции включения механизму выключателя.

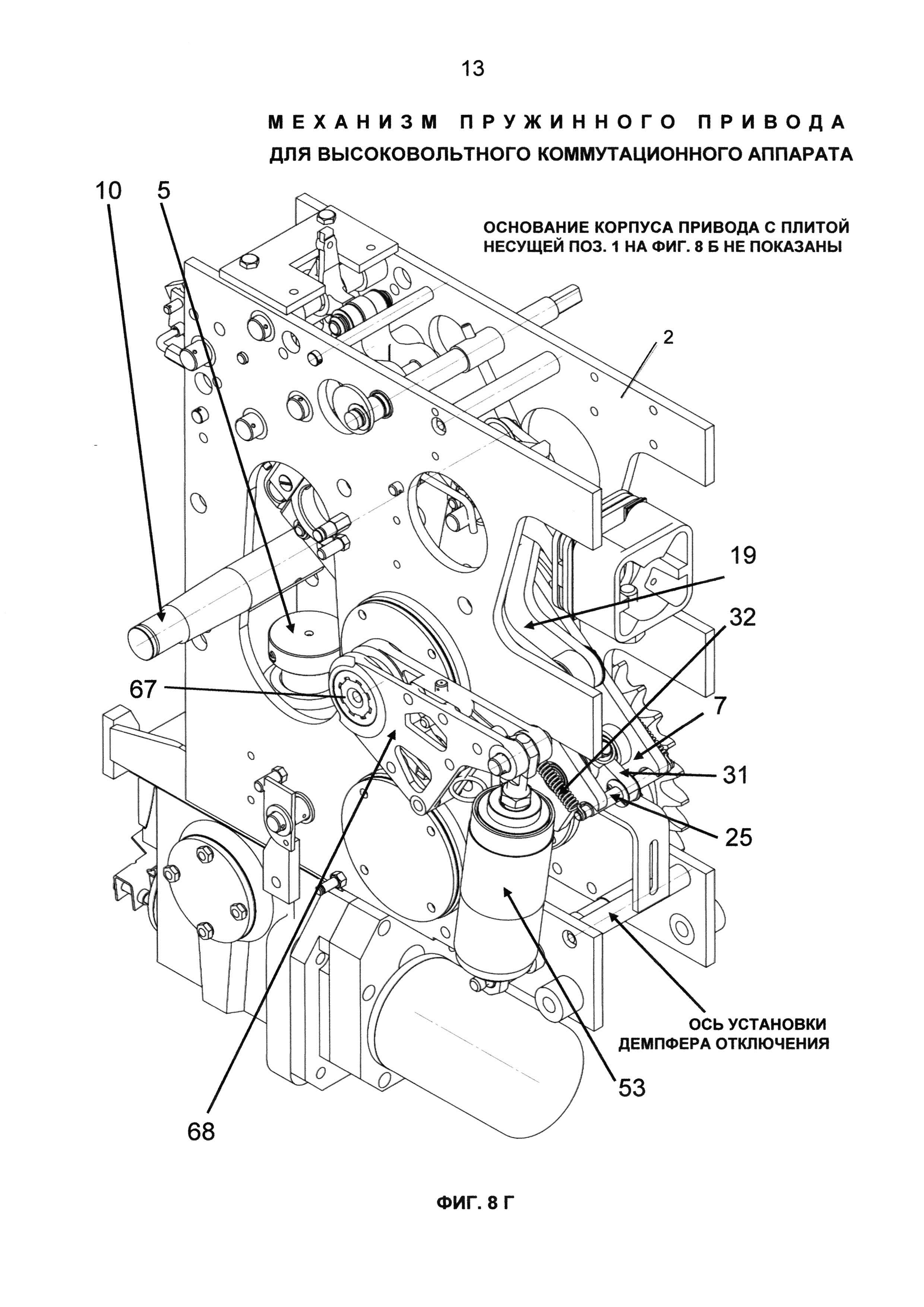
[11]

Силовой механизм включения6 (6 Его называют еще «передаточным механизмом» (в составе операционного механизма привода) привода-аналога (см. фиг. 1) состоит: из «ведущего рычага 6», «сцепляющего рычага 24», «ведомого рычага 19», «оси 5», на которой «свободно насажены», т.е. установлены с возможностью свободного вращения относительно оси 5 ведущий 6 и ведомый 19 рычаги (цилиндрические вращательные пары) и из «тяги 18» ВКА, шарнирно соединенной с ведомым рычагом 19. Конструкция силового механизма включения привода-аналога следующая.

[12]

Ведущий рычаг 6 относится как к механизму включения, так и к механизму завода рабочих пружин. Ведущий рычаг 6 (см. фиг. 1) - трехплечий, установлен на оси 5 с возможностью свободного вращения относительно нее («свободно насажен на ось 5»).

[13]

На самом коротком, нижнем (по рисунку - см. фиг. 1) плече ведущего рычага 6 установлен «ролик 4», взаимодействующий с «кулачком 27» механизма завода рабочих пружин, а на левом (по рисунку) его плече перпендикулярно ведущему рычагу 6 (и корпусу привода-аналога) установлена ось 32, на которой посредством цилиндрической вращательной пары с осью 32 установлен верхний пружинодержатель 31 (равномерно нагруженный пластинчатый двуплечий рычаг-коромысло треугольной формы) с зацепленными за него рабочими пружинами.

[14]

На левом же (по рисунку - см. фиг. 1) плече ведущего рычага 6 установлены на осях «ролик 7», взаимодействующий со штоком «масляного буфера» (гасящего кинетическую энергию и механические колебания силового механизма включения и выключателя - в конце операции включения, далее - «демпфер включения»7), (7 В описании привода-аналога (с. 212 вышеуказанного источника) это устройство именуется «буфером». По мнению заявителя, это - неправильное название, правильно: «демпфер», «амортизатор». «Буфер» - устройство, устанавливаемое на различных видах транспорта, служащее для гашения (амортизации) продольных ударных и сжимающих усилий (смягчения силы удара) при столкновении: «буфер железнодорожный», «бампер» - буфер автомобильный. В силу различных областей применения указанных терминов, а также поскольку техническая функция указанного конструктивного элемента (устройства), поименованного «буфером» - не только амортизация (смягчение ударов, уравновешивание сжимающих усилий и т.п.), но и демпфирование (гашение) механических колебаний (в машинах и механизмах), это устройство правильно будет называть «демпфером».) и «подпружиненная защелка 9» - для фиксации ведущего рычага 6 с зацепленными за него рабочими пружинами 29 в положении, соответствующем взведенному состоянию рабочих пружин, посредством зацепления подпружиненной защелки 9 с выходным элементом кинематической цепи («роликом 8») устройства управления включением.

[15]

На правом (по рисунку - см. фиг. 1) плече ведущего рычага 6 установлен с возможностью поворота на «оси 23» «сцепляющий рычаг 24», который имеет два устойчивых положения, принудительно создаваемых «перекидной пружиной 22» (скорее всего, в схеме привода-аналога этих пружин - две). Последняя прижимает «цилиндрический штифт-упор 25», выступающий с обеих сторон сцепляющего рычага 248 (8 Очевидно, что при указанной конструкции сцепляющего рычага 24 и штифта-упора 25 ведущий рычаг 6 представляет собой конструкцию, состоящую из двух параллельных щек, соединенных через несколько распорок друг с другом, например, посредством сварки. Между щек ведущего рычага 6 и размещен на оси 23 сцепляющий рычаг 24), поочередно к верхней или нижней части торца правого (по рисунку) плеча ведущего рычага 6.

[16]

Силовой механизм включения привода-аналога имеет два устойчивых положения: исходное рабочее положение - до и после включения выключателя (соответствует моменту остановки электродвигателя 35 после завершения завода рабочих пружин, см. обозначенное сплошной линией на фиг. 1) и положение к моменту завершения включения выключателя - до начала завода рабочих пружин (см. обозначенное штрих-пунктирной линией на фиг. 1).

[17]

В устойчивом положении, изображенном на фиг. 1 сплошной линией (рис. 8-4 на с. 211 вышеуказанного источника), подпружиненная защелка 9, закрепленная посредством оси на левом (по рисунку) плече ведущего рычага 6, фиксирует последний через кинематическую цепь устройства управления включением (см. ниже) в положении, соответствующем взведенному состоянию рабочих пружин, а штифт-упор 25 сцепляющего рычага 24 прижат к верхней части торца правого плеча ведущего рычага 6, повернутого по часовой (по рисунку) стрелке в крайнее, исходное рабочее положение. «Хвост» сцепляющего рычага 24 при этом упирается в «ролик 21», закрепленный посредством оси на правом (по рисунку), коротком плече «ведомого рычага 19»9 (9 Из места установки ролика 21 следует, что конструкция ведомого рычага 19 также состоит из двух щек, жестко скрепленных между собой распорками и размещенных на оси 5 между щеками ведущего рычага 6.), повернутого в том же направлении в крайнее положение, соответствующее отключенному выключателю. Ведомый рычаг 19, судя по схеме привода-аналога, установлен на оси 5 с возможностью свободного поворота относительно нее (без ), а посредством проушины (цилиндрической вращательной пары) соединен с «тягой 18» выключателя, перемещающей подвижные контактные части выключателя.

[18]

В другом устойчивом положении (до начала завода рабочих пружин), изображенном на фиг. 1 штрих-пунктирной линией (в момент завершения включения выключателя), когда ведущий рычаг 6 повернут против часовой (по рисунку) стрелки до упора в демпфер включения 3, а ведомый рычаг 19 под воздействием на него ведущего рычага 6 через сцепляющий рычаг 24 и ролик 21 повернут в том же направлении в крайнее положение (положение включения выключателя), «подпружиненная защелка 17», закрепленная посредством оси на левом (по рисунку) плече ведомого рычага 19, фиксирует последний через зацепление с выходным звеном кинематической цепи («роликом 16») устройства управления отключением (см. ниже) в положении включения выключателя, уравновешивая силовое воздействие сжатых пружин последнего (движение в сторону отключения), передаваемое ведомому рычагу 19 через тягу 18 выключателя и вышеуказанную проушину (цилиндрический шарнир). Тем самым выключатель удерживается во включенном положении.

[19]

При переходе силового механизма включения привода-аналога из первого из вышеуказанных положений (исходного рабочего положения ведущего рычага 6) во второе (положение включенного выключателя) нижний конец сцепляющего рычага 24 (штифт-упор 25) вследствие поворота этого рычага по часовой (по рисунку) стрелке (в ходе поворота ведущего рычага 6 против часовой стрелки) переходит под воздействием неподвижного упора 20, размещенного на пути перемещения рычага 24, а также под воздействием перекидных пружин 22 из положения упора в верхнюю часть торца правого плеча ведущего рычага 6 в положение упора в нижнюю часть этого торца. При этом хвост сцепляющего рычага 24 (верхний конец этого рычага) выходит из зацепления с роликом 21 ведомого рычага 19 и, следовательно, - с самим рычагом 19. Расцепление сцепляющего рычага 24 и, следовательно, ведущего рычага 6 и ведомого рычага 19 происходит в положении, когда подпружиненная защелка 17 на ведомом рычаге 19 входит в зацепление с роликом 16 (рычага 15) - выходным звеном кинематической цепи устройства управления отключением.

[20]

Согласно описанию привода-аналога, подготовка к заводу пружин (для последующего включения) начинается уже в начале операции включения выключателя. Для этого переключаются «специальные контакты КВЦ» (контакты реле в электроцепи управления коммутационными элементами силовой электроцепи питания электродвигателя 35, см. фиг. 1), на зажимы электродвигателя 35 подается напряжение и «он включается». При этом, однако, исходя из описания работы механизма завода рабочих пружин привода-аналога (см. вышеуказанный источник на с. 212-213), следует заключить, что размеры, профиль и (жесткое) положение на вале 36 кулачка 27 механизма завода рабочих пружин (см. фиг. 1), а также момент включения электродвигателя 35, определяемый законом движения ведущего рычага 6, рассчитаны таким образом, что к моменту, когда рабочая поверхность кулачка 27 в ходе его вращения (передаваемого ему от электродвигателя 35 через редуктор 2, цепную передачу 28 и вал 36) упирается в «ролик 4» ведущего рычага 6 и начинает поворачивать последний по часовой (по рисунку) стрелке, перемещая его левое (по рисунку) плечо вверх, и тем самым взводить рабочие пружины, ведущий рычаг 6 своим роликом 7 уже опирается «на шток» (в крышку плунжера) «масляного буфера включения 3» (находится в положении завершения включения выключателя и расцепления с ведомым рычагом 19 вследствие нахождения сцепляющего рычага 24 в положении упора его нижним концом (штифтом-упором 25) в нижнюю часть торца правого плеча ведущего рычага 6 - см. на фиг. 1 обозначенное штрих-пунктирной линией).

[21]

С другой стороны, согласно описанию привода-аналога (см. с. 213 вышеуказанного источника), в процессе завода рабочих пружин 29 сцепляющий рычаг 24 удерживается перекидными пружинами 22 в положении упора своим нижним концом (штифтом-упором 25) в нижнюю часть торца правого плеча ведущего рычага 6 (в положении расцепления ведущего 6 и ведомого 19 рычагов) и не препятствует вращению ведомого рычага 19 вокруг оси 5, и, следовательно, не препятствует отключению выключателя. Лишь в самом конце операции завода рабочих пружин («при некотором недоходе ведущего рычага 6 до конечного положения»), когда подпружиненная защелка 9 ведущего рычага 6 уже «заскочила» за удерживающий ее ролик 8, а кулачок 27 еще поворачивает в направлении завода рабочих пружин ведущий рычаг 6 по часовой (по рисунку) стрелке, пока не выйдет с ним из зацепления (через ролик 4) и не займет исходного положения, при котором электродвигатель отключается от сети, а подпружиненная защелка 9 входит в зацепление с роликом 8, упор 26 возврата рычага-сцепителя 24 и перекидные пружины 22 переводят этот рычаг в исходное (рабочее) положение, повернув рычаг-сцепитель 24 против часовой (по рисунку) стрелки до упора его нижним концом (штифтом-упором 25) в верхнюю часть торца правого плеча ведущего рычага 6, т.е. подводят хвост рычага-сцепителя 24 под ролик 21 ведомого рычага 19, приводя в зацепление ведущий рычаг 6 и ведомый рычаг 19, что также не препятствует отключению выключателя.

[22]

Таким образом, операция завода рабочих пружин привода-аналога после включения выключателя не препятствует операции отключения последнего, которое может потребоваться в любой момент.

[23]

Устройство управления включением (см. фиг. 1) установлено в верхней части механизма привода-аналога, в крайнем левом (по рисунку) положении. Его назначение - фиксация ведущего рычага 6 в положении, соответствующем взведенному состоянию рабочих пружин 29, и освобождение этого рычага для выполнения операции включения выключателя.

[24]

Устройство управления включением (см. фиг. 1) состоит из включающего электромагнита (далее - «электромагнит ЭВ») и кинематической цепи, включающей толкатель с приводом от якоря электромагнита ЭВ, «защелку 11» и «рычаг 10» (далее - «промежуточный рычаг 10»).

[25]

Электромагнит ЭВ установлен вертикально на кронштейне корпуса привода-аналога (его якорь движется вертикально). Электромагнит ЭВ управляется соответствующей электроцепью управления с контактами КВЦ («цепь включения с контактами КВЦВ»).

[26]

«Защелка 11» (см. фиг. 1) - это подпружиненный двуплечий рычаг, установленный на его опорной оси 37 в корпусе привода-аналога (см. ниже). Этот рычаг взаимодействует его длинным плечом с толкателем электромагнита ЭВ и его коротким плечом («упором») находится в исходном рабочем положении привода-аналога (до начала операции включения или по завершении операции завода рабочих пружин) в зацеплении с левым (по рисунку) плечом промежуточного рычага 10 (через ролик 38, закрепленный на этом плече). Защелка 11 блокирует в исходном рабочем положении привода-аналога поворот промежуточного рычага 10, с «удерживающей осью» которого («роликом 8», закрепленным на правом (по рисунку) плече промежуточного рычага 10) входит в зацепление подпружиненная защелка 9 ведущего рычага 6, вследствие чего промежуточный рычаг 10 препятствует повороту ведущего рычага 6 в направлении разрядки рабочих пружин (в направлении включения выключателя, т.е. против часовой - по рисунку - стрелки). Защелка 11 подпружинена в направлении ее исходного рабочего положения - запирания промежуточного рычага 10 (в направлении ее принудительного поворота по часовой (по рисунку) стрелке). Судя по схеме привода-аналога, в кронштейне электромагнита ЭВ имеется регулировочный винт для регулировки хода (положения) длинного плеча защелки 11.

[27]

Промежуточный рычаг 10 (см. фиг. 1) - также подпружиненный двуплечий рычаг. Он также установлен на его опорной оси 39 в корпусе привода-аналога и подпружинен в направлении его исходного рабочего положения - зацепления через ролик 8 и подпружиненную защелку 9 с ведущим рычагом 6 (в направлении его принудительного поворота против часовой (по рисунку) стрелки).

[28]

Взаимодействие ведущего рычага 6 (как звена силового механизма включения), с одной стороны, и кинематической цепи устройства управления включением, с другой стороны, в ходе оперативного (дистанционного) включения выключателя следующее (см. фиг. 1): при срабатывании электромагнита ЭВ (после подачи на него "командного импульса») его толкатель поворачивает защелку 11 против часовой (по рисунку) стрелки, короткое плечо которой («упор») выходит из зацепления с роликом 38 на левом (по рисунку) плече промежуточного рычага 10. Последний, будучи освобожденным, поворачивается по часовой (по рисунку) стрелке под воздействием на него момента, передаваемого через подпружиненную защелку 9 и ролик 8 от ведущего рычага 6, приводимого взведенными рабочими пружинами 29. При повороте промежуточного рычага 10 подпружиненная защелка 9 соскакивает с «ролика 8» (удерживающей оси) на правом (по рисунку) плече промежуточного рычага 10 и ведущий рычаг 6 под действием рабочих пружин 29 начинает поворачиваться вокруг его оси 5 против часовой (по рисунку) стрелки (в направлении включения выключателя). В конце операции включения контакты КВЦВ (см. выше - абзац второй на с. 2 и абзац второй на данной странице) размыкают электроцепь управления электромагнитом ЭВ («цепь включения с контактами КВЦВ»), после чего толкатель электромагнита втягивается, а защелка 11 и рычаг 10 под действием своих пружин возвращаются в их исходное рабочее положение.

[29]

Устройство управления отключением (его называют еще «запирающим механизмом») установлено также в верхней части механизма привода-аналога, правее (по рисунку) устройства управления включением. В приводе-аналоге оно аналогично по конструкции устройству управления включением. Назначение устройства управления отключением - фиксация ведомого рычага 19 силового механизма включения в положении включения выключателя (см. обозначенное штрих-пунктирной линией на фиг. 1) и отключение выключателя, находящегося в состоянии включения.

[30]

Устройство управления отключением (см. фиг. 1) состоит из отключающего электромагнита (далее - «электромагнит ЭО») и кинематической цепи, включающей толкатель с приводом от якоря электромагнита ЭО, «защелку 14» и «рычаг 15» (далее - «промежуточный рычаг 15»), а также рукоятку 12 ручного отключения выключателя (двуплечий, очевидно подпружиненный рычаг), служащую параллельным входным звеном кинематической цепи «запирающего механизма» (далее - «рукоятка 12»).

[31]

Электромагнит ЭО установлен горизонтально на кронштейне корпуса привода-аналога (его якорь движется горизонтально). Электромагнит ЭО управляется соответствующей электроцепью управления с контактами КВЦ («цепь отключения с контактами КВЦО»).

[32]

Защелка 14 и «промежуточный» рычаг 15 аналогичны по конструкции защелке 11 и промежуточному рычагу 10 устройства управления включением (см. фиг. 1). Это - двуплечие подпружиненные (в направлении своего исходного положения) рычаги, установленные на их опорных осях, соответственно, 40 и 41 в корпусе привода-аналога (см. ниже) и взаимодействующие друг с другом через ролик рычага 15 и «упор» (короткое плечо) защелки 14 в середине кинематической цепи устройства управления отключением и с толкателем электромагнита ЭО (или с коротким плечом рукоятки 12) и с подпружиненной защелкой 17 ведомого рычага 19 силового механизма включения, соответственно, на входе и выходе этой кинематической цепи.

[33]

Взаимодействие ведомого рычага 19 силового механизма включения, с одной стороны, и кинематической цепи устройства управления отключением, с другой стороны, следующее (см. фиг. 1): после подачи командного импульса на электромагнит отключения ЭО (или поворота рукоятки 12 против часовой - по рисунку - стрелки) толкатель электромагнита ЭО (или рукоятка 12) поворачивает защелку 14 по часовой стрелке и освобождает промежуточный рычаг 15. Последний под действием момента, создаваемого отключающими пружинами выключателя через тягу 18, проушину (шарнирное соединение тяги 18 и рычага 19), ведомый рычаг 19 и его подпружиненную защелку 17, поворачивается против часовой стрелки вокруг своей оси 41, освобождая подпружиненную защелку 17, вследствие чего ведомый рычаг 19 силового механизма включения под действием тех же сил поворачивается по часовой стрелке, возвращаясь в свое первоначальное положение готовности ко включению выключателя. В начале поворота ведомого рычага 19 контакты КВЦО (см. выше - абзац второй на с.2 и абзац 4 на данной странице), соединенные с ним механически, размыкают цепь питания электромагнита ЭО («цепь отключения с контактами КВЦО»), толкатель электромагнита втягивается, вследствие чего защелка 14 и промежуточный рычаг 15 возвращаются в их исходное рабочее положение под действием их собственных пружин возврата (положение готовности привода-аналога к последующим операциям включения и отключения).

[34]

Очевидно, что кроме указанных на схеме привода-аналога (см. фиг. 1) и в тексте его описания функциональных частей конструкция привода-аналога содержит:

[35]

- корпус механизма привода-аналога - конструктивный элемент привода-аналога, на котором крепятся все остальные функциональные части механизма привода (далее - «корпус привода»);

[36]

- электротехнический шкаф привода-аналога - служит для защиты его конструктивных элементов от солнечной радиации и атмосферных воздействий (в случае исполнения привода-аналога «для наружной установки» - см. выше сноску 2 на с. 1, далее - «шкаф привода»).

[37]

Таким образом, конструкция привода-аналога состоит, с одной стороны, из «шкафа привода», а с другой стороны, из собственно механизма привода, включающего «корпус привода», «силовое устройство» («блоки рабочих пружин»), «механизм завода рабочих пружин» и «операционный механизм», состоящий, в свою очередь, из «силового механизма включения», «демпфера включения» («масляного буфера 3»), кинематических цепей «устройства управления включением» и «устройства управления отключением», а также из кинематических (механических) элементов управления контактами реле (блок-контактами) во вспомогательных электрических цепях управления и сигнализации низкого напряжения (далее, в том числе в формуле заявленной полезной модели, соответственно, - «кинематические элементы управления», «блок-контакты электроцепей управления» и «электроцепи управления»), включая электроцепи управления коммутационными элементами (магнитными пускателями или другими) силовой электрической цепи питания электродвигателя в составе механизма завода рабочих пружин.

[38]

Указанные электрические цепи (далее - «силовая цепь питания электродвигателя» и «электроцепи управления») также относятся к конструкции привода-аналога в целом, но не к объекту патентования по данной заявке - механической функциональной части привода.

[39]

К недостаткам технического решения привода-аналога относятся:

[40]

1. низкая потенциальная энергия (силового устройства) привода вследствие использования в приводе двухпружинного блока рабочих пружин, причем только одного. В зависимости от того, на выключатель какой мощности устанавливается привод, может потребоваться больше рабочих пружин (в их блоке) и/или больше (чем в приводе-аналоге) блоков рабочих пружин в силовом устройстве привода - для обеспечения возможности операции включения (преодоления сил сопротивления отключающих пружин ВКА)10 (10 Привод-аналог обеспечивает включение выключателя, момент на валу, которого не превышает 2300 Н⋅м). При этом под «возможностью (операции) включения» понимается также возможность многократного (повторного) включения ВКА;

[41]

2. относительная длительность операции включения, а также общего времени подготовки привода к последующей операции включения (времени, включающего, помимо времени включения, также время операции завода рабочих пружин)11 (11 Общее время подготовки привода-аналога к последующей операции включения - около 20 секунд.) - вследствие применения силового устройства низкой мощности;

[42]

3. невозможность обеспечения равномерного натяжения (предварительного «натяга) рабочих пружин (витых пружин растяжения) в блоках рабочих пружин для обеспечения максимальной мощности силового устройства привода - с одной стороны, из-за различий реальных рабочих параметров12 (12 Вследствие таких трудно учитываемых факторов, как, например, как незначительное нарушение технологии изготовления и термообработки отдельных пружин, наличие трудноразличимых при производственном контроле местных дефектов в материале отдельных пружин, незначительное различие в сопряжении отдельных рабочих пружин и их опорных деталей (зацепов), влекущее различие линейных размеров (общей габаритной длины) рабочих пружин и т.п.) рабочих пружин, а, с другой стороны, из-за их спаренного завеса (соединения) через их зацепы, нижний пружинодержатель-коромысло 33 и цилиндрический шарнир 34 с единственным натяжным болтом 30 (см. фиг. 1);

[43]

4. относительная длительность операции отключения управляемого ВКА;

[44]

5. неудобство монтажа и демонтажа блоков рабочих пружин в шкафу привода из-за нижнего расположения натяжного устройства (натяжного болта);

[45]

6. отсутствие в приводе блокировочных устройств, обеспечивающих безопасность эксплуатации привода в аварийных режимах (низкая надежность привода);

[46]

7. отсутствие в приводе демпфера для гашения кинетической энергии и механических колебаний подвижных частей привода (ведомого рычага 19) и тяги 18 выключателя в конце хода контактов выключателя в направлении отключения, вследствие чего возможна поломка упора возврата 26, рычага-сцепителя 24 ведущего рычага 6, (упорного) ролика 21 ведомого рычага 19 или штифта-упора 25 либо перекидных пружин 22 рычага-сцепителя 24 (см. фиг. 1) и как результат аварийное состояние привода (низкая надежность привода);

[47]

8. отсутствие в приводе устройства сигнализации о положении контактов управляемого ВКА (точнее, о положении ведомого рычага 19 силового механизма включения привода и связанной с ним тяги 18 привода ВКА, см. фиг. 1), что затрудняет диспетчеризацию управляемого объекта (ВКА) и подключенной к нему сети потребителя и затрудняет обслуживание ВКА и сети.

[48]

От указанных недостатков в значительной степени свободна конструкция пружинного привода для ВКА (в частности, для высоковольтных выключателей) по патенту РФ на полезную модель №43682 U1, принимаемая за прототип по данной заявке (далее - «привод-прототип»). В соответствии с описанием к этому патенту (далее, соответственно, - «описание привода-прототипа» и «патент на привод-прототип»), многоцелевой задачей, на решение которой направлена указанная полезная модель, является преодоление недостатков привода-аналога, указанных выше в пунктах 1-8, путем создания на основе конструкции привода-аналога такого пружинного привода ВКА, который отличается от привода-аналога:

[49]

1.1. «несколько увеличенной потенциальной энергией» (его силового устройства), обеспечивающей полное включение управляемого ВКА - за счет наличия в его конструкции нескольких блоков рабочих пружин и большего количества рабочих пружин в их блоке;

[50]

2.1. «быстродействием» операции включения и сокращением общего времени подготовки привода к последующему включению - вследствие применения в механизме привода силового устройства ббльшей мощности (см. выше п.п. 1.1.);

[51]

3.1. возможностью обеспечения равномерного натяжения (предварительного «натяга») рабочих пружин для обеспечения максимальной мощности силового устройства привода - за счет измененной конструкции натяжного устройства (см. ниже);

[52]

4.1. повышенной скоростью операции отключения ВКА - вследствие применения в приводе-прототипе модифицированной конструкции устройства управления отключением, «принципиально отличной» от конструкции устройства управления включением этого привода;

[53]

5.1. удобством монтажа/демонтажа блоков рабочих пружин на механизме привода - за счет верхнего расположения натяжного устройства (а также наличия донного люка у шкафа привода);

[54]

6.1.-7.1. повышенной надежностью привода вследствие включения в его конструкцию блокировочных устройств и демпфера отключения (именуемого в описании привода-прототипа «буфером отключения»), входящего в функциональную конструктивную часть (кинематическую цепь), выполняющую (помимо гашения кинетической энергии и механических колебаний подвижных частей привода и выключателя) функцию ограничителя угла поворота (в обе стороны) ведомого рычага 19 (или ход тяги 69 выключателя - см. на фиг. 2);

[55]

8.1. наличием возможности контроля положения контактов (диспетчеризации) управляемого ВКА вследствие включения в конструкцию привода двух блоков сигнальных контактов с «новым приводным механизмом» этих контактов.

[56]

Конструкция привода-прототипа (см. фиг. 2, соответствующую фиг. 1 в приложениях к патенту на привод-прототип, далее - «схема привода-прототипа»13) (13 На фиг. 2 приведены все позиции конструктивных элементов как они приведены на Фиг. 1 в приложении к патенту на привод-прототип - без удаления позиций, не используемых в данном описании и с добавлением позиций, необходимых для характеристики привода-прототипа. Это не противоречит действующим Требованиям к описанию полезной модели в части этих требований к описанию аналогов полезной модели в разделе «Уровень техники» указанного описания.) аналогична конструкции привода-аналога и включает следующие конструктивные признаки, отсутствующие в конструкции привода-аналога (новые), развивающие отдельные признаки этой конструкции (аналогичные признакам этой конструкции) или идентичные ее признакам:

[57]

- «плита 44 несущая» - элемент собственно механизма привода-прототипа, соединяющий его со шкафом привода и с рамой управляемого ВКА (далее, в том числе в формуле заявленной полезной модели - «плита несущая»). На плиту несущую крепится корпус (механизма) привода-прототипа, а также некоторые другие конструктивные элементы: блоки клеммных зажимов для электроцепей привода, панель автоматического управления устройством электрообогрева шкафа привода и сигнализации об опасном снижении температуры в шкафу, болты заземления. В верхней части плиты несущей имеется отверстие для пропуска тяги, соединяющей механизмы привода-прототипа и выключателя. Признак «плита несущая» отсутствует в приводе-аналоге (точнее, отсутствует в описании привода-аналога и в его схеме) и является новым в приводе-прототипе:

[58]

- «корпус 9 механизма» - корпус привода-прототипа, его основа (далее, в том числе в формуле заявленной полезной модели - «корпус привода»). На корпусе привода крепятся все остальные конструктивные части механизма привода-прототипа. Корпус привода представляет собой две параллельные пластины («щеки»), соединенные посредством сварки между собой (через распорки) и с третьей пластиной (основанием), перпендикулярной щекам (далее - «основание корпуса»). Судя по схеме привода-прототипа (см. фиг. 2), к основанию корпуса привода, в верхней его части приварена бобышка 63 со сквозным окном, через которое проходит тяга 69 выключателя (поз. 18 на фиг. 1). Указанная конструктивная специфика развивает (конкретизирует) признак «корпус привода», лишь предполагаемый как необходимый конструктивный элемент исходя из описания привода-аналога и номинативно обозначенный14 (14 То есть обозначенный посредством общего понятия о предмете через один из его признаков, который в силу исторического развития значений стал на данном этапе основным для всего понятия.) выше как «основа» механизма привода;

[59]

- «механизм завода пружин» идентичен механизму завода рабочих пружин привода-аналога и включает, согласно описанию привода-прототипа (см. фиг. 2): «электродвигатель 45», «червячный редуктор 2» и «цепную передачу 1» (приводную цепь с двумя звездочками), а также установленные с возможностью зацепления друг с другом в ходе операции завода рабочих пружин «кулак 40» (далее - «кулачок 40») на «вале 39» и «ведущий рычаг 7» с упорным «роликом 35» и «подпружиненным зубом 8» (подпружиненной защелкой на его левом, самом длинном плече) (далее в тесте описания - «механизм завода рабочих пружин», если не указано иное).

[60]

Кинематическая цепь в составе механизма завода рабочих пружин привода-прототипа, включающая плоский кулачок 40, жестко закрепленный на валу 39 непосредственно под ведущим рычагом 7 силового механизма включения (в одной плоскости с этим рычагом) между опорами вала 39 в щеках корпуса привода 9 и установленный с возможностью зацепления (вхождения в зацепление) с ведущим рычагом 7 (через «ролик 35», установленный между щек ведущего рычага 7 на нижнем плече этого рычага) в ходе операции завода рабочих пружин, представляет собой силовую передачу с функцией преобразования вращательного движения вала ведомой звездочки 41 цепной передачи 1 в поступательное движение верхних концов рабочих пружин 46 в направлении их завода, поскольку блоки рабочих пружин зацеплены их верхними концами через «верхнюю траверсу» 10 и верхние пружинодержатели с рычагом 7 (в формуле заявленной полезной модели - «кулачковый механизм с функцией преобразования вращательного движения»).

[61]

Ведущий рычаг 7 (см. фиг. 2) относится как к механизму завода рабочих пружин, так и к силовому механизму включения (см. ниже - «механизм силовой включения»).

[62]

Место размещения «цепной передачи» 1 и предшествующей ей и кинематически связанной с ней функциональной части «электродвигатель 45 - червячный редуктор 2» (мотор-редуктор, судя по чертежу на фиг. 4, соответствующему чертежу привода-прототипа на фиг. 2 в приложении к патенту на привод-прототип, далее - «чертеж привода-прототипа»15 (15 На фиг. 4, как и на фиг. 2, приведены все позиции конструктивных элементов как они приведены на Фиг. 2 в приложении к патенту на привод-прототип - без удаления позиций, не используемых в данном описании и с добавлением позиций, необходимых для характеристики привода-прототипа (см. сноску 13 на с. 10)) в описании привода-прототипа не конкретизировано. Судя по указанному чертежу (на фиг. 4), место размещения цепной передачи, скорее всего, - снаружи корпуса привода, на внешней стороне его левой щеки (если смотреть в направлении от рукоятки 3 к плите несущей 44 - как указано жирной стрелкой на фиг. 2), поскольку с правой стороны от корпуса привода цепная передача на указанном чертеже не видна, а место размещения функциональной части «электродвигатель 45 - червячный редуктор 2» (мотор-редуктора), согласно тому же чертежу - под корпусом привода.

[63]

Редуктор 2 в составе механизма завода рабочих пружин привода-прототипа, согласно описанию последнего, - одноступенчатый, «червячный» (при ведущем червяке), в основе конструкции которого - гиперболоидная (винтовая) зубчатая силовая передача второго рода («червячная передача»), представляющая собой механизм для передачи вращения между валами со скрещивающимися осями посредством шестерни с винтовыми зубьями - «червяка» и сопряженного с ним «червячного колеса». Поверхности зубьев червячного колеса контактируют с витками червяка по линии, что повышает несущую (нагрузочную) способность этой передачи. Такая силовая передача является «понижающей» (при ведущем червяке), которая от ее входного (ведущего) «червячного» вала к выходному (ведомому) валу (с «червячным колесом») уменьшает частоту вращения (угловую скорость) входного вала и увеличивает передаваемый крутящий момент, обладает высоким силовым передаточным отношением (до 300)16 (16 «Силовое передаточное отношение» - отношение, в частности, вращающего момента на выходном вале к моменту на входном вале. Момент на выходном (ведомом) вале определяется по формуле:

[64]

Мвых=(ωвхвых)×η×Мвх,

[65]

где Мвых и Мвых - моменты на выходном и входном валах; ωвх и ωвых - угловые скорости на входном и выходном валов; η - коэффициент полезного действия передачи.), но имеет сравнительно низкий коэффициент полезного действия (η=0,5÷0,85), что снижает эффективность передачи крутящего момента посредством такой передачи.

[66]

Червячный (входной) вал редуктора 2 в составе механизма завода рабочих пружин привода-прототипа имеет два выходных конца: один - для соединения с валом электродвигателя 45, другой - для установки «ручки 3 ручного завода» рабочих пружин (далее - «рукоятка ручного завода рабочих пружин»). Судя по схеме на Фиг. 2. выходной конец вала электродвигателя 45 входит во втулку полого выходного конца червячного вала редуктора 2 и соединяется с ним (очевидно, посредством шлицевого или радиально-штифтового соединения) так, что вместе оба вала образуют телескопический вал (составной вал, части которого подвижны в осевом направлении и через который передается только крутящий момент). Выходной вал червячного колеса редуктора 2 имеет один выходной конец - на нем крепится ведущая звездочка цепной передачи 1. Цепная передача 1 является также понижающей (см. предыдущий абзац) и включает в себя «ведущую звездочку», «ведомую звездочку 41» и соединяющую звездочки приводную («втулочно-роликовую») цепь. Ведомая звездочка 41 жестко соединена с «валом 39».

[67]

Кинематическое взаимодействие конструктивных элементов и устройств в механизме завода рабочих пружин привода-прототипа и привода-аналога идентично (см. выше абзацы 1-3 на с. 5).

[68]

Кроме того, механизм завода рабочих пружин (в Формуле заявленной полезной модели - «электропривод силового устройства»), согласно описанию привода-прототипа, также «снабжен указателем 11 состояния пружин» (рабочих пружин 46 - см. фиг. 2 и 4), приводимым в действие осью 10 («верхней траверсой» - опорой вращения (точкой «завеса») верхнего пружинодержателя, идентичной по этой опорной функции оси 32 на схеме привода-аналога, см. фиг. 1). Ось 10, за которую (через зацепы и верхний пружинодержатель) зацеплены («завешаны») рабочие пружины, перпендикулярна щекам корпуса привода и ведущего рычага 7 (размещенного между щек корпуса - см. ниже), и «жестко соединена» с ведущим рычагом 7. Рычаг-указатель 11 состояния рабочих пружин (далее - «указатель 11 состояния рабочих пружин»), установленный, судя по вышеуказанному чертежу привода-прототипа (фиг. 4), на внешней стороне правой (по рисунку) щеки корпуса привода на эксцентриковой оси его кулачковой части, подпружиненный в направлении поворота против часовой (по рисунку) в его исходное (нижнее) положение, определяемое стопором, установленным там же, и входящий в зацепление с осью 10 (выведенной наружу из корпуса привода через окна в его щеках, далее - «верхняя траверса 10»), при перемещении левого плеча ведущего рычага 7 вместе с верхней траверсой 10 вниз/вверх (при повороте рычага 7, соответственно, против/по часовой стрелке) воздействует его кулачковой частью на толкатель блок-контакта SQ3-SA6-SH4 и тем самым, соответственно, включает/выключает электродвигатель 45 механизма завода рабочих пружин через размыкающие контакты SQ3, взаимодействуя в управлении электродвигателем 45 с «устройством автоматического отключения электродвигателя» (см. следующий абзац).

[69]

В конструкции механизма привода-прототипа, согласно описанию последнего (см. с. 6-7 описания к патенту на привод-прототип), имеется также группа кинематических элементов управления блок-контактами электроцепей управления (конструктивная функциональная часть), поименованная «устройством автоматического отключения электродвигателя по завершении подготовки привода к включению». Это «устройство» (см. фиг. 2) включает:

[70]

- «палец 48», (жестко) закрепленный на «кулачке 40» механизма завода рабочих пружин;

[71]

- «подпружиненный собственной пружиной рычаг 50», установленный внутри корпуса привода на «валике» 64 с возможностью поворота «только на определенный угол» (с фиксированным люфтом) относительно этого валика17 (17 С возможностью поворота рычага 50 из его исходного положения (как указано на фиг. 2) против часовой - по рисунку - стрелки относительно валика 64. Указанный люфт рычага 50 предусмотрен для обеспечения возможности неоперативного (вручную) включения ВКА, при котором кулачок 40 (см. фиг. 2) поворачивают сначала против часовой (по рисунку) стрелки (вращением рукоятки 3 на червячном валу редуктора 2) до полного завода рабочих пружин и сцепления ведомого 7 и ведущего 19 рычагов, но оставляя прижатым ролик 35 к поверхности кулачка 40, а затем, расцепив вручную ведомый рычаг 7 с устройством управления включением (воздействием на «собачку 13» последнего), поворачивают кулачок 40 по часовой стрелке до нажима задней частью кулачка 40 (поверхностью а-b - см. фиг. 2) на ролик 35 ведущего рычага 7 с целью поворота последнего до исходного (перед заводом рабочих пружин) положения (при уравновешивании сил рабочих пружин привода и ВКА), для чего необходимо при указанном обратном повороте завести палец 48 выше рычага 50, находящегося в его исходном положении (см. фиг. 2) под воздействием его пружины возврата.). Валик 64 выведен из корпуса привода наружу через его правую щеку и установлен в этой щеке посредством опоры вращения;

[72]

- «жестко сидящий» на валике 64 снаружи корпуса привода, с внешней стороны его правой щеки кулачок 4 с собственной возвратной пружиной, возвращающей валик 64 «в исходное положение после снятия воздействия на рычаг 50 пальца 48»;

[73]

- взаимодействующий с кулачком 4 блок-контакт SQ2-SA5-SH2 с размыкающими контактами SQ2.

[74]

Взаимодействие указанной функциональной части (включающей «верхнюю траверсу 10» с «указателем 11 состояния рабочих пружин») и «автоматического устройства отключения электродвигателя по завершении подготовки привода к включению» следующее:

[75]

- электродвигатель 45 включается в начале процесса включения управляемого ВКА, когда верхняя траверса 10 на левом (по рисунку - см. фиг. 3А) плече ведущего рычага 7 опустится настолько, что блок-контакт SQ3-SA6-SH4, управляемый кулачковой частью указателя 11 состояния рабочих пружин, переключится в исходное положение (контакты SQ3 этого блок-контакта при этом замкнутся, обеспечивая подачу напряжения на катушку магнитного пускателя в силовой цепи питания электродвигателя и, следовательно, на обмотки электродвигателя);

[76]

- вращение ротора электродвигателя 45 через червячный редуктор 2 и цепную передачу 1 передается кулачку 40, но помешать включению ВКА этот кулачок не может, поскольку оно завершится прежде, чем рабочая поверхность кулачка 40 придет в контакт с роликом 35 ведущего рычага 7 (см. выше абзацы с первого по третий на с. 5 и фиг. 3А);

[77]

- еще до момента полного завода рабочих пружин (см. фиг. 3Б / показан завод рабочих пружин при отключенном ВКА) верхняя траверса 10 на своем пути вверх встретит указатель 11 состояния рабочих пружин и к концу завода (когда подпружиненная защелка 8 ведущего рычага 7 уже заскочила за удерживающую ось 65 рычага 18 устройства управления включением) повернет указатель 11 состояния рабочих пружин по часовой (по рисунку) стрелке так, что он своей кулачковой частью разомкнет контакты SQ3. Электродвигатель 45 при этом продолжает работать вследствие того, что катушка магнитного пускателя в силовой цепи питания электродвигателя будет запитана по цепи, содержащей замкнутые (размыкающие) контакты SQ2 блок-контакта SQ2-SA5-SH2;

[78]

- контакты SQ2 разомкнутся и электродвигатель 45 вследствие этого остановится только тогда, когда кулачок 40 встанет в исходное рабочее положение, не препятствующее включению ВКА (см. фиг. 3В). При этом палец 48 кулачка 40, вошедший в зацепление с рычагом 50 в момент выхода из зацепления ролика 35 ведущего рычага 7 с кулачком 40 (см. фиг. 3Б), будет удерживать рычаг 50 в нижнем положении (см. фиг. 3В), вследствие чего контакты SQ2 под воздействием кулачка 4, приводимого через валик 64 рычагом 50, останутся разомкнутыми, а контакты SA5 - замкнутся, что «подготовит цепь электромагнита YA2» устройства управления включением «к приему команды на включение».

[79]

Функциональная конструктивная часть «верхняя траверса 10 - указатель 11 состояния рабочих пружин - блок-контакт SQ3-SA6-SH4» вкупе с «автоматическим устройством отключения электродвигателя по завершении подготовки привода к включению» относятся скорее к «кинематическим элементам управления» (блок-контактами электроцепей управления) в составе операционного механизма привода-прототипа, чем к собственно механизму завода рабочих пружин последнего. Эти кинематические элементы управления, которые предусмотрены и в заявленной полезной модели (далее в формуле заявленной полезной модели - «кинематические элементы управления электродвигателем и подготовкой к включению устройства управления включением»), являются - как в приводе-прототипе, так и в заявленной полезной модели - новыми конструктивными признаками по отношению к приводу-аналогу (исходя из объема информации в описании последнего);

[80]

- «механизм силовой включения» (далее, в том числе в формуле заявленной полезной модели - «силовой механизм включения») аналогичен силовому механизму включения привода-аналога и включает следующие элементы (см. фиг. 2): «ведущий рычаг 7» с упорным «роликом 6», «подпружиненным зубом 8» (подпружиненной защелкой на его левом, самом длинном плече) и «верхней траверсой» 10 (см. абзац 3 на с. 12), «ведомый рычаг 19» с упорным роликом 33 и аналогичным «зубом 26» (подпружиненной защелкой на его длинном плече), «ось 34», на которой установлены ведущий 7 и ведомый 19 рычаги; «рычаг-сцепитель 31», «упоры 30 и 36», «серьгу 28», «ось 27» и «элементы, определяющие угол поворота ведомого рычага» 19 «(или ход серьги)» 28.

[81]

Согласно описанию и схеме привода-прототипа (см. фиг. 2), конфигурация ведущего 7 и ведомого 19 рычагов, их взаимное расположение и большинство конструктивных элементов их кинематического взаимодействия друг с другом или с выходными / входными звеньями кинематических цепей других функциональных частей в приводе-прототипе и в приводе-аналоге идентичны (ср. с описанием выше с абзаца 2 на с. 3 по абзац последний на с. 4), а именно:

[82]

- основу ведущего рычага 7 и ведомого рычага 19 в приводе-прототипе составляют две параллельные щеки, соединенные между собой перемычками, а ведомый рычаг 19 размещен между щек ведущего рычага 7. что просматривается и в конструкции привода-аналога;

[83]

- оба рычага 7 и 19 в приводе-прототипе установлены на одной оси 34 (ведущий рычаг 7 - на подшипниках качения с возможностью свободного поворота относительно этой оси), установленной, в свою очередь, на подшипниках качения в параллельных щеках корпуса привода (в приводе-аналоге ось 5 у ведущего 6 и ведомого 19 рычагов - также общая, хотя характеристика признака «корпус привода» и, соответственно, характера установки оси 5 в корпусе привода отсутствует);

[84]

- рычаги 7 и 19 в приводе-прототипе взаимодействуют друг с другом через рычаг-сцепитель 31 (в приводе-аналоге этот рычаг именуется «сцепляющим рычагом 24») и ролик 33 на правом (по рисунку), коротком плече ведомого рычага 19 (аналог этого ролика в механизме привода-аналога - ролик 21, см. фиг. 1);

[85]

- рычаг-сцепитель 31. установленный на оси между щек ведущего рычага 7. на правом плече последнего (на фиг.2 эта ось позицией не обозначена, на фиг. 1 - поз. 23) и также, как в приводе-аналоге и в заявленной полезной модели, имеющий поперечный «штифт-упор» 25 (двухконсольный стержневой упор - см. пример на фиг. 8Г) на его нижнем конце, идентичен по назначению и конструкции сцепляющему рычагу 24 привода-аналога (см. фиг. 1) и управляется (переводится из одного положения, обеспечивающего сцепление рычагов 7 и 19 в приводе-прототипе, в другое, обеспечивающее расцепление этих рычагов и обратно) идентичными конструктивными элементами: упорами 30 и 36 на корпусе привода и перекидными пружинами 32 на схеме привода-прототипа (соответственно, упорами 20 и 26 и перекидными пружинами 22 - на схеме привода-аналога):

[86]

- как и в приводе-аналоге, «упор 30» (болт-расцепитель ведущего 7 и ведомого 19 рычагов), обеспечивает не только свободный - независимо от ведущего рычага 7 - ход ведомого рычага 19 в направлении отключения, но и свободный - независимо от ведомого рычага 19 - ход ведущего рычага 7 в направлении повторного завода рабочих пружин (при включенном или отключенном ВКА), в том время как «упор 36», подводя в ходе завода рабочих пружин (поворота ведущего рычага 7 по часовой стрелке) хвост (верхний конец) рычага-сцепителя 31 (посредством воздействия на его нижний конец) под ролик 33 ведомого рычага 19, обеспечивает сцепление последнего с ведущим рычагом 7 и тем самым - функцию привода, т.е. передачу (при каждом включении) механизму ВКА потенциальной механической энергии (рабочих пружин) силового устройства;

[87]

- ось 27 в приводе-прототипе (см. фиг. 2, на фиг. 1 - ось 42) является одним из звеньев кинематической пары, выполняющей, как и в приводе-аналоге, функцию соединительного элемента ведомого рычага 19 с тягой 69 ВКА (ведомого рычага 19 с тягой 18 - в приводе-аналоге);

[88]

- подпружиненные защелки (см. фиг. 2 и фиг. 3А-3Б) - «зуб 8» ведущего рычага 7 и «зуб 26» ведомого рычага 19 в приводе-прототипе - входят в зацепление с удерживающими осями, соответственно, 65 и 14 выходных звеньев 18 и 66 кинематических цепей, соответственно, устройства управления включением и устройства управления отключением (см. фиг. 2), фиксируя, соответственно, ведущий рычаг 7 в положении завода рабочих пружин 46 и ведомый рычаг 19 в положении включения управляемого ВКА - точно также, как это имеет место во взаимодействии ведущего рычага 6 и ведомого рычага 19, соответственно, с устройством управления включением и устройством управления отключением в приводе-аналоге;

[89]

- при подходе левого (по рисунку - см. фиг. 2) плеча ведущего рычага 7 в приводе-прототипе к его нижнему положению (при повороте ведущего рычага 7 в направлении включения ВКА против часовой - по рисунку - стрелки) ролик 6, закрепленный на этом плече, упирается в шток гидравлического демпфера («буфера включения» 5 - см. фиг. 2) - точно так же, как ролик 7 ведущего рычага 6 в приводе-аналоге «садится на шток масляного буфера 3» (см. фиг. 1).

[90]

В отличие от механизма привода-аналога (см. фиг. 1), где ведомый рычаг 19 установлен на оси 5 с возможностью свободного поворота относительно этой оси, в приводе-прототипе, согласно его описанию, рычаг 19 и ось 34 имеют жесткое (шлицевое) соединение друг с другом в месте посадки рычага 19 на ось 34 (между щек ведущего рычага 7) - для передачи крутящего момента от ведомого рычага 19 с преобразованием этого момента в усилие, прилагаемое к «шток-поршню» гидравлического «буфера отключения 53» (см. на фиг. 4) через кинематическую цепь. Эта кинематическая цепь состоит из указанного шлицевого соединения ведомого рычага 19 и общей оси ведущего 7 и ведомого 19 рычагов силового механизма включения внутри корпуса привода-прототипа, выполняющей здесь роль вала, из шлицевой части 67 этой оси, выступающей с правой стороны корпуса привода, а также, судя по чертежу привода-прототипа (на фиг.4), из одноплечего «рычага» 68 (коромысла) сложной конструкции (которая в описании привода-прототипа не раскрыта), жестко соединенного одним концом с выступающей шлицевой частью 67 общей оси ведущего 7 и ведомого 19 рычагов посредством шлицевого отверстия, а другим концом

[91]

- со «шток-поршнем» «буфера отключения 53» посредством цилиндрического шарнира.

[92]

Другими отличиями силового механизма включения привода-прототипа от аналогичного ему силового механизма включения привода-аналога является наличие в первом (см. фиг. 2): «серьги 28» - звена кинематической пары, выполняющей функцию соединительного элемента между ведомым рычагом 19 и тягой 69 ВКА (далее, в том числе в формуле заявленной полезной модели - «серьга»); упора 70 на серьге 28 (далее - «упор серьги»), посредством которого серьга 28 упирается в регулировочные прокладки 71 (конструктивный элемент силового механизма включения), закрепленные на бобышке 63 корпуса привода (см. выше абзац 5 на с. 10), и тем самым удерживает тягу 69 в ее крайнем правом положении (отключенного ВКА); и самих регулировочных прокладок 71. Судя по схеме привода-прототипа (фиг. 2), серьга 28 имеет два отверстия, оси которых взаимно перпендикулярны: одно (прорезь по длине серьги) для соединения серьги 28 посредством плоскостной вращательно-поступательной кинематической пары с осью 27. очевидно, что шарнирно закрепленной между щек ведомого рычага 19 (см. фиг. 3А, 3Б и 3В), а другое (скорее всего, резьбовое) - для соединения серьги 28 с тягой 69 ВКА (см. фиг. 2 и фиг. 3А или 3В). Упор 70 серьги 28 (см. фиг. 2) и регулировочные прокладки 71 на бобышке 63 корпуса привода как признаки относятся к вышеуказанным «элементам, определяющим угол поворота ведомого рычага 19» (или ход тяги 69 ВКА, соединенной с ним через серьгу 28) в направлении отключения:

[93]

- «буфер включения» 5 (см. фиг. 2), является самостоятельной конструктивной частью (устройством) привода-прототипа. По принципу действия («гидравлический») это устройство идентично «масляному буферу 3» в механизме привода-аналога (см. фиг. 1). Корпус "буфера включения» 5 в механизме привода-прототипа «вставлен в отверстие перемычки между щеками» корпуса привода. Конструктивно «буфер включения» (далее, в том числе в формуле заявленной полезной модели - «демпфер включения» вместо «буфер включения» по причине, указанной выше в ссылке 7 на с. 3) как и в приводе-аналоге не раскрыт, однако указание в описании привода-прототипа на принцип действия этого устройства позволяет рассматривать этот признак как идентифицируемый: известно, что гидравлические демпферы (гасители механических колебаний) поступательно перемещаемых деталей («демпферы вязкого трения поршневого типа») выполняются в виде поршневого устройства - цилиндра, в котором под действием внешней силы перемещается поршень, перегоняя вязкую жидкость (масло) из одной полости цилиндра в другую через дроссель (местное гидродинамическое сопротивление).

[94]

Демпфер включения 5, выполняет, помимо его основной функции демпфирования, функцию ограничителя поворота ведущего рычага 7 в направлении включения, обеспечивая в фиксированном положении этого рычага его зацепление с кулачком 40 механизма завода рабочих пружин и тем самым - Функцию привода в части запасания потенциальной энергии заводимыми рабочими пружинами;

[95]

- «буфер отключения 53», (см. фиг. 4), введенный в конструкцию привода-прототипа для решения технической проблемы, указанной выше в п. 7 на с. 9. является также самостоятельной конструктивной частью (устройством) привода-прототипа. «Буфер отключения 53» (см. на фиг. 4) размещен с правой стороны корпуса привода-прототипа, у основания этого корпуса, на оси (на фиг. 4 позицией не обозначена), проходящей через обе щеки корпуса 9 привода, и может поворачиваться на этой оси в определенных пределах. Гидравлический, согласно описанию привода-прототипа, «буфер отключения 53» (далее, в том числе в формуле заявленной полезной модели - «демпфер отключения» вместо «буфер отключения» по причине, указанной выше в ссылке 7 на с. 3) является идентифицируемым признаком по той же причине, что и «буфер включения» (см. предыдущий абзац).

[96]

«Демпфер отключения» (поз. 53 на фиг. 4) вместе с указанной в абзаце последнем на с. 15 кинематической цепью (далее, в том числе в формуле заявленной полезной модели - «привод демпфера отключения»), выполняют совместно, помимо их основной функции демпфирования, функцию ограничителя поворота ведомого рычага 19 (или хода тяги 69 ВКА, соединенной с ним через серьгу 28 - см. фиг. 2), в частности, в направлении включения, то есть функцию привода. Эти признаки являются новыми признаками по отношению к приводу-аналогу;

[97]

- «устройство управления включением» (в составе операционного механизма привода-прототипа, см. позиции 13 и 18 на фиг. 2, далее, в том числе в формуле заявленной полезной модели - «устройство управления включением») по его функции и кинематической схеме (рычажный механизм) идентично устройству управления включением в приводе-аналоге (см. выше с абзаца последнего на с. 5 по абзац первый на с. 7). Как и в приводе-аналоге устройство управления включением привода-прототипа состоит из «входного звена» - толкателя (с приводом от якоря) включающего электромагнита YA2, установленного «на специальном кронштейне» «с обеспечением вертикального расположения оси сердечника» (вертикального хода якоря), а также из «собачки 13» («среднего звена» - в формуле заявленной полезной модели), установленной с упором в толкатель электромагнита и взаимодействующей ее коротким плечом-упором (с рабочей поверхностью на торце этого плеча) через высшую кинематическую пару с роликом на плече «промежуточного рычага 18», противоположном плечу с удерживающей осью 65, а также из самого «промежуточного рычага 18» («выходного звена» - в формуле заявленной полезной модели). «Собачка 13» и «промежуточный рычаг 18» соответствуют по их назначению и конструкции «защелке 11» и «промежуточному рычагу 10» (с удерживающей осью - «роликом 8» - см. фиг. 1) в устройстве управления включением привода-аналога. Регулировочный винт для регулировки хода длинного плеча «собачки 13» находится в самом этом плече. Все элементы устройства управления включением размещены между щек корпуса привода.

[98]

Конструктивным отличием от привода-аналога, согласно описанию привода-прототипа, является наличие в электромагните YA2 привода-прототипа (спусковой) кнопки 79 (см. фиг. 4), позволяющей инициировать операцию включения ВКА механическим воздействием (через кнопку) на сердечник электромагнита (по оси сердечника) - вместо подачи «командного импульса» на электромагнит YA2 при так называемом «оперативном (дистанционном) включении выключателя»;

[99]

- «устройство управления отключением» (см. позиции 66, 21 и 61 на фиг. 2; далее, в том числе в формуле заявленной полезной модели - «устройство управления отключением») по его месту расположения и функции в механизме привода-прототипа идентично устройству управления отключением в приводе-аналоге (см. выше с абзаца второго на с. 7 по абзац предпоследний на с. 7). Оно установлено в передней верхней части корпуса привода, правее (по рисунку) устройства управления включением (очевидно, что между щеками корпуса привода). Его назначение - удержание ВКА в состоянии включения и отключение ВКА.

[100]

Кинематически устройство управления отключением привода-прототипа (см. фиг. 2) отличается от устройства управления отключением привода-аналога и представляет собой рычажный механизм, состоящий: из толкателей двух независимо действующих отключающих электромагнитов YA1 и YA3 с приводом от якорей электромагнитов («входного звена» - в формуле заявленной полезной модели); из рукоятки 72 ручного отключения ВКА (см. на фиг. 4, на фиг. 2 не показано), воздействующей на дополнительную «собачку 61»; из дополнительной «собачки 61» (см. опять фиг. 2) - подпружиненного двуплечего рычага, взаимодействующего с толкателями электромагнитов YA1 и УА3, с одной стороны, а, с другой стороны, с «собачкой 21» (далее - «дополнительная собачка 61», «второе («считая от входного) звено» - в формуле заявленной полезной модели); из подпружиненной, эксцентриковой (в ее коротком плече) «собачки 21» (далее - «собачка 21», «третье («считая от входного) звено» - в формуле заявленной полезной модели), взаимодействующей, с одной стороны, ее длинным плечом с дополнительной собачкой 61 через плоскостную поступательную пару в форме защелки (см. фиг. 2), а, с другой стороны, ее коротким плечом с «промежуточным» рычагом 66 (также подпружиненным и двуплечим, далее - «промежуточный рычаг 66», «выходное звено» - в формуле заявленной полезной модели) через высшую кинематическую пару, образуемую «цилиндрической» рабочей поверхностью на торце этого (короткого) плеча и роликом на плече «выходного звена», противоположном плечу с удерживающей осью 14.

[101]

Дополнительная собачка 61 имеет удерживающий «зацеп» (паз) с «язычком» собачки 21, установленной на оси между ее опор в корпусе привода, и вместе с электромагнитами YA1 и УА3 установлена посредством кронштейна на корпусе привода, а промежуточный рычаг 66 («выходное звено»), установленный на оси между ее опор в корпусе привода, идентичен промежуточному рычагу 18 устройства управления включением (см. выше).

[102]

Согласно описанию привода-прототипа, «с целью повышения быстродействия привода при выполнении операции отключения выключателя», т.е. для решения технической проблемы, указанной выше в п. 4 на с. 9 (без увеличения потребляемой мощности электромагнитов YA1 и УА3), рабочая поверхность короткого плеча собачки 21 (представляющая собой фрагмент цилиндрической поверхности - см. фиг. 2) позиционирована эксцентрично относительно оси вращения самой собачки 21 (согласно описанию привода-прототипа - «третья ступень снижения усилия со стороны отключающих пружин выключателя»). В результате такого позиционирования короткого плеча (эксцентрика) собачки 21 последняя под действием усилия со стороны отключающих пружин ВКА, передаваемого через кинематическую цепь «тяга 69 ВКА - серьга 28 - ось 27 - ведомый рычаг 19 - «зуб» 26 (подпружиненная защелка) ведомого рычага - промежуточный рычаг 66 - собачка 21», легче и быстрее осуществляет поворот по часовой стрелке (для освобождения промежуточного рычага 66 и через него ведомого рычага 19 и связанной с ним тяги 69 ВКА), чему препятствует только дополнительная собачка 61. Последняя, выполняя роль «спускового крючка», под воздействием на нее толкателя любого из электромагнитов YA1 или УА3, срабатывающих по команде от оператора (со щита управления) или от устройств защиты (или под воздействием «рукоятки местного отключения», т.е. рукоятки ручного отключения ВКА - см. позицию 72 на чертеже привода-прототипа на фиг. 4) освобождает собачку 21 и запускает устройство управления отключением.

[103]

Как и в устройстве управления отключением привода-аналога (см. с абзаца 2 по абзац предпоследний на с.7), рукоятка 72 ручного отключения ВКА (двуплечий, очевидно подпружиненный рычаг, установленный на кронштейне электромагнитов - см. фиг. 4) служит параллельным входным звеном кинематической цепи устройства управления отключением привода-прототипа (рычажного механизма);

[104]

- к устройствам блокировки» привода-прототипа (далее в тексте - «блокировочные устройства»), введенным в конструкцию привода для решения технической проблемы, указанной выше в п. 6 на с. 9, относятся следующие функциональные части и группы:

[105]

- устройство «блокировки включения электродвигателя при установленной на первичный вал редуктора ручке ручного завода» рабочих пружин (см. фиг. 2) состоит из установленного на корпусе редуктора 2 конечного выключателя SQ1, размыкающие контакты которого находятся в цепи катушки магнитного пускателя электродвигателя 45; из рукоятки 3 ручного завода рабочих пружин (см. абзац первый на с. 12) с профилированной ступиией на ее стыковочном конце, взаимодействующей с толкателем конечного выключателя SQ1; а также из промежуточного звена «планка» между толкателем конечного выключателя SQ1 и ступицей рукоятки 3 ручного завода рабочих пружин, функция которого - исключение заклинивания толкателя конечного выключателя при вращении входного вала редуктора 2;

[106]

- устройство «блокировки подачи команды на включение при включенном выключателе» предназначено для защиты от сгорания катушки электромагнита YA2 устройства управления включением вследствие ошибочных действий оператора. Блокировка с помощью этого устройства обеспечивается прерыванием - при включении ВКА - электроцепи управления, питающей катушку электромагнита YA2, для чего в эту электроцепь введены размыкающие (замкнутые при отключенном ВКА) контакты SA3 блок-контакта SA2-SQ4-SA3, управляемого кулачком 22, жестко связанным с валиком 24, приводимым от ведомого рычага 19 посредством шатуна 1718 (18 Деталь на фиг. 2, обозначенная поз. 17, является шатуном, поскольку образует кинематические пары только с подвижными звеньями - через ось 27 с ведомым рычагом-коромыслом 19, совершающим качательное движение, и с валиком 24 (кулисой), совершающим также качательное движение (неполное вращение взад-вперед по и против часовой стрелки)). Блок-контакт SA2-SQ4-SA3 размещен на внешней стороне правой щеки корпуса привода (см. фиг. 2 и фиг. 4);

[107]

- устройство «блокировки подачи команды на отключение при отключенном выключателе» (см. фиг. 2) аналогично по назначению устройству блокировки, охарактеризованному в предыдущем абзаце (защищает катушки электромагнитов отключения YA1 и YA3 прерыванием электроцепей их питания - в данном случае при отключенном ВКА), и обеспечивается теми же кинематическими элементами - с той лишь разницей, что в этом устройстве блокировки использованы замыкающие (разомкнутые при отключенном ВКА) контакты SA2 в электроцепях управления, питающих катушки электромагнитов YA1 и YA3. Контакты SA2 входят в состав блок-контакта SA2-SQ4-SA3, управляющего также вышеуказанной «блокировкой подачи команды на включение при включенном выключателе».

[108]

Признаками привода-прототипа, совпадающими (полностью или через отношение «вид - род») с существенными признаками заявленной полезной модели (включая признаки, отличные от признаков привода-аналога), являются большинство указанных выше признаков привода-прототипа, а именно: «плита несущая» (абзац 4 на с. 10); «корпус привода» (абзац 5 на с. 10); «механизм завода рабочих пружин» (абзац последний на с. 10 по абзац 2 на с. 12) - кроме «червячного редуктора 2» и «телескопического вала», соединяющего входной вал редуктора с «электродвигателем» (см. ниже); «кинематические элементы управления электродвигателем и подготовкой к включению устройства управления включением» (абзац 3 на с. 12 по абзац 1 на с. 14); «силовой механизм включения» (абзац 2 на с. 14 по абзац 1 на с. 16) - кроме «серьги» и «элементов, определяющих угол поворота ведомого рычага 19 (или ход связанной с ним серьги 28)» в направлении отключения (см. ниже); «демпфер включения» (абзац 2-3 на с. 16); «демпфер отключения» (абзац последний на с. 16 по абзац 2 на с. 17 в корреспонденции с абзацем последним на с. 15); «привод демпфера отключения» (абзац последний на с. 15 в корреспонденции с абзацем 2 на с. 17) - кроме «рычага» в функции коромысла в составе этого привода (см. ниже); «устройство управления включением» (абзацы 3-4 на с. 17) - кроме спусковой кнопки 79 (см. ниже); «устройство управления отключением» (абзац 5 на с. 17 по абзац последний на с. 18) - кроме рукоятки 72 ручного отключения ВКА (см. ниже).

[109]

Существенность признаков, указанных в предыдущем абзаце и выделенных жирным шрифтом, в отношении заявленной полезной модели определяется их необходимостью для осуществления функции привода - многократного (повторного) включения ВКА), то есть для передачи (при каждом включении) механизму ВКА повышенной мощности силового устройства, являющейся заявленным техническим результатом (как при нечетном, так и при четном числе пружин в блоке рабочих пружин, см. ниже абзац 4 на с. 29, с абзаца 3 на с. 31 по абзац 2 на с. 32).

[110]

Признаки заявленной полезной модели в варианте (примере) ее осуществления, аналогичном запатентованной конструкции привода-прототипа, то есть с трехпружинными блоками рабочих пружин, совпадающие с признаками привода-прототипа и отличные от них, отражены на схеме механизма заявленной полезной модели (см. фиг. 7) и на чертежах механизма заявленной полезной модели (см. фиг. 8А, 8Б, 8В и 8Г). При этом номера позиций совпадающих конструктивных признаков заявленной полезной модели на фиг. 7 и фиг. 8А и привода-прототипа, соответственно, на фиг. 2 и фиг. 4 совпадают, включая номера позиций признаков, наличие которых в приводе-прототипе и их совпадение с признаками заявленной полезной модели является спорным по мнению заявителя по данной заявке (см. ниже).

[111]

«Механизм завода рабочих пружин» только «механизмом» не является (поскольку содержит «электродвигатель» - источник энергии) и по его сути является электрическим приводом «силового устройства» (блоков рабочих пружин), действующим в направлении завода последних. Поэтому далее, в том числе в Формуле заявленной полезной модели термин «механизм завода рабочих пружин» заменен на более точный термин «электропривод силового устройства», имея ввиду указанное направление действия этого привода.

[112]

«Червячный» (при ведущем червяке) характер «редуктора 2» (см. фиг. 2 и описание привода-прототипа), установленного первым (в направлении передачи крутящего момента) в составе трансмиссии (комбинации двух понижающих и одной преобразующей характер движения силовых передач) электропривода силового устройства не является единственно возможным вариантом (примером) осуществления заявленной полезной модели в этой ее части, поскольку в той же функции (передача увеличиваемого крутящего момента между скрещивающимися или пересекающимися валами) может быть использована широкая гамма зубчатых одно- или многоступенчатых конических, червячных, червячно-цилиндрических или коническо-цилиндрических понижающих передач (редукторов), тогда как «понижающий» и «зубчатый» характер таких передач (уменьшает угловую скорость его входного вала и увеличивает передаваемый крутящий момент при высоком силовом передаточном отношении19 (19 См. сноску 16 на с. 11.) (300 и более) и высокой нагрузочной способности передачи) являются необходимыми (существенными) признаками для достижения заявленного технического результата (передачи повышенной мощности силовому устройству). Поэтому признак «червячный редуктор» в составе признака «электропривод силового устройства» далее, в том числе в формуле заявленной полезной модели обобщен до родового понятия «зубчатый редуктор». При этом признаки «понижающей цепной передачи» и соединенной с ней последовательно передачи, преобразующей характер движения («вращательное движение вала ведомой звездочки цепной передачи в поступательное движение блоков рабочих пружин в направлении их завода») и охарактеризованной в формуле заявленной полезной модели перечислением ее составных элементов и их связей (см. выше абзацы 1 и 3 на с. 11), являются необходимыми (существенными) признаками для достижения заявленного технического результата (см. ниже абзац 4 на с. 29, с абзаца 3 на с. 31 по абзац 2 на с. 32).

[113]

Аналогичным образом, «телескопический вал» как соединительный элемент между «электродвигателем» и «зубчатым редуктором» (составной вал, части которого - вал электродвигателя и полый выходной конец входного вала «зубчатого редуктора», соединенные (зацепленные) посредством шлицевого или радиально-штифтового соединения - подвижны в осевом направлении и через который передается только крутящий момент - см. абзац 1 на с. 12) не является единственно возможным вариантом (примером) осуществления заявленной полезной модели в этой ее части, поскольку указанное соединение валов между «электродвигателем» и «зубчатым редуктором» в заявленной полезной модели может быть без потери функциональности электропривода силового устройства заменено и иным видом муфтового или иного жесткого соединения валов (для передачи крутящего момента), например, фланцевым. Поэтому указанный признак («телескопический вал») заменен в формуле заявленной полезной модели на признак «жесткое соединение» (валов), который относится и к соединению остальных частей трансмиссии электропривода силового устройства.

[114]

Указанные выше на с. 16 (абзац 1) в составе механизма привода-прототипа конструктивные «элементы, определяющие угол поворота ведомого рычага 19 (или ход связанной с ним серьги 28)» (или ход тяги 69 ВКА, соединенной с серьгой 28 - см. фиг. 2 и фиг. 7), а именно: упор 70 на серьге 28 и регулировочные прокладки 71 на бобышке 63 корпуса привода, в которые упирается посредством упора 70 серьга 28, существенными признаками в отношении заявленной полезной модели не являются, поскольку обеспечивают только операцию отключения ВКА, при которой заявленная в качестве технического результата повышенная мощность силового устройства привода механизму ВКА не передается.

[115]

Специфический (соединительный) конструктивный элемент (плоскостная вращательно-поступательная кинематическая пара) в составе силового механизма включения, образуемый серьгой 28 с осью 27 (см. фиг. 2 и фиг. 7), является частным случаем реализации существенного в отношении заявленной полезной модели признака соединительного элемента ведомого рычага 19 и тяги 69 ВКА, поскольку, с одной стороны, обеспечивает операцию включения ВКА (функцию привода - см. абзац 2 на с. 32), а, с другой стороны, может быть в отношении этой операции (как и в отношении операции отключения ВКА) заменен, например, проушиной - звеном цилиндрической вращательной кинематической пары (как в приводе-аналоге - см. фиг. 1) или, в принципе, даже шаровым шарниром. В Формуле заявленной полезной модели указанный соединительный элемент ведомого рычага 19 и тяги 69 ВКА условно (за неимением обобщающего родового термина) обозначен термином «шарнирное соединение».

[116]

«Приводной элемент поршня демпфера (включения)» (или: «приводной элемент демпфера отключения»), означающий «толкатель в форме ползуна с направляющей в корпусе демпфера, установленный с возможностью передачи поступательного движения поршню демпфера», является в формуле заявленной полезной модели существенным признаком-обобщением возможных его видовых вариантов в форме «штока», «шток-поршня» или «плунжера».

[117]

Указанные выше спусковая кнопка 79 в электромагните устройства управления включением (абзац 4 на с. 17) и рукоятка ручного отключения ВКА 72 в устройстве управления отключением (абзац последний на с. 18) существенными признаками в отношении заявленной полезной модели не являются, поскольку имеют целью только повышение надежности привода.

[118]

Вышеуказанные блокировочные устройства в составе операционного механизма привода-прототипа (см. выше абзац первый на с. 19), относящиеся в их механической функциональной части к «кинематическим элементам управления» (блок-контактами электроцепей управления) и имеющиеся в осуществленной заявленной полезной модели (как и другие блокировочные устройства, наличные в осуществленной заявленной полезной модели, но отсутствующие в приводе-прототипе), направлены на достижение технического эффекта повышения надежности привода, а потому существенными признаками в отношении заявленной полезной модели также не являются - с учетом заявленного технического эффекта (см. ниже с. 29. с. 31-32).

[119]

Взаимодействие существенных как признаки звеньев механизма привода через высшую кинематическую пару, включающую ролик (протяженную деталь цилиндрической или бочкообразной формы), а именно (см. фиг. 2 и фиг. 7):

[120]

1. короткого плеча ведомого рычага 19 силового механизма включения через ролик на этом плече с торцом рычага-сцепителя 31 этого механизма путем упора ролика в этот торец;

[121]

2. рабочей поверхности кулачка 40 в составе электропривода силового устройства с роликом на нижнем плече ведущего рычага 7 силового механизма включения;

[122]

3. горизонтального плеча ведущего рычага 7 силового механизма включения, противоположного плечу, на котором установлен рычаг-сцепитель 31, через ролик на этом плече с приводным элементом поршня демпфера включения 5;

[123]

4. цилиндрической рабочей поверхности на торце короткого плеча «среднего звена» («собачки 13») устройства управления включением и такой же поверхности на торце короткого плеча «третьего (считая от входного) звена» («собачки 21») устройства управления отключением с роликом на плече «выходного звена» в обоих устройствах не является единственно возможным вариантом реализации кинематического взаимодействия указанных звеньев, позволяющего уменьшить потери повышенной мощности рабочих пружин силового устройства на трение в кинематической паре (сохранить эту мощность) и потому являющегося существенным признаком в отношении заявленной полезной модели. Как альтернативу «ролику» можно указать, например, высшую кинематическую пару, включающую опорный элемент (звено) со сферической («шарик») или тороидальной («колесико») рабочей поверхностью, установленный на оси в плечах указанных рычагов.

[124]

Под «цилиндрической» рабочей поверхностью торцевой части звена высшей кинематической пары, указанного в п. 4 предыдущего абзаца («собачки 13» и «собачки 21»), понимается фрагмент боковой поверхности как прямого кругового цилиндра (в пределах его сектора или сегмента), так и иной цилиндрической поверхности второго рода (эллиптический, параболический или гиперболический цилиндр).

[125]

По причине возможности указанных альтернатив исполнения вышеуказанных высших кинематических пар в составе существенных признаков заявленной полезной модели характеристика этих пар через видовые признаки их звеньев заменена в формуле заявленной полезной модели обобщенным существенным признаком «высшая кинематическая пара».

[126]

Приводной электромагнит устройства управления включением может быть установлен «на корпусе привода» как посредством кронштейна, так и непосредственно - без потери функциональности этого устройства как в случае его эксплуатации, так и в случае его настройки (регулировки) при замене одной альтернативы другой. Поэтому признак размещения приводного электромагнита в составе существенного признака устройства управления включением определен в обобщенной форме как (размещение) «на корпусе привода».

[127]

«Штифт-упор» 25 рычага-сцепителя силового механизма включения (см. фиг. 7 и фиг. 8Б-Г) номинативно (терминологически) в описании привода-аналога определен неправильно: «штифт» - крепежная деталь (цилиндрической или конической формы), служащая для жесткого соединения двух сопрягаемых звеньев механизма; применение этого термина для обозначения упора (детали, посредством которой одно звено, жестко соединенное с этой деталью, упирается в другое, но не соединяется с ним) некорректно. Поэтому термин «штифт-упор» в формуле заявленной полезной модели заменен на термин «двухконсольный стержневой упор» со ссылкой на позицию 25 на фиг. 2 и фиг. 8Б-Г, где денотат этого (последнего) термина пояснен графически (по причине нестандартного характера этого термина и сложности его описательного раскрытия в лаконичной форме), в соответствии с подпунктами 5) и 3) п. 40 Требований к формуле полезной модели в составе действующих Требований к документам заявки на выдачу патента на полезную модель.

[128]

Проблемным, по мнению заявителя, в отношении его новизны является признак «привода сигнальных контактов» в составе функциональной конструктивной части «сигнализация о положении контактов управляемого выключателя», раскрытой в описании и включенной в формулу привода-прототипа, по следующим причинам.

[129]

Функциональная конструктивная часть в приводе-прототипе, поименованная в описании последнего как «сигнализация о положении контактов управляемого выключателя» (фактически - сигнализация о положении ведомого («выходного») рычага 19 привода и связанной с ним через серьгу 28 тяги 69 высоковольтного выключателя - см. фиг. 2) осуществлена с помощью двух блоков сигнальных контактов поворотного типа SA1 и SA7 типа КСА (контактов сигнальных Аксентона на 12 и 8 цепей / контактных групп, соответственно, КСА-12 и КСА-8, далее - «блоки сигнальных контактов») и их приводного механизма (далее - «привод сигнальных контактов»).

[130]

Оба блока сигнальных контактов SA-1 и SA-7 установлены на внешней стороне левой (по рисунку, см. фиг. 2) щеки корпуса привода.

[131]

Конструктивная специфика кинематической цепи привода сигнальных контактов в описании, а также в схеме и на чертеже привода-прототипа полностью не раскрыта: из описания, схемы и чертежа следует, что (условно) «выходная часть» этой кинематической цепи (см. фиг. 2 и фиг. 4) состоит из валика 24, установленного внутри корпуса привода, выведенного на внешние стороны левой и правой щеки корпуса привода и очевидно, что имеющего опору вращения (качения или

[132]

скольжения) в этих щеках, из рычага-коромысла 20 очевидно, что жестко закрепленного на валике 24 и размещенного с внешней стороны левой щеки корпуса привода, из двух тяг 57 и 60 (также на внешней стороне левой щеки корпуса привода - см. Фиг. 4), последовательно соединенных друг с другом (шарнирно) через рычаг 58 поворотного вала одного из блоков - блока SA1 (КСА-12), размещенного первым в указанной выходной части кинематической цепи привода сигнальных контактов, тогда как тяга 60 приводит поворотный вал второго из блоков сигнальных контактов - блока SA7 (КСА-8).

[133]

Таким образом, из описания и приложений (схемы и чертежа) к патенту на привод-прототип ясно следует только одно, а именно: что указанная выходная часть кинематической цепи привода сигнальных контактов (привода-прототипа) представляет собой шестизвенный пространственный механизм-многозвенник, работающий в двух взаимно перпендикулярных плоскостях (вертикальной и горизонтальной). При этом конструктивные характеристики указанной выходной части кинематической цепи привода сигнальных контактов (характер шарниров, соединяющих тяги и рычаги; конфигурация двухкоромыслового четырехзвенника в составе указанной выходной части, работающего в горизонтальной плоскости и образованного корпусом привода (корпусами блоков сигнальных контактов), тягами и рычагами 57-60, т.е. вид сверху этого плоского четырехзвенника, как то: шарнирный «параллелограмм» или «антипараллелограмм») не раскрыты.

[134]

Не раскрыта в описании привода-прототипа и остальная (условно - «входная») часть кинематической цепи привода сигнальных контактов, образуемая ведомым рычагом 19 (см. фиг. 2), осью 27, связанной с шатуном 1720 (20 Деталь на фиг. 2, обозначенная поз. 17, является шатуном, поскольку образует кинематические пары только с подвижными звеньями - через ось 27, которая, очевидно, установлена в опорах вращения в щеках ведомого рычага-коромысла 19, совершающего качательное движение, и с валиком 24, очевидно, совершающим также качательное движение (неполное вращение взад-вперед по и против часовой стрелки), который образует на другом его конце кинематическую пару с вышеуказанным поворотным валиком 24.

[135]

Таким образом, конструктивная специфика кинематической цепи привода сигнальных контактов в составе конструкции привода-прототипа («приводного механизма сигнальных контактов» - согласно терминологии патентной формулы по патенту на привод-прототип) в описании привода-прототипа в целом не раскрыта с полнотой, достаточной для осуществления привода сигнальных контактов. В силу этого обстоятельства и в соответствии с правилами, указанными ниже в абзаце 5 на с. 27 и абзаце 1 на с. 28 (о приоритете описания перед чертежами - приложениями к патенту), функциональная конструктивная группа привода сигнальных контактов привода-прототипа, по мнению заявителя, не может быть признана раскрытой публично (до даты подачи настоящей заявки) и, следовательно, не должна приниматься во внимание как наличный признак.

[136]

Более простая конструкция функциональной группы привода сигнальных контактов, идентичная приводу сигнальных контактов заявленной полезной модели, в составе механизма привода с двухпружинными блоками рабочих пружин, идентичного механизму привода-прототипа21 (21 Как конструкция механизма привода-прототипа может быть истолкована, исходя из его описания к патенту на привод-прототип - см. ниже на с абзаца 4 на с.27 по абзац 3 на с. 29.), раскрыта с полнотой, достаточной для осуществления, в Руководстве по эксплуатации «Приводы пружинные ППрК» (ОБП.466.218 РЭ, п.п. 3.1.18 на листе 13 Руководства и рис. 3 Приложений к нему), изданным акционерным обществом «Уралэлектротяжмаш» (УЭТМ). Копия этого руководства, которое не датировано и подлинность которого документально не подтверждена, опубликована в сети Интернет 11.10.2009 г. - также без документального подтверждения этой даты (см. http://speccmarket.ru/index.php?dn=down&id=28&to=open).

[137]

Таким образом, конструкция привода-прототипа в части привода сигнальных контактов, по мнению заявителя, оказывается раскрытой с полнотой, недостаточной для его осуществления, в источнике с подтвержденными подлинностью и датой опубликования (в описании к патенту на привод-прототип) - с последствием, указанным выше (см. вывод в абзаце 4 на с. 24), и раскрыта с полнотой, достаточной для его осуществления, в источниках, подлинность и дата публикации которых документально не подтверждена, что создает проблемную ситуацию с определением новизны этого признака в отношении объекта данной заявки.

[138]

Однако, проблема, указанная в предыдущем абзаце, снимается с учетом того, что функциональная конструктивная часть «сигнализация о положении контактов управляемого выключателя» в целом как конструктивный признак направлена на обеспечение диспетчеризации управляемого объекта (ВКА), а потому существенным признаком заявленной полезной модели ни в части сигнальных контактов, ни в части привода сигнальных контактов не является - с учетом заявленного технического результата (см. ниже абзац 4 на с. 29 и с абзаца 3 на с. 31 по абзац 2 на с. 32), и, следовательно, в формуле заявленной полезной модели отражению не подлежит.

[139]

По причинам, аналогичным вышеуказанным в отношении функциональной конструктивной части «сигнализация о положении контактов управляемого выключателя», проблемной, по мнению заявителя, является и новизна конструктивного признака «привода демпфера отключения», наличного как в приводе-прототипе, так и в заявленной полезной модели.

[140]

В заявленной полезной модели (см. фиг. 14А-Б) привод демпфера отключения22 (22 Далее, в силу необходимости обеспечения ясности раскрытия сущности заявленной полезной модели и новизны рассматриваемого признака (связности такого раскрытия) описывается пример ее осуществления) представляет собой кинематическую цепь, включающую: элементы шлицевого соединения общей оси 34 ведущего 7 и ведомого 19 рычагов силового механизма включения с ведомым рычагом 19 этого механизма внутри корпуса привода (см. фиг. 7), размещенные в месте посадки рычага 19 на ось 34 (между щек ведущего рычага 7, установленного на подшипниках качения на этой оси, установленной, в свою очередь, на подшипниках качения в щеках корпуса привода), из шлицевой части 67 (см., например, фиг. 8Г) этой оси, выступающей с правой стороны корпуса привода и выполняющей здесь роль вала, передающего вращающий момент от ведомого рычага 19 (силового механизма включения) с преобразованием этого момента в усилие, прилагаемое к приводному элементу поршня демпфера отключения 53, через рычажный узел в функции силовой передачи - коромысла с люфтом (см. следующий абзац).

[141]

Рычажный узел в функции силовой передачи - коромысла с люфтом (см. фиг. 14А-Б, а также фиг. 8А поз. 68, фиг. 8В-Г) включает: ведущий рычаг 82 (см. фиг. 14 А) привода демпфера отключения, установленный (посредством шлицевого отверстия в ступице этого рычага) на шлицевой части 67 вышеуказанной оси 34 (фиг. 7 и фиг. 8А), выступающей с правой стороны корпуса привода (см. фиг. 8Г), и размещенный между щекой и крышкой ведомого рычага привода демпфера отключения; ведомый рычаг 81 (см. фиг. 14А-Б) привода демпфера отключения, представляющий собой разъемный кожух, состоящий из щеки 81 и крышки 97, соединенных друг с другом (через распорки 101) в шести точках (через отверстия 99) болтами 98, и установленный одним его концом на ступице ведущего рычага 82 привода демпфера отключения посредством отверстий с гладкой опорной поверхностью в этом конце (с фиксацией от перемещения в осевом направлении при помощи шайб 95 с обеих сторон ступицы и болта (или винта) 96) и с возможностью поворота относительно ступицы ведущего рычага 82 на некоторый угол, определяемый регулируемым (с помощью шайб 94) промежутком между ограничителями свободного хода (болтами-стопорами) 80 и 83 ведущего рычага 82 внутри кожуха ведомого рычага 81; а также ось 100. соединяющую одноподвижным цилиндрическим шарниром 84 ведомый рычаг 81 привода демпфера отключения со шток-поршнем 87 демпфера отключения.

[142]

Как уже указано выше (абзац последний на с. 15), согласно описанию привода-прототипа, демпфер отключения 53 в механизме привода-прототипа (см. чертеж привода-прототипа на фиг. 4) воспринимает силовое воздействие от ведомого рычага 19 (см. фиг. 2) через некоторую кинематическую цепь («привод демпфера отключения» - см. абзац последний на с. 15). Эта кинематическая цепь, судя по чертежу привода-прототипа на Фиг. 4. включает рычажный узел 68 сложной конструкции (в функции коромысла), поименованный в описании привода-прототипа «рычагом». Конструкция этого рычажного узла в описании привода-прототипа не раскрыта с полнотой, достаточной осуществления привода демпфера отключения. В силу этого обстоятельства и в соответствии с правилами, указанными выше в абзаце 5 на с. 27 и абзаце 1 на с. 28 (о приоритете описания перед чертежами - приложениями к патенту), признак «рычажного узла» в составе привода демпфера отключения, по мнению заявителя, не может быть признан раскрытым публично (до даты подачи настоящей заявки) и, следовательно, не должен приниматься во внимание как наличный признак в конструкции привода-прототипа.

[143]

С другой стороны, конструкция привода демпфера отключения, идентичная приводу демпфера отключения заявленной полезной модели, в составе механизма привода с двухпружинными блоками рабочих пружин, идентичного механизму привода-прототипа23 (23 Как этот механизм прототипа может быть истолкован - см. ниже на с абзаца 4 на с. 27 по абзац 3 на с. 29.), раскрыта с полнотой, достаточной для осуществления, в вышеуказанном (не датированном) Руководстве по эксплуатации «Приводы пружинные ППрК» (ОБП.466.218 РЭ, п.п. 3.1.11 на листах 11-12 Руководства и рис. 7 Приложений к нему), изданным акционерным обществом «Уралэлектротяжмаш» (УЭТМ) и опубликованным в форме электронной копии в сети Интернет 11.10.2009 (см. http://speccmarket.ru/inclex.php?dn=down&id=28&to=open) г. без документального подтверждения этой даты и подлинности этой копии, что по причине, указанной выше (см. абзац 2 на с. 25), по мнению заявителя, также создает проблемную ситуацию с определением новизны признака «привода демпфера отключения» в отношении объекта данной заявки.

[144]

Однако, в отличие от свойства несущественности функциональной конструктивной части «сигнализация о положении контактов управляемого выключателя» указанный рычажный узел в функции «коромысла с люфтом» в составе привода демпфера отключения, как и сам демпфер отключения, наличные в конструктиве заявленной полезной модели. в отношении последней являются существенными признаками, поскольку предназначены не только для гашения колебаний подвижных частей механизма привода-прототипа и ВКА в конце хода контактов последнего в направлении отключения (для повышения надежности привода), но и для ограничения захода ведомого рычага 19 (см. на фиг. 7) за зону его фиксации во «включенном» положении (в конце поворота этого рычага в направлении включения - против часовой по рисунку стрелки), в которой он входит в зацепление посредством подпружиненной защелки 26 с ограничительной осью 14 промежуточного рычага 66 устройства управления отключением.

[145]

Функция люфта в указанном рычажном узле привода демпфера отключения - уменьшение потерь повышенной мощности рабочих пружин, являющейся заявленным техническим результатом, на трение в демпфере отключения (сохранение этой мощности) с момента начала движения рычагов силового механизма включения в направлении включения ВКА и до момента захода подпружиненной защелки 26 ведомого рычага 19 за удерживающую ось 14 устройства управления отключением (см. фиг. 7).

[146]

Тем самым демпфер отключения вместе с приводом демпфера отключения в заявленной полезной модели являются конструктивными частями, необходимыми для осуществления функции привода, то есть для передачи механизму ВКА повышенной мощности силового устройства, являющейся заявленным техническим результатом (при любом - четном или нечетном - числе пружин в блоке рабочих пружин - см. ниже абзац 4 на с. 29, с абзаца 3 на с. 31 по абзац 2 на с. 32), что и определяет их существенность как признаков в отношении заявленной полезной модели (необходимость их включения в ее формулу).

[147]

Далее, с целью решения взаимосвязанных технических проблем, указанных выше в пунктах 1-3 на с. 8. в механизм привода-прототипа введена новая (по отношению к приводу-аналогу) конструкция его силового устройства, состоящая из двух блоков рабочих пружин с верхним расположением натяжного устройства (натяжных болтов), которая, однако, исходя из объема информации в описании привода-прототипа, при применении в блоках рабочих пружин нечетного количества пружин (свыше одной - как, например, на чертеже на фиг. 4) не позволяет решить указанные проблемы и достичь соответствующего технического результата - повышения мощности привода путем увеличения количества рабочих пружин в их блоке и, как следствие, обеспечения (эффекта) возможности операции включения (см. п. 1 на с. 8) и сокращения общего времени подготовки привода к последующей операции включения - по следующим причинам.

[148]

Патентно-правовая методология в части установления сущности заявленной полезной модели РФ с 01 января 2008 года и с 01.10.2014 года по настоящий момент (дату подачи настоящей заявки) не изменена по сравнению с действовавшим до 01.01.2008 г. Патентным законом РФ в редакциях Федеральных законов от 07.02.2003 №22-ФЗ и от 02.02.2006 №19-ФЗ (первая из которых действовала с 11.03.2003 до 07.02.2006 г. - в период выдачи патента РФ на полезную модель №43682 U1, т.е. патента на привод-прототип). А именно: с даты начала действия вышеуказанной второй редакции Патентного закона РФ от 07.02.2003 №22-ФЗ введено правило (подпункты 2) и 4) ч. 2 ст. 17 указанной редакции Патентного закона РФ, подпункты 2) и 4) ч. 2 ст. 1376 действующей редакции ГК РФ), согласно которому сущность полезной модели, сжато (на функциональном уровне) выраженная в ее формуле, раскрывается (с полнотой, достаточной для ее осуществления) лишь в описании полезной модели к заявке / патенту, а чертежи (приложения) служат только «для понимания сущности полезной модели», т.е. для понимания того, что раскрыто в описании и во всяком случае не должны противоречить описанию. Таким образом, текстовая информация в описании имеет приоритет перед информацией, раскрытой в чертежах.

[149]

С другой стороны, в соответствии с Правилами составления, подачи и рассмотрения заявки на выдачу патента на полезную модель, введенными в действие приказом Роспатента от 6 июня 2003 г. N 8324 (24 Зарегистрирован в Минюсте РФ 30 июня 2003 г. N 4845), которые действовали на дату заявки на патентование привода-прототипа (подпункт (3) пункта 17.12 этих Правил в корреспонденции с ч. 1 ст. 20 Патентного закона РФ в вышеуказанной его второй редакции), признак считается отсутствующим в первичных материалах заявки, если он не содержался в ее текстовой части, т.е. в описании или в формуле. Графические материалы при этом во внимание не принимаются.

[150]

Согласно приложению к патенту на привод-прототип (чертежу последнего, см. фиг. 4) рабочие пружины 46 механизма привода образуют трехпружинные блоки - по одному с каждой стороны корпуса привода25 (25 На то, что блоков рабочих пружин в силовом устройстве привода-прототипа именно два (в этом случае очевидно, что по обе стороны корпуса привода - исходя из чертежа и схемы привода, см. фиг. 2 и фиг. 4), указывает использование в описании привода-прототипа (см. абзац 19 этого описания) в отношении признака «нижний пружинодержатель» и характеристики его формы множественного числа (соответственно: «нижние пружинодержатели», «штампованные пластины»). Согласно описанию привода-прототипа (см. абзац 19 этого описания) признаками-связями между осью 10, закрепленной в левом (по рисунку) плече ведущего рычага 7 («верхней траверсой», см. фиг. 4), и зацепами верхних концов рабочих пружин 46 являются «коромысла» и «натяжные болты» - и только: других конструктивных элементов, «приспособленных для соединения… подвижной верхней траверсы 10 с пружинами» (рабочими пружинами) в описании привода-прототипа не указано. При этом неочевидно, к чему относится в описании термин во множественном числе «коромысла», образующие «верхние пружинодержатели»: к обоим деталям, обозначенным на фиг. 4 позициями 73 и 74 в одном блоке рабочих пружин, либо только к деталям, обозначенным позицией 73 там же, в обоих блоках рабочих пружин. Согласно чертежу привода-прототипа на фиг. 4, натяжные болты числом «два» пропущены через концы деталей 73 и 74 симметрично относительно вертикальной поперечной плоскости симметрии этих деталей и соединены с зацепами верхних концов боковых (крайних) пружин (очевидно, что через резьбовое соединение). При этом деталь 73 образует с «верхней траверсой» (осью 10) цилиндрическую вращательную пару и является звеном, близким к классическому определению «коромысла» - равнонагруженным (двуплечим) «рычагом с возможностью неполного поворота (качательного движения) вокруг неподвижной оси, закрепленной в стойке» (в данном случае - вокруг оси 10 как опоры «качания», закрепленной в ведущем рычаге 7), хотя и не образует «вращательных пар с подвижными звеньями, взаимодействующими с его плечами» (в данном случае - с натяжными болтами).

[151]

Конструктивный же элемент 74 (деталь), указанный (изображенный) только на чертеже привода-прототипа (см. фиг. 4), в отношении факта его публичного раскрытия, исходя из чертежа привода-прототипа на фиг. 4, является неопределенным:

[152]

- если эта деталь, исходя из описания привода-прототипа, - (второе) «коромысло» (в верхнем пружинодержателе одного блока рабочих пружин), то ось 75 как опора его «качания» (обязательный элемент «коромысла») должна быть также закреплена «в стойке», каковой может быть, исходя из чертежа на фиг. 4, только ведущий рычаг 7 - что места не имеет, поскольку ось 75, согласно чертежу на фиг. 4, изображена на границе (контура) ведущего рычага 7;

[153]

- если же «ось» 75 на фиг. 4 не закреплена в ведущем рычаге 7, а является с необходимостью лишь элементом цилиндрической вращательной пары (например, шарнирным пальцем), то деталь 74 - не «коромысло», а звено с иной конструктивной характеристикой, из чего следует, что графическая информация о конструктивной сущности детали 74 как об элементе верхнего пружинодержателя (узла, включающего «натяжные болты» и «коромысла») и о характере ее кинематического взаимодействия с другими конструктивными элементами не раскрыта в описании привода-прототипа совсем.

[154]

Таким образом, графическая информация о конструктивной сущности детали 74 (признака) в составе верхнего пружинодержателя привода-прототипа, отраженного на чертеже-приложении к патенту на привод-прототип (см. фиг. 4), не раскрыта в описании привода-прототипа с полнотой, достаточной для осуществления (при любом - четном или нечетном - числе пружин в блоке рабочих пружин, поскольку в описании и формуле привода-прототипа при изложении его сущности нет ограничения в отношении чета/нечета числа рабочих пружин в их блоке), и поэтому фактически и юридически, то есть исходя из нормативных правил, указанных выше с абзаца 5 на с. 27 по абзац 1 на с. 28 (о приоритете описания перед чертежами - приложениями к патенту), не может быть признана раскрытой публично до даты подачи настоящей заявки. Следовательно, деталь 74 в конструкции привода-прототипа не должна приниматься во внимание как наличный признак. В этом случае - исходя из описания привода-прототипа в части верхнего пружинодержателя - следует признать, что конструктивный признак «верхнего пружинодержателя» блока рабочих пружине в приводе-прототипе включает (как конструктивные признаки-элементы) только одно коромысло и натяжные болты, пропущенные через коромысло и соединенные с зацепами верхних концов рабочих пружин блока.

[155]

Из последнего вывода в предыдущем абзаце следует, что конструктивный признак «пружины рабочие» привода-прототипа («силовое устройство» - для заявленной полезной модели) включает в себя в качестве его составных элементов только двухпружинные (или в общем случае - с большим, но четным количеством рабочих пружин) блоки рабочих пружин - при указанной в предыдущем абзаце конструкции верхнего пружинодержателя (см., например, фиг. 5), поскольку при трехпружинном (или с большим, но нечетным количеством рабочих пружин) блоке рабочих пружин и отсутствии дополнительных конструктивных элементов в верхнем пружинодержателе (кроме «коромысла» и натяжных болтов, как в приводе-прототипе - в силу вышеуказанных обстоятельств его описания) для обеспечения равномерной нагруженности коромысла 73 (со всей очевидностью для специалиста) необходимо отверстие в «коромысле» по оси пересечения плоскостей его симметрии - перпендикулярно оси отверстия шарнирного соединения «коромысла» с «верхней траверсой» (осью 10) - для пропуска натяжного болта средней пружины 46 ср (см., например, фиг. 6), что (опять-таки, со всей очевидностью для специалиста) невозможно, поскольку это ослабило бы конструкцию «коромысла» и сделало бы невозможным осуществление функции указанного шарнирного соединения.

[156]

Для преодоления указанного недостатка привода-прототипа - невозможности повышения его мощности путем увеличения количества пружин в блоках рабочих пружин до их нечетного числа (свыше одной) при указанной конструкции верхнего пружинодержателя привода прототипа - в заявленной полезной модели применена существенно отличающая ее от привода-прототипа конструкция верхнего пружинодержателя блока рабочих пружин в составе силового устройства привода.

[157]

Как и в приводе-прототипе, в силовом устройстве привода, соответствующем заявленной полезной модели (см., например, фиг. 8 А), рабочие пружины 46 размещены равным числом на обеих (внешних) сторонах корпуса привода 9. Каждая из равночисленных групп рабочих пружин (в данном случае с нечетным числом пружин) вместе с пружино-держателями (верхним 73-76 и нижним 47) и горизонтальными (перпендикулярными щекам корпуса привода) осями-траверсами26 (26 «Траверса» - элемент несущей (опорной) конструкции: горизонтальная балка (или протяженная деталь, например, ось и т.п. - в машиностроении), установленная на вертикальные несущие элементы (стойки). Указанные ось 10 и ось 49 названы обе «траверсами», поскольку имеют горизонтальное положение, и выполняют идентичную опорную (несущую) функцию для блоков рабочих пружин, хотя ось 10 и не опирается буквально «на вертикальные стойки» - как ось 49. опирающаяся на серьгу 42 как на стойку, закрепленную на корпусе привода непосредственно и через упор 43 (см., например, фиг. 4 или фиг. 7) (подвижной 10 и неподвижной 49; далее, в том числе в формуле заявленной полезной модели, соответственно - «верхняя траверса силового устройства» и «нижняя траверса силового устройства») как элементами соединения (через пружинодержатели) рабочих пружин 46, соответственно, с подвижным ведущим рычагом 7 и неподвижным корпусом привода 9, а также вместе с элементами крепления 42-43 нижней траверсы силового устройства 49 на корпус привода 9 (см. ниже) образуют идентичные, самостоятельные конструктивные узлы (далее каждый такой конструктивный узел, в том числе в формуле заявленной полезной модели - «блок рабочих пружин», см. фиг. 12А-Б, фиг. 13 а).

[158]

Как и в приводе-прототипе, верхняя траверса силового устройства (ось 10 - см., например, фиг. 8А, а также 8Г) жестко закреплена (см. фиг. 13а) в щеках ведущего рычага 7 и, выступая наружу через окна-прорези 78 в корпусе привода 9 (см. фиг. 8А), образует на внешних сторонах последнего одноподвижные цилиндрические вращательные пары с коромыслами 73 верхних пружинодержателей (см. ниже), а также взаимодействует с рычагом-указателем 11 состояния рабочих пружин (см. фиг. 8А), размещенным на внешней стороне корпуса привода идентично тому, как это осуществлено в приводе-прототипе (см. выше абзац 3 на с. 12).

[159]

Как и в приводе-прототипе, нижние пружинодержатели 47 (см., например, фиг. 7) представляют собой равномерно нагруженные двуплечие коромысла (например, пластины треугольной формы, см. фиг. 9а), соединенные в симметрично расположенных точках 77 (например, через отверстия в этих точках и пальцы, см. фиг. 7) с зацепами нижних концов рабочих пружин (например, через проушины этих зацепов), с одной стороны, и, с другой стороны, с нижней траверсой силового устройства (ось 49 - см. фиг. 7), жестко связанной посредством упоров 43 и серег 42 (см. фиг. 7) со щеками корпуса привода 9 (с обеих его, внешних сторон). Нижняя траверса силового устройства 49 в процессе работы механизма привода неподвижна.

[160]

Каждый из верхних пружинодержателей одного блока рабочих пружин заявленной полезной модели (см. фиг. 8А, 12А-Б, фиг. 13а), отличающий последнюю от привода-прототипа, представляет собой комбинацию из трех видов конструктивных элементов:

[161]

- коромысла 73 (фиг. 8А) - равномерно нагруженного на его концах равноплечего рычага (см. фиг. 9б; далее, в том числе в формуле заявленной полезной модели - «коромысло верхнего пружинодержателя»), шарнирно установленного («подвешенного» через втулку в его средней части - см., например, фиг. 8А и фиг. 13а) на верхней траверсе силового устройства 10 и жестко соединенного посредством натяжных болтов 76 с зацепами верхних концов боковых рабочих пружин (далее - «боковые рабочие пружины») через внутренние резьбовые отверстия в этих зацепах при фиксации этого соединения контргайками (фиг. 8А, фиг. 12.А-Б и фиг. 13а-б);

[162]

- из указанных в предыдущем абзаце натяжных болтов 76, пропущенных через отверстия, равномерно размещенные в коромысле 73 относительно его середины (например, на концах его плеч), и имеющие фиксированное резьбовое соединение с зацепами верхних концов рабочих пружин посредством контргаек (см., например, фиг. 8А, фиг. 12А-Б или фиг. 13а-б; далее, том числе в формуле заявленной полезной модели - «натяжные болты»);

[163]

- а также из по меньшей мере двухопорной траверсы 74 (см. фиг. 8А и фиг. 9в; далее - «траверса верхнего пружинодержателя»27 (27 В данном случае деталь 74 - тоже траверса (см. сноску 26 на с. 30), опирающаяся на зацепы боковых рабочих пружин как на стойки и воспринимающая реакцию, по меньшей мере, одной средней рабочей пружины)), опирающейся ее вильчатыми концами на зацепы верхних концов по меньшей мере двух боковых рабочих пружин и находящейся в зацеплении с бобышками зацепов28 (28 Под «бобышкой» здесь понимается короткий выступ (или выпуклость) из поверхности поковки или отливки (в данном случае - зацепа пружины), круглой (в плане), часто - цилиндрической формы, который применяется для усиления стенки детали в месте сверления отверстия под резьбовое соединение с другой деталью (в данном случае - натяжного болта с зацепом рабочей пружины)) этих пружин (см., например, фиг. 12А-Б или фиг. 13а-б) - путем охвата бобышек вильчатыми концами траверсы. Траверса верхнего пружинодержателя шарнирно соединена также посредством, например, одноподвижной цилиндрической вращательной пары (см. ось 75 на фиг. 8А) с зацепом верхнего конца средней пружины трехпружинного блока рабочих пружин, например, через проушину (с пазом) этого зацепа и втулочно-пальцевое соединение с прорезями (двумя отверстиями - в траверсе) для проушины (см. фиг. 12А, вид А-А). В блоке рабочих пружин с большим, чем три (в данном случае - нечетным) количеством рабочих пружин траверса верхнего пружинодержателя может быть шарнирно соединена указанным или иным аналогичным способом (шарнирно) с зацепами нескольких пар рабочих пружин, расположенных вместе со средней пружиной и симметрично относительно нее между несколькими парами боковых рабочих пружин, соединенных с коромыслом верхнего пружинодержателя натяжными болтами (см., например, фиг. 10 А; далее, в том числе в формуле заявленной полезной модели, соответственно - «средние рабочие пружины» и «боковые рабочие пружины»), а также опираться ее более длинными вильчатыми концами на более чем одну пару боковых пружин. Траверса верхнего пружинодержателя фиксируется в указанном положении (между бобышками зацепов верхних концов боковых рабочих пружин) под воздействием (вдоль траверсы) упругой реакции боковых рабочих пружин, расстояние между осями симметрии которых жестко зафиксировано указанным соединением этих пружин с коромыслом верхнего пружинодержателя посредством натяжных болтов, а также под воздействием реакции средних рабочих пружин (действующей вдоль осей симметрии этих пружин).

[164]

Указанная совокупность существенных признаков заявленной полезной модели в составе верхнего пружинодержателя применима для патентования заявленной полезной модели и в случае блоков рабочих пружин с четным количеством пружин (см. фиг. 10Б) - с тем лишь различием, что в этом случае техническим результатом, обеспечиваемым заявленной полезной моделью (заявленным техническим результатом), является результат, идентичный техническому результату привода-прототипа в части повышения мощности привода путем увеличения количества пружин в блоках рабочих пружин до их четного числа (свыше двух), достигаемый в порядке создания технического решения верхнего пружинодержателя, альтернативного конструкции верхнего пружинодержателя привода-прототипа (варианта конструкции верхнего пружинодержателя привода-прототипа при четном числе рабочих пружин в их блоке), то есть путем расширения арсенала технических средств определенного назначения. При этом указанный технический результат, обеспечиваемый заявленной полезной моделью при четном числе рабочих пружин в их блоке, является взаимосвязанным с техническим результатом заявленной полезной модели в части повышения мощности привода путем увеличения количества рабочих пружин до их нечетного числа в блоке рабочих пружин по инвариантности технических средств достижения этих результатов.

[165]

Следует сразу отметить, что заявленным техническим результатом является не только повышение мощности привода путем увеличения количества рабочих пружин в их блоке - как при нечетном, так и при четном их числе - посредством применения новой конструкции верхнего пружинодержателя в заявленной полезной модели, но и взаимосвязанный с указанными выше технический результат периодической передачи повышенной мощности силового устройства привода управляемому ВКА, обеспечиваемый заявленной полезной моделью (иначе повышение мощности не имеет смысла), то есть операции привода, причем операции многократной (повторяющейся), что определяет совокупность существенных признаков заявленной полезной модели (например, признаков «электропривода силового устройства» и «устройства управления включением», обеспечивающих периодический завод рабочих пружин, то есть повторяющееся генерирование повышенной мощности и ее накопление в блоках рабочих пружин «силового устройства» как одного из существенных признаков).

[166]

В качестве конструкции зацепов рабочих пружин (далее, в том числе в формуле заявленной полезной модели - «зацепы» рабочих пружин) могут быть использованы, например, ввертные резьбовые пробки: при этом зацепы верхних концов боковых рабочих пружин имеют внутреннее резьбовое отверстие для зацепления с натяжными болтами (через бобышки, см., например, фиг. 11а и 11в), а зацепы верхних концов средних рабочих пружин, и зацепы нижних концов всех рабочих пружин - например, проушину с пазом (двойную) или одинарную (см. фиг. 11в и фиг. 11б).

[167]

Собственно пружины (винтовые, цилиндрические, растяжения) имеют два варианта исполнения: простые (см. фиг. 11а-б, далее - «одинарные» рабочие пружины) или составные, концентрично установленные (см. фиг. 11в, далее - «двойные» рабочие пружины). Последние отличаются друг от друга по диаметру так, что одни могут размещаться внутри других. Зацепы (например, ввертные резьбовые пробки) могут быть, соответственно, исполнены также в двух вариантах (ср. фиг. 11а-б и фиг. 11в). Это позволяет использовать либо одинарные рабочие пружины, либо двойные рабочие пружины.

[168]

На фиг. 1 представлена упрощенная принципиальная (кинематическая) схема привода-аналога заявленной полезной модели как она приведена в источнике: В.В. Афанасьев, Э.Н. Якунин «Приводы к выключателям и разъединителям высокого напряжения» - Л.: Энергоатомиздат. Ленинградское отделение, 1982, с. 210-214 (с добавлением позиций, необходимых для раскрытия сущности аналога и его отличий от прототипа и заявленной полезной модели).

[169]

На фиг. 2 представлена упрощенная принципиальная (кинематическая) схема привода-прототипа как она приведена на фиг. 1 в приложениях к патенту РФ на полезную модель №43682 U1 (с добавлением позиций, необходимых для раскрытия сущности прототипа и его отличий от привода-аналога и заявленной полезной модели).

[170]

На фиг. 4 представлен чертеж привода-прототипа (сборка) как он приведен на фиг. 2 в приложениях к патенту РФ на полезную модель №43682 U1 (с добавлением позиций, необходимых для раскрытия сущности прототипа и его отличий от привода-аналога и заявленной полезной модели).

[171]

На фиг. 3А-3В приведены упрощенные принципиальные (кинематические) схемы, поясняющие кинематическое взаимодействие совпадающих элементов и устройств привода-прототипа и заявленной полезной модели в составе функциональной конструктивной части - существенного признака, представленного в формуле заявленной полезной модели на уровне функционального обобщения как «кинематические элементы управления электродвигателем и подготовкой к включению устройства управления включением» (см. с абзаца 3 на с. 12 по абзац 1 на с. 14 настоящего описания).

[172]

На фиг. 5 представлен чертеж (сборка) возможного варианта привода-прототипа (с четным числом рабочих пружин в блоках рабочих пружин силового устройства и верхним пружинодержателем, включающим только одно коромысло и натяжные болты, пропущенные через коромысло и соединенные с зацепами верхних концов рабочих пружин блока) - исходя из наличия дефектов формы описания полезной модели к патенту на привод-прототип и правил регистрации полезных моделей (см. выше с абзаца 2 на с. 28 по абзац 3 на с. 29 настоящего описания).

[173]

На фиг. 6 представлен чертеж (сборка) блока рабочих пружин, поясняющий невозможность осуществления блока рабочих пружин с нечетным количеством пружин и с верхним пружинодержателем, включающим только одно коромысло и натяжные болты, пропущенные через коромысло и соединенные с зацепами верхних концов рабочих пружин блока (без дополнительных конструктивных элементов в этом пружинодержателе).

[174]

На фиг. 7 представлена упрощенная принципиальная (кинематическая) схема заявленной полезной модели в варианте (примере) ее осуществления, аналогичном конструкции привода-прототипа как она отражена на фиг. 1 в приложении к патенту на привод-прототип (с трехпружинными блоками рабочих пружин - см. фиг. 2-приложение к данной заявке), - с идентичными номерами позиций сходных признаков, включая номера позиций признаков, наличие которых в приводе-прототипе и их совпадение с признаками заявленной полезной модели является спорным по мнению заявителя по данной заявке.

[175]

На фиг. 8А представлен чертеж (сборка) заявленной полезной модели в варианте (примере) ее осуществления, аналогичном конструкции привода-прототипа как она отражена на фиг. 2 в приложении к патенту на привод-прототип (с трехпружинными блоками рабочих пружин- см. фиг. 4-приложение к данной заявке), - с идентичными номерами позиций сходных признаков, включая номера позиций признаков, наличие которых в приводе-прототипе и их совпадение с признаками заявленной полезной модели является спорным по мнению заявителя по данной заявке.

[176]

На фиг. 8Б-Г представлены чертежи варианта осуществления заявленной полезной модели (без блоков рабочих пружин и цепи понижающей цепной передачи в составе электропривода силового устройства) во фронтальной проекции (фиг. 8Б), разреза Б-Б в горизонтальной плоскости (фиг. 8В) и в аксонометрической проекции (фиг. 8Г).

[177]

На фиг. 9а-в представлены чертежи вариантов осуществления существенных признаков заявленной полезной модели: нижнего пружинодержателя (фиг. 9а), коромысла верхнего пружинодержателя (фиг. 9б) и отличительного существенного признака «траверсы верхнего пружинодержателя» (фиг. 9в) во фронтальной и горизонтальной проекциях (с местными разрезами).

[178]

На фиг. 10А представлен чертеж (сборка) варианта осуществления блока рабочих пружин с нечетным числом пружин (5 пружин) и верхнего пружинодержателя заявленной полезной модели.

[179]

На фиг. 10Б представлен чертеж (сборка) варианта осуществления блока рабочих пружин с четным числом пружин (4 пружины) и верхнего пружинодержателя заявленной полезной модели.

[180]

На фиг. 11а-в представлены чертежи (сборки) варианта осуществления одинарных и двойных рабочих пружин заявленной полезной модели с соответствующими конструкциями их зацепов в форме ввертных резьбовых пробок (с местными разрезами)

[181]

На фиг. 12А представлен чертеж (сборка) в трех основных ортогональных проекциях варианта осуществления трехпружинного блока рабочих пружин с добавлением горизонтального разреза А-А в соединении с видом, поясняющим характер кинематического взаимодействия элементов траверсы верхнего пружинодержателя заявленной полезной модели с зацепами верхних концов рабочих пружин.

[182]

На фиг. 12Б представлена та же информация, что и на фиг. 12А, но в аксонометрической проекции.

[183]

На фиг. 13а-б представлена та же информация, что и на фиг. 12А и 12Б, но в виде фотоизображений.

[184]

На фиг. 14А-Б представлен вид демпфера отключения в кинематическом взаимодействии с приводом демпфера отключения во фронтальной проекции с вертикальным фронтальным разрезом демпфера отключения - в положении включенного ВКА (фиг. 14А) и отключенного ВКА (фиг. 14Б).

[185]

На фиг. 15 представлен вертикальный фронтальный разрез демпфера включения в его исходном положении (готовности ко включению ВКА).

[186]

На фиг. 16а представлен вид приводного электромагнита в составе устройства управления включением во фронтальной проекции с частичным (местным) разрезом.

[187]

На фиг. 16б представлен вертикальный фронтальный разрез приводного электромагнита в составе устройства управления отключением в его исходном положении (готовности к отключению ВКА).

[188]

На фиг. 17А представлены виды устройства управления включением и устройства управления отключением (при включенном ВКА) с их приводными электромагнитами во фронтальной проекции и с местными вертикальными разрезами осей их рычагов и упоров, кронштейна, а также электромагнита устройства управления включением.

[189]

На фиг. 17Б представлен выносной элемент А на фиг. 17А, поясняющий взаимодействие (расцепление с регулируемым зазором в плоскостной поступательной паре в форме защелки) рычага 61 («второго (считая от входного) звена устройства управления отключением - в формуле заявленной полезной модели) с рычагом 21 («третьим (считая от входного) звеном устройства управления отключением) в положении расцепления этих рычагов (при отключенном ВКА).

[190]

На фиг. 17В представлен выносной элемент Б на фиг. 17А в части взаимодействия рычага 61 через общую промежуточную планку 147 с толкателями 133 приводных электромагнитов 152 устройства управления отключением.

[191]

На фиг. 17Г представлена профильная проекция устройства управления отключением в части приводных электромагнитов устройства и их кронштейна (вид В на фиг. 17А).

[192]

Пример осуществления привода демпфера отключения в конструктиве заявленной полезной модели описан выше (см. с абзаца 5 на с. 25 по абзац 1 на с. 26), а пример осуществления ее демпфера отключения пояснен на фиг. 14А и фиг. 14Б.

[193]

Демпфер отключения (см. фиг. 14А-Б), установленный посредством проушины 102 на оси в корпусе привода (см. фиг. 8Г), представляет собой гидравлический (жидкостно-пружинный) демпфер вязкого трения поршневого типа с обратным клапаном29 (29 В демпфере отключения запирающий элемент обратного клапана 92 (см. рис. 14А) установлен с возможностью свободного перемещения ("плавания") по нижней части шток-поршня 87 - между стопорной гайкой 93 и седлом обратного клапана в поршне). Рабочей жидкостью в демпфере отключения служит силиконовое масло ПМС-200 (далее - «рабочая жидкость»). Силиконовое масло применяется в промышленности в качестве замены минеральных и синтетических масел.

[194]

На прямом ходе демпфера отключения (при отключении выключателя под действием его собственных пружин) происходит поворот шлицевого вала 67 (общей оси ведущего 7 и ведомого 19 рычагов силового механизма включения) по часовой (по рисунку) стрелке (см. фиг. 14А-Б), вследствие чего поворачивается в том же направлении и ведущий рычаг 81 привода демпфера отключения. После поворота последнего на некоторый угол, определяемый величиной промежутка между ограничителями свободного хода ведущего рычага 82 - болтами-стопорами 83 и 80, установленными внутри ведомого рычага 81. последний (под действием ведущего рычага 82) также поворачивается по часовой стрелке, приводя в движение (опуская) шток 87, выполненный как одно целое с поршнем демпфера отключения (на фиг. 14А-Б поршень номером позиции не обозначен, далее - «шток-поршень 87» и «поршень», соответственно)30. (30 Позиции 86 и 88 на фиг. 14А - это передняя крышка (грундбукса с грязесъемником).

[195]

При ускорении движения шток-поршня 87 вниз (на прямом ходе - см. фиг. 14Б) обратный клапан демпфера отключения закрывается (запирающий элемент обратного клапана 92 поднимается по нижней части шток-поршня 87 до упора в седло, выполненное в поршне - см. фиг. 14А). Опускаясь, поршень вытесняет рабочую жидкость из подпоршневой полости гильзы 90 в полость между корпусом демпфера отключения 91 и гильзой 90 через калиброванные отверстия в последней. По ходу поршня (вниз) количество калиброванных отверстий, задействованных в дросселировании, и площадь сечения последних уменьшаются, что увеличивает сопротивление перемещению вниз шток-поршня 87 и плавно затормаживает все части выключателя и привода, движущиеся при отключении. Это движение прекращается при упоре серьги 28 силового механизма включения (см. фиг. 7) посредством ее упора 70 в ограничитель хода серьги в направлении отключения - в прокладки 71, закрепленные в рамке 29 на бобышке 63.

[196]

На обратном ходе (при включении выключателя - см. фиг. 14А) вышеуказанные звенья кинематической цепи привода демпФеоа отключения движутся в обратном направлении, при этом рабочая жидкость из надпоршневой («штоковой») полости и полости между корпусом демпфера отключения 91 и гильзой 90 через вышеуказанные калиброванные отверстия в гильзе 90 и открытый обратный клапан демпфера отключения перетекает в подпоршневую полость гильзы 90. практически не замедляя процесса включения. Во включенном положении выключателя конструктивные элементы демпфера отключения занимают положение, указанное на Фиг. 14А.

[197]

Пример осуществления демпфера включения в конструктиве заявленной полезной модели приведен на фиг. 15.

[198]

Демпфер включения (см. фиг. 15) установлен в передней части корпуса привода (см. поз. 5 на фиг. 7, фиг. 8Б и 8Г). Корпус демпфера включения вставлен сверху в отверстие перемычки между щеками корпуса привода без какого-либо крепления. Фланец 112 корпуса демпфера (см. фиг. 15) опирается на эту перемычку. Между фланцем и перемычкой могут быть установлены регулировочные шайбы - для регулирования положения демпфера включения по высоте.

[199]

Демпфер включения предназначен для гашения кинетической энергии и механических колебаний подвижных частей выключателя и силового механизма включения привода, а также для ограничения хода ведущего рычага 7 этого механизма в конце операции включения, когда этот рычаг при его повороте в направлении включения упирается своим роликом 6 (см. фиг. 7) в крышку 111 плунжера 110 демпфера (см. фиг. 15).

[200]

Демпфер «включения» (см. фиг. 15) представляет собой гидравлический (жидкостно-пружинный) демпфер вязкого трения поршневого типа с клапаном торможения (обратным клапаном) на прямом ходе.

[201]

Рабочая жидкость (трансформаторное масло, далее - «рабочая жидкость») при опускании поршня 10б под воздействием на него плунжера 110 при прямом ходе (при включении выключателя) перетекает из корпуса 115 в полость плунжера 110 через «каналы» в штоке 113 - пазы-проточки на поверхности штока под углом к его осевой линии, образующие калиброванные отверстия малого сечения с поверхностью центрального отверстия в обратном клапане 105, прижатом к поршню 106 собственной пружиной 116 и потоком рабочей жидкости, чем создается сильное (гасящее механические колебания) сопротивление большбму силовому воздействию на плунжер 110 со стороны силового механизма включения привода («мягкое» торможение последнего в завершающей фазе включения выключателя - см. фиг. 3А). При этом шток 113 (см. фиг. 15) при его упоре в поршень 107 плунжера 110 перемещает этот поршень вверх, сжимая пружину возврата 108 последнего и освобождая место для рабочей жидкости.

[202]

При обратном ходе - после снятия воздействия ведущего рычага 7 силового механизма включения (см. фиг. 7) на плунжер 110 демпфера включения (см. фиг. 15) - возвратная пружина 108 поршня 107 возвращает последний в исходное (нижнее) положение и вытесняет рабочую жидкость обратно в корпус 115 уже через центральное отверстие в поршне 106, в основном минуя вышеуказанные калиброванные отверстия, образуемые косыми пазами в штоке 113 и поверхностью центрального отверстия в обратном клапане 105, отжатом вниз потоком жидкости по причине значительно , чем сечения указанных калиброванных отверстий, сечения центрального отверстия в поршне 106 («дроссель переменного сечения»). При этом возвратные пружины 104 и 114 возвращают поршень 106, а через него - и плунжер 110 в исходное (верхнее) положение31. (31 Позиции 103, 117 и 109 на фиг. 15 - это, соответственно, дно (задняя крышка), ее уплотнитель и грязесъемники передней крышки демпфера включения.)

[203]

Примеры осуществления приводных электромагнитов в составе устройства управления включением и устройства управления отключением приведены на фиг. 16а-б.

[204]

Конструкция приводного электромагнита устройства управления включением (позиция YA2 на фиг. 7) пояснена на Фиг. 16а и фиг. 17А. Этот электромагнит (далее - «электромагнит включения»), установленный вертикально (его якорь и толкатель движутся вертикально) посредством кронштейна на корпусе привода 9 (или непосредственно на корпусе привода 9 - см. фиг. 17А), состоит (см. фиг. 16а): из катушки 126, из якоря, выполненного заодно с толкателем 128, и упорной шайбы 120, из двух крышек 124 и 130 из ферромагнитного материала с впрессованными в них втулками 125 и 119 из такого же материала, соединенными между собой немагнитной втулкой 121 - для обеспечения их соосности (втулка 119 выполняет функции контрполюса и направляющей толкателя 128), а также из трех стоек (шпилек) 129, служащих (как и сами крышки с втулками) магнитопроводом (сердечником).

[205]

Кроме того, электромагнит включения имеет кнопку 123 для ручного включения привода, размещенную в гетинаксовой пластине 122, закрепленной на крышке 124 электромагнита.

[206]

Катушка 126 электромагнита включения - односекционная, состоит из каркаса, выполненного из термореактивного изоляционного материала, и из обмотки, концы которой 127 выведены на клеммные зажимы, установленные на корпусе привода.

[207]

Конструкция каждого из приводных электромагнитов устройства управления отключением (позиции YA1 и YA3 на фиг. 7, далее - «электромагнит отключения») пояснена на фиг. 16б и фиг. 17А-Г. Эта конструкция несколько отличается от конструкции электромагнита включения.

[208]

Электромагнит отключения 152 устанавливается посредством кронштейна 145 и болтов 144 (см. фиг. 17А) на корпусе привода 9 в горизонтальном положении (его якорь и толкатель движутся горизонтально). Конструкция этого электромагнита включает (см. фиг. 16б): односекционную катушку 136 с немагнитной прокладкой 135, якорь 138 с двумя хвостовиками для упора в толкатель 133 через торцевую упорную площадку на внутреннем конце толкателя и в регулировочный винт 139, а также магнитопровод (сердечник), образованный скобой 131 из ферромагнитного материала, выполняющей одновременно функции верхней и нижней крышек (корпуса электромагнита - см. на фиг. 16б) и элемента крепления электромагнита к его кронштейну 145 (см. на фиг. 17А), втулкой 140 из ферромагнитного материала, служащей направляющей для якоря 138 (см. фиг. 16б), и концентрично установленной в нее втулкой 134 из такого же материала, служащей направляющей для толкателя 133, имеющей торцевые цилиндрические пазы на ее внутреннем конце (для упора в них толкателя 133 и якоря 138) и закрепленной в скобе 131 посредством разрезной пружинной шайбы и гайки 132.

[209]

Якорь 138 электромагнита отключения (см. фиг. 16б) связан с его толкателем 133, воздействующим на отключающую («дополнительную») собачку 61 (см. фиг. 17А), только односторонней связью: в отличие от якоря с толкателем 128 электромагнита включения (см. фиг. 16а) - это отдельные детали.

[210]

Регулировочный винт 139 (см. на фиг. 16б и фиг 17А) служит для настройки крайнего (исходного) положения якоря 138 и толкателя 133 электромагнита отключения. Регулировочный винт 139 имеет направляющую в металлической втулке (см. фиг. 166), закрепленной посредством резьбового соединения (разрезной пружинной шайбы и гайки) в торцевом отверстии гетинаксовой пластины 141, закрепленной винтами на скобе 131.

[211]

Концы обмотки 137 катушки 136 выведены на зажимы клеммной колодки 151 (см. фиг. 17А).

[212]

Примеры осуществления устройства управления включением и устройства управления отключением приведены на фиг. 17А-Г.

[213]

Устройство управления включением (см. фиг. 17А слева) в конструкции заявленной полезной модели реализовано в форме рычажного механизма, часть элементов которого размещены между щек корпуса привода. Этот механизм состоит: из «входного звена» - вертикально ориентированного толкателя (с приводом от внутреннего вертикально перемещаемого якоря) дистанционно управляемого приводного электромагнита (см. фиг. 16а и описание примера осуществления этого электромагнита выше), из подпружиненной «собачки» 13 («среднего звена» механизма - в формуле заявленной полезной модели, см. фиг. 17 А), установленной на оси между ее опор в щеках корпуса привода с упором ее длинным плечом в толкатель электромагнита в любом его положении и взаимодействующей ее коротким плечом-упором (с рабочей поверхностью на торце этого плеча в форме фрагмента цилиндрической поверхности) через высшую кинематическую пару с роликом на плече «промежуточного рычага» 18, противоположном плечу с удерживающей осью 65, в их исходном положении, а также из самого «промежуточного рычага» 18 («выходного звена» механизма - в формуле заявленной полезной модели), установленного на оси между ее опор в щеках корпуса привода и подпружиненного посредством возвратной пружины в направлении его исходного положения готовности к заводу рабочих пружин, определяемого стопором 142, установленным в корпусе привода. Регулировочный винт 143 для регулировки хода длинного плеча «собачки» 13 (путем использования прокладок под его головкой - см. фиг. 17А) находится в самом этом плече.

[214]

Выходное звено 18 устройства управления включением в его исходном положении (в положении готовности к заводу рабочих пружин - см. фиг. 17А слева) установлено с возможностью его сцепления с ведущим рычагом 7 силового механизма включения через «удерживающую ось» 65 и подпружиненную защелку 8 на плече этого рычага (см. фиг. 7), а также расцепления с этим рычагом - в положении поворота выходного звена 18 против направления действия его возвратной пружины под действием на него через этот рычаг и подпружиненную защелку 8 этого рычага заведенных рабочих пружин при снятом удерживающем упоре короткого плеча среднего звена 13 в положении поворота этого звена из его исходного положения против направления действия его возвратной пружины под действием толкателя электромагнита.

[215]

Устройство управления отключением (см. фиг. 17А) в конструкции заявленной полезной модели установлено в передней верхней части корпуса привода, правее (по рисунку) устройства управления включением (частично между щеками корпуса привода). Его назначение - удержание ВКА в состоянии включения и отключение ВКА.

[216]

Кинематически устройство управления отключением заявленной полезной модели может быть реализовано в форме рычажного механизма, состоящего: из двух дистанционно управляемых, действующих независимо друг от друга приводных электромагнитов 152 с горизонтально перемещаемым внутренним якорем, установленных на корпусе привода посредством скобы 131 (корпуса электромагнита - см. фиг. 16б), кронштейна 145 и болтов 144 (см. фиг. 17А и 17Г): из толкателей 133 этих электромагнитов («входного звена» механизма - в формуле заявленной полезной модели) с приводом от их якорей (см. фиг. 16б, фиг. 17А, 17В и 17Г); из подпружиненной посредством возвратной пружины 155 рукоятки 72 ручного отключения ВКА (см. фиг. 17Г и 17А), установленной на опорах вращения в кронштейне 145 и воздействующей на «дополнительную собачку» 61; из «дополнительной собачки» 61 (далее - «дополнительная собачка 61», «второе («считая от входного) звено» устройства - в формуле заявленной полезной модели) - подпружиненного посредством возвратной пружины 14932 (32 Винт 150 (см. фиг. 17А) выполняет функцию регулировки натяжения этой возвратной пружины) двуплечего рычага (см. фиг. 17А и 17Г), установленного посредством оси 146 на кронштейне 145 с возможностью взаимодействия с толкателями 133 электромагнитов через общую промежуточную планку 147 (см. фиг. 17В и 17Г), жестко закрепленную на верхнем (по рисунку) плече рычага 61, с одной стороны, а, с другой стороны, с «собачкой 21» (см. фиг. 17Б и 17А); из подпружиненной, эксцентриковой (в ее коротком плече) «собачки» 21, установленной на оси между ее опор в корпусе привода (далее - «собачка 21», «третье («считая от входного) звено» - в формуле заявленной полезной модели) и взаимодействующей ее длинным плечом с дополнительной собачкой 61 через плоскостную поступательную пару в форме защелки (см. выносной элемент А на фиг. 17А) в положении включенного ВКА (то есть при зацеплении ведомого рычага 19 силового механизма включения через его подпружиненную защелку 26 с удерживающей осью 14 устройства, см. там же), с одной стороны, а, с другой стороны, взаимодействующей ее коротким плечом с «промежуточным» рычагом 66 (также подпружиненным и двуплечим, далее - «промежуточный рычаг 66», см. фиг. 17А, «выходное звено» - в формуле заявленной полезной модели) через высшую кинематическую пару, образуемую «цилиндрической» рабочей поверхностью на торце этого (короткого) плеча и роликом на плече «выходного звена» 66, противоположном плечу с «удерживающей осью» 14.

[217]

В положении выключенного ВКА (см. фиг 7) дополнительная собачка 61 и собачка 21 под действием их возвратных пружин находятся в положении расцепления с регулируемым зазором33 (33 Зазор регулируется регулировочным болтом 154 с прокладками под его головкой путем упора этого болта в кронштейн 145 электромагнитов (см. фиг. 17В) (в их исходном положении готовности ко включению ВКА - см. фиг. 17Б), а силовое замыкание (через общую промежуточную планку 147) между дополнительной собачкой 61 и толкателями 133 электромагнитов отсутствует (см. фиг. 17В) в силу того, что исходное положение дополнительной собачки 61 определяется стопором 148 (регулировочным болтом с прокладками под его головкой), установленным в кронштейне электромагнитов, а не ее упором в толкатели 133, вдвинутые в электромагниты до упора.

[218]

С целью повышения быстродействия привода при выполнении операции отключения выключателя (без увеличения потребляемой мощности электромагнитов 152), рабочая поверхность короткого плеча собачки 21, представляющая собой фрагмент цилиндрической поверхности (см. фиг. 17А) позиционирована эксцентрично относительно оси вращения самой собачки 21 (признак, не являющийся существенным). В результате такого позиционирования короткого плеча (эксцентрика) собачки 21 последняя под действием усилия со стороны отключающих пружин ВКА, передаваемого через кинематическую цепь (см. фиг. 7) «тяга 69 ВКА - серьга 28 - ось 27 - ведомый рычаг 19 - «зуб» 26 ведомого рычага (подпружиненная защелка 26 - см. фиг. 17А) - промежуточный рычаг 66 - собачка 21», легче и быстрее осуществляет поворот по часовой стрелке (для освобождения промежуточного рычага 66 и через него (см. фиг. 7) ведомого рычага 19 и связанной с ним тяги 69 ВКА), чему препятствует только дополнительная собачка 61. Последняя, выполняя роль «спускового крючка», под воздействием на нее толкателя любого из электромагнитов 152, срабатывающих по команде от оператора (со щита управления) или от устройств защиты (или под воздействием рукоятки 72 ручного отключения ВКА) освобождает собачку 21 и запускает устройство управления отключением.

[219]

Как и в устройстве управления отключением привода-прототипа, рукоятка 72 ручного отключения ВКА (двуплечий, подпружиненный рычаг, установленный на кронштейне электромагнитов - см. на фиг. 17А и 17Г) служит параллельным входным звеном кинематической цепи устройства управления отключением описанного варианта осуществления заявленной полезной модели (несущественный признак).

[220]

Осуществление заявленной полезной модели в остальных ее существенных признаках (конструктивных функциональных частях и деталях) раскрыто выше с полнотой, достаточной для понимания специалистом, в ходе описания сущности заявленной полезной модели и ее прототипа (в части их совпадающих существенных признаков).

Как компенсировать расходы
на инновационную разработку
Похожие патенты