патент
№ RU 176075
МПК F16K3/06

Задвижка дисковая

Авторы:
Чикуров Антон Юрьевич Лоскутникова Светлана Сергеевна Печенюк Иван Сергеевич
Все (6)
Номер заявки
2017100385
Дата подачи заявки
09.01.2017
Опубликовано
27.12.2017
Страна
RU
Как управлять
интеллектуальной собственностью
Чертежи 
2
Реферат

Полезная модель относится к области нефтяного и химического машиностроения и может быть использована в качестве запирающего и регулирующего устройства на трубопроводах и каналах скважин.Задвижка дисковая содержит корпус из двух соединенных между собой полукорпусов, образующих осевой канал, между которыми в цилиндрических радиусных расточках размещен дисковый шибер с осевым отверстием, с закрепленным в его дуговой радиусной расточке зубчатым венцом, с возможностью взаимодействия с зубьями шестерни приводного вала, установленного в полукорпусах, и связанного с устройством вращения приводного вала для открытия-закрытия шибера, причем дисковый шибер закреплен на оси вращения, установленной между полукорпусами. Цилиндрические радиусные расточки в полукорпусах выполнены симметрично, механизм вращения приводного вала для открытия - закрытия шибера выполнен в виде храпового механизма, а приводной вал закреплен на втулках, установленных в полукорпусах.Изготовление полукорпусов с симметричными цилиндрическими радиусными расточками упрощает конструкцию и повышает технологичность их изготовления, позволяет унифицировать конструкцию и технологию изготовления дисковой задвижки.

Формула изобретения

Задвижка дисковая, содержащая корпус из двух соединенных между собой полукорпусов, образующих осевой канал, между которыми в цилиндрических радиусных расточках размещен дисковый шибер с осевым отверстием и с закрепленным в его дуговой радиусной расточке зубчатым венцом с возможностью взаимодействия с зубьями шестерни приводного вала, установленного в полукорпусах и связанного с рукояткой вращения приводного вала для открытия - закрытия шибера, причем дисковый шибер закреплен на оси вращения, установленной между полукорпусами, отличающаяся тем, что цилиндрические радиусные расточки в полукорпусах выполнены симметрично, а приводной вал закреплен на втулках, установленных в полукорпусах.

Описание

[1]

Полезная модель относится к области нефтяного и химического машиностроения и может быть использована в качестве запирающего и регулирующего устройства на трубопроводах и каналах скважин, транспортирующих рабочую среду, например нефть, техническую воду.

[2]

Из уровня техники известен нефтяной затвор (патент US №917970, опубл. 13.04.1909 г.), состоящий из двух соединенных между собой полукорпусов, в которых симметрично выполнены цилиндрические радиусные расточки, между которыми установлена на оси дисковая задвижка, имеющая на двух третях своего размера зубчатый венец, взаимодействующий с зубчатой шестерней, закрепленной на приводном валу, установленном на подшипниках скольжения в выемке и отверстии, выполненных соответственно в левом и правом полукорпусах.

[3]

К недостаткам данного нефтяного затвора можно отнести следующее:

[4]

- отсутствие механизма смазки зубчатых шестерен приводит к снижению работоспособности нефтяного затвора;

[5]

- отсутствие съемных седел, установленных в расточках полукорпусов, приводит к невозможности проведения ремонта нефтяного затвора;

[6]

- крепление к трубопроводу при помощи конической трубной резьбы, усложняет установку на трубопроводе;

[7]

- отсутствие уплотнений в соединении заслонки и полукорпусов приводит к негерметичной работе нефтяного затвора;

[8]

- наличие двух валов: вал-шестерня для перемещения заслонки и вал стопорный для фиксации положения заслонки усложняет конструкцию и эксплуатацию нефтяного затвора.

[9]

Известна задвижка (патент РФ №2286499, МПК F16K 3/06, опубл. 10.05.2006 г.), содержащая корпус, состоящий из двух соединенных между собой полукорпусов, между которыми закреплено промежуточное кольцо, в полости которого с возможностью поворота в своей плоскости размещен шибер, зубчатый венец, установленный с возможностью поворота и взаимодействующий с приводным валом, притом зубчатый венец установлен в полости, образованной шибером, промежуточным кольцом и полукорпусами, а в шибере выполнен уступ с возможностью взаимодействия с зубчатым венцом. Указатель положения шибера выполнен в виде пары винт-гайка, винт установлен на приводном валу, а гайка удерживается от проворота корпусом указателя положения шибера и установлена с возможностью поступательного движения.

[10]

К недостаткам конструкции устройства можно отнести следующее:

[11]

- наличие промежуточного кольца между полукорпусами усложняет конструкцию задвижки, требует достаточно высокой точности изготовления сопрягаемых деталей, увеличивает количество технологических и контрольных операций, количество измерительного инструмента при ее изготовлении, требует дополнительных затрат рабочего времени, все это повышает себестоимость изделия;

[12]

- подача смазочной жидкости и консерванта с применением клапана нагнетательного к зубчатому зацеплению затруднена из-за отсутствия подающего канала;

[13]

- в процессе работы задвижки в положении «открыто» при длительной эксплуатации имеет место изменение свойств смазочной и консервирующей жидкостей, появление окислов, что приводит к неполному «открытию», «закрытию» шибера.

[14]

Наиболее близким к заявленному техническому решению является задвижка дисковая (патент РФ №2547200, МПК F16K 3/06, опубл. 10.04.2015 г.), содержащая корпус из двух соединенных между собой полукорпусов, шибер с зубчатым венцом в радиусной расточке, установленный в расточке полукорпуса на оси вращения с возможностью взаимодействия с зубьями приводного вала, установленного на подшипниках скольжения, при этом устройство снабжено подпятником, размещенным в цилиндрической расточке полукорпуса и выполненным в виде стакана, на внешней цилиндрической поверхности которого выполнен ряд продольных пазов, совмещенных с поперечными пазами, выполненными на его днище с коническим отверстием внутри, обращенным большим основанием конуса к приводному валу, на торце которого выполнено отверстие и установлен шарик с возможностью взаимодействия с поверхностью конуса в теле подпятника, причем в шибере на периферийных участках радиусной расточки выполнены карманы, а подшипник скольжения размещен внутри подпятника.

[15]

Недостатки данной конструкции заключаются в следующем.

[16]

Существенная разница в конструкциях и технологиях изготовления полукорпусов увеличивает количество технологических и контрольных операций, требует повышенных материальных затрат, затрат рабочего времени на механическую обработку и контрольные операции, что повышает себестоимость продукции. Кроме того, большая камера между зубчатым венцом и цилиндрической расточкой увеличивают расход смазочной жидкости и консерванта.

[17]

Техническим результатом полезной модели является повышение технологичности изготовления дисковой задвижки вследствие упрощения ее конструкции.

[18]

Технический результат достигается задвижкой дисковой, содержащей корпус из двух соединенных между собой полукорпусов, образующих осевой канал, между которыми в цилиндрических радиусных расточках размещен дисковый шибер с осевым отверстием и с закрепленным в его дуговой радиусной расточке зубчатым венцом с возможностью взаимодействия с зубьями шестерни приводного вала, установленного в полукорпусах и связанного с механизмом вращения приводного вала для открытия - закрытия шибера, причем дисковый шибер закреплен на оси вращения, установленной между полукорпусами.

[19]

В отличие от прототипа цилиндрические радиусные расточки в полукорпусах выполнены симметрично, а приводной вал закреплен на втулках, установленных в полукорпусах.

[20]

Сущность изобретения поясняется чертежами, где на фиг. 1 показана задвижка дисковая, на фиг. 2 - дисковый шибер.

[21]

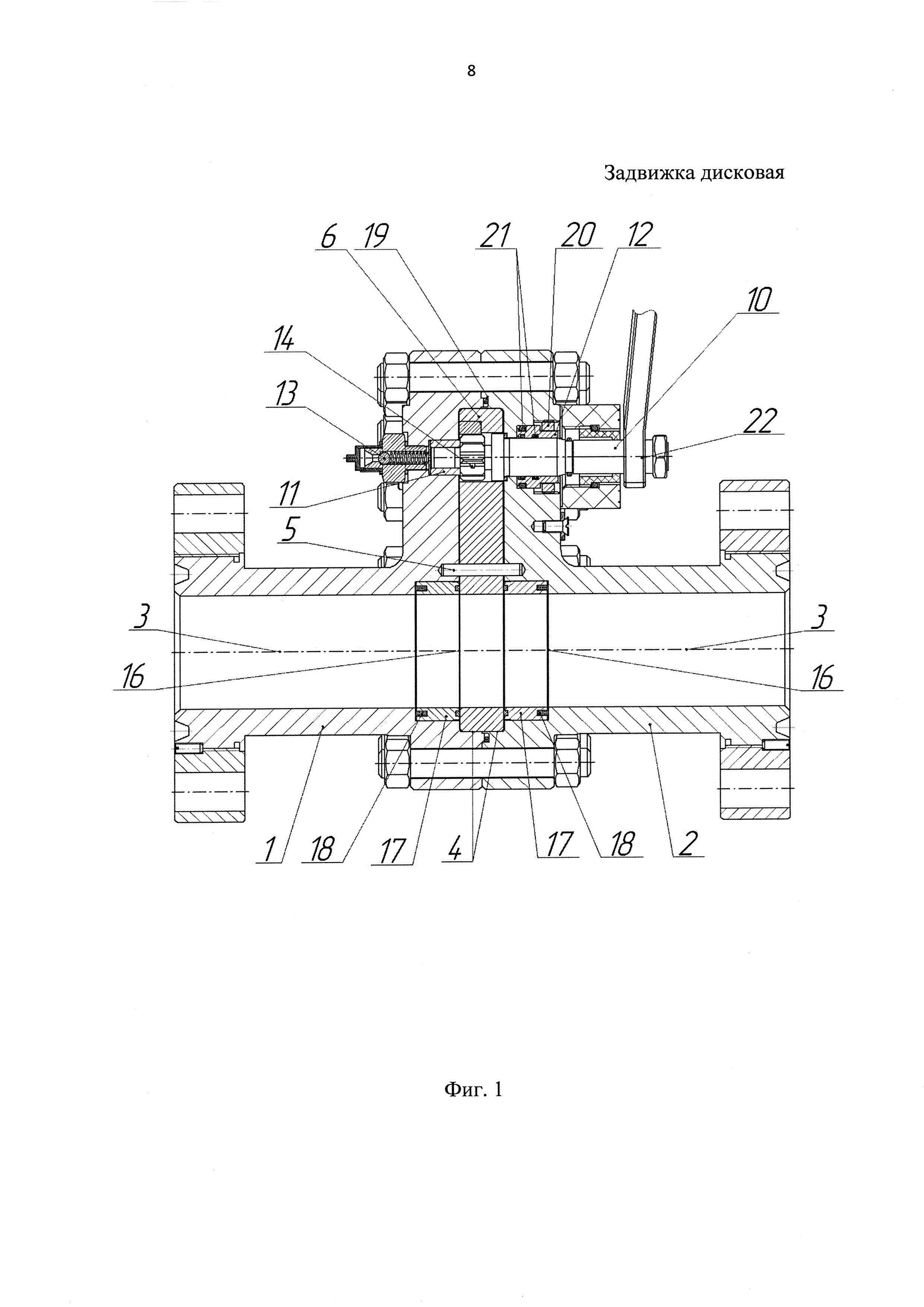
Задвижка дисковая состоит из корпуса, образованного левым 1 и правым 2 полукорпусами, образующими осевой канал 3 для прохода рабочей жидкости. В полукорпусах выполнены симметричные цилиндрические радиусные расточки, образующие единую расточку 4, в которой на оси 5 установлен шибер 6 с осевым отверстием 7 (фиг. 2) для соединения осевого канала 3, обеспечивающего проход рабочей жидкости и с дуговой радиусной расточкой 8, которая снабжена зубчатым венцом 9, кинематически связанным с приводным валом 10, установленным на левой 11 и правой 12 втулках, зафиксированных соответственно в левом и правом полукорпусах. Левый полукорпус 1 снабжен воздушным (на чертеже не показан) и нагнетательным 13 клапанами. Клапан воздушный предназначен для проведения технического обслуживания задвижки дисковой: слив конденсата, продувка внутренней полости. Клапан нагнетательный 13 установлен на резьбе и его проточный канал гидравлически связан с отверстиями 14, выполненными в торце приводного вала 10. Отверстия 14, в свою очередь, связаны гидравлически с дуговой радиусной расточкой 8 (фиг. 2), которая выполнена в дисковом шибере 6 в виде дуги, угол раскрытия которой достаточен для обеспечения открытия - закрытия задвижки при нахождении приводного вала 10 в крайнем правом или крайнем левом положениях. В теле дискового шибера 6 выполнено осевое отверстие 7 для прохода рабочей жидкости, а на периферии дуговой радиусной расточки 8 выполнены карманы 15 (фиг. 2) для накопления окалины и механических примесей. В левом 1 и правом 2 полукорпусах вокруг осевого канала 3 выполнены симметричные технологические расточки 16, в которых размещены седла 17, поджатые к поверхности шибера 5 пружинами или полиуретановыми кольцами 18. Технологический зазор между левым 1 и правым 2 полукорпусами герметизирован уплотнительными кольцами 19. Изоляция кольцевого зазора между приводным валом 10 и правой втулкой 12, зафиксированной от выворачивания стопорной втулкой 20, обеспечивается комплектом уплотнительных колец 21. На выходной конец приводного вала 10 закреплена рукоятка 22 для вращения приводного вала.

[22]

Работа задвижки дисковой.

[23]

Задвижку присоединительными фланцами (на чертеже не обозначены) монтируют на месте применения. На чертеже фиг. 1 задвижка показана в положении гидравлической связи осевого канала 3, образованного в левом и правом полукорпусах. В этом положении задвижка открыта на пропуск рабочей жидкости. Седла 17 усилием пружин (полиуретановых колец) 18 поджаты к торцевым поверхностям шибера 6. Закрытие задвижки производят при помощи рукоятки 22 вращения приводного вала, закрепленной на приводном валу 10. Вращением приводного вала 10 приводят во вращение шибер 6 на оси 5 с выведением из взаимодействия с седлами 17 по месту расположения осевого отверстия 7 шибера 6. Открывают клапан нагнетательный 13 и осуществляют подачу под давлением смазки внутрь, откуда смазка по отверстиям 14 в приводном вале 10 поступает внутрь дуговой радиусной расточки 8 к контактирующим зубьям венца 9 и зубьям приводного вала 10 по зазору между шибером 6 и внутренней поверхностью расточки 4, образованной в полукорпусах 1 и 2. Посредством нагнетательного клапана 13 осуществляют подачу консервирующей жидкости для заполнения всей свободной внутренней полости, находящейся внутри расточки 4 в полукорпусах 1 и 2, и дуговой радиусной расточки 8, находящейся на шибере 6. При длительной эксплуатации задвижки возможно изменение в худшую сторону смазочных свойств масел, например, их окисление или попадание окалины, механических частиц. Для удаления механических частиц на периферии дуговой радиусной расточки 8 в теле шибера 6 выполнены карманы 15 для накопления осадка, который удаляют при проведении технического обслуживания задвижки дисковой через клапан воздушный.

[24]

Таким образом, изготовление полукорпусов с симметричными цилиндрическими радиусными расточками упрощает конструкцию и повышает технологичность их изготовления, позволяет унифицировать конструкцию и технологию изготовления левого и правого полукорпусов, а замена подшипников скольжения на втулки также упрощает конструкцию дисковой задвижки.

Как компенсировать расходы
на инновационную разработку
Похожие патенты