патент
№ RU 175118
МПК B61G7/10

ПЕРЕХОДНОЙ КУЛАК ДЛЯ СЦЕПЛЕНИЯ ЖЕЛЕЗНОДОРОЖНОГО ПОДВИЖНОГО СОСТАВА

Авторы:
Ступин Дмитрий Алексеевич
Номер заявки
2017119429
Дата подачи заявки
02.06.2017
Опубликовано
21.11.2017
Страна
RU
Как управлять
интеллектуальной собственностью
Чертежи 
2
Реферат

Полезная модель относится к устройствам для сцепления между собой единиц подвижного состава, непосредственное сцепление которых между собой невозможно в силу того, что разность уровней продольных осей их автосцепок по высоте превышает нормативно допустимую для осуществления их непосредственного сцепления.Данная задача решается тем, что переходной кулак для сцепления железнодорожного подвижного состава содержит два жестко связанных между собой оголовка, каждый из которых выполнен с возможностью сцепления с соответствующей автосцепкой, и расположенный на одном из оголовков верхний кронштейн для навешивания на одну из автосцепок, причем оба оголовка выполнены с возможностью сцепления с автосцепками СА-3, расположенными на железнодорожном подвижном составе со смещением их продольных осей относительно друг друга, для чего средние сечения оголовков смещены относительно друг друга по вертикали.

Формула изобретения

Переходной кулак для сцепления железнодорожного подвижного состава, содержащий два жестко связанных между собой оголовка, каждый из которых предназначен для сцепления с соответствующей автосцепкой, и расположенный на одном из оголовков верхний кронштейн для навешивания на одну из автосцепок, отличающийся тем, что оголовки выполнены с возможностью сцепления с автосцепками СА-3, расположенными на железнодорожном подвижном составе со смещением их продольных осей относительно друг друга, для чего средние сечения оголовков смещены относительно друг друга по вертикали.

Описание

[1]

Полезная модель относится к устройствам для сцепления между собой единиц подвижного состава, непосредственное сцепление которых между собой невозможно в силу того, что разность уровней продольных осей их автосцепок по высоте превышает нормативно допустимую для осуществления их непосредственного сцепления, а именно к переходным кулакам (адаптерам, переходникам) для сцепления между собой единиц подвижного состава, оборудованных автосцепками СА-3.

[2]

Известен кулак с двухзвенной цепью для сцепления вагонов, оборудованных автосцепкой СА-3, с вагонами, имеющими винтовую сцепку, содержащий два соединенных между собой элемента для соединения со сцепными устройствами, один из которых выполнен с заданным контуром для зацепления с автосцепкой СА-3 (В.И. Ладыгин, А.Ф. Пухов Автосцепка. Устройство, эксплуатация и ремонт.- М.: Трансжелдориздат, 1939, стр. 157)-аналог.

[3]

Известное устройство обладает следующими недостатками: оно не обеспечивает возможности сцепления между собой вагонов с автосцепками СА-3 и обеспечивает возможность передачи только растягивающих сил, так как с одной стороны расположено звено цепи для навешивания на крюк винтовой сцепки.

[4]

Известен также переходник для сцепления вагонов, оборудованных автосцепкой СА-3, с вагонами, оборудованными беззазорными сцепками БСУ, содержащий два оголовка, расположенные с противоположных сторон переходника, один из которых имеет очертания, соответствующие контуру автосцепки СА-3 и обеспечивающие его сцепление с автосцепкой СА-3 (В.И. Беляев, Д.А. Ступин. «Сцепные и автосцепные устройства железнодорожного подвижного состава». - М.: ТРАНСИНФО, 2012 г., стр. 99) - аналог.

[5]

Известное устройство обладает следующими недостатками: оно не обеспечивает возможности сцепления между собой вагонов с автосцепками СА-3, так как другой оголовок выполнен с очертаниями, соответствующими контуру сцепки БСУ.

[6]

Известна универсальная автосцепка для соединения рельсового подвижного состава с возможностью осуществлять автоматическую стыковку мотовоза с подвижным составом, оборудованным автосцепкой СА-3 или автосцепкой, установленной на вагонах метро (Шарфенберга) при значительных отклонениях осей сцепок в вертикальном направлении без установки дополнительных переходных приспособлений (патент РФ № 144753, B61G 3/12, опубл. 27.08.2014 г.) - аналог.

[7]

Недостатком известного решения является невозможность сцепления с его помощью вагонов с автосцепками СА-3 между собой, так как один из них должен быть оборудован универсальной автосцепкой по данному патенту.

[8]

Наиболее близким решением по технической сущности к предложенному является переходной кулак для сцепления вагонов, оборудованных автосцепкой СА-3, с вагонами, имеющими автосцепку по стандарту AAR, содержащий, два оголовка, расположенные с противоположных сторон кулака, один из которых имеет очертания, соответствующие контуру автосцепки СА-3 и обеспечивающие его сцепление с данной автосцепкой, и кронштейн для навешивания на нее, а второй оголовок имеет контур зацепления, соответствующий автосцепке по стандарту AAR (В.И. Беляев, Д.А. Ступин. «Сцепные и автосцепные устройства железнодорожного подвижного состава». - М.: ТРАНСИНФО, 2012 г., стр. 118) - прототип.

[9]

Наиболее существенным недостатком известного устройства является невозможность обеспечения сцепления двух автосцепок СА-3, которые к тому же расположены с разностью уровней по высоте, превышающей допустимую для их непосредственного сцепления между собой.

[10]

Техническим результатом, на достижение которого направлено заявляемое решение, является обеспечение сцепления между собой двух автосцепок СА-3, расположенных на железнодорожном подвижном составе с разностью уровней по высоте, превышающей допустимую, для их непосредственного сцепления между собой.

[11]

Заявляемое решение обеспечивает возможность создания и эксплуатации в поездах специального железнодорожного подвижного состава, например контрейлерных платформ, с пониженным уровнем пола и автосцепок. Заявляемое устройство обеспечивает возможность сцепления таких вагонов с локомотивом и другими вагонами железнодорожного подвижного состава, автосцепка которых расположена на высоте, не допускающей непосредственного сцепления.

[12]

Указанный технический результат достигается тем, что переходной кулак для сцепления железнодорожного подвижного состава содержит два жестко связанных между собой оголовка, каждый из которых выполнен с возможностью сцепления с соответствующей автосцепкой, и расположенный на одном из оголовков верхний кронштейн для навешивания на одну из автосцепок, причем оба оголовка выполнены с возможностью сцепления с автосцепками СА-3, расположенными на железнодорожном подвижном составе со смещением их продольных осей относительно друг друга, для чего средние сечения оголовков смещены относительно друг друга по вертикали.

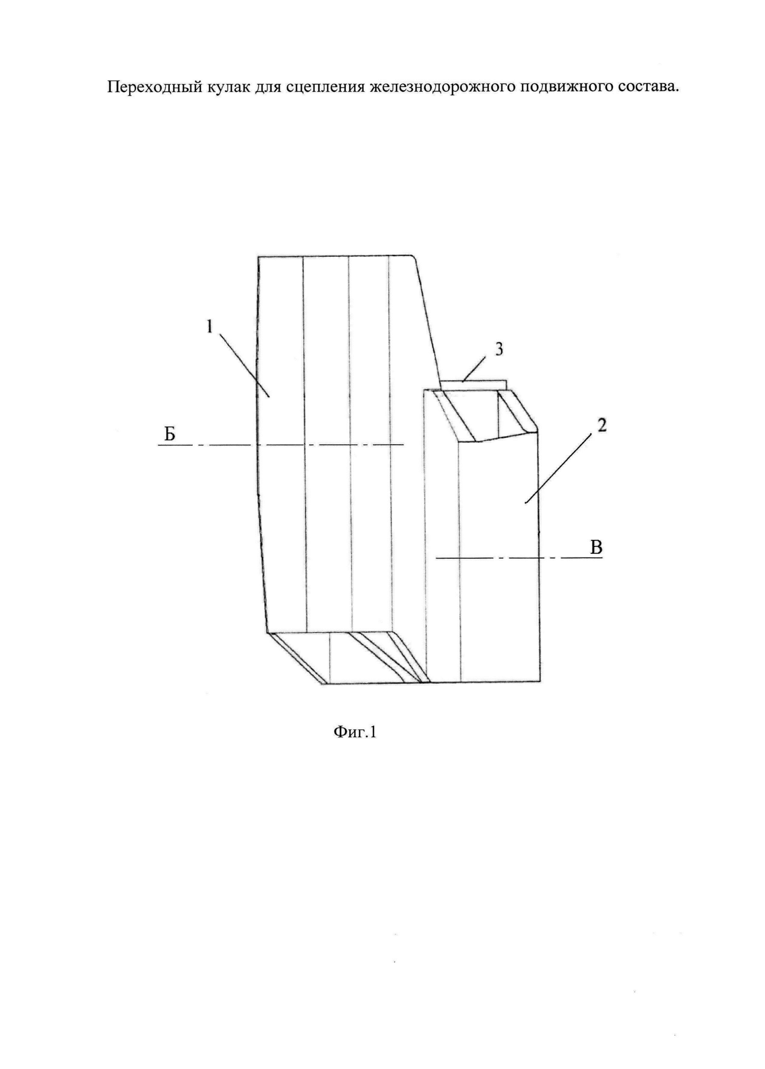
[13]

Сущность полезной модели поясняется на фиг. 1-3, где на фиг. 1 представлен общий вид переходного кулака, на фиг. 2 - вид сверху на фиг. 1, а на фиг. 3 - соединение двух автосцепок СА-3 через переходной кулак.

[14]

Заявляемый переходный кулак для сцепления железнодорожного подвижного состава, имеющего автосцепки СА-3, расположенные со смещением их продольных осей по высоте, содержит два жестко связанных между собой оголовка 1 и 2. Расположение оголовков в плане, как правило, центрально симметричное относительно средней точки двух оголовков переходного кулака А, следовательно, можно говорить расположении оголовков как бы с противоположных сторон переходного кулака. Главным для достижения указанного технического результата является то, что расположение оголовков относительно друг друга должно позволить осуществить зацепление их с вагонными автосцепками СА-3. Отличия заявленного устройства от известных заключаются в том, что оба жестко связанных между собой оголовка 1 и 2 переходного кулака выполнены с возможностью их сцепления с автосцепками СА-3, расположенными со смещением их продольных осей по вертикали, для чего среднее сечение Б оголовка 1 смещено по вертикали относительно среднего сечения В оголовка 2 на величину, которая зависит от величины смещения продольных осей автосцепок по вертикали. Среднее сечение оголовка - поперечное горизонтальное сечение, проходящее через середину высоты оголовка. Оголовки 1 и 2 содержат рабочие контуры сцепки, в плане соответствующие очертаниям малого зуба 6 автосцепки 5 СА-3 с замком. Переходной кулак для сцепления железнодорожного подвижного состава со смещением автосцепок по высоте может содержать также нижний кронштейн 4. Нижний кронштейн 4, как правило, устанавливается на другом оголовке, нежели тот, на котором расположен верхний кронштейн 3, но может быть размещен и на оголовке, на котором расположен верхний кронштейн. Наличие нижнего кронштейна 4 в заявляемом решении не является обязательным для обеспечения работоспособности и достижения заявляемого технического результата, его использование направлено на дополнительное уменьшение вероятности саморасцепа при движении поезда и падения на путь обломков при обрыве автосцепки. Но устройство работоспособно и без него.

[15]

Переходной кулак для сцепления железнодорожного подвижного состава со смещением автосцепок по высоте работает следующим образом.

[16]

Переходной кулак со стороны оголовка 1 вдвигают в контур зацепления автосцепки СА-3 вагона с автосцепкой 5, расположенной ниже нормативного значения высоты, после чего переходной кулак опускают вниз до опирания верхнего кронштейна 3 переходного кулака о верхнюю поверхность малого зуба 6 автосцепки 5. После этого автосцепка 5 с навешенным на нее переходным кулаком готова к автоматическому сцеплению с вагоном или локомотивом, автосцепка 7 которого расположена выше - на нормативном (стандартном) уровне.

[17]

При сближении с другим вагоном или локомотивом процесс сцепления выполняется автоматически путем введения оголовка 2 переходного кулака в контур автосцепки 7 за счет работы ее механизма сцепления, аналогично штатному сцеплению двух автосцепок СА-3. При движении вагонов в сцепленном состоянии нижний кронштейн 4 ограничивает относительные вертикальные перемещения переходного кулака с автосцепкой 7.

[18]

Переходной кулак для сцепления железнодорожного подвижного состава со смещением автосцепок по высоте обеспечивает возможность сцепления вагонов с локомотивом и другими вагонами, автосцепки которых расположены с разностью высот, не допускающей их непосредственного сцепления, и движения в поезде.

[19]

Результаты испытания переходного кулака для сцепления железнодорожного подвижного состава со смещением автосцепок по высоте следующие:

[20]

обеспечена автоматическая сцепляемость автосцепок через переходной кулак при смещении осей до 160 мм,

[21]

обеспечено прохождение контрейлерной платформы, сцепленной с локомотивом через переходной кулак, по круговой кривой радиусом 110 м и ее сопряжении с прямой, а также S-образной кривой радиусом не более 135 м без прямой ставки,

[22]

обеспечено сохранение работоспособного состояния переходного кулака после 200 соударений вагонов со скоростью до 9 км/ч при разности высот автосцепок 160 мм,

[23]

обеспечена прочность при растяжении сцепленных автосцепок с разностью высот 160 мм через переходного кулака при нагружении силой 2000 кН.

Как компенсировать расходы
на инновационную разработку
Похожие патенты