патент
№ RU 174217
МПК G21G4/00
Номер заявки
2017118229
Дата подачи заявки
25.05.2017
Опубликовано
09.10.2017
Страна
RU
Как управлять
интеллектуальной собственностью
Чертежи 
2
Реферат

Полезная модель относится к области физического приборостроения, в частности к источникам нейтронного излучения, и предназначена для использования при разработке нейтронных и рентгеновских генераторов.Техническим результатом является уменьшение габаритов и массы генератора.Технический результат достигается тем, что импульсный нейтронный генератор содержит размещенные в герметичном корпусе, залитом жидким диэлектриком, нейтронную трубку, накопительный конденсатор, разделительный дроссель и высоковольтный трансформатор с многорядной вторичной обмоткой с многослойной бумажно-пленочной изоляцией, выполненный на замкнутом магнитопроводе, имеющем два сердечника и два ярма из электротехнической стали, выход трансформатора соединен с чашеобразным экраном и расположенной в нем вакуумной нейтронной трубкой, продольные оси обмоток трансформатора расположены перпендикулярно продольным осям нейтронной трубки и корпуса, первичная и вторичная обмотки высоковольтного трансформатора выполнены на одном сердечнике замкнутого магнитопровода, на другом сердечнике выполнена еще одна высоковольтная обмотка, соединенная с анодом нейтронной трубки и источником зарядного напряжения и выполняющая функцию разделительного дросселя. 2 ил.

Формула изобретения

Импульсный нейтронный генератор, содержащий размещенные в герметичном корпусе, залитом жидким диэлектриком, нейтронную трубку, накопительный конденсатор, дроссель и высоковольтный трансформатор с многорядной вторичной обмоткой с многослойной бумажно-пленочной изоляцией, выполненный на замкнутом магнитопроводе, имеющем два сердечника и два ярма из электротехнической стали, выход трансформатора соединен с чашеобразным экраном и расположенной в нем вакуумной нейтронной трубкой, продольные оси обмоток трансформатора расположены перпендикулярно продольным осям нейтронной трубки и корпуса, отличающийся тем, что первичная и вторичная обмотки высоковольтного трансформатора выполнены на одном сердечнике замкнутого магнитопровода, а на другом сердечнике выполнена еще одна высоковольтная обмотка, соединенная с анодом нейтронной трубки и источником зарядного напряжения.

Описание

[1]

Полезная модель относится к области физического приборостроения, в частности к источникам нейтронного излучения, и предназначена для использования при разработке нейтронных и рентгеновских генераторов.

[2]

Известен импульсный нейтронный генератор, содержащий нейтронную трубку, высоковольтный трансформатор, накопительные конденсаторы, конденсатор питания ионного источника и разделительный дроссель. Генератор выполнен по биполярной схеме включения нейтронной трубки, в которой на мишень и источник нейтронной трубки подаются импульсы ускоряющего напряжения разной полярности амплитудой 60 кВ. Авторское свидетельство SU 708939, МПК H05G 1/00, 30.04.1994. Для предотвращения попадания ускоряющего напряжения в блок питания служит разделительный дроссель, выполненный в виде отдельного узла. Для размещения разделительного дросселя требуется дополнительный объем.

[3]

Известен импульсный нейтронный генератор, содержащий размещенные в герметичном корпусе, залитом жидким диэлектриком, нейтронную трубку, накопительный конденсатор, разделительный дроссель и высоковольтный трансформатор с многорядной вторичной обмоткой с многослойной бумажно-пленочной изоляцией, выступающей за пределы рядов, выполненной на сердечнике из ферромагнитного материала, выход которой соединен с чашеобразным экраном и расположенной в нем нейтронной трубкой. Генератор выполнен по схеме включения нейтронной трубки с заземленной мишенью, в которой ионный источник нейтронной трубки и конденсатор питания ионного источника находятся под полным ускоряющим напряжением от 100 до 150 кВ. Для предотвращения попадания ускоряющего напряжения в блок питания служит разделительный дроссель, выполненный в виде отдельного узла. (Серийно выпускаемый блок трубки ИНГ-013БТ. Сборник материалов Межотраслевой научно-технической конференции «Портативные генераторы нейтронов и технологии на их основе». - Всероссийский научно-исследовательский институт автоматики им. Н.Л. Духова, 2004. - С. 73). Генератор имеет большие размеры и вес. Последовательное и соосное расположение высоковольтного трансформатора, накопительного конденсатора, конденсатора питания ионного источника, разделительного дросселя и нейтронной трубки приводит к существенному увеличению размеров генератора.

[4]

Известен также импульсный нейтронный генератор, содержащий размещенные в герметичном корпусе, залитом жидким диэлектриком, нейтронную трубку, накопительный конденсатор, дроссель и высоковольтный трансформатор. Высоковольтный трансформатор выполнен на сердечнике замкнутого магнитопровода из электротехнической стали, продольные оси обмоток которого расположены перпендикулярно продольной оси нейтронной трубки и корпуса. Патент на полезную модель RU 155328, МПК G21G 4/00, 10.10.2015). Данное техническое решение выбрано в качестве прототипа.

[5]

Прототип имеет большие размеры и массу. Дроссель - сложное электротехническое изделие, для размещения которого требуется дополнительное места.

[6]

Техническим результатом является уменьшение габаритов и массы генератора.

[7]

Технический результат достигается тем, что импульсный нейтронный генератор содержит размещенные в герметичном корпусе, залитом жидким диэлектриком, нейтронную трубку, накопительный конденсатор, разделительный дроссель и высоковольтный трансформатор с многорядной вторичной обмоткой с многослойной бумажно-пленочной изоляцией, выполненный на замкнутом магнитопроводе, имеющем два сердечника и два ярма из электротехнической стали, выход трансформатора соединен с чашеобразным экраном и расположенной в нем вакуумной нейтронной трубкой, продольные оси обмоток трансформатора расположены перпендикулярно продольным осям нейтронной трубки и корпуса, первичная и вторичная обмотки высоковольтного трансформатора выполнены на одном сердечнике замкнутого магнитопровода, на другом сердечнике выполнена еще одна высоковольтная обмотка, соединенная с анодом нейтронной трубки и источником зарядного напряжения и выполняющая функцию разделительного дросселя.

[8]

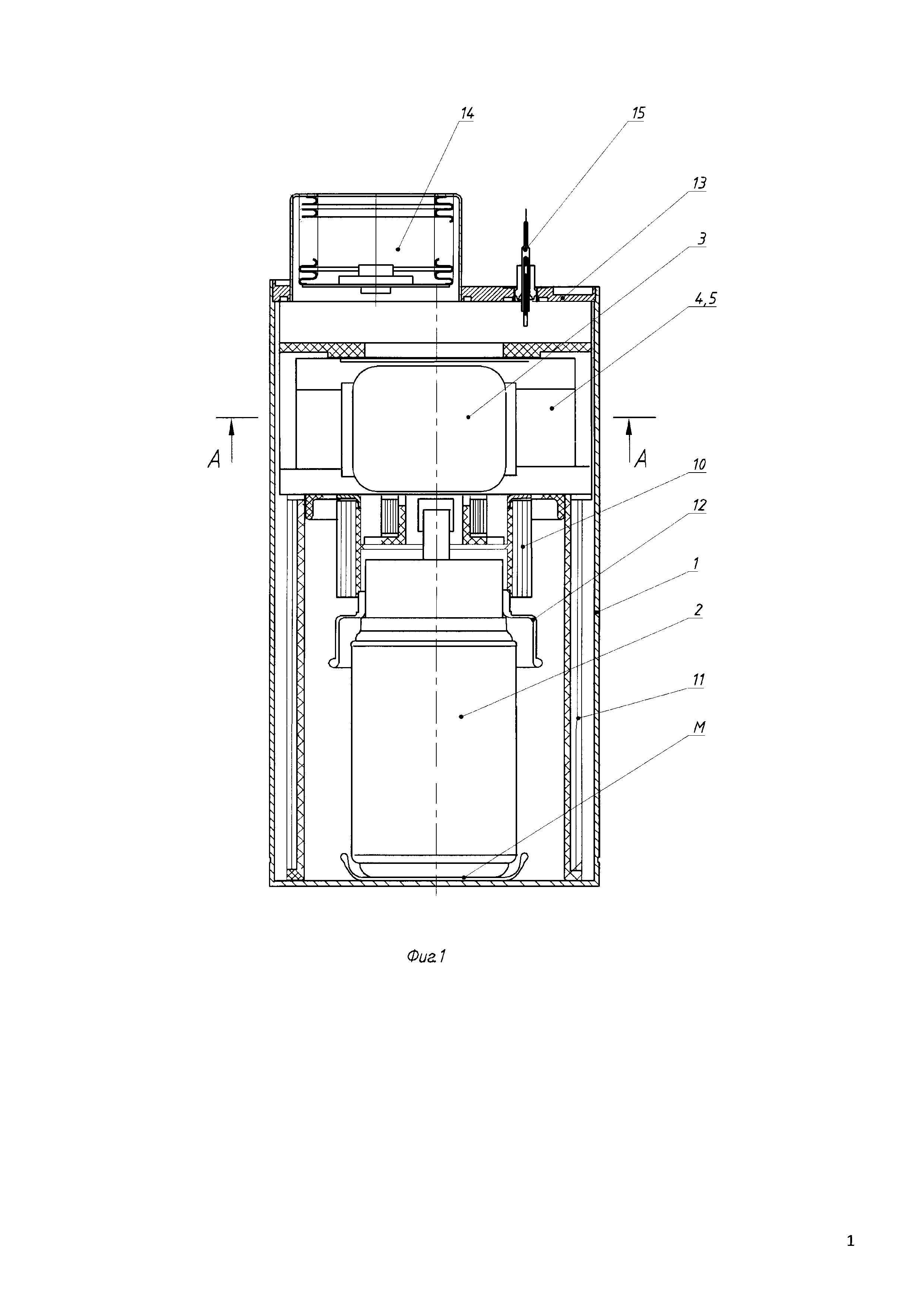
Сущность полезной модели поясняется чертежами, где: 1 - металлический корпус, 2 - нейтронная трубка, 3 - высоковольтный трансформатор, 4 - ярмо замкнутого магнитопровода, 5 - сердечники замкнутого магнитопровода, 6 - первичная обмотка высоковольтного трансформатора, 7 - вторичная многорядная обмотка высоковольтного трансформатора, 8 - высоковольтная обмотка трансформатора, выполняющая функции разделительного дросселя, 9 - бумажно-пленочная изоляция, 10 - конденсатор источника питания нейтронной трубки, 11 - накопительный конденсатор, 12 - чашеобразный металлический экран, 13 - крышка генератора, 14 - температурный компенсатор, 15 - герметичный высоковольтный проходной изолятор.

[9]

На фиг. 1 представлен продольный разрез импульсного нейтронного генератора.

[10]

На фиг. 2 представлен поперечный разрез А-А.

[11]

Генератор выполнен по схеме включения нейтронной трубки с заземленной мишенью. Генератор размещен в герметичном металлическом корпусе 1, залитом жидким диэлектриком, внутри корпуса установлена нейтронная трубка 2, высоковольтный импульсный трансформатор 3 на замкнутом магнитопроводе. Замкнутый магнитопровод имеет два ярма 4 и два сердечника 5 выполненные из пластин электротехнической стали.

[12]

На одном сердечнике 5 симметрично относительно его торцов расположена первичная обмотка 6, а поверх первичной - вторичная многорядная обмотка 7, намотанные проводом ПЭВ с многослойной бумажно-пленочной изоляцией 9. Начала Н2 вторичной многорядной 7 и H1 первичной 6 обмоток соединены с металлическим корпусом 1 генератора и мишенным электродом М нейтронной трубки 2. Конец К2 вторичной многорядной обмотки 7 соединен с чашеобразным металлическим экраном 12 и катодом К нейтронной трубки 2.

[13]

На другом сердечнике 5 расположена еще одна высоковольтная обмотка трансформатора 8, намотанная с многослойной бумажно-пленочной изоляцией 9, выполняющая функции разделительного дросселя. Один конец Кдр. обмотки 8 соединен с анодом нейтронной трубки, другой Ндр. - с внешним источником зарядного напряжения Uист.

[14]

Обмотки 6, 7, 8 наматываются в одном технологическом процессе проводом ПЭВ совместно с бумажно-пленочной изоляцией 9.

[15]

Продольные оси обмоток высоковольтного трансформатора 3 расположены перпендикулярно осям нейтронной трубки 2 и корпуса нейтронного генератора 1. Благодаря такому расположению обмоток высоковольтного трансформатора по отношению к корпусу, отсутствует эффект «короткозамкнутого витка», обусловленный близостью корпуса.

[16]

Внутри корпуса 1 размещены конденсатор питания ионного источника нейтронной трубки 10, накопительный конденсатор 11.

[17]

Для обеспечения электрической прочности генератор залит жидким диэлектриком. На крышке генератора 13 установлен температурный компенсатор 16 и высоковольтный герметичный проходной изолятор 15. В качестве жидкого диэлектрика в генераторе использовано трансформаторное масло ТКП.

[18]

Генератор работает следующим образом.

[19]

При подаче импульса запуска на управляющий электрод коммутатора (на фиг. 1 не показан) происходит разряд накопительного конденсатора 11 на первичную обмотку 6 импульсного высоковольтного трансформатора 3. На вторичной обмотке 7 трансформатора формируется импульс напряжения положительной полярности амплитудой от 100 до 120 кВ и передается через чашеобразный металлический экран 12 на электрод К трубки 2. Для обеспечения срабатывания ионного источника нейтронной трубки формируется импульс напряжения амплитудой от 10 до 12 кВ, который прикладывается к поджигающему промежутку ионного источника нейтронной трубки К - П (катод - поджиг) и вызывает срабатывание ионного источника нейтронной трубки 2 и образование ионов дейтерия, которые ускоряются в направлении мишени. При бомбардировке мишени нейтронной трубки 2 ионами дейтерия в результате ядерной реакции T (d, n) Не4 образуются нейтроны.

[20]

Для предотвращения попадания ускоряющего напряжения в источник питания служит высоковольтная обмотка 8 высоковольтного трансформатора 3, выполняющая функции разделительного дросселя.

[21]

Благодаря такому техническому решению по расположению обмоток 6, 7 трансформатора 3 на одном сердечнике 5 и высоковольтной обмотки 8, намотанной на втором сердечнике 5 замкнутого магнитопровода, обмотка 8 выполняет функцию разделительного дросселя.

[22]

Таким образом, создание импульсного нейтронного генератора в соответствии с предложенным техническим решением позволило уменьшить его габариты и массу по сравнению с аналогами приблизительно на 15%.

Как компенсировать расходы
на инновационную разработку
Похожие патенты