патент
№ RU 173987
МПК H02J7/00

ЗАРЯДНОЕ УСТРОЙСТВО ДЛЯ РАДИОМИКРОФОНА "СОНЕТ РСМ"

Авторы:
Парчинский Алексей Львович
Номер заявки
2017118049
Дата подачи заявки
24.05.2017
Опубликовано
25.09.2017
Страна
RU
Как управлять
интеллектуальной собственностью
Чертежи 
4
Реферат

Полезная модель относится к кейсам для заряда и переноса радиомикрофонов. Зарядное устройство для радиомикрофона содержит кейс, выполненный в виде корпуса, оснащенного на одной лицевой стороне ручкой, размещенным в нем на основании оборудованием, и крышкой, одна сторона которой соединена с корпусом с возможностью перемещения, а вторая - с возможностью закрепления к нему, при этом крышка оснащена отсеком, один сетевой кабель. Внутри корпуса в одной части размещена зарядная группа, выполненная из расположенных в два ряда параллельно относительно друг друга двенадцати ячеек, в которых установлены, соответственно передатчики и приемники, ориентированные относительно друг друга и контактных элементов фиксационной пластиной, соединенные опосредованно электронной связью с входным разъемом, предохранителем, переключателем сетевым, индикатором включения, вентилятором, блоком питания, расположенным во второй части корпуса, кроме того, отсек на внутренней полости крышки выполнен в виде кармана, в котором размещены сетевой кабель, заушные индукторы, индукционные петли, микрофон, при этом корпус оснащен с каждой боковой стороны ушками, установленными с возможностью перемещения. Технический результат – обеспечение возможности одновременной зарядки устройств в одинаковых условиях, в кейсе упрощенной конструкции, обладающем пониженным весом с содержимым, повышенной жесткостью и защищенностью от пыли. 4 з.п. ф-лы, 5 ил.

Формула изобретения

1. Зарядное устройство для радиомикрофона, содержащее кейс, выполненный в виде корпуса, оснащенного на одной лицевой стороне ручкой, размещенным в нем на основании оборудованием, и крышкой, одна сторона которой соединена с корпусом с возможностью перемещения, а вторая - с возможностью закрепления к нему, при этом крышка оснащена отсеком, один сетевой кабель, отличающееся тем, что внутри корпуса в одной части размещена зарядная группа, выполненная из расположенных в два ряда параллельно относительно друг друга двенадцати ячеек, в которых установлены соответственно передатчики и приемники, ориентированные относительно друг друга и контактных элементов фиксационной пластины, соединенные опосредованно электронной связью с входным разъемом, предохранителем, переключателем сетевым, индикатором включения, вентилятором, блоком питания, расположенным во второй части корпуса, кроме того, отсек на внутренней полости крышки выполнен в виде кармана, в котором размещены сетевой кабель, заушные индукторы, индукционные петли, микрофон, при этом корпус оснащен с каждой боковой стороны ушками, установленными с возможностью перемещения.

2. Зарядное устройство по п. 1, отличающееся тем, что в каждом ряду расположено по шесть передатчиков и по шесть приемников.

3. Зарядное устройство по п. 1, отличающееся тем, что карман на внутренней полости крышки разделен на две части.

4. Зарядное устройство по п. 1, отличающееся тем, что для закрепления крышки использован кейсовый замок.

5. Зарядное устройство по п. 1, отличающееся тем, что на стороне расположения сетевого разъема под сетевым кабелем размещена информационная таблица.

Описание

[1]

Полезная модель относится к дополнительным техническим средствам, дающим пациентам с дефектами слуха возможность замены прямого слухового восприятия другим видом восприятия, кроме того к системам передачи энергии и зарядным устройствам, предназначенным для зарядки и подзарядки приемников и передатчиков.

[2]

Известна система для возвращения робота-пылесоса к зарядному устройству, содержащая передатчик сигналов самонаведения, включающий по меньшей мере первое, второе и третье сигнальные передающие устройства, каждое из которых расположено на передней стенке зарядного устройства и предназначено для передачи соответствующих сигналов, в которой одно из сигнальных передающих устройств, расположено на одной боковой стенке зарядного устройства и предназначенное для передачи сигнала и управления роботом-пылесосом с обеспечением возвращения его к зарядному устройству (Патент №2338639 RU. Опубл. 20.11.2008 г. ).

[3]

Известна беспроводная система с несколькими зарядными устройствами, включающая в себя внешний корпус, оснащен столом, имеет множество блоков зарядного устройства, каждый из которых включает в себя первичный зарядный сердечник, модуль драйвера, центральный контроллер (Номер публикации RE 046391. Опубл. 02.05.2017 г. ).

[4]

Зарядное устройство для портативных электронных устройств и портативных электронных устройств с одинаковым зарядом. В одном варианте осуществления корпус зарядного устройства батареи образует часть оболочки внешнего устройства или защитную крышку корпуса. Конденсаторы расположены в корпусе зарядного устройства аккумулятора, которые содержат противолежащие друг от друга пластины, имеющие контактные сегменты на них. Электронная схема соединена с противоположными разнесенными пластинами, выполнена с возможностью передачи электрического заряда аккумуляторной батарее, связанной с портативным электронным устройством (Заявка № US 20170054308. Опубл. 23.02.2017 г. ).

[5]

Известно устройство контрольно-сигнальное, включающее разборный корпус с размещенной в нем системной платой с центральным процессором, запоминающим устройством и многоконтактными разъемами, образующими гнезда на наружной поверхности корпуса, снабженное интегрированным в центральный процессор, мультисистемным навигационным приемником и смонтированными на системной плате антенной мультисистемного навигационного приемника, приемником-передатчиком сетей мобильной радиотелефонной связи, приемником-передатчиком беспроводной персональной сети низкого энергопотребления с антенной, блоком питания и усилителем мощности звуковой частоты, при этом приемник-передатчик сетей мобильной радиотелефонной связи содержит антенну и микросхему с интегрированным в нее модулем идентификации абонента, а блок питания содержит электронный стабилизатор, зарядное устройство и аккумулятор, гнездо одного из многоконтактных разъемов предназначено для подключения к нему оборудования транспортного средства, а гнездо другого - выполнено в виде гнезда разъема универсальной последовательной шины для подключения к нему периферийных устройств (Патент №158049 RU. Опубл. 20.12.2015 г. ).

[6]

Известно зарядное устройство снабженное кожухом, имеющим нижнюю секцию, верхнюю секцию, обращенной к нижней секции, и секцией боковой поверхности, соединяющей нижнюю секцию и верхнюю, множество вентиляторов предусмотренных в корпусе и блок схемы зарядки, который предусмотрен в корпусе, и выполнен с возможностью зарядки аккумуляторного блока, причем упомянутый модуль зарядной схемы имеет теплогенерирующий элемент, который генерирует тепло, когда аккумуляторная батарея заряжается. Вентиляторы расположены вдоль секции боковой поверхности (Заявка WO/2017/002519. Опубл. 05.01.2017 г. ).

[7]

Известно устройство для подзарядки аккумуляторов, которое также может быть использовано в качестве стенда для блоков аккумуляторов или упаковок в местах продажи, содержащее по меньшей мере опорный элемент, который включает ряд гнезд или пазов для размещения и/или присоединения блоков аккумуляторов, выставленных на продажу, и приспособления для зарядки, подзарядки и/или поддержания электрического заряда, электрически соединенные с указанными гнездами или пазами устройства для подзарядки, в котором каждый блок или упаковка аккумуляторов содержит несколько аккумуляторов, соединенных последовательно друг с другом, у которых по меньшей мере два контакта являются доступными снаружи упаковки для подключения к приспособлению для подзарядки и/или поддержания заряда (Патент 2346372 RU. Опубл. 10.02.2009).

[8]

Известно зарядное устройство, включающее аккумуляторы, которое дополнительно содержит тару хранения, разъемы для подключения аккумуляторов, систему питания с помощью электромагнитных волн, защелки, фиксирующие аккумуляторы, корпус, причем защелки расположены на корпусе, корпус объединен с тарой хранения (Патент №169970 RU. Опубл. 11.04.2017 г.).

[9]

аккумуляторы, корпус, причем защелки расположены на корпусе, корпус объединен с тарой хранения (Патент №169970 RU. Опубл. 11.04.2017 г.).

[10]

Известен кейс для ноутбука, в котором используется солнечная энергия для системы зарядки и охлаждения, содержащий корпус, соединенный с крышкой, на которой расположена солнечная батарея, вентиляторы прикрытые с большим зазором проволочной решеткой, при этом в корпус оснащен двумя полостями, одна из которых выполнена с возможностью регулирования размеров по длине под размер портативных электронных устройств, в частности лаптопа (ноутбука) (Заявка №US 20080283114. Опубл. 2008-11-20).

[11]

Однако известный кейс не имеет возможности одновременного размещения в одной из внутренних его полостей с использованием ячеек, расположенных в два ряда параллельно друг друга группы трансиверов.

[12]

Известен транспортно-зарядный комплекс для носимых радиостанций, включающий: средство, выделенное для зарядки носимой радиостанции, оснащенной аккумуляторной батареей, и средства его подключения к сети переменного тока; герметичный кейс для размещения перечисленного оборудования, отличающийся тем, что упомянутое средство для зарядки представляет собой, по меньшей мере, одно зарядно-разрядное устройство, выделенное для зарядки нескольких носимых радиостанций, оснащенных аккумуляторными батареями, причем в состав предложенного комплекса входят средства подключения указанного зарядно-разрядного устройства как к сети переменного тока, так и к бортовой сети автомобиля, а в герметичном кейсе выделены отсек временного размещения носимых радиостанций в полностью собранном виде, расположенный в крышке кейса, отсек хранения резервных аккумуляторных батарей, отсек хранения упомянутых средств подключения зарядно-разрядного устройства к сети (Патент №127542 RU. Опубл. 27.04.2013 г.).

[13]

Однако известный транспортно-зарядный комплекс не предназначен для зарядки и подзарядки передатчиков и приемников, конструкция которых ориентирована для людей страдающих дефектами слуха или обсуживающихся одним лицом (обучение, экскурсии и т.п.).

[14]

Задачей настоящей полезной модели является создание средства, имеющего увеличенное количество ячеек для зарядки и подзарядки, передающих и принимающих радиосигнал устройств. Технический результат проявляется в возможности одновременной зарядки, расположенных рядом нескольких устройств (трансиверов), в одинаковых условиях, для достижения ими равноценных технических характеристик.

[15]

Поставленная задача решается тем, что в зарядном устройстве для радиомикрофона, содержащем кейс, выполненный в виде корпуса, оснащенного на одной лицевой стороне ручкой, размещенным в нем на основании оборудованием, и крышкой, одна сторона которой соединена с корпусом с возможностью перемещения, а вторая - с возможностью закрепления к нему, при этом крышка оснащена отсеком, один сетевой кабель, внутри корпуса в одной части размещена зарядная группа, выполненная из расположенных в два ряда параллельно друг относительно друга двенадцати ячеек, в которых установлены, соответственно передатчики и приемники, ориентированные друг относительно друга и контактных элементов фиксационной пластиной, соединенные опосредованно электронной связью с входным разъемом, предохранителем, переключателем сетевым, индикатором включения, вентилятором, блоком питания, расположенным во второй части корпуса, кроме того, отсек на внутренней полости крышки выполнен в виде кармана, в котором размещены сетевой кабель, заушные индукторы, индукционные петли, микрофон, при этом корпус оснащен с каждой боковой стороны ушками, установленными с возможностью перемещения.

[16]

Целесообразно, для одновременного использования при подзарядке и зарядке группы передатчиков и приемников, последние расположить по шесть в каждом ряду.

[17]

Целесообразно, для удобства использования отсека в виде кармана, его разделить на части.

[18]

Целесообразно, для прочности крепления крышки к корпусу, использовать кейсовый замок.

[19]

Целесообразно, для индивидуализации производителя, разместить, на стороне расположения сетевого разъема, под сетевой кабель информационную таблицу.

[20]

Настоящую полезную модель поясняют подробным описанием, схемами, на которых:

[21]

Фиг. 1 - показывает общий вид спереди на кейс зарядного устройства, согласно полезной модели;

[22]

Фиг. 2 - показывает общий вида справа на кейс зарядного устройства, то же что и на фиг. 1;

[23]

Фиг. 3 - показывает вид на внутреннее параллельное размещение в корпусе ячеек с шестью передатчиками и шестью приемниками;

[24]

Фиг. 4 - структурная электрическая схема зарядного устройства, согласно полезной модели.

[25]

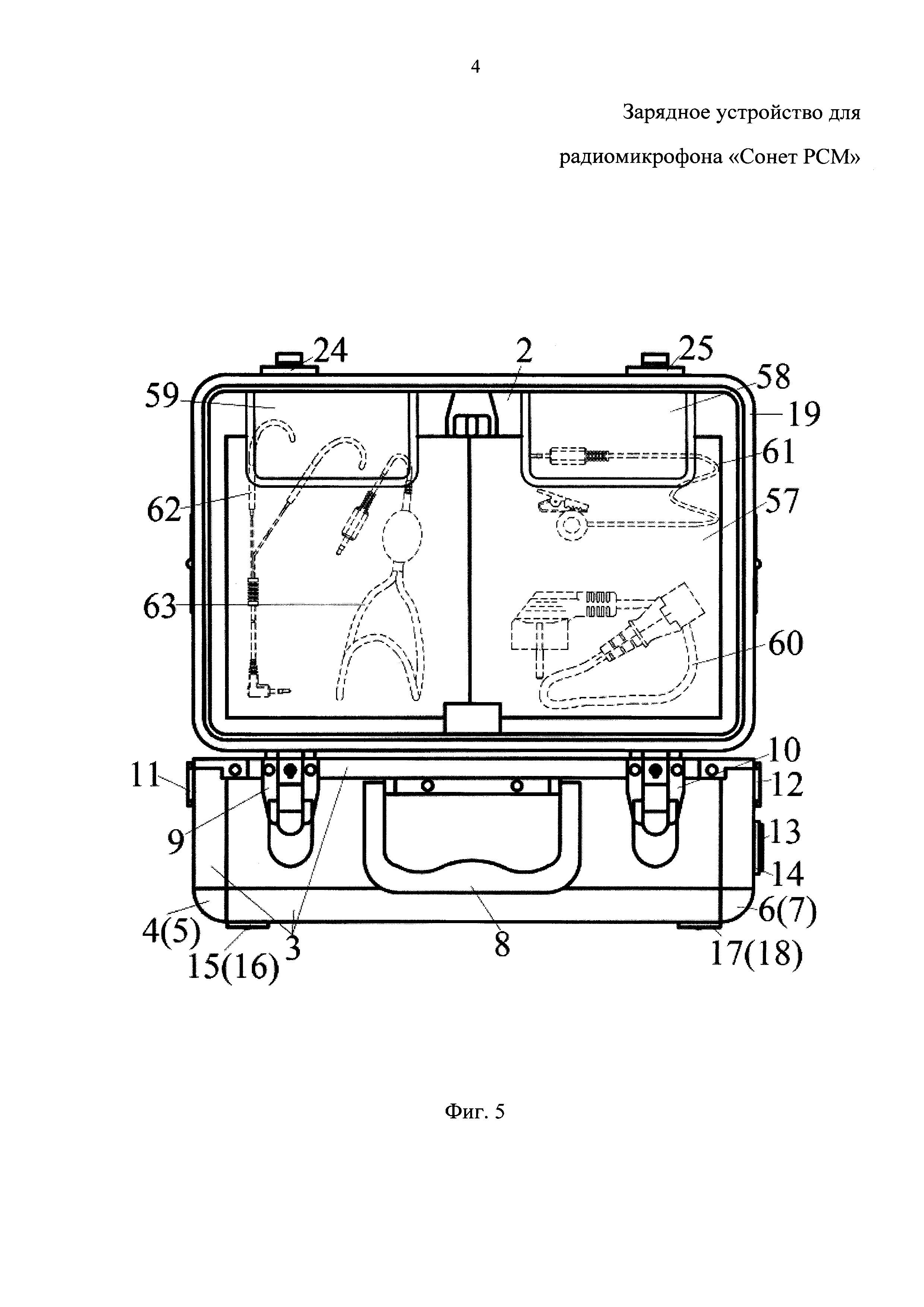
Фиг. 5 - показывает вид на отсек в виде кармана, расположенный с внутренней стороны крышки и дополнительное оборудование в нем.

[26]

Зарядное устройство для радиомикрофона «СОНЕТ РСМ», содержит кейс, выполненный в виде корпуса 1 и крышки 2 (Фиг. 1, 2).

[27]

Корпус 1 оснащен укрепляющим контуром 3, выполненным из укрепляющих элементов, соединенных в виде прямоугольника. На каждом из нижних углов укрепляющего контура 3 корпуса 1 зафиксированы фигурные укрепляющие элементы 4, 5, 6, 7. На лицевой грани корпуса 1 закреплена, ближе к верхнему краю, ручка 8, с возможностью поворота. С двух сторон от упомянутой ручки 8 закреплены нижние части двух кейсовых замков 9 и 10. На боковых гранях корпуса закреплены с возможностью поворота ушки 11 и 12. На правой боковой грани в правой части размещен входной разъем 13. В нижнем левом углу боковой грани справа закреплена информационная таблица 14. Кроме того снизу корпус 1 оснащен ножками 15, 16, 17, 18, расположенными в каждом из четырех углов.

[28]

Крышка 2 оснащена укрепляющим контуром 19, выполненным из укрепляющих элементов, соединенных в виде прямоугольника. На верхних углах крышки 2 зафиксированы укрепляющие фигурные элементы 20, 21, 22, 23. На лицевой стороне крышки 2 закреплены верхние части 24, 25 упомянутых кейсовых замков, которые имеют возможность соединения соответственно, с нижними частями 9 и 10 кейсовых замков корпуса 1.

[29]

Внутри корпуса 1 в одной части размещена зарядная группа ориентированная относительно друг друга и контактных элементов посредством фиксационной пластины 26 (Фиг. 3). Зарядная группа выполнена из расположенных в два ряда параллельно друг относительно друга двенадцати ячеек. В шести ячейках 27, 28, 29, 30, 31, 32 может быть установлено шесть передатчиков. В шести ячейках 33, 34, 35, 36, 37, 38 может быть установлено шесть приемников. Кроме того каждая из ячеек фиксационной пластины 26 оснащена соответствующим индикатором заряда разряда передатчиков и приемников, а именно: 39, 40, 41, 42, 43, 44 и 45, 46, 47, 48, 49, 50.

[30]

Электронный блок 51 размещен в правой части корпуса кейса 1.

[31]

Структурная схема электронного блока 51 содержит контакт входного разъема 13, связанный с предохранителем 52 (Фиг. 4). Упомянутый предохранитель 52 имеет возможность контакта с сетевым выключателем 53 со встроенным индикатором 54, связанным с блоком питания 55. Электронная схема оснащена вентилятором 56. Блок питания 55 связан соответственно с двенадцатью ячейками 27-38 зарядной группы передатчиков и приемников и 39-50 индикаторами заряда разряда передатчиков и приемников, ориентированных друг относительно друга фиксационной пластиной 26.

[32]

Кроме того, внутренняя часть крышки 2 оснащена отсеком, выполненным в виде кармана 57 (Фиг. 5). Отсек в виде кармана 57 может быть разделен на две части. Каждая часть оснащена клапаном 58 и 59, оснащенных по внутренней поверхности застежкой Velcro. В кармане 57 размещено дополнительное оборудование сетевой кабель, микрофон заушные индукторы, индукционные петли. При этом в одной части кармана 57, фиксированной клапаном 58, может быть размещено дополнительное оборудование: сетевой кабель 60, микрофон 61, а в другой его части, фиксированной клапаном 59, могут быть размещены заушные индукторы 62, индукционные петли 63. Дополнительное оборудование в частях кармана 57 может быть размещено и по иному.

[33]

Зарядное устройство для радиомикрофона «СОНЕТ РСМ» работает следующим образом.

[34]

Предварительно осуществляют процесс тестирования и зарядки блока питания (аккумулятора) 43. Для этого располагают корпус 1 кейса на горизонтальной поверхности с помощью ножек 15, 16, 17, 18. Открывают крышку 2 кейса. Устанавливают переключатель со встроенным индикатором 53 сетевой, расположенный на пластине электронного блока 51, в положение «0» - выключено. Размещают внутри корпуса 1 один передатчик в одной из ячеек 27-32 и один приемник в одной из ячеек 33-38 фиксационной пластины 26 зарядной группы до упора в основание корпуса 1 для контактов со структурной схемы. Подсоединяют разъем сетевого кабеля 57 к входному разъему 13 и вилку к сетевой розетке переменного напряжения 220 В и 50 Гц. После чего устанавливают переключатель 53 со встроенным индикатором в положение «Включено» загорается лампочка индикатора в переключателе 53. Затем выключают переключатель 53 со встроенным индикатором, перемещая его в положение «0» - выключено. Устанавливают остальные пять передатчиков и приемников в свободные ячейки, соответственно, 27-32 и 33-38. Для начала зарядки переключатель 53 со встроенным индикатором устанавливают в положение «Включено». При зарядке шести передатчиков и шести приемников крышка 2 корпуса 1 остается в открытом положении. Лампочки индикаторов заряда разряда каждого из двенадцати передатчика и приемника, а именно: 39, 40, 41, 42, 43, 44 и 45, 46, 47, 48, 49, 50 горят зеленым цветом. Процесс зарядки продолжается не более трех часов и завершается после того, как лампочки индикаторов 39-50 зарядки всех заряжаемых устройств (передатчиков и приемников) перестают светиться. Зарядное устройство после процесса зарядки должно быть выключено. Для этого переключатель 53, со встроенным индикатором, сетевого питания устанавливают в положение «0» - выключено. После чего передатчики и приемники раздают пользователям, которые применяют их или в процессе обучения, или в процессе экскурсионного обслуживания. Габаритные размеры зарядного устройства составляют 320×158×245 мм. Вес зарядного устройства не более 5 кг. Его эксплуатации возможно в диапазоне температур от 0°С до +40°С.

[35]

Предложенное зарядное устройство для радиомикрофона «СОНЕТ РСМ» позволяет расширить номенклатуры средств, имеющих увеличенное количество ячеек для зарядки и подзарядки, передающих и принимающих радиосигнал устройств.

[36]

Кроме того, имеет простую облегченную конструкцию кейса, который весит не более 5 кг с его содержимым. При этом кейс обладает повышенной жесткостью, возможностью одновременной зарядки нескольких устройств в одинаковых условиях и достижения ими равноценных технических характеристик, пониженным весом с содержимым, защищенностью от пыли.

[37]

Зарядное устройство удобно в использовании, особенно при необходимости зарядки большого количества передающих и приемных устройств для их использования в процессе обучения, туристическом обслуживании, людьми с ограниченными жизненными возможностями.

Как компенсировать расходы
на инновационную разработку
Похожие патенты