патент
№ RU 168549
МПК E01B9/00

СТРАХОВОЧНЫЙ ПАКЕТ ДЛЯ ЖЕЛЕЗНОДОРОЖНОГО ПУТИ

Авторы:
Ким Вадим Моисеевич Малинин Игорь Юрьевич Ершов Дмитрий Николаевич
Все (9)
Правообладатель:
Номер заявки
2016128973
Дата подачи заявки
15.07.2016
Опубликовано
08.02.2017
Страна
RU
Как управлять
интеллектуальной собственностью
Чертежи 
2
Реферат

[12]

Полезная модель относится к конструкциям и изделиям, которые используют для обеспечения безопасности движения поездов при прокладке коммуникаций и производстве других земляных работ под железнодорожными путями. Страховочный пакет для железнодорожного пути включает продольные и съемно-связанные с ними поперечные балки. Продольные балки выполнены двутавровыми с верхним и нижним расположением полок. С обеих сторон верхних и нижних полок по всей длине продольных балок выполнен ряд уширений с расположением каждой пары уширений друг против друга в горизонтальной плоскости и друг над другом в вертикальной плоскости. Между уширениями, которые расположены друг над другом на верхних и нижних полках и образованы за счет вырезов, в вертикальной стенке выполнены отверстия для размещения поперечных балок. Верхние полки продольных балок имеют сквозные отверстия для крепления поперечных балок. Технический результат заключается в повышении пропускной способности железнодорожного пути. 2 ил.

Формула изобретения

Страховочный пакет для железнодорожного пути, включающий продольные и съемно-связанные с ними поперечные балки, отличающийся тем, что продольные балки выполнены двутавровыми с верхним и нижним расположением полок, при этом с обеих сторон верхних и нижних полок по всей длине продольных балок выполнен ряд вырезов с расположением каждой пары вырезов друг против друга в горизонтальной плоскости и друг над другом в вертикальной плоскости, а между выступами, которые расположены зеркально друг относительно друга на верхних и нижних полках и образованы за счет вырезов, в вертикальной стенке выполнены отверстия для размещения поперечных балок.

Описание

[1]

Полезная модель относится к конструкциям и изделиям которые используют для обеспечения безопасности движения поездов при прокладке коммуникаций и производстве других земляных работ под железнодорожными путями.

[2]

Известны страховочные пакеты для железнодорожного пути, включающие продольные и съемно-связанные с ними поперечные балки (см. напр. Типовые строительные конструкции, изделия и узлы, инв. №2233 «Подвесные пакеты для ремонта железнодорожного пути», утверждены Министерством путей сообщения РФ 23.03.02).

[3]

Недостатком конструкции известных страховочных пакетов является то, что они обеспечивают движение поездов при скорости не более 25 км/час, что ограничивает пропускную способность железнодорожного пути.

[4]

В основу полезной модели поставлена задача усовершенствования конструкции страховочных пакетов для повышения скорости движения поездов и соответственно увеличения пропускной способности железнодорожного пути.

[5]

Поставленная задача решается тем, что страховочные пакеты для железнодорожного пути включают продольные и съемно-связанные с ними поперечные балки, продольные балки выполнены двутавровыми с верхним и нижним расположением полок, при этом с обеих сторон верхних и нижних полок по всей длине продольных балок выполнен ряд уширений с расположением каждой пары уширений друг против друга в горизонтальной плоскости и друг над другом в вертикальной плоскости, а между уширениями, которые расположены друг над другом на верхних и нижних полках и образованы за счет вырезов, в вертикальной стенке продольных балок выполнены отверстия для размещения поперечных балок, при этом верхние полки продольных балок имеют сквозные отверстия для крепления поперечных балок.

[6]

Поскольку продольные балки выполнены двутавровыми с верхним и нижним расположением полок, при этом с обеих сторон верхних и нижних полок по всей длине продольных балок выполнен ряд уширений с расположением каждой пары уширений друг против друга в горизонтальной плоскости и друг над другом в вертикальной плоскости, а между уширениями, которые расположены друг над другом на верхних и нижних полках и образованы за счет вырезов, в вертикальной стенке продольных балок выполнены отверстия для размещения поперечных балок, а верхние полки продольных балок имеют сквозные отверстия для крепления поперечных балок, обеспечивается повышение скорости движения поездов и соответственно увеличение пропускной способности железнодорожного пути.

[7]

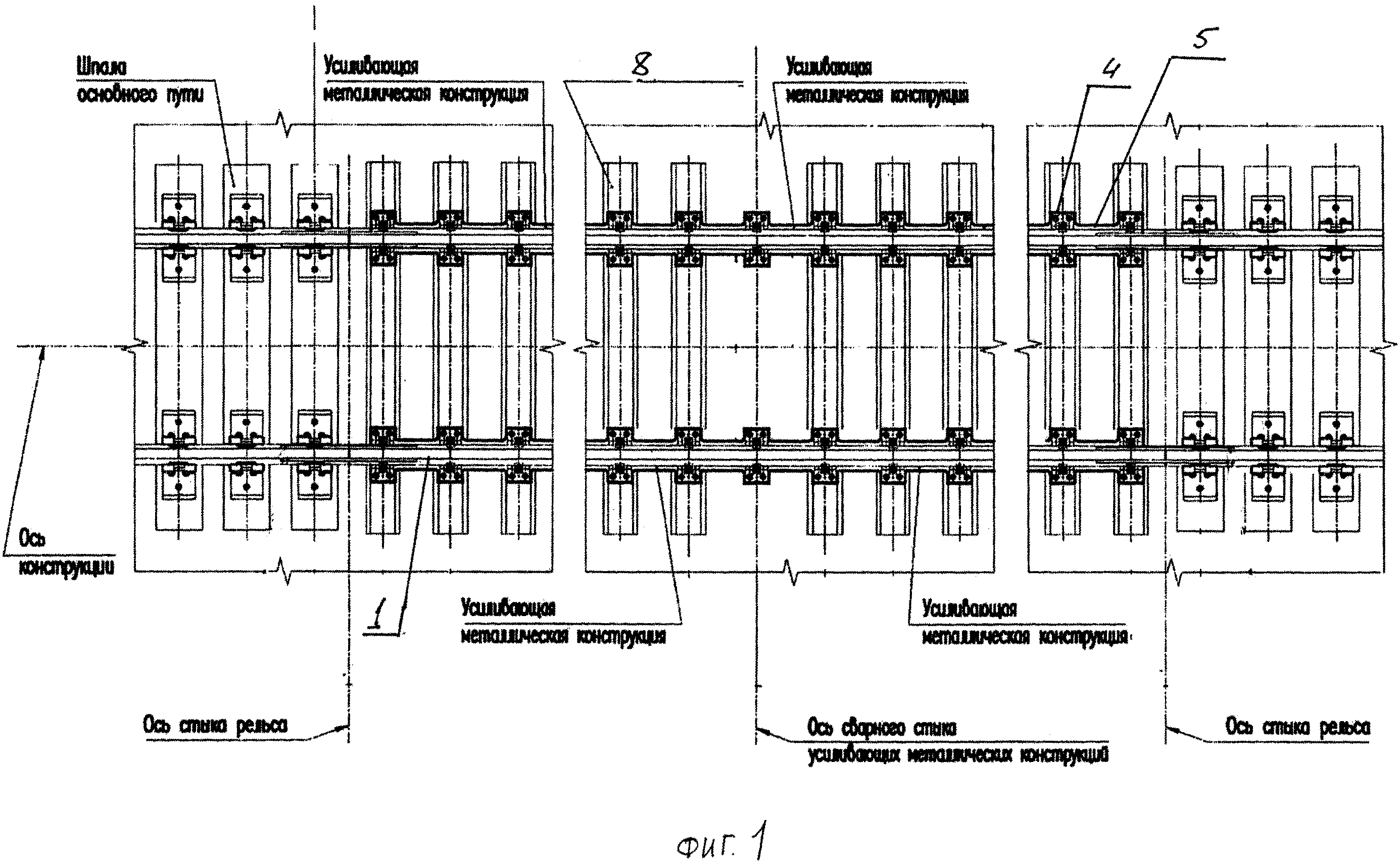
Страховочные пакеты для железнодорожного пути включают двутавровые продольные балки 1 с верхним 2 и нижним 3 расположением полок. С обеих сторон верхних и нижних полок 2 и 3 по всей длине продольных балок 1 выполнен ряд уширений 4 с расположением каждой пары уширений друг против друга в горизонтальной плоскости и друг над другом в вертикальной плоскости. Между уширениями 4, которые расположены друг над другом на верхних и нижних полках 2 и 3 и образованы за счет вырезов 5, в вертикальной стенке 6 выполнены отверстия 7 для размещения поперечных балок 8 в виде деревянных путевых шпал. Вырезы 5 необходимы для подбивки балласта. Верхние полки 2 продольных балок 1 имеют сквозные отверстия 9 для крепления поперечных балок 8 путевыми шурупами 11. Рельсы 10 закрепляют на верхней полке 2 посредством клемм 13 и болтов 14 через прокладку 12.

[8]

На фиг. 1 показан общий вид рельсового пути с установленными страховочными пакетами; на фиг. 2 - поперечное сечение продольной балки с установленными поперечной балкой и рельсом.

[9]

Установка страховочных пакетов производится следующим образом.

[10]

Перед установкой страховочного пакета представляющего звено с усиливающей металлической конструкцией производится демонтаж звена соответствующей длины из эксплуатируемого пути. Если на эксплуатируемом пути уложены бесстыковые плети производится их разрезка в требуемых местах в соответствии с «Инструкцией по устройству, укладке, содержанию и ремонту бесстыкового пути», от 29 декабря 2912 г. №2788р и «Техническими указаниями по устройству, укладке, содержанию и ремонту бесстыкового пути» от 31 марта 2000 г. (ТУ-2000). Эксплуатируемое звено удаляется путеукладочным краном УК 25/9-18 и перегружается на мотоплатформу. Производится вырезка балласта погрузчиком или бульдозером. Звено с усиливающими металлическими конструкциями, преставляющее из себя две двутавровые продольные балки 1 в отверстия 7 которых вставлены поперечные балки 8 в виде деревянных путевых щпал и закрепленные на верхних полках 2 рельсы 10, устанавливается в путь путеукладочным краном УК 25/9-18. Деревянные шпалы 8 выполняют роль поперечной связи и связаны с продольными балками 1 путевыми шурупами 11 через отверстия 9 в верхних полках 2. объединяя рельсошпальную решетку с продольными двутавровыми балками 1 страховочного пакета, чем обеспечивается совместная работа страховочных пакетов и рельсошпальной решетки. Рельсы 10 устанавливают на верхние полки 2 через прокладку 12 и фиксируют клеммами 13 с помощью болтов 14. При этом производится стыковка концов рельсов 10 устанавливаемого звена с существующими рельсами. После закрепления концов звена с усиливающими металлическими конструкциями к существующим рельсам шестидырными накладками производится его подъем путейскими домкратами до уровня близкого к проектному. Домкраты устанавливаются в четвертях и в середине звена с каждой стороны. Под нижние горизонтальные листы пакетов подкладываются деревянные прокладки через каждые 4-5 м и в середине звена. Производится балластировка звена с усиливающими металлическими конструкциями хопердозатором с разгрузкой балласта по концам шпал. Балласт подбивается ручными виброшпалоподбойками по концам шпал 8. Производится повторная балластировка звена с усиливающими металлическими конструкциями хопердозатором с разгрузкой балласта по концам шпал 8. Производится рихтовка и выставление звена с усиливающими металлическими конструкциями в проектное положение машиной Доуматик 09-32 с подбивкой балласта. Производится стабилизация балластной призмы звена с усиливающими металлическими конструкциями электробалластером ЭЛБ. Путь должен быть приведен в состояние, удовлетворяющее требованиям Инструкции по текущему содержанию железнодорожного пути, утвержденной распоряжением ОАО «РЖД» от 29.12.2012 г. №2791р и Инструкции по текущему содержанию железнодорожного пути, утвержденной департаментом пути и сооружений МПС РФ от 01.07.2000 г. ЦП-774.

[11]

После завершения работ и ухода хозяйственных поездов открывается сквозное движение по перегону. Первые два поезда пропускаются со скоростью 60 км/ч, следующие два 80 км/ч. После этого открывается движение со скоростями для пассажирских и скоростных поездов до 140 км/ч, для грузовых до 90 км/ч.

Как компенсировать расходы
на инновационную разработку
Похожие патенты