патент
№ RU 163971
МПК A01B21/00

БОРОНА ДИСКОВАЯ ДВУХРЯДНАЯ НАВЕСНАЯ

Авторы:
Юшков Александр Николаевич Кузнецов Геннадий Яковлевич Талаш Анна Ивановна
Все (7)
Номер заявки
2015151147/13
Дата подачи заявки
27.11.2015
Опубликовано
20.08.2016
Страна
RU
Как управлять
интеллектуальной собственностью
Чертежи 
5
Реферат

1. Борона дисковая двухрядная навесная, содержащая раму, Г-образные рессорные стойки, закрепленные верхними концами на раме, диски, закрепленные на нижних концах стоек с возможностью вращения, отличающаяся тем, что содержит Г-образные рессорные стойки с фиксированным прижатием верхних горизонтальных частей стоек плитами к поперечным брусьям рамы, а к нижним частям вертикальных стоек, изогнутых под углом 65-75° к горизонту, присоединены болтами режущие узлы; стойки закрепляются болтами на поперечных брусьях рамы бесступенчато.2. Борона по п. 1, отличающаяся тем, что режущие узлы, включающие диски и ступицы с кронштейнами, установленные на Г-образных рессорных стойках болтами, однотипны.3. Борона по п. 1, отличающаяся тем, что при регулировке угла атаки верхняя часть стоек устанавливается и зажимается на заданный угол атаки дисков, которые пересекаются вертикальной осью поворота узлов режущих, что исключает огрехи.4. Борона по п. 1, отличающаяся тем, что заданное количество дисков размещено на раме жестко в два ряда с расстоянием между ними не более половины их диаметра и с межосевым расстоянием между рядами не менее одного диаметра диска.5. Борона по п. 1, отличающаяся тем, что режущий узел с дисками при прямолинейной вертикальной стойке может быть развернут на 180° и зеркально изменять положения дисков выпуклостью вправо или влево, смещая землю в разные стороны.

Формула изобретения

1. Борона дисковая двухрядная навесная, содержащая раму, Г-образные рессорные стойки, закрепленные верхними концами на раме, диски, закрепленные на нижних концах стоек с возможностью вращения, отличающаяся тем, что содержит Г-образные рессорные стойки с фиксированным прижатием верхних горизонтальных частей стоек плитами к поперечным брусьям рамы, а к нижним частям вертикальных стоек, изогнутых под углом 65-75° к горизонту, присоединены болтами режущие узлы; стойки закрепляются болтами на поперечных брусьях рамы бесступенчато.

2. Борона по п. 1, отличающаяся тем, что режущие узлы, включающие диски и ступицы с кронштейнами, установленные на Г-образных рессорных стойках болтами, однотипны.

3. Борона по п. 1, отличающаяся тем, что при регулировке угла атаки верхняя часть стоек устанавливается и зажимается на заданный угол атаки дисков, которые пересекаются вертикальной осью поворота узлов режущих, что исключает огрехи.

4. Борона по п. 1, отличающаяся тем, что заданное количество дисков размещено на раме жестко в два ряда с расстоянием между ними не более половины их диаметра и с межосевым расстоянием между рядами не менее одного диаметра диска.

5. Борона по п. 1, отличающаяся тем, что режущий узел с дисками при прямолинейной вертикальной стойке может быть развернут на 180° и зеркально изменять положения дисков выпуклостью вправо или влево, смещая землю в разные стороны.

Описание

[1]

Заявляемая полезная модель относится к сельскохозяйственному машиностроению, преимущественно к почвообрабатывающим машинам, с ротационными дисковыми рабочими органами, и может быть использовано для поверхностной обработки почвы под зерновые, кормовые и овощные культуры, в междурядьях многолетних насаждений.

[2]

Известные дисковые бороны (см. борона БДСТ-2,5, БДН-3, БДТ-7, патенты США №427934 и 4423789, авторские свидетельства СССР №1722269 и 1762771) содержат установленные (размещенные) на горизонтальных осях диски, образующие дисковые батареи, установленные под углом к направлению движения (угол атаки). В таких устройствах из-за наличия общей оси дисков, и их нефронтального размещения, междисковое пространство часто забивается почвой, растительными остатками, технологический процесс не стабилен: недостаточная степень крошения почвы, подрезания и измельчения сорняков.

[3]

Известна садовая дисковая двухследная борона по авторскому свидетельству RU №1491357, кл. А01В 21/08 от 07.07.89 г., где имеется рама, на которой посредством поворотных кронштейнов, поводков и вертикальных шарниров размещены диски, вращающиеся на горизонтальной оси; каждый диск снабжен поворотным кронштейном, один конец которого соединен с осью вращения диска, а другой - с рамой посредством вертикального шарнира. Такая конструкция сложна, металлоемка, дорога, и потому в производстве не нашла применения, потому ее необходимо усовершенствовать.

[4]

Известен плуг-лущильник дисковый (полезная модель №14797, А01В 7/00 от 10.09.2000 г.), каждый диск которого смонтирован на отдельной оси, при этом диски имеют регулируемый угол атаки, расположены фронтально

[5]

по ширине захвата машины. Достоинством такой конструкции является отсутствие единой оси у дисков, благодаря чему разгружаются подшипниковые узлы, снижаются трудовые и материальные затраты на ремонт. Однако недостатком конструктивного решения такого устройства является то, что для регулировки угла атаки применены поворотные рычаги, жестко прикрепленные к вертикальным стойкам дисков в зоне действия изгибающих и крутящих моментов, при этом стойки закреплены шарнирно на поперечных балках рамы штифтами. Такая конструкция ослабляет сечение стоек в месте присоединения к ним поворотных рычагов, при определенных нагрузках на диски рама трескается, стойки ломаются, и технологический процесс обработки прекращается.

[6]

Недостатками описанных устройств является и большое удельное сопротивление, и значительная заделка в почву растительных остатков. В целях устранения отмеченных недостатков и разработки универсальной бороны предложена борона дисковая (патент США №6158523, кл. 172, 2000 г.), включающая криволинейные пружины (стойки) закрепленные на раме хомутами, а с дисками болтами. Такая конструкция надежно сохраняет раму и стойки от поломок, но не позволяет регулировать угол атаки дисков, т.е. не приспособлена к изменяющемуся агрофону.

[7]

Патентом РФ 2352095 C1, А01С 23/02, 2006 г. предложено регулировать угол атаки (при использовании патента США №6158523) применением хомутов, установленных на раме не жестко, как в патенте США, а шарнирно на втулках, однако, из-за больших люфтов в сочленениях такой конструкции, такая разработка практического применения, как и подобные ей (полезные модели RU №66881, №68839, №88240) не нашли, поэтому такие разработки необходимо усовершенствовать.

[8]

Наиболее близким прототипом заявленной нами полезной модели бороны дисковой двухрядной навесной следует признать украинскую дисковую борону ИА 83639И, опубл. 25.09.2013 (Д1), включающую раму, на которой в два ряда (с установленным шагом) размещены индивидуальные

[9]

(автономные) пружинные стойки с правым и левым уклоном, на которых шарнирно (на подшипниках) закреплены дисковые рабочие органы. Такая конструкция бороны с автономным (фронтальным) размещением дисков хотя и позволяет с помощью пластинчатых пружинных стоек изменять угол наклона атаки дисков, однако, конструктивно пружинные пластические стойки с правым и левым уклоном как и их крепление к раме бороны конструктивно сложны, что снижает надежность технологического процесса измельчения и заделки в почву сорняков и растительных остатков, поэтому прототип дисковой бороны необходимо усовершенствовать.

[10]

Техническим результатом заявляемой полезной модели является повышение универсальности бороны, ее надежности, улучшение качества обработки почвы за счет более совершенной конструктивной компоновки однотипных режущих узлов и совокупного применения известных устройств и механизмов. Это достигается тем, что предложенная борона дисковая, двурядная навесная, включающая раму, выполненную из трубчатого проката, с элементами агрегатирования, бесступенчато закрепленные на раме в два ряда однотипные Г-образные рессорные стойки, с установленными на них болтами режущих узлов (сферических дисков со ступицами); каждая Г-образная стойка зажата (установлена) на поперечной балке, между двумя плитами, болтами с шайбами, а угол атаки дисков устанавливается с помощью фиксации и зажима Г-образных стоек в заданном положении.

[11]

Указанные отличия являются существенными, так как безступенчатая установка Г-образных однотипных стоек со сферическими дисками на поперечных балках рамы, фиксация на них заданного угла атаки дисков, жесткой установкой Г-образных стоек болтами между плитами, ликвидация люфтов в креплении стоек существенно повышает конструктивную надежность, качество работы дисковой бороны, стабилизирует процесс обработки почвы, снижает энергоемкость технологического процесса.

[12]

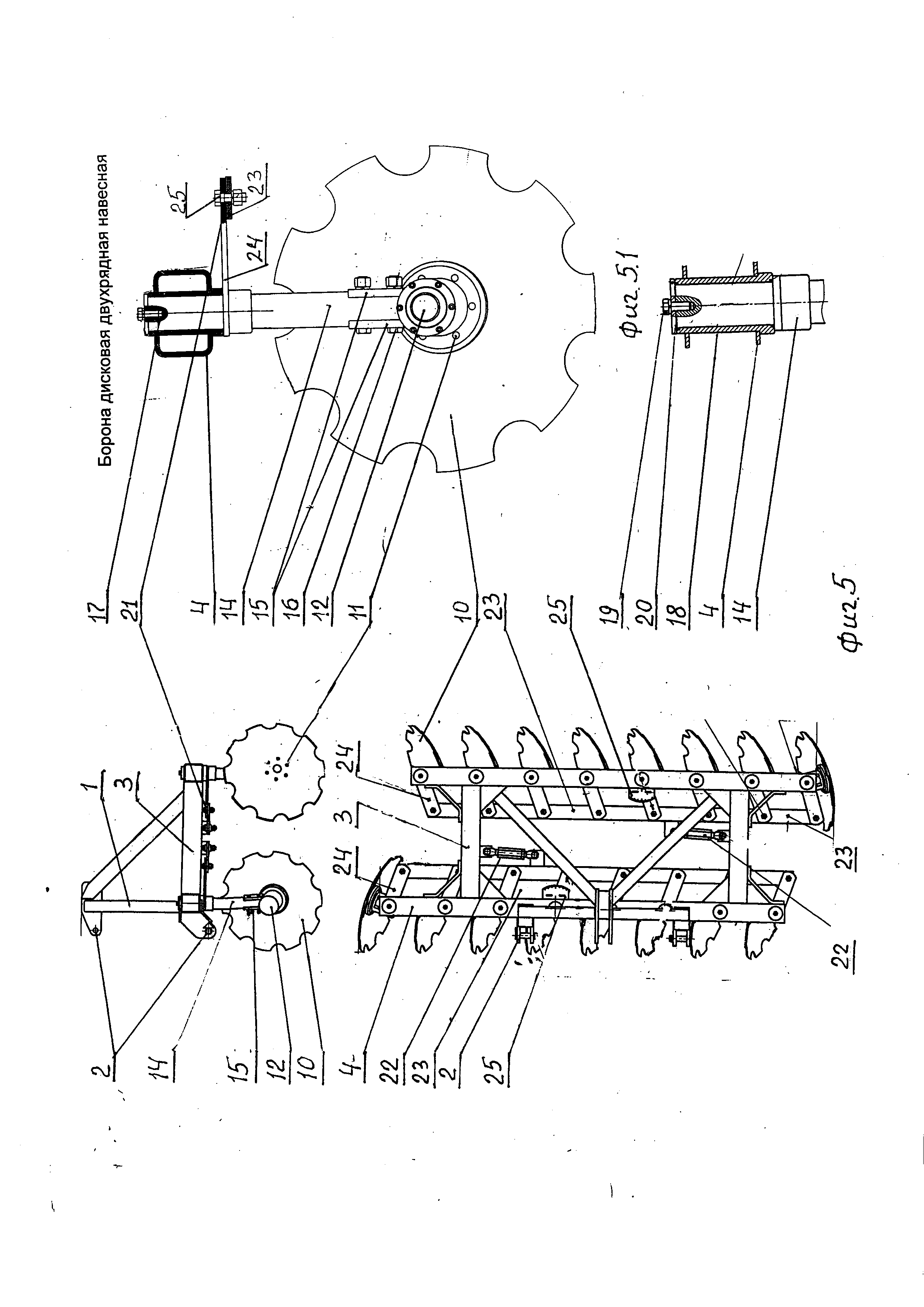
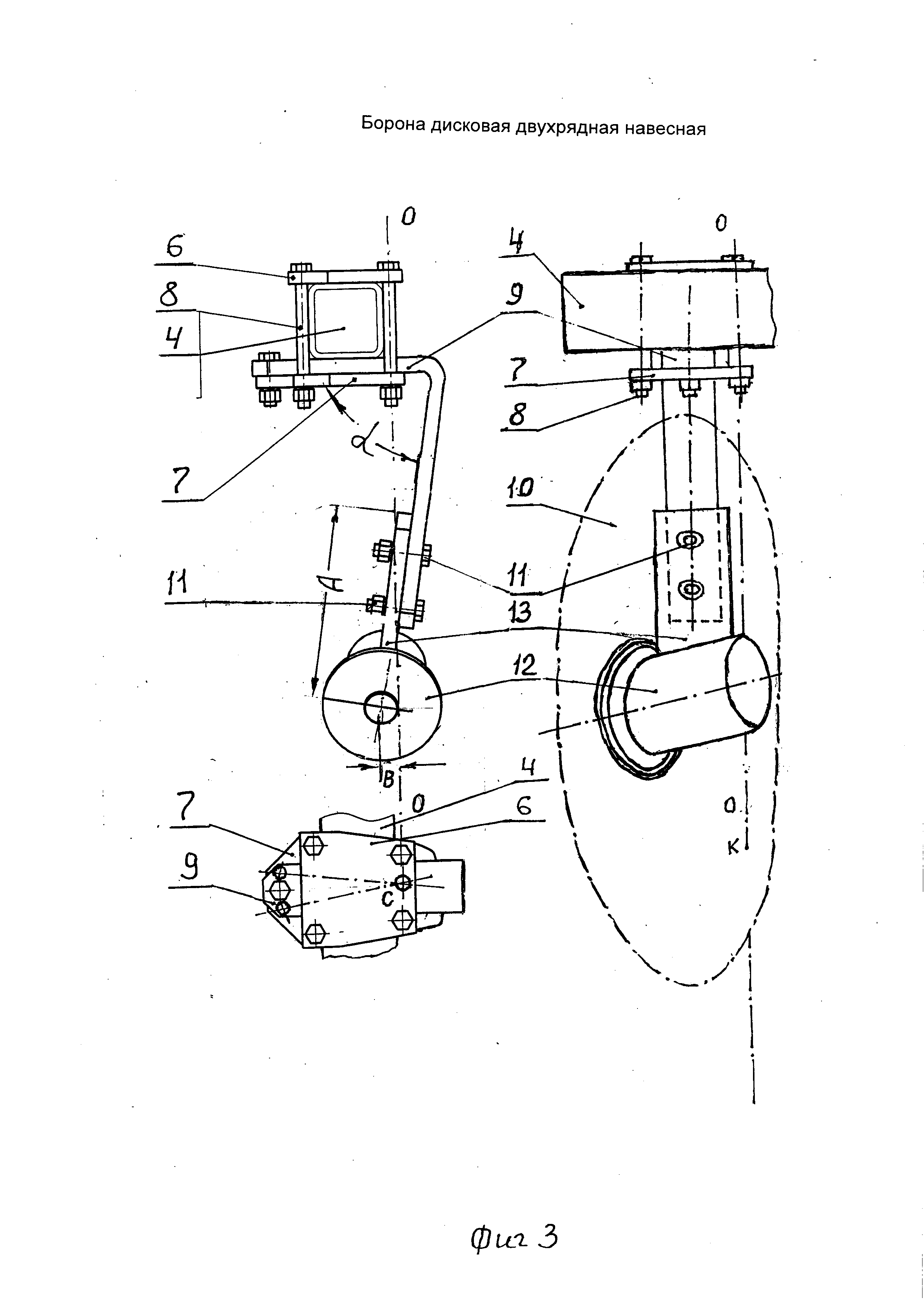
Сущность полезной модели поясняется чертежами. На фиг. 1 изображена борона дисковая двухрядная навесная для сплошной обработки почвы, на фиг. 2 то же для полосовой обработки почвы вблизи корней растений многолетних насаждений; на фиг. 3 - конструкция Г-образной рессорной стойки; на фиг. 4 показана конструкция механизма для регулировки угла атаки (без верхней плиты); на фиг. 5 дан вариант конструкции бороны дисковой двухрядной навесной с прямолинейными вертикальными стойками.

[13]

Борона дисковая двухрядная навесная (фиг. 1…4) включает раму 1, выполненную из трубчатого проката с навесным устройством 2, состоящую из соединенных между собой продольных 3 и поперечных 4 балок и установленных под углом к ним брусьев 5. На балках 4 рамы 1, между плитами 6 (верхними) и 7 (нижними), болтами 8, безступенчато установлены однотипные Г-образные рессорные стойки 9 (в верхней части) с закрепленными на них (в нижней части) режущими узлами (сферическими дисками 10 со ступицами), которые болтами 11 крепятся к ступице 12 через кронштейны 13.

[14]

Г-образные рессорные стойки 9 устанавливаются на раму 1 безступенчато жестко в два ряда под углом α=65…75° к направлению движения бороны (к горизонту). Сферические диски (далее диски) 10 с радиусом R (фиг 1.1) устанавливаются под оптимальным горизонтальным углом атаки β=15…18° и постоянным углом наклона в вертикальной плоскости λ=10…12°.

[15]

При сплошной (фиг. 1) и полосовой (фиг. 2) обработке почвы заданное количество дисков расставляются на поперечных брусьях рамы 4 жестко в два ряда с расстоянием между ними не более половины диаметра диска 10 друг от друга, и с межосевым расстоянием между рядами не менее диаметра диска 10, обеспечивающего свободный проход почвы, растительной массы и технический уход за бороной.

[16]

На фиг. 2 представлена борона дисковая двухрядная навесная для обработки приствольных или прикустовых полос многолетних насаждений. Конструкция такой бороны отличается от конструкции бороны для сплошной обработки почвы (фиг. 1) только режущими узлами, размещенными двумя секциями (по 3-4 сферических диска), на краях рамы.

[17]

Сплошные диски 10 могут быть заменены при необходимости, как и в бороне для сплошной обработки почвы (фиг. 1) на вырезные (фиг. 2.1) или игольчатые (фиг. 2.2) диски.

[18]

Применяемые в настоящее время серийные сплошные сферические диски не регулирует скорость их вращения, а при работе на уплотненных глинистых почвах недостаточно хорошо дробят почву, поэтому их необходимо заменить на диски с прорезными окнами (фиг. 2.1), представляющий собой сферический катящийся орган, на рабочей поверхности которого вырезаны «окна». Сплошным остается только лезвие диска, которое можно загнуть для лучшего заглубления в почву, или применять игольчатые диски (фиг. 2.2). При использовании таких дисков часть почвы будет пересыпаться в окна (щели между иглами) и таким образом на отбрасываться в сторону (как при сплошных дисках), что позволит не только снизить обороты дисков, но и улучшить за счет меньшего отброса пласта качественные показатели обработки почвы (гребнистость, глыбистость), снизить тяговое сопротивление бороны.

[19]

На фиг. 3…4 дана конструкция для установки и регулировки Г-образных рессорных стоек 9. Г-образные рессорные стойки 9 устанавливаются относительно оси их поворота О-О, проходящую через шарнир С в нижней плите 7, на который Г-образная рессорная стойка 9 может быть повернута влево или вправо на заданный угол атаки σ, и прижата болтами 8 к поперечной балке 4, между верхней 6 и нижней 7 плитой. Диск 10 со ступицей 12, с кронштейном 13, пикрепленными внизу болтами 14 к Г-образной рессоре 9, поворачивается также на угол σ. За исходное положение Г-образной рессорной стойки 9 принято положение I ее верхнего конца

[20]

перпендикулярное направлению движения бороны (фиг. 4), при котором угол атаки β диска 10 составляет 15° (фиг. 1.1), а при ее повороте вправо (положение II) на угол α=1…9° он составит 22…24°, а при повороте влево (положение III) на угол α=7…9° он составит 8…14°, что соответствует установленным агротребованиям для обработки любого агрофона. Поворот Г-образной стойки 9 (при отпущенных болтах 8) осуществляется относительно шарнира С (фиг. 4), включающего специальный винт, щлицевую гайку со шплинтом и шайбу.

[21]

Рабочая часть Г-образной рессорной стойки 9 крепится на расстоянии А от оси ступицы 12, а вертикальная ось поворота О-О расположена на расстоянии В от оси ступицы 12 (фиг. 3), и пересекает вогнутую поверхность диска 10 в его нижней части в точке К, что позволит исключить огрехи при изменении угла атаки диска β, улучшая качество обработки почвы, не допуская огрехов, повторных обработок почвы, снижая нагрузки.

[22]

При изменении угла атаки диска β, диск 10 поворачивается без смещения в сторону (влево или вправо), относительно вертикальной оси поворота О-О, изменяя величину обрабатываемой полосы, зависящую только от диаметра 10 и радиуса сферы диска R (фиг. 1.1).

[23]

При движении машины происходит отделение почвенного пласта заданного размера от монолита, сдвигания его в сторону борозды и крошение.

[24]

При наезде диска 10 на препятствия (плотная почва, кочка, яма, камень), диск 10 двигается гибко назад, вверх, вниз, или в сторону (влево, вправо), при этом за счет пружинных свойств (упругости) Г-образной рессорной стойки 9. такая конструкция снижает ударные нагрузки на режущий узел, при этом диск возвращается в исходное положение, пропуская землю и растительные остатки без забивания. Г-образная рессорная стойка 9 в таких условиях работает не только как пружина, но и как торсион, а колебания диска 10 снижают тяговое сопротивление бороны, улучшают качество обработки почвы.

[25]

Патент на полезную модель найдет применение в сельскохозяйственном машиностроении, при производстве и эксплуатации почвообрабатывающих орудий, так как однотипная Г-образная рессорная стойка, жестко закрепленная в нижней части к диску 10, снижает ударные нагрузки на ступицу 12, размещенную на вогнутой стороне диска 10, раму 1, диск 10, заглубленный на заданную глубину, а фиксированное положение диска 10 исключает огрехи. Предлагаемая борона, содержащая однотипную Г-образную рессорную стойку 9, закрепленную верхним концом на поперечной балке рамы 1, а нижним концом, соединенная со сферическим диском 10, имеющим возможность вращаться, выгодно отличается от описанных выше конструкций. Существенное отличие от аналогов предлагаемой бороны, заключается в том, что Г-образная рессорная стойка 9 установлена в верхней части с фиксированным прижатием плитами 6, 7 к поперечным брусьям рамы 1, а к нижней части стойки, изогнутой под углом α, жестко присоединены болтами однотипные режущие узлы (диски 10 со ступицей 12). Вертикальная ось поворота узла режущего ОО пересекает вогнутую поверхность заглубленного в почву диска в нижней части на поверхности почвы, что позволяет исключить огрехи при изменении угла атаки дисков β, улучшая качество обработки почвы. Г-образная рессорная стойка при этом работает не только как пружина, но и как торсион, а колебания диска снижают тяговое сопротивление, улучшают качество обработки почвы.

[26]

Вышеописанная борона дисковая двухрядная навесная (фиг. 1…4), может быть использована в перспективе при обработки объемных почв зерновых, кормовых культур, а при обработке почв малообъемных культур, например многолетних насаждений, можно применять (с использованием технологических элементов описанных выше) аналоги существующих борон дисковых двухрядных навесных (например БДМ 25×2, БДМ 3×2, БДУ-25Н, БДУ-2,8Н), которые необходимо снабдить конструкцией режущего узла в виде прямолинейных вертикальных стоек, позволяющих развернуть диски на 180°, и зеркально изменять положение дисков выпуклостью вправо, влево,

[27]

смещая при работе бороны почву в разные стороны (фиг. 5). Такое смещение почвы при обработке междурядий многолетних насаждений необходимо, так как технологический процесс окучивания и разокучивания молодых многолетних насаждений необходим.

[28]

На фиг. 5 представлена конструкция бороны дисковой двухрядной навесной, с прямолинейными вертикальными стойками 14, имеющим в нижней части пазы, в которые входят кронштейны 15, ступицы 12 с дисками 10, прикрепленными к ступице болтами 11, а кронштейны 15 ступицы 12 крепятся к стойкам 14 болтами 16. В верхней части прямолинейная вертикальная стойка механизмом 17 соединяется поперечной балкой 4 рамы 1 (фиг. 5.1). Верхний конец стойки 14 входит во втулку 18 поперечной балки 4, где удерживается болтом 19, шайбой с гровером 20.

[29]

Механизм регулировки угла атаки 21 включает резьбовые регуляторы угла атаки 22, прикрепленные шарнирно к продольной балке 3 и соединенные шарнирно болтами с продольными тягами 23 и соединенными жестко кривошипами 24 со стойками 14. Указатели 25, укрепленные на кривошипах 24 (после ручной регулировки втулки резьбового регулятора 22) фиксируют установленный угол атаки β.

Как компенсировать расходы
на инновационную разработку
Похожие патенты