1. Силовой агрегат транспортного средства с модифицированным с бензинового на дизельный двигателем внутреннего сгорания, включающий картер сцепления, коробку перемены передач и узлы крепления силового агрегата к транспортному средству, отличающийся тем, что в качестве модифицированного с бензинового или газового использован типовой дизельный двигатель внутреннего сгорания, при этом дополнительно введены варианты узлов крепления силового агрегата к различным типам транспортного средства.2. Силовой агрегат по п.1, отличающийся тем, что при использовании дизельного двигателя на автомобиле ЗИЛ-130 дополнительно введены передний и задний узлы крепления силового агрегата, при этом передний узел выполнен в виде опорного устройства, закрепленного в поперечном направлении на переднем лонжероне автомобиля, на котором размещена передняя опора дизельного двигателя, а задний узел выполнен в виде двух кронштейнов, симметрично расположенных с боковых сторон картера сцепления.3. Силовой агрегат по п.1, отличающийся тем, что при использовании дизельного двигателя на автомобилях ГАЗ или автобусе КавЗ дополнительно введен узел крепления силового агрегата, выполненный в виде двух симметрично расположенных с боковых сторон картера сцепления кронштейнов, каждый из которых закреплен на опорном элементе, прикрепленном к раме автомобиля или автобуса.4. Силовой агрегат по п.3, отличающийся тем, что в нем использована коробка перемены передач автомобиля ЗИЛ-130.5. Силовой агрегат по п.1, отличающийся тем, что при использовании дизельного двигателя на автомобилях ПАЗ дополнительно введены узлы крепления силового агрегата, выпол�
1. Силовой агрегат транспортного средства с модифицированным с бензинового на дизельный двигателем внутреннего сгорания, включающий картер сцепления, коробку перемены передач и узлы крепления силового агрегата к транспортному средству, отличающийся тем, что в качестве модифицированного с бензинового или газового использован типовой дизельный двигатель внутреннего сгорания, при этом дополнительно введены варианты узлов крепления силового агрегата к различным типам транспортного средства. 2. Силовой агрегат по п.1, отличающийся тем, что при использовании дизельного двигателя на автомобиле ЗИЛ-130 дополнительно введены передний и задний узлы крепления силового агрегата, при этом передний узел выполнен в виде опорного устройства, закрепленного в поперечном направлении на переднем лонжероне автомобиля, на котором размещена передняя опора дизельного двигателя, а задний узел выполнен в виде двух кронштейнов, симметрично расположенных с боковых сторон картера сцепления. 3. Силовой агрегат по п.1, отличающийся тем, что при использовании дизельного двигателя на автомобилях ГАЗ или автобусе КавЗ дополнительно введен узел крепления силового агрегата, выполненный в виде двух симметрично расположенных с боковых сторон картера сцепления кронштейнов, каждый из которых закреплен на опорном элементе, прикрепленном к раме автомобиля или автобуса. 4. Силовой агрегат по п.3, отличающийся тем, что в нем использована коробка перемены передач автомобиля ЗИЛ-130. 5. Силовой агрегат по п.1, отличающийся тем, что при использовании дизельного двигателя на автомобилях ПАЗ дополнительно введены узлы крепления силового агрегата, выполненные в виде двух симметрично расположенных с боковых сторон коробки сцепления кронштейнов, закрепленных на специально введенной подмоторной раме, установленной на раме автомобиля, включающей две боковые направляющие, поперечину, соединяющую направляющие спереди, два опорных элемента, выполненных на поперечине, и распорный элемент, установленный между направляющими с задней стороны. 6. Силовой агрегат по п.5, отличающийся тем, что в нем использована коробка перемены передач автомобиля ЗИЛ-130.
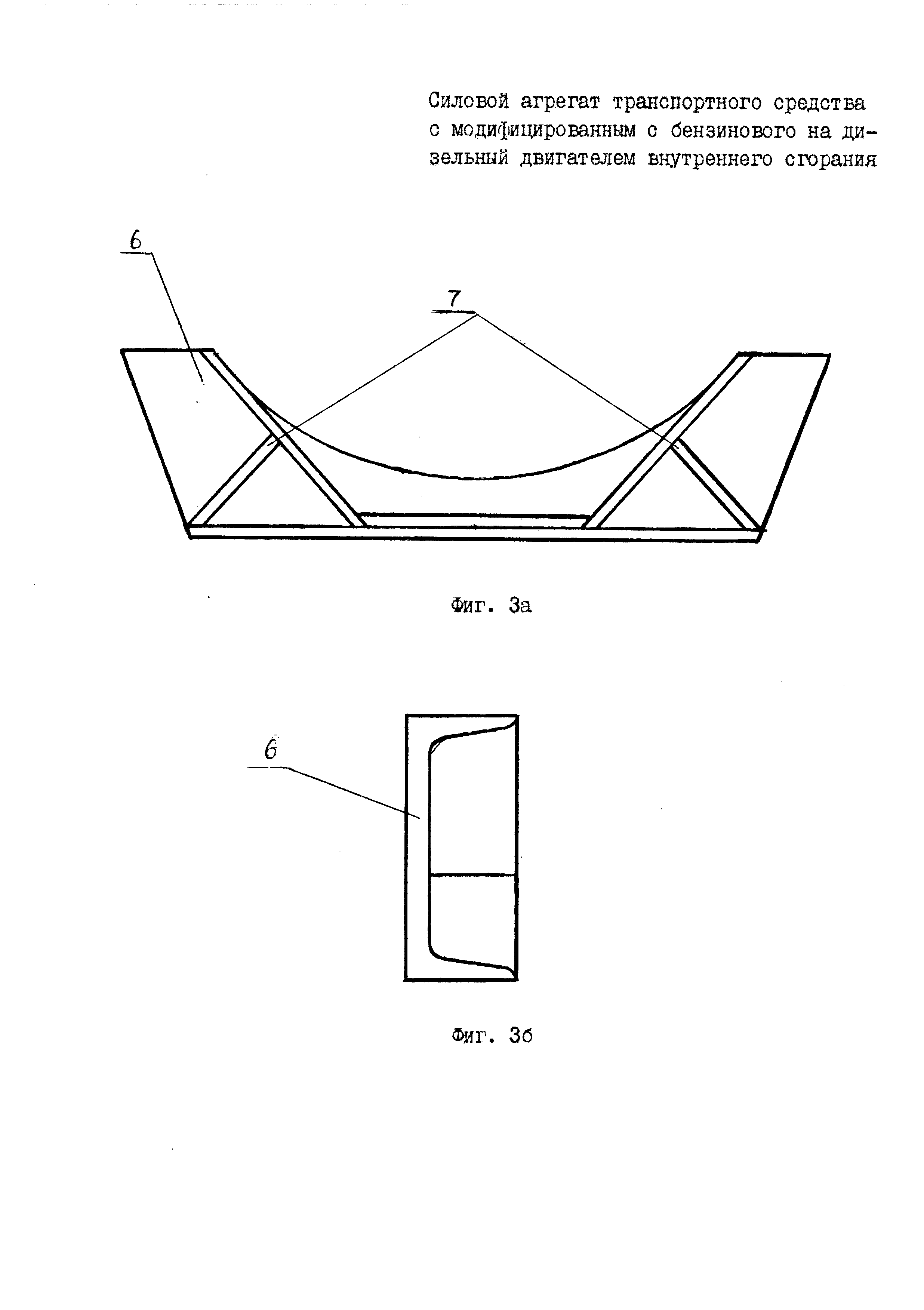
СИЛОВОЙ АГРЕГАТ ТРАНСПОРТНОГО СРЕДСТВА С МОДИФИЦИРОВАННЫМ С БЕНЗИНОВОГО НА ДИЗЕЛЬНЫЙ ДВИГАТЕЛЕМ ВНУТРЕННЕГО СГОРАНИЯ Полезная модель относится к автомобилестроению, в частности к переоборудованным силовым агрегатам, используемым в грузовых автомобилях и автобусах. Известно, что бензиновые или газовые двигатели внутреннего сгорания имеют намного больший расход топлива, чем двигатели, работающие на жидком топливе, что значительно снижает их экономичность (Луканин В.Н. и др. Двигатели внутреннего сгорания. Учеб. для вузов. Кн.2. Динамика и конструирование.- М.:Высш.шк., 1995 г., с.313). Известно также использование в составе силового агрегата дизельного двигателя внутреннего сгорания, конвертированного из бензинового двигателя с искровым зажиганием ( патент РФ № 2095584, F 02 В 11/12, 69/00, 23/08; опубл. 10.11.97), в котором для конвертирования внесены конструктивные изменения в системы подачи топлива и воспламенения горючей смеси. Однако использование таких конструктивных изменений значительно усложняет технологию изготовления двигателей и снижает надежность его работы в составе силового агрегата. Таким образом, задачей полезной модели является повышение надежности работы транспортного средства с модифицированным силовым агрегатом без усложнения технологии изготовления, а также суш;ественное сокращение расхода топлива и повышение экономичности 2000115884 IBjiipplliliilW МПК F 02 В 69/00 F 02 В 77/00 двигателя по сравнению с использованием бензиновых (газовых) двигателей внутреннего сгорания в составе силового агрегата. Поставленная цель достигается тем, что в силовом агрегате транспортного средства с модицированным с бензинового на дизельный двигателем внутреннего сгорания, включающем также картер сцепления, коробку перемены передач и узлы крепления силового агрегата к транспортному средству, предлагается в качестве модифицированного с бензинового или газового использовать типовой дизельный двигатель внутреннего сгорания, при этом дополнительно ввести варианты узлов крепления силового агрегата к различным типам транспортного средства. При использовании дизельного двигателя в силовом агрегате, устанавливаемом на автомобиле ЗИЛ-130, предлагается ввести передний и задний узлы крепления силового агрегата, при этом переднртй узел выполнен в виде переднего опорного устройства, закрепляемого в поперечном направлении на переднем лонжероне автомобиля, на котором размещена передняя опора дизельного двигателя, а задний узел выполнен в виде двух кронштейнов, симметрично размещенных с боковых сторон картера сцепления. При использованрш дизельного двигателя в силовом агрегате, устанавливаемом на автомобилях ГАЗ или автобусе КавЗ, предлагается ввести узел крепления силового агрегата, выполненный в виде двух симметрично расположенных с боковых сторон картера сцепления кронштейнов, каждый из которых закреплен на опорном элементе, прикрепленном к раме автомобиля (автобуса). И при использовании дизельного двигателя в силовом агрегате, устанавливаемом на автобусах ПАЗ, предлагается ввести узлы крепления, выполненные в виде двух симметрично расположенных с боковых сторон коробки сцепления кронштейнов, которые крепятся на специальной - 2 введенной подмоторной раме, установленной на раме автомобиля, включающей две боковые направляющие, поперечину, соединяющую направляющие с передней стороны, два опорных элемента на поперечине, распорный элемент, установленный между направляющими с задней стороны. Сущность полезной модели заключается в следующем. Известно, что подбор двигателя для транспортного средства представляет собой сложную задачу в связи с широким диапазоном условий эксплуатации и специфртческих требований, предъявляемых к конкретному транспортному средству. Независимо от типа, необходимо использовать двигатели с такими параметрами, которые могут обеспечить конкретному транспортному средству минимальный расход топлива при максимальной производительности. С точки зрения эксплуатационнотехнических показателей, в частности топливной экономичности, наиболее предпочтительными являются дизельные двигатели, которые в среднем на 30-40% экономичнее двигателей с искровым зажиганием. С учетом этого, предлагается модификация силового агрегата для транспортного средства, которая заключается в замене штатного бензинового (газового) двигателя, которым оборудованы такие автомобили, как ЗИЛ-130, ГАЗ-52, 53, 66, 3307, а также автобусы ПАЗ-672, 3205 и КавЗ, на типовой дизельный двигатель, например, Д-243, 245 производства Минского моторного завода. Для установки силового агрегата с дизельным двигателем на различные типы автомащин разработаны специальные варианты узлов крепления для каждого типа. Сущность полезной модели поясняется прилагаемыми чертежами. Фиг. 1 - представляет вид сбоку силового агрегата с дизельным Фиг.З - вид сбоку переднего узла крепления силового агрегата, изображенного на фиг. 1. Фиг.За - вид спереди опоры дизельного двигателя в переднем узле крепления, показанном на фиг.З. Фиг.36- то же, вид сбоку, Фиг.4 - вид сбоку заднего узла крепления - кронштейна для силового агрегата, показанного на фиг.1. Фиг.4а - то же, вид сверху. Фиг.4б - то же, вид с торца с вырывом. Фиг.З представляет вид сбоку силового агрегата с дизельным двигателем и узлом крепления на автомобилях ГАЗ, автобусе КавЗ. Фиг.6 - то же, вид сверху. Фиг.7 - вид сбоку узла крепления силового агрегата, показанного на фиг.З. Фиг.7а - то же, вид с торца, разрез по А-А. Фиг. 8 представляет вид сбоку силового агрегата с дизельным двигателем и узлом крепления на автобусах ПАЗ. Фиг.9. - то же, вид сверху. Фиг. 10 - вид сверху узла крепления - подмоторной рамы для силового агрегата, показанного на фиг.8. Переоборудованный силовой агрегат, устанавливаемый на автомобиле ЗИЛ-130 (фиг. 1-2), содержит дизельный двигатель 1, соединенный с картером 2 сцепления и коробкой 3 перемены передач (КПП), передний узел 4 крепления и задний узел крепления - кронштейны 3. Передний узел 4 крепления (фиг.З-Зб) включает переднее опорное устройство 6, имеюшее ребра 7 жесткости, закрепляемое в поперечном направлении на переднем лонжероне 8 автомобиля с помощью амортизационных подушек 9. На опорное устройство 6 опирается передняя опора 10 дизельного двигателя. Опорное устройство 6, которое может быть выполнено из С № 10, устанавливается на место опоры бензинового двигателя. В качестве амортизационных подушек 8 используются подушки автомобиля ЗИЛ-130. Заднее закрепление силового агрегата производится с помощью двух кронштейнов 5, располагаемых с боковых сторон картера 2 сцепления и закрепляемых на нем с помощью болтового соединения. Кронштейны 5 выполняются сварными из CT-IO, S -10 и устанавливаются в штатные опоры автомобиля. Переоборудование силового агрегата при установке на автомобилях ГАЗ-52,53,66,3307 и автобусе КавЗ производится аналогично на всех данных типах, т.к. они имеют одинаковую базу. В этом случае силовой агрегат (фиг.5-7) содержит дизельный двигатель I; картер 2 сцепления, коробку 3 перемены передач (КПП) и узел крепления кронштейны 5, причем используется КПП автомобиля 3PUT-130. Узел крепления выполнен в виде дв кронштейнов 5 , устанавливаемых с боковых сторон картера 2; при этом каждый кронштейн закрепляется на опорном элементе 11, прикрепленном к раме 12 автомобиля. Кронштейны 5 и опорный элемент 11 выполняются сварными из стали СТ-10, S-10. А также передние рессоры данньгх типов автомобилей и автобуса усилены путем добавления 3 и 5 листьев штатной рессоры. Следует отметить, что использование в данном варианте силового агрегата КПП автомобиля ЗИЛ130 делает ее более надежной в эксплуатации, чем штатной КПП этих типов автомобилей. Переоборудованный силовой агрегат, устанавливаемый на автобусах ПАЗ, содержит (фиг.8-9) дизельный двигатель , картер 2 сцепления, коробку 3 перемены передач (КПП) и устройство крепления на раме автомобиля, причем в силовом агрегате также использована КПП автомобиля ЗИЛ-130. - 5 Устройство крепления в данном варианте содержит два кронштейна 5, симметрично расположенных с боковых сторон коробки сцепления, опирающихся на специально разработанную подмоторную раму (фиг. 10), включающую две боковые направляющие 13, поперечину 14, соединяющую направляющие спереди, два опорных элемента: правый 15 и левый 16, выполненных на поперечине 14, и распорную трубу 17, установленную между направляющими 13 с задней стороны. Направляющие 13 изготовлены из уголка L 75 х 75 мм, одна полка которого сфрезерована до 55 мм. Поперечина 14 выполнена из С № 10, опорные элементы 15 и 16 - из Г № 10, и распорная труба - из Q 60x40 мм. При использовании данного силового афегата также производится усиление передних рессор автомобиля. Предлагаемая модификация силового агрегата на 4 типах автомобилей позволяет снизить расход топлива в среднем на 50% и увеличить моторесурс в 1,5 раза. Кроме того, достигается унификация запчастей для этих типов автомобилей, а также появляется возможность их технического обслуживания в одних МТС, СТО и заправочных пунктах. К тому же достигается значительное сокращение выбросов в атмосферу по СО, свинцу и др. При установке на автомобилях с газовыми двигателями повышается мощность двигателя на 15-20% и устраняется опасность, существующая при использовании и хранении газа. - б ФОРМУЛА