1. Устройство кондиционирования воздуха для железнодорожного вагона, содержащее входной рециркуляционный воздуховод, входной воздуховод для наружного воздуха, последовательно расположенные и соединенные между собой камеру смешивания наружного и рециркуляционного воздуха, попадающего в нее из упомянутых воздуховодов, главный воздуховод, в котором установлены испарительный блок и приточный вентилятор, и выходной нагнетательный воздуховод, подающий воздух в салон железнодорожного вагона, а также содержащее источник ультрафиолетового излучения, при этом устройство снабжено средством защиты от выхода ультрафиолетового излучения, а на отдельные элементы устройства нанесено покрытие, поглощающее ультрафиолетовое излучение, и покрытие, отражающее ультрафиолетовое излучение, отличающееся тем, что устройство снабжено блоком ультрафиолетовой обработки воздуха, состоящим из корпуса-воздуховода, в котором установлен источник ультрафиолетового излучения, в качестве которого использована амальгамная лампа, при этом блок ультрафиолетовой обработки воздуха вмонтирован между камерой смешивания и испарительным блоком, причем в корпусе-воздуховоде блока в окне для входа воздуха установлено и закреплено средство защиты от выхода ультрафиолетового излучения в виде защитной решетки, на которую нанесено покрытие из диоксида титана, поглощающее ультрафиолетовое излучение, а на внутреннюю поверхность корпуса-воздуховода блока ультрафиолетовой обработки воздуха нанесено покрытие, отражающее ультрафиолетовое излучение.2. Устройство по п. 1, отличающееся тем, что на стенке корпуса-воздуховода блока ультрафиолетовой о
1. Устройство кондиционирования воздуха для железнодорожного вагона, содержащее входной рециркуляционный воздуховод, входной воздуховод для наружного воздуха, последовательно расположенные и соединенные между собой камеру смешивания наружного и рециркуляционного воздуха, попадающего в нее из упомянутых воздуховодов, главный воздуховод, в котором установлены испарительный блок и приточный вентилятор, и выходной нагнетательный воздуховод, подающий воздух в салон железнодорожного вагона, а также содержащее источник ультрафиолетового излучения, при этом устройство снабжено средством защиты от выхода ультрафиолетового излучения, а на отдельные элементы устройства нанесено покрытие, поглощающее ультрафиолетовое излучение, и покрытие, отражающее ультрафиолетовое излучение, отличающееся тем, что устройство снабжено блоком ультрафиолетовой обработки воздуха, состоящим из корпуса-воздуховода, в котором установлен источник ультрафиолетового излучения, в качестве которого использована амальгамная лампа, при этом блок ультрафиолетовой обработки воздуха вмонтирован между камерой смешивания и испарительным блоком, причем в корпусе-воздуховоде блока в окне для входа воздуха установлено и закреплено средство защиты от выхода ультрафиолетового излучения в виде защитной решетки, на которую нанесено покрытие из диоксида титана, поглощающее ультрафиолетовое излучение, а на внутреннюю поверхность корпуса-воздуховода блока ультрафиолетовой обработки воздуха нанесено покрытие, отражающее ультрафиолетовое излучение. 2. Устройство по п. 1, отличающееся тем, что на стенке корпуса-воздуховода блока ультрафиолетовой обработки воздуха закреплены лампоузлы с электроразъемами для источника бактерицидного ультрафиолетового излучения, при этом в качестве источников бактерицидного ультрафиолетового излучения использованы амальгамные лампы U-образной формы. 3. Устройство по п. 2, отличающееся тем, что при использовании двух амальгамных ламп U-образной формы лампоузлы попарно смонтированы друг под другом для установки амальгамных ламп одна под другой. 4. Устройство по п. 2, отличающееся тем, что при использовании двух амальгамных ламп U-образной формы лампоузлы расположены вдоль оси корпуса-воздуховода блока для установки амальгамных ламп одна за другой по ходу воздушного потока. 5. Устройство по п. 4, отличающееся тем, что при использовании двух амальгамных ламп U-образной формы лампоузлы расположены вдоль оси корпуса-воздуховода блока со смещением по высоте для расположения амальгамных ламп одна за другой по ходу воздушного потока со смещением по высоте.
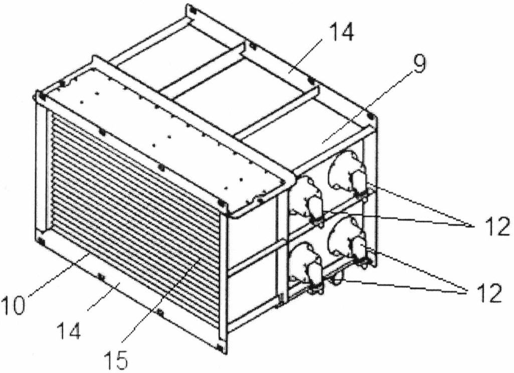
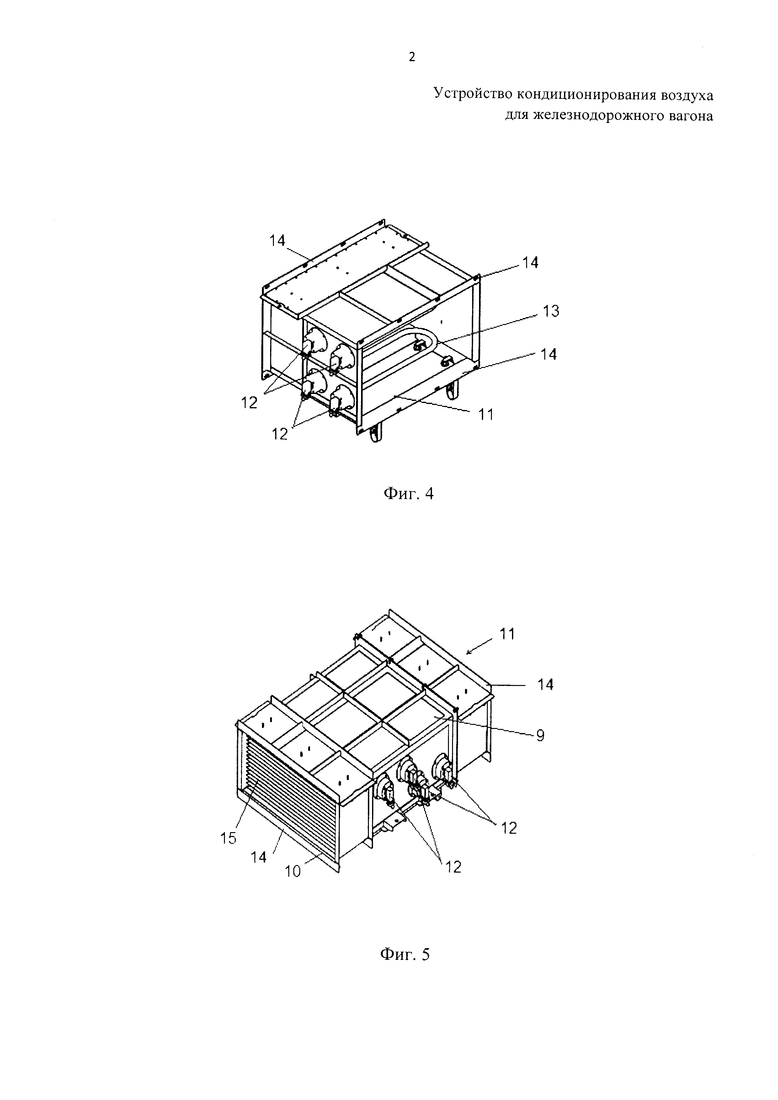
Полезная модель относится к транспортному машиностроению, в частности к устройствам, предназначенным для вентиляции, кондиционирования и обеззараживания воздуха пассажирских салонов, в частности, железнодорожных вагонов, а также других видов общественного транспорта, с использованием бактерицидного ультрафиолетового (УФ) излучения для обеспечения эпидемиологической безопасности среды в пути следования. Согласно санитарным требованиям инфицированный людьми рециркуляционный воздух, забираемый из пассажирских салонов и поступающий обратно в устройство для кондиционирования воздуха, с целью предотвращения распространения инфекций и бактериального заражения в пути следования поезда, подлежит обязательному обеззараживанию. Основным источником загрязнения воздуха микроорганизмами, в том числе болезнетворными, являются люди. В среднем один человек выделяет в окружающий воздух несколько тысяч микроорганизмов в час (при чихании - до нескольких десятков тысяч). В объеме воздуха выделяемые микроорганизмы распределяются в виде мельчайших капель жидкости с находящимися в них микроорганизмами, существенное количество которых оседает на поверхностях, а затем, после высыхания влаги, попадает в воздух. Проблема снижения количества микроорганизмов в воздухе и исключения распространения инфекционных болезней через устройства вентиляции и кондиционирования воздуха, установленные в пассажирских салонах транспортных средств, решается за счет использования бактерицидного УФ излучения. Из уровня техники известны различные установки для обеззараживания воздуха: СА 2879137 A1; CN 1772309 A; CN 2683130 Y; CN 201181064Y; CN 201437322 U; RU 2340360 С2; RU 2416432 C1; RU 2506501 C1; RU 2008119428 (WO 2007045729 A1); SU 1210839 A1; SU 1351607 A1; TW 200422566 A; US 5505904 A; US 5817276 A; US 5894130 A; US 6438971 B1; US 2003099569 A1; US 2008053311 A1; US 2008152548 A1; US 2009123343 A1; US 2010041328 A1; US 2012076700 A1. В частности, известно устройство для кондиционирования воздуха пассажирского железнодорожного вагона, которое состоит из холодильной машины компрессионного типа, фильтров очистки воздуха, устройств подвода наружного и рециркуляционного воздуха, регулировочных заслонок, камеры смешивания потоков наружного и рециркуляционного воздуха, устройств распределения воздуха из нагнетательного воздуховода по пассажирским помещениям, устройств удаления воздуха из вагона, источника электропитания. В каналах воздушного тракта установки вентиляции установлены обеззараживающие приборы ультрафиолетового (УФ) облучения, которые подключены к источнику электропитания. Обеззараживающие приборы могут быть установлены в потоке рециркуляционного воздуха за фильтром очистки до входа воздуха в воздухоохладитель или вентилятор, или в потоке наружного воздуха за фильтром очистки до входа воздуха в воздухоохладитель или вентилятор, или установлены в потоке смеси наружного и рециркуляционного воздуха за фильтром очистки до входа воздуха в воздухоохладитель или вентилятор, или установлены в нагнетательном воздуховоде до устройств распределения воздуха по пассажирским помещениям, или во всех перечисленных местах одновременно (патент РФ №2278794, B61D 27/00, 2004 г. ) В качестве обеззараживающих воздух приборов используются источники света, которые образованы электрическими разрядами без использования паров ртути, например, матрица открытых электрических разрядов или одиночный открытый электрический разряд. Недостатком известного технического решения является отсутствие средств защиты составных элементов устройства (фильтров, частей вентилятора и.т.п.) от разрушающего воздействия УФ излучения, так как обеззараживающие приборы установлены непосредственно в каналах воздуховодов, что в значительной степени снижает срок эксплуатации устройства. Кроме того, для обеспечения требуемой эффективности обеззараживания, требуются большие энергозатраты на создание разряда, обеспечивающего нормативную дозу УФ излучения. Монтаж и эксплуатация таких приборов в воздуховодах сложны и трудоемки, требуют значительного дополнительного пространства для установки устройства и ухудшает его эксплуатационные свойства. Известно устройство вентиляции в установке кондиционирования воздуха пассажирского вагона, содержащее последовательно соединенные жалюзи забора наружного воздуха, смесительные камеры, воздушные фильтры, вентилятор, воздухоподогреватель и нагнетательный воздуховод с выпусками в купе вагона, рециркуляционный воздуховод с входными заборными решетками, подключенный выходами ко входам смесительных камер, и бактерицидные УФ лампы, установленные на крышке люка воздуховода, на его входе за заборными решетками, и отделенные от рециркуляционного воздуховода прозрачным экраном из кварцевого или увиолевого стекла, пропускающим УФ излучение. На внутренней стенке рециркуляционного воздуховода установлены экраны, многократно отражающие УФ излучение (патент РФ на полезную модель №29512, B61D 27/00, 2002 г.). Недостатком известной полезной модели то, что элементы рециркуляционного воздуховода не защищены от разрушающего воздействия прямого и отраженного УФ излучения, другим недостатком является неудобство в монтаже и эксплуатации, так как УФ лампы подвешены на крышке люка. Известно устройство обеззараживания вентиляционного воздуха с помощью ультрафиолетовых ламп, которая содержит климатическую установку, состоящую из двух вытяжных вентиляторов, компрессора, электрической распределительной коробки, имеющей отсеки высокого и низкого напряжений, из системы каналов циркуляции, включающей в себя потолочный канал приточного воздуха, спускные и напольные каналы, датчик содержания СО2 и по меньшей мере две ультрафиолетовые лампы, которые установлены непосредственно в зоне смешивания воздуха перед фильтрами с возможностью воздействия ультрафиолетовым излучением на максимальное скопление микроорганизмов с простой структурой и их обезвреживания. При этом ультрафиолетовые лампы установлены таким образом, что их излучении частично перекрываются (патент РФ на полезную модель №134879, 2013 г., B61D 27/00). Полезная модель направлена на обеспечение эпидемиологической безопасности рециркуляционного воздуха и его эффективное обеззараживание. УФ лампы установлены непосредственно перед фильтром воздушной смеси, который является одним из самых значительных мест размножения бактерий, и расположены таким образом, чтобы обеспечить оптимальное облучение и обеззараживания фильтра. Для обеспечения более длительного срока службы УФ лампы включаются только в нормальном режиме работы климатической установки. Недостатком данного аналога, является отсутствие средств защиты узлов климатической установки, выполненных из материалов, нестойких к воздействию УФ излучения, от воздействия прямого и отраженного УФ излучения, а также возможность выхода УФ излучения через фильтр в пассажирский салон. В качестве ближайшего аналога принято техническое решение по международной заявке WO 2004065148 А2 - устройство уничтожения микроорганизмов, обитающих внутри транспортных средств в установках отопления, вентиляции, и кондиционирования воздуха. В международной заявке №WO 2004065148 описаны «Устройство и способ воздействия на микроорганизмы, обитающие в установках отопления, вентиляции, и кондиционирования воздуха транспортных средств». Изобретение по WO 2004065148 относится к установкам отопления, вентиляции и кондиционирования воздуха (HVAC) для транспортных средств, а более конкретно к устройству и способу для уменьшения количества микроорганизмов в установках вентиляции и кондиционирования. Установка вентиляции и кондиционирования содержит наружный воздухозаборник и рециркуляционный воздухозаборник, забирающий воздух из салона транспортного средства. Воздухозаборники обеспечивают подачу воздуха, забираемого снаружи транспортного средства, и воздуха из салона (рециркуляция воздуха), соответственно, также устройство содержит источники УФ излучения. Поверхности или материалы покрытия узлов и элементов устройства в каналах, трубопроводов между источником ультрафиолетового излучения и пассажирским салоном могут быть выполнены как поглощающими (не отражающими УФ излучение), так и отражающими УФ излучение. Источники ультрафиолетового излучения расположены в каналах наружного воздухозаборника и салонного воздухозаборника транспортного средства. Источники УФ излучения обеспечивают обработку ультрафиолетом воздуха, воздухозаборников и окружающих каналов устройства, при этом весь воздух на входе подвергается воздействию ультрафиолета. В ближайшем аналоге подробно описаны различные схемы расположения источников УФ излучения, при этом упомянуто о материалах покрытий поглощающих или отражающих УФ излучение. Однако не приведено конкретное выполнение элементов устройства, позволяющее защитить узлы и элементы устройства от воздействия УФ излучения, при этом повысить эффективность обработки воздуха, снизить габариты устройства и обеспечить высокую производительность устройства. Задачей (технической проблемой), решаемой заявленной полезной моделью, является улучшение эксплуатационных характеристик за счет повышения надежности защиты от воздействия УФ излучения элементов устройств вентиляции и кондиционирования воздуха, а также уменьшение габаритов устройства при обеспечении высокой производительности. Необходимость решения данной задачи обусловлена тем, что некоторые узлы и элементы устройств вентиляции и кондиционирования воздуха изготавливаются из материалов, нестойких к воздействию УФ излучения, в связи с чем при увеличении времени воздействия и интенсивности УФ излучения проявляется эффект старения полимерных материалов, происходит потеря прочности конструкции, что ведет к последующему постепенному разрушению узлов и элементов устройства. Следует также учитывать, что обеззараженный воздух, прошедший устройство кондиционирования воздуха, непрерывно подается в салон, где перемешивается с объемом воздуха, инфицированного микробиологическими загрязнениями, выделяемыми присутствующими людьми. Для обеспечения гарантированного обеззараживания воздуха требуется использование достаточно мощных источников УФ излучения, чтобы при высоком расходе воздуха создать условия для его обеззараживания. Расход воздуха определяет производительность устройства («кратность рециркуляции» - количество обеззараженного воздуха в единицу времени, отнесенное к общему объему салона транспортного средства), а высокая производительность необходима для получения высокой степени очистки большого объема воздуха от микроорганизмов. Технический результат, достигаемый при использовании полезной модели, заключается в увеличении эффективности обеззараживания воздуха при одновременном продлений срока годности и ресурса работы устройства (защита узлов и деталей от воздействия ультрафиолета), а также в надежной защите пассажиров и персонала от болезнетворных микроорганизмов. Кроме того, обеспечивается снижение габаритов устройства кондиционирования и повышение производительности обработки воздуха (кратность рециркуляции 2-27, что обеспечивает достаточное снижение обсемененности помещения микроорганизмами). Со всеми указанными техническими результатами связана причинно-следственной связью одна совокупность существенных признаков полезной модели, приведенная ниже. Чтобы обеспечить защиту пассажиров транспортного средства от болезнетворных микроорганизмов, как отмечено выше, нужно обеспечить обеззараживание большого объема воздуха в единицу времени, при этом габариты, в которых устанавливается устройство для кондиционирования воздуха, определяются конструкцией железнодорожного вагона или другого пассажирского транспортного средства, что налагает ограничения на размеры устройства. Кроме того, при использовании УФ ламп большой мощности узлы и элементы испарительного блока и камеры смешивания подвергаются существенному разрушающему воздействию прямого и отраженного УФ излучения. Чтобы достичь указанных выше результатов, нужно соблюсти эти взаимоисключающие условия: устройство кондиционирования воздуха должно обеспечивать высокую степень обеззараживания воздуха (уничтожать микроорганизмы, находящиеся, главным образом, в потоке рециркуляционного воздуха) и высокую производительность, при этом требуется минимизировать воздействие УФ излучения на узлы и элементы устройства для кондиционирования, материал которых разрушается при длительном воздействии на него УФ излучения, кроме того, устройство кондиционирования воздуха нужно вписать в ограниченные габариты предназначенного для него пространства железнодорожного вагона. Устройство кондиционирования воздуха для железнодорожного вагона, как и ближайший аналог, содержит образующие общий воздушный канал и соединенные между собой, предпочтительно фланцевым соединением с резьбовыми элементами, камеру смешивания, связанную с входным воздуховодом наружного воздуха и входным воздуховодом рециркуляционного воздуха, соединенный с камерой смешивания предпочтительно фланцевым соединением с резьбовыми элементами главный воздуховод, в котором установлены и неподвижно закреплены посредством резьбовых элементов испарительный блок и приточный вентилятор, жестко соединенный с главным воздуховодом предпочтительно фланцевым соединением с резьбовыми элементами выходной нагнетательный воздуховод, подающий воздух в салон, а также источники УФ излучения, при этом устройство снабжено средствами защиты от выхода УФ излучения, также используется покрытие, поглощающее УФ излучение, и покрытие, отражающее УФ излучение. Указанные признаки являются существенными признаками полезной модели в связи с тем, что без них устройство не будет выполнять свою функцию с достижением указанных результатов и реализовывать указанное назначение, т.е. не будет являться устройством для кондиционирования воздуха железнодорожного вагона, для которого, как отмечено выше, обеззараживание воздуха является одной из главных характеристик. Отличительными признаками заявленной полезной модели является то, что устройство кондиционирования воздуха снабжено блоком ультрафиолетовой обработки воздуха (блок УОВ), вмонтированным между камерой смешивания и испарительным блоком, образуя конструктивное единство (общий воздуховод - канал для прохода воздуха), при этом блок УОВ выполнен в виде корпуса-воздуховода, на внутреннюю поверхность которого нанесено покрытие, отражающее УФ излучение, с окнами для входа и выхода обрабатываемого воздуха, при этом в окне для входа воздуха установлена и закреплена защитная решетка с покрытием из диоксида титана (ТiO2), на стенке корпуса-воздуховода блока УОВ закреплены лампоузлы с электроразъемами для источника бактерицидного УФ излучения, в качестве которого использована амальгамная лампа U-образной формы. Использование для размещения источника УФ излучения блока УОВ описанной конструкции с заключенной внутри него амальгамной лампой U-образной формы, отделенной от камеры смешивания защитной решеткой с покрытием из диоксида титана (ТiO2), позволяет создать условия для надежной защиты узлов и элементов устройства для кондиционирования от воздействия УФ излучения и позволяет при этом минимизировать габариты устройства и исключить выход отраженного УФ излучения за пределы блока УОВ в направлении камеры смешивания. Выбор в качестве источника бактерицидного УФ излучения амальгамной лампы U-образной формы и наличие защитной решетки с покрытием из ТiO2 со стороны входа воздуха, обеспечивает небольшие габариты при повышенной энергоэффективности, что обусловливает высокую степень обеззараживания в отношении широкого спектра микроорганизмов, включая бактерии, вирусы и споры микроорганизмов, и высокую производительность устройства. Для усиления эффекта обеззараживания на внутреннюю поверхность корпуса-воздуховода блока нанесено покрытие, отражающее УФ излучение и дополнительно повышающее бактерицидный эффект, создаваемый амальгамной лампой, за счет того, что зона воздействия УФ излучения распространяется за пределы блока УОВ, и время воздействия УФ излучения на воздушный поток соответственно увеличивается. При этом поверхности устройства кондиционирования воздуха, прилегающие к блоку УОВ со стороны окна для выхода воздуха, также подвергаются обработке УФ излучением, иными словами, использование отражающего покрытия направлено на расширение зоны непрерывного воздействия на обрабатываемый воздух УФ излучения в местах, удаленных от источника излучения и находящихся за пределами блока УОВ. В этом случае распространение воздействия ультрафиолетового излучения по потоку воздуха за пределы блока УОВ делает более вероятным практически полное уничтожение живых микроорганизмов. Таким образом, существенными признаками полезной модели являются включение в общий воздушный канал устройства для кондиционирования воздуха путем встраивания блока УОВ между камерой смешивания и испарительным блоком предлагаемой конструкции, причем блок УОВ, с одной стороны, представляет собой неотъемлемую часть общего воздушного канала устройства, с другой стороны служит необходимым элементом обеззараживания воздуха, без которого заявленное техническое решение не реализует своего назначения как устройства для кондиционирования воздуха в пассажирских салонах железнодорожных вагонов. Существенными признаками полезной модели также являются признаки, характеризующие конструкцию блока УОВ, так как за счет амальгамных УФ ламп и фотокаталитического покрытия защитной решетки на основе диоксида титана при покрытии внутренней поверхности блока УОВ веществом, отражающим УФ излучение, появилась возможность существенно повысить степень обеззараживания воздуха при повышении надежности защиты деталей и узлов устройства кондиционирования воздуха от воздействия УФ излучения вследствие выбора оптимального места установки блока УОВ и места нанесения покрытия из диоксида титана (на защитную решетку окна входа воздуха) и отражающего ультрафиолет покрытия (на внутреннюю поверхность корпуса воздуховода блока УОВ). Энергоэффективные амальгамные лампы могут быть размещены в блоке УОВ наиболее компактно - одна под другой или последовательно одна за другой (или иначе) в зависимости от необходимости. При этом каждый из элементов устройства по отдельности не является техническим решением, позволяющим обеспечить кондиционирование и обеззараживание воздуха в пассажирском салоне железнодорожного вагона. Эту функцию, т.е. реализацию назначения, без которой техническое решение не может быть признано соответствующим условию «промышленной применимости», выполняет вся совокупность существенных признаков, конструктивно связанных между собой, преимущественно, посредством фланцевых соединений и резьбовых элементов, и образующих устройство, части которого находятся в конструктивном и функциональном единстве, при этом вся указанная совокупность существенных признаков обеспечивает достижение каждого из указанных технических результатов. Полезная модель поясняется чертежами, на которых изображено: На фиг. 1 - схема устройства кондиционирования воздуха для железнодорожного вагона с блоком ультрафиолетовой обработки воздуха (блоком УОВ), установленным после камеры смешивания перед испарительным блоком. На фиг. 2 - один из вариантов выполнения амальгамной лампы На фиг. 3, 4 и 5 - примеры выполнения блока ультрафиолетовой обработки воздуха (блока УОВ). На фиг. 6 - вид снизу на один из вариантов выполнения блока УОВ (показаны элементы питания и управления амальгамными лампами). Устройство кондиционирования воздуха для железнодорожного вагона содержит входной рециркуляционный воздуховод 1, входной воздуховод 2 для наружного воздуха, подсоединенные, предпочтительно фланцевым соединением, к камере 3 смешивания наружного и рециркуляционного воздуха. За камерой 3 смешивания последовательно расположены соединенные с ней и между собой, преимущественно фланцевым соединением, главный воздуховод 4, в котором посредством резьбовых элементов закреплены испарительный блок 5 и приточный вентилятор 6, причем приточный вентилятор установлен после испарительного блока, и выходной нагнетательный воздуховод 7, подающий обработанный обеззараженный воздух в салон. Кроме того, устройство кондиционирования воздуха снабжено блоком 8 ультрафиолетовой обработки воздуха (блок УОВ), в котором установлен источник УФ излучения. Блок 8 УОВ состоит из корпуса-воздуховода 9, на внутреннюю поверхность которого нанесено покрытие, отражающее УФ излучение, с окнами 10 и 11 соответственно для входа и выхода обрабатываемого воздуха. На стенке корпуса-воздуховода блока УОВ закреплены лампоузлы 12 с электроразъемами для одного, двух или более источников бактерицидного УФ излучения - амальгамные лампы 13, преимущественно, U-образной формы. Блок 8 УОВ вмонтирован между камерой смешивания и испарительным блоком и имеет фланцы 14 для соединения со смежными частями главного воздуховода 4 или с камерой 3 смешивания и главным воздуховодом 4, образуя в результате такого соединения конструктивное и функциональное единство с устройством кондиционирования воздуха. Если амальгамных ламп более одной, лампоузлы 12 для двух амальгамных ламп, монтируют попарно друг под другом, как показано на фиг. 3 и 4. На фиг. 5 показано расположение лампоузлов 12 вдоль оси корпуса-воздуховода 9 со смещением по высоте. Можно также располагать лампоузлы 12 на одной высоте (фиг. 6) на одной оси - прямой линии. Соответственно, амальгамные лампы 13 могут располагаться одна под другой, или последовательно одна за другой со смещением по высоте (фиг. 5) или последовательно по одной линии (фиг. 6), что позволяет производить интенсивную обработку воздуха в небольшом объеме блока и варьировать (минимизировать) габариты блока 8 по высоте и длине в зависимости от ограничений, заданных местом установки устройства для кондиционирования. На окне 10 входа воздуха корпуса-воздуховода 9 блока 8 УОВ смонтировано средство защиты от выхода УФ излучения в виде защитной профильной решетки 15. Защитная решетка 15 крепится на окно 10 для входа воздуха, и на ее поверхность наносится фотокаталитическое покрытие на основе диоксида титана (ТiO2), поглощающее УФ излучение и дополнительно повышающее эффективность обеззараживания и очистки воздуха за счет фотокатализа. В процессе фотокатализа диоксид титана, поглощая ультрафиолет, продуцирует свободные радикалы, которые эффективно окисляют органику, в том числе, вирусы, бактерии, другие микроорганизмы и, кроме того, летучие органические соединения, разлагаются до безопасных молекул воды и углекислого газа. В результате защищаются от УФ излучения уязвимые узлы и детали устройства (из материалов, не стойких к УФ излучению), лежащие со стороны окна 10 входа воздуха в блок 8 УОВ, при этом практически исключается выход излучения в этом направлении за пределы блока 8 УОВ. Кроме того, в связи с тем, что на внутреннюю поверхность корпуса-воздуховода 9 блока 8 УОВ нанесено покрытие, отражающее УФ излучение, создаются условия для распространения УФ излучения за пределы блока 8 УОВ в сторону испарительного блока 5, и обработке будут подвергаться поверхности, находящиеся за блоком 8 УОВ, в том числе поверхности испарительного блока, а зона обработки воздуха также распространится за пределы блока 8, время обработки соответственно увеличится, что положительно скажется на результатах обеззараживания. Устройство работает следующим образом. При включении приточного вентилятора 6 воздух прокачивается по всей протяженности воздушного канала устройства кондиционирования воздуха, а именно из входных воздухозаборников 2 и 1 внешнего и рециркуляционного воздуха оба потока поступают в камеру 3 смешивания. Из камеры смешивания воздух попадает в блок 8 УОВ, вмонтированный между камерой смешивания и испарительным блоком, в блоке 8 УОВ воздушный поток облучается ультрафиолетовой амальгамной лампой 13 или лампами, если их более одной, а конструктивное выполнение блока 8 с защитной решеткой 15, покрытой двуокисью титана, установленной на входном окне 10 блока 8 в сочетании покрытием, отражающим УФ излучение, нанесенным на внутреннюю поверхность корпуса-воздуховода 9 блока 8, позволяет, с одной стороны, не допустить выхода излучения в сторону камеры 3 смешивания и, с другой стороны, расширить зону обработки воздуха и поверхностей, лежащих за пределами блока 8 УОВ во направлении испарительного блока 5, увеличивая возможность уничтожения живых микроорганизмов в потоке воздуха и на прилегающих поверхностях. Далее по главному воздуховоду 4 через испарительный блок 5 и приточный вентилятор 6 воздушный поток поступает в нагнетательный воздуховод 7, откуда через выходное окно устройства очищенный и обеззараженный воздух подается в салон железнодорожного вагона. Таким образом, использование блока УОВ, снабженного средством защиты от УФ излучения, предотвращает вредное воздействие на элементы и узлы устройства кондиционирования вагона, что значительно улучшает такие эксплуатационные показатели устройства для кондиционирования как срок службы и рабочий ресурс и достигаются оптимальные габаритные характеристики устройства. Кроме того, за счет использования покрытия, отражающего УФ излучение, обеспечивается эффективное обезвреживание воздуха от микроорганизмов, повышается производительность обработки воздуха устройством для кондиционирования.