Теплообменник для водогрейного котла, выполненный в виде змеевика, снабженного патрубками подвода и отвода и образованного горизонтальными трубами, расположенными по высоте, по крайней мере, в два параллельных ряда в шахматном порядке и соединенными посредством отводов, отличающийся тем, что на каждой трубе выполнено оребрение в виде единой стальной ленты, закрепленной боковой стороной на трубе вдоль винтовой линии.
Теплообменник для водогрейного котла, выполненный в виде змеевика, снабженного патрубками подвода и отвода и образованного горизонтальными трубами, расположенными по высоте, по крайней мере, в два параллельных ряда в шахматном порядке и соединенными посредством отводов, отличающийся тем, что на каждой трубе выполнено оребрение в виде единой стальной ленты, закрепленной боковой стороной на трубе вдоль винтовой линии.
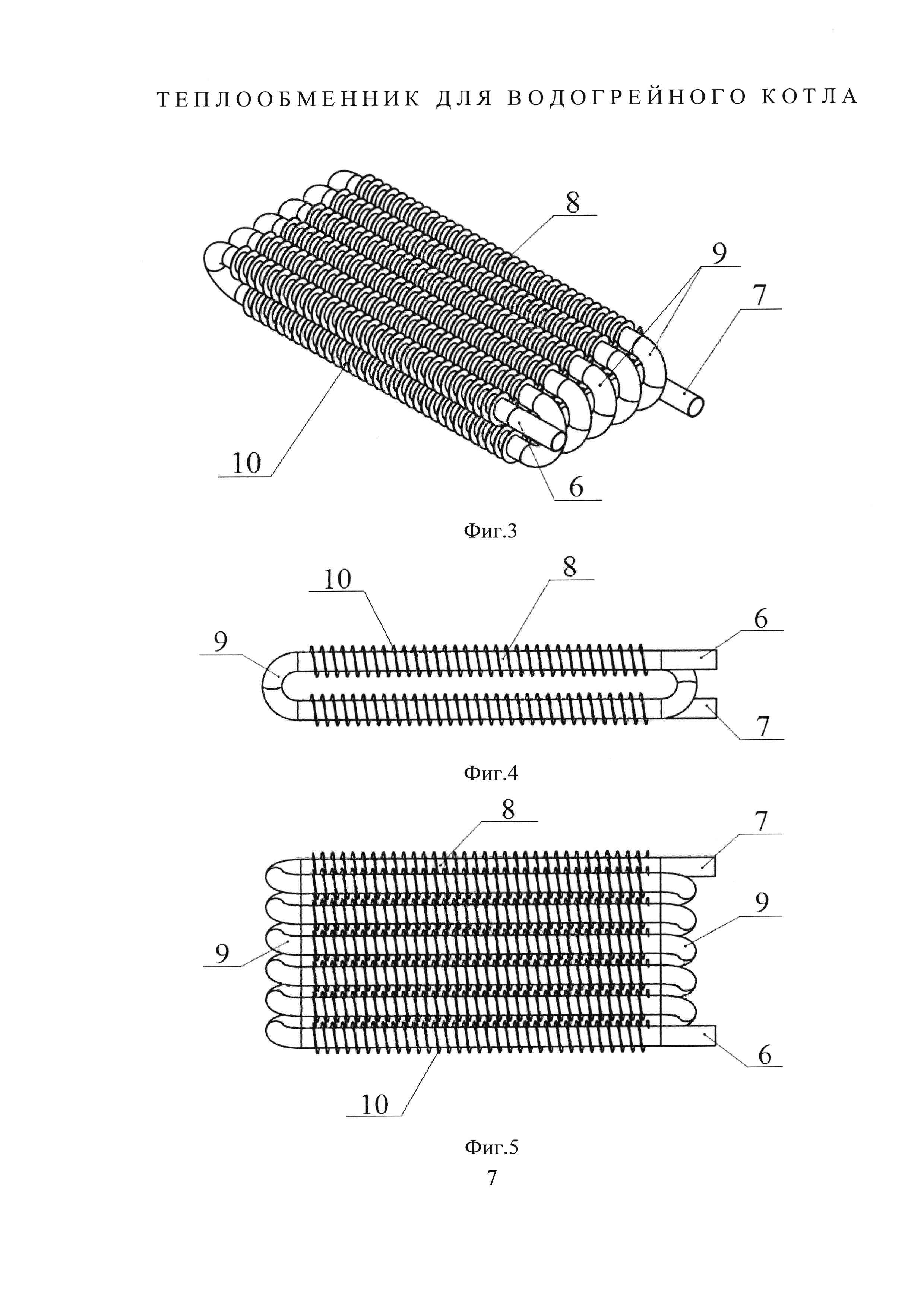
Полезная модель относится к области теплоснабжения, а именно, к теплообменникам для водогрейных котлов и может быть использована при отоплении жилых домов, зданий коммунального бытового и производственного назначения, имеющих систему отопления с теплоносителем. Из уровня техники известен теплообменник для водогрейного котла, выполненный в виде змеевика, снабженного патрубками подвода и отвода и образованного горизонтальными трубами, расположенными по высоте, по крайней мере, в два параллельных ряда в шахматном порядке и соединенными посредством отводов (см. патент RU 2477824, кл. F24H 1/40, опубл. 20.03.2013). Недостатками данного устройства являются малая поверхность теплообмена и, как следствие, невысокий КПД водогрейного котла, в котором оно установлено. Задачей полезной модели является устранение указанных недостатков. Технический результат заключается в повышении эффективности теплообмена. Поставленная задача решается, а технический результат достигается тем, что в теплообменнике для водогрейного котла, выполненном в виде змеевика, снабженного патрубками подвода и отвода и образованного горизонтальными трубами, расположенными по высоте, по крайней мере, в два параллельных ряда в шахматном порядке и соединенными посредством отводов, на каждой трубе выполнено оребрение в виде единой стальной ленты, закрепленной боковой стороной на трубе вдоль винтовой линии. На фиг. 1 представлен общий вид водогрейного котла; на фиг. 2 - вид спереди на водогрейный котел со снятым корпусом; на фиг. 3 - общий вид предлагаемого теплообменника; на фиг. 4 - то же, вид сбоку; на фиг. 5 - то же, вид сверху. Предлагаемый теплообменник 1 предназначен для водогрейного котла, включающего корпус 2, расположенную в нем топку с горелками 3 и экранирующими панелями 4 и газоход 5. Теплообменник 1 выполнен в виде змеевика с патрубком 6 подвода и патрубком 7 отвода воды. Змеевик образован горизонтальными оребренными трубами 8 круглого сечения из углеродистой или легированной стали, расположенными по высоте, по крайней мере, в два параллельных ряда в шахматном порядке. Трубы 8 соединены в змеевик посредством отводов 9. Концы труб 8 установлены в передней и задней экранирующих панелях 4 с возможностью перемещения относительно них при нагреве или охлаждении. Отводы 9, а также патрубки 6, 7 выведены за пределы топки, ограниченной панелям 4. На каждой трубе выполнено оребрение в виде единой ленты 10 из углеродистой или легированной стали, закрепленной посредством высокочастотной сварки боковой стороной на трубах 8 вдоль винтовой линии. За счет такого выполнения оребрения горячие газы, идущие от горелки, закручиваются вдоль поверхности труб 8, тем самым увеличивая эффективность теплообмена (в поглощении теплоты участвует не только оребрение, но и сама поверхность трубы 8) и улучшая аэродинамическое характеристики теплообменника 1. Лента 10 каждой трубы 8 проходит в промежутке между оребрением соседних труб (см. фиг. 5), тем самым уменьшая габариты теплообменника. Предлагаемый теплообменник работает в водогрейном котле следующим образом. Сетевая вода через патрубок подвода 6 поступает в трубы 8 теплообменника 1. Пройдя последовательно по трубам 8, нагретая вода через патрубок отвода 7 подается потребителю. Трубы 8 установлены с возможностью перемещения относительно экранирующих панелей 4, что позволяет компенсировать нагрузки, возникающие вследствие их линейного удлинения при нагреве. Вода в трубах 8 нагревается дымовыми газами, образующимися при горении газа в горелках 3. Дымовые газы омывают трубы 8 теплообменника и уходят через газоход 5. За счет использования оребрения в виде единой винтовой стальной ленты 10 предлагаемая полезная модель позволяет значительно повысить эффективность тепообмена за счет увеличения полезной площади и снизить аэродинамические нагрузки (а значит, и шумность) водогрейного котла.