1. Устройство для распределения озона, применяемое в установке для дезинфекции постельных принадлежностей, одежды, обуви и экипировки различного назначения, включающее трубопроводы, расположенные на расстоянии друг от друга и выполненные с возможностью размещения на них упомянутых предметов, в каждом трубопроводе выполнены перфорированные участки, образованные с возможностью направления воздуха, обогащенного озоном, от генератора озона, имеющегося в упомянутой установке для дезинфекции, к размещенным на них предметам, отличающееся тем, что трубопроводы закреплены на основании, в котором соосно с трубопроводами выполнены сквозные отверстия, при этом основание выполнено с возможностью его сборно-разборной фиксации вместе с трубопроводами внутри рабочей камеры упомянутой установки для дезинфекции на расстоянии от одной из ее стенок.2. Устройство по п. 1, отличающееся тем, что трубопроводы выполнены разных диаметров.3. Устройство по п. 1, отличающееся тем, что трубопроводы закреплены на основании с помощью сварки.4. Устройство по п. 1, отличающееся тем, что трубопроводы закреплены на основании с помощью резьбового соединения.
1. Устройство для распределения озона, применяемое в установке для дезинфекции постельных принадлежностей, одежды, обуви и экипировки различного назначения, включающее трубопроводы, расположенные на расстоянии друг от друга и выполненные с возможностью размещения на них упомянутых предметов, в каждом трубопроводе выполнены перфорированные участки, образованные с возможностью направления воздуха, обогащенного озоном, от генератора озона, имеющегося в упомянутой установке для дезинфекции, к размещенным на них предметам, отличающееся тем, что трубопроводы закреплены на основании, в котором соосно с трубопроводами выполнены сквозные отверстия, при этом основание выполнено с возможностью его сборно-разборной фиксации вместе с трубопроводами внутри рабочей камеры упомянутой установки для дезинфекции на расстоянии от одной из ее стенок. 2. Устройство по п. 1, отличающееся тем, что трубопроводы выполнены разных диаметров. 3. Устройство по п. 1, отличающееся тем, что трубопроводы закреплены на основании с помощью сварки. 4. Устройство по п. 1, отличающееся тем, что трубопроводы закреплены на основании с помощью резьбового соединения.
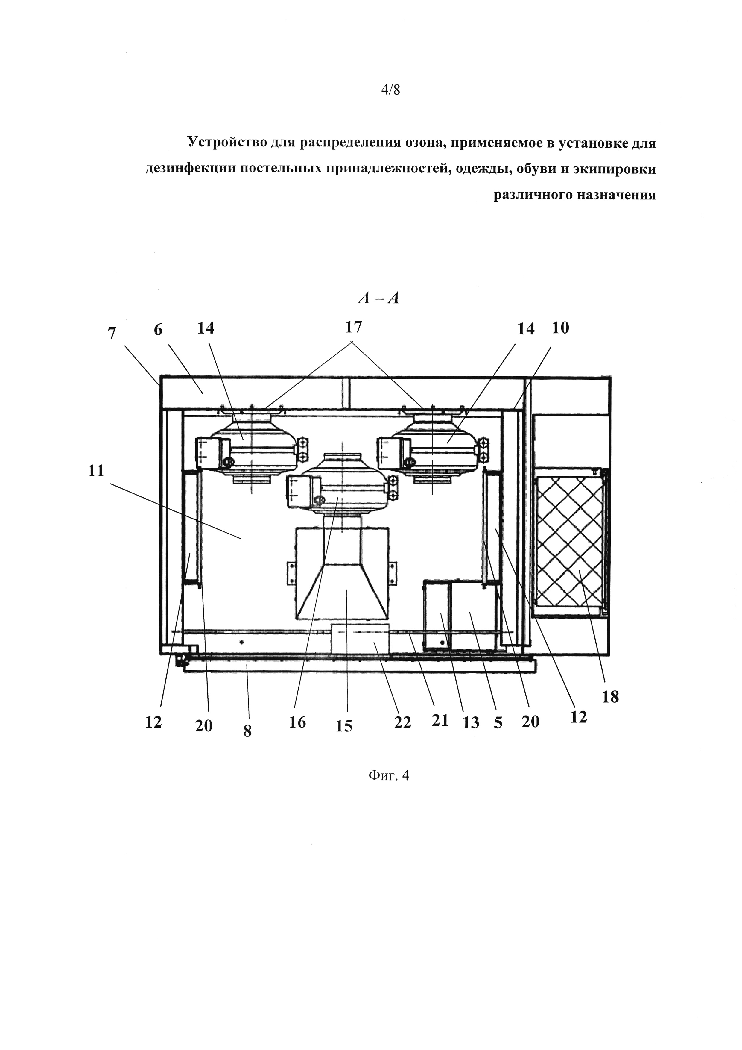
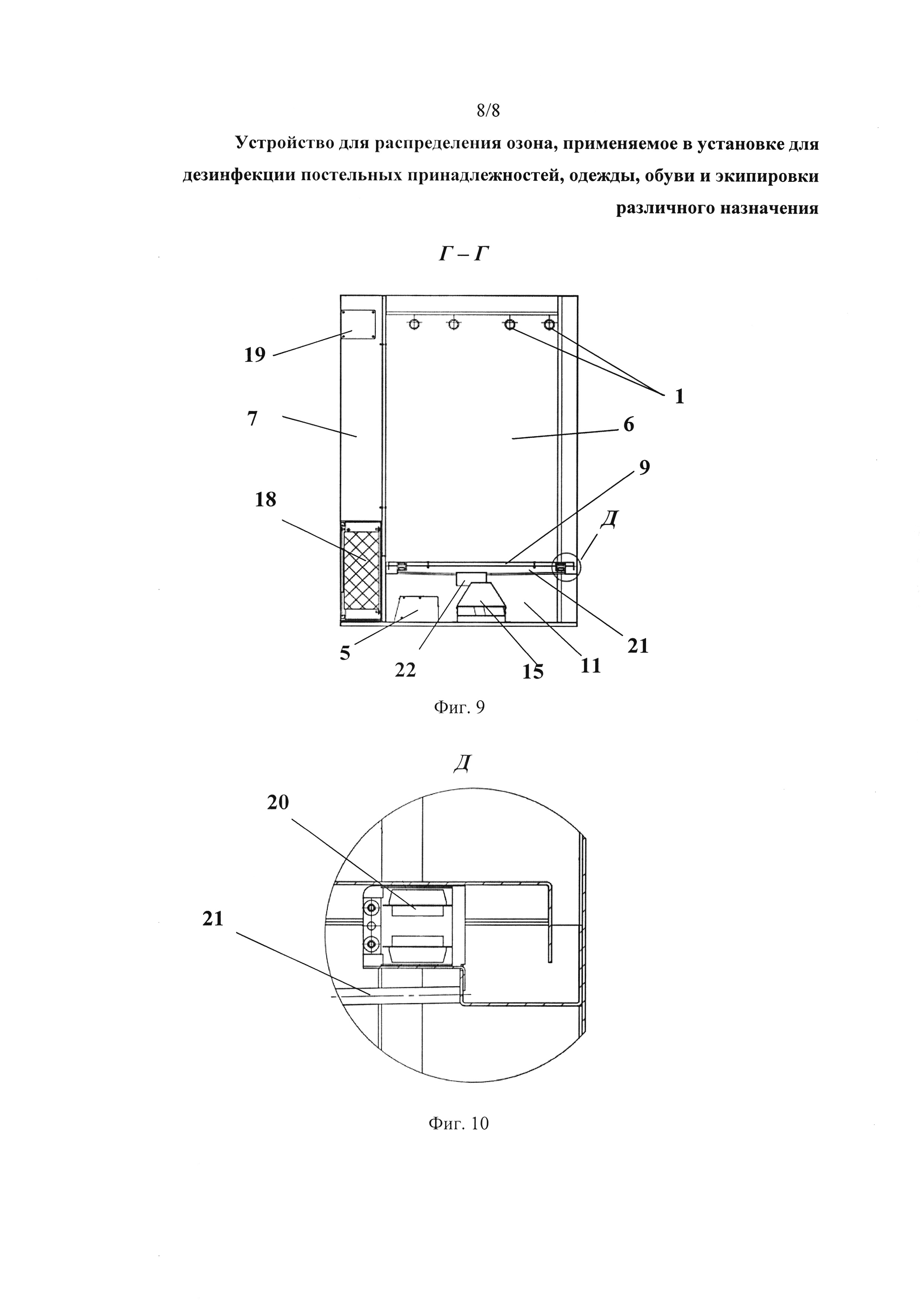
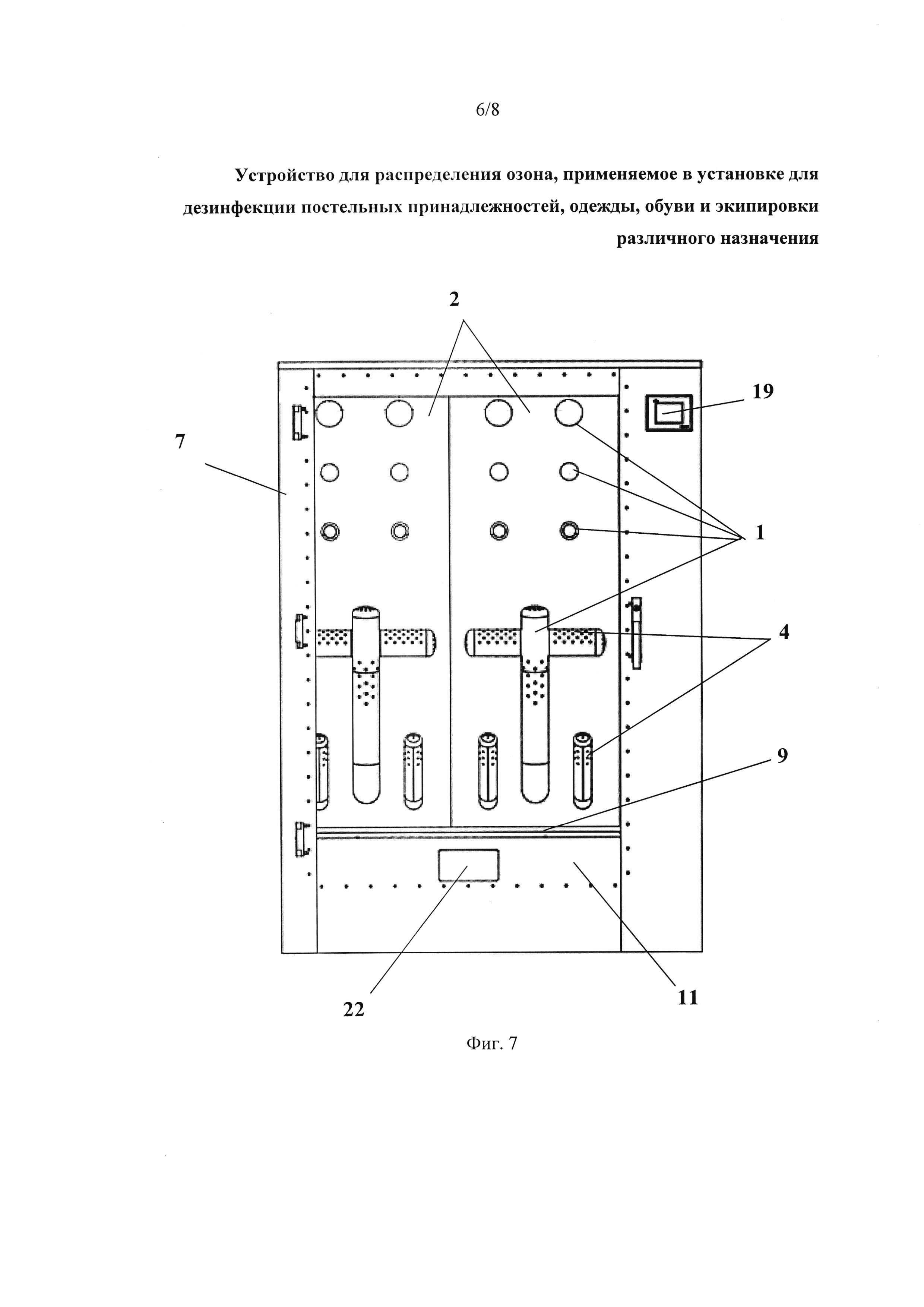
Заявляемая полезная модель относится к гигиенической технике для обслуживания пассажирских и коммунальных объектов железнодорожного, воздушного и водного транспорта, метрополитена, метростроения, гостиниц и лечебно-профилактических и спортивных учреждений различного профиля, и может быть применена в установках для дезинфекции постельных принадлежностей безличного пользования, обуви и одежды любого назначения, в том числе спортивной экипировки, и других предметов с использованием озона. Известна установка для санитарной обработки (дезинфекции) спортивного инвентаря с использованием озона [US 2007/0086914, опубл. 19.04.2007], из описания которой известно устройство для распределения озона, применяемое в ней и включающее ряд трубопроводов (4 штуки), обеспечивающих дезодорацию и дезинфекцию разного спортивного инвентаря. Трубопроводы принимают и нагнетают поток воздуха, обогащенный озоном, в спортивный инвентарь, чтобы удалить запах и дезинфицировать их. Трубопроводы компонуются в разных формах в соответствии с разными вариантами спортивного инвентаря, например таких, как коньки, перчатки, плечевые накладки и т.п. Трубопроводы имеют перфорированные участки, предназначенные для направления воздуха, обогащенного озоном, во внутренние части этого инвентаря. Озон от генератора озона, имеющегося в установке, направляется через трубопровод в нагнетатель устройства для распределения озона с помощью малообъемного вентилятора, а затем с помощью высокоскоростного вентилятора из нагнетателя в его трубопроводы. Известное устройство принимается за прототип заявляемой полезной модели, но оно обладает следующими недостатками: - низкая производительность из-за малого объема заполнения рабочей камеры установки для дезинфекции, это обусловлено тем, что трубопроводы устройства для распределения озона расположены на полу рабочей камеры из-за необходимости их соединения с трубопроводом генератора озона, расположенным в нижней части установки для дезинфекции, поэтому имеется возможность обработки за раз только одного комплекта спортивной экипировки; - низкая функциональность и ограниченная область применения, поскольку оно предназначено только для обработки спортивной экипировки, это обусловлено тем, что трубопроводы выполнены таким образом, что повторяют форму частей человеческого тела и их замена на другие не предусмотрена в конструкции; - сложность монтажа и демонтажа устройства для распределения озона внутри рабочей камеры, обусловленные необходимостью компоновки и присоединения массивных трубопроводов к общему трубопроводу от генератора озона непосредственно внутри рабочей камеры. Задачей настоящей полезной модели является создание нового устройства для распределения озона, применяемого в установке для дезинфекции постельных принадлежностей, одежды, обуви и экипировки различного назначения, с достижением следующего технического результата, а именно: повышение производительности при одновременном расширении функциональности и области применения установки для дезинфекции постельных принадлежностей, одежды, обуви и экипировки различного назначения, в которой оно применяется. Поставленная задача решена за счет того, что в известном устройстве для распределения озона, применяемое в установке для дезинфекции постельных принадлежностей, одежды, обуви и экипировки различного назначения, включающем трубопроводы, расположенные на расстоянии друг от друга и выполненные с возможностью размещения на них упомянутых предметов, в каждом трубопроводе выполнены перфорированные участки, образованные с возможностью направления воздуха, обогащенного озоном, от генератора озона, имеющегося в упомянутой установке для дезинфекции, к размещенным на них предметам, согласно настоящей полезной модели, трубопроводы закреплены на основании, в котором соосно трубопроводам выполнены сквозные отверстия, при этом основание выполнено с возможностью его сборно-разборной фиксации вместе с трубопроводами внутри рабочей камеры упомянутой установки для дезинфекции на расстоянии от одной из ее стенок. Имеются дополнительные признаки: - трубопроводы выполнены разных диаметров; - трубопроводы закреплены на основании с помощью сварки; - трубопроводы закреплены на основании с помощью резьбового соединения. Таким образом, совокупность существенных признаков заявляемой полезной модели позволяет повысить производительность при одновременном расширении функциональности и области применения установки для дезинфекции постельных принадлежностей, одежды, обуви и экипировки различного назначения (далее -установка), в которой она применятся. Это стало возможным благодаря закреплению трубопроводов на по меньшей мере одном основании и выполнению этого основания с возможностью сборно-разборной фиксации его вместе с трубопроводами внутри рабочей камеры установки для дезинфекции на расстоянии от одной из ее стенок. Это позволяет одновременно производить обработку большего количества предметов, за счет более полного использования рабочего объема установки, поскольку совокупная площадь вертикальных стенок рабочей камеры установки (не включая двери) существенно больше площади пола, что позволяет разместить в рабочей камере большее количество трубопроводов устройства для распределения озона и соответственно большее количество обрабатываемых предметов. При этом благодаря сборно-разборной фиксации по меньшей мере одного основания в рабочей камере установки появляется возможность использовать разные варианты расположения трубопроводов на них, что позволяет более эффективно обрабатывать разные предметы (постельные принадлежности и др.) и повышает тем самым функциональность и область применения всей установки. Кроме того, благодаря размещению трубопроводов на основании упрощается и монтаж/демонтаж заявляемого устройства внутри рабочей камеры установки, поскольку при необходимости произвести обработку других предметов в случае применения прототипа необходимо заменить 4 массивных трубопровода, отсоединив их при этом от общего трубопровода, а в случае с заявляемом устройством достаточно заменить основание с трубопроводами целиком. Сущность заявляемого устройства и варианты его исполнения представлены на рисунках и раскрыты в нижеследующем описании. На Фиг. 1 и 2 представлены варианты исполнения заявляемого устройства для распределения озона. На Фиг. 3 представлен вид спереди установки для дезинфекции постельных принадлежностей, одежды, обуви и экипировки различного назначения. На Фиг. 4 представлен вид по сечению А-А. На Фиг. 5 представлен вид по сечению Б-Б. На Фиг. 6 представлен выносной вид В (капельница). На Фиг. 7 представлен вид спереди со снятой дверью упомянутой установки. На Фиг. 8 представлен вид сбоку установки для дезинфекции постельных принадлежностей, одежды, обуви и экипировки различного назначения. На Фиг. 9 представлен вид по сечению Г-Г. На Фиг. 10 представлен выносной вид Д (нагревательный элемент и сливной профиль). Устройство для распределения озона (Фиг. 1-2), применяемое в установке для дезинфекции постельных принадлежностей, одежды, обуви и экипировки различного назначения (Фиг. 3-10), включает трубопроводы 1, расположенные на расстоянии друг от друга и закрепленные на основании 2, в котором соосно трубопроводам 1 выполнены сквозные отверстия 3. Трубопроводы 1 выполнены с возможностью размещения на них упомянутых предметов (постельных принадлежностей, одежды, обуви и экипировки различного назначения и др.) (на чертеже не показано), т.е. имеют разный и/или одинаковый диаметр, форму и компонуются на основании 2 в разных формах в соответствии с разными вариантами размещаемых на них предметов (на чертеже не показано), например таких, как подушки, одеяла, коньки, перчатки, плечевые накладки, налокотники, наколенники, нагрудники, защита бедра, шубы, детские игрушки, детские вещи и др. При этом в каждом трубопроводе 1 выполнены перфорированные участки 4, образованные с возможностью направления воздуха, обогащенного озоном, от генератора 5 озона, имеющегося в упомянутой установке для дезинфекции, к размещенным на них предметам (на чертеже не показано). Основание 2 выполнено с возможностью его сборно-разборной фиксации вместе с трубопроводами 1 внутри рабочей камеры 6 упомянутой установки (Фиг. 5, 7) на расстоянии от одной из ее стенок (боковой или задней). При этом габаритные размеры (высота и ширина) основания 2 выбраны в зависимости от внутренних размеров рабочей камеры 6 (так, чтобы в рабочую камеру 6 полностью поместилось основание 2 с закрепленными на нем трубопроводами!) и в зависимости от того сколько оснований 2 планируется разместить в рабочей камере 6. Толщина основания 2 выбрана необходимой и достаточной для того, чтобы выдержать вес закрепленных на нем трубопроводов 1 вместе с размещенными на них предметами (на чертеже не показано). Диаметр отверстий 3 выполнен необходимым и достаточным для прохождения воздуха, обогащенного озоном, в трубопроводы 1, например, меньшим или равным диаметру соответствующего трубопровода 1, прикрепленного к основанию 2 в этом месте. Причем отверстий 3 может быть выполнено больше, чем в данный момент присоединено к основанию 2 трубопроводов 1. Лишние в данном случае обработки отверстия 3 могут быть закрыты крышками (на чертеже не показано) или заглушками (на чертеже не показано). Например, на основании 2 может быть выполнено технологически максимально возможное количество отверстий 3 для различной компоновки трубопроводов 1. При этом количество трубопроводов 1, закрепленных на основании 2, определяется в зависимости от количества предметов (на чертеже не показано), которые необходимо обработать, и исходя из размеров основания 2 и технологической возможности размещения на нем трубопроводов 1, а также в зависимости от количества заявляемых устройств, размещенных в рабочей камере 6 за раз. Трубопроводы 1 и основание 2 могут быть выполнены из металла или полимерного материала. Трубопроводы 1 могут быть закреплены на основании 2 с помощью сварки, резьбового соединения или вставки в пазы и другими известными способами. Заявляемое устройство монтируется в установку для дезинфекции постельных принадлежностей, одежды, обуви и экипировки различного назначения (Фиг. 3-10), в общем случае включающую герметизируемый шкаф 7 с запираемой дверью 8. Внутреннее пространство шкафа 7 при помощи горизонтальной перегородки 9 и вертикальной перегородки 10 разделяется на рабочую камеру 6 и технологический отсек 11. Перегородка 9 имеет по меньшей мере одно технологическое отверстие 12, обеспечивающее циркуляцию воздуха из рабочей камеры 6 в технологический отсек 11. В технологическом отсеке 11 расположены генератор 5 озона, низкоскоростной вентилятор 13, по меньшей мере один высокоскоростной вентилятор 14, деструктор озона для быстрого уменьшения концентрации озона в шкафу 7 после завершения процедуры санитарной обработки, состоящий из устройства 15 деструкции и по меньшей мере одного высокоскоростного вентилятора 16. Перегородка 10 имеет по меньшей мере одно технологическое отверстие 17, расположенное соответственно вентилятору 14 и предназначенное для подачи воздуха сразу в пространство между стенкой шкафа 7 и основанием 2 (Фиг. 4). Установка для дезинфекции снабжена блоком 18 управления (Фиг. 4, 9), который может быть расположен в технологическом отсеке 11 или в отдельном коробе с доступом к нему снаружи, это позволяет упросить доступ к нему для ускорения процесса настройки оборудования. Блок 18 управление связан с генератором 5 озона, вентиляторами 13, 14, 16, замком (на чертеже не показано) двери 8 (дверь шкафа 7 не может быть открыта до окончания цикла обработки), подсветкой (на чертеже не показано) внутри рабочей камеры 6, сетью питания. Блок 18 управления оснащен запрограммированным контроллером, устройствами ввода и отображения данных, например, LCD-touch монитором 19 (Фиг. 3, 7), и может быть снабжен GSM модулем, который при наличии доступа к сети интернет позволяет дистанционно осуществлять контроль за оборудованием. Все режимы работы и управление производится при помощи блока 18 управления. В по меньшей мере одном технологическом отверстии 12 может быть размещен нагревательный элемент 20, например, трубчатый электронагреватель (ТЭН) (Фиг. 4, 5), также связанный с блоком 18 управления. Это позволяет повысить эффективность обработки предметов, благодаря прохождению через него воздуха и его нагреву до установленной температуры, осушая рабочую камеру 6. При этом в рабочей камере 6 размещен датчик (на чертеже не показано) температуры, связанный с блоком 18 управления. Блок 18 управления включает и выключает ТЭНы для поддержания в рабочей камере 6 заданного температурного режима. Благодаря этому установка для дезинфекции может работать в нескольких режимах, например, сушка (как сушильный шкаф), сушка + озонирование, озонирование. Так, например, для большей эффективности санитарной обработки влажные предметы рекомендовано сначала просушить. Причем конденсат, образующийся на стенках рабочей камеры 6 из-за разницы температур внутри и снаружи рабочей камеры 6 при прохождении воздуха через нагревательные элементы 20, собирается и стекает по наклонным сливным профилям 21 в капельницу 22, расположенную в рабочей камере 6, например, в технологическом отсеке 11, к которой обеспечен доступ для ее быстрого извлечения и опустошения (Фиг. 5-7, 9,10). Низкоскоростной вентилятор 13 предназначен для направления воздуха, обогащенного озоном, от генератора 5 озона в технологический отсек 11. Высокоскоростной вентилятор 14 предназначен для направления воздуха, обогащенного озоном, из технологического отсека 11 в пространство между стенкой шкафа 7 и основанием 2, а затем в отверстия 3 и трубопроводы 1 так, чтобы воздух, содержащий озон, выходил из отверстий перфорированных участков 4 в обрабатываемые предметы (на чертеже не показано). В рабочей камере 6 имеются крепления (Фиг. 5), позволяющие сборно-разборно зафиксировать заявляемое устройство в ней. Крепления могут быть выполнены в виде двух профилей 23 и 24, расположенных вдоль задней и/или боковых стенок горизонтально вдоль части или всей ширины стенок. Верхний профиль 23 может быть закреплен на потолке рабочей камеры 6, а нижний профиль 24 может быть закреплен на перегородке 9 между рабочей камерой 6 и технологическим отсеком 11. Основание 2 заводят под верхний профиль 23 и затем под нижний профиль 24 крепления, тем самым фиксируя все устройство. В зависимости от ширины оснований 2 креплений может быть установлено несколько. Также они могут быть расположены на боковых стенках рабочей камеры 6. Кроме того, на основании 2 могут быть расположены ответные крепежные элементы (на чертеже не показано) для повышения надежности закрепления. Заявляемое устройство фиксируют и применяют в установке следующим образом. Основание 2 вместе с трубопроводами 1 размещают и фиксируют с помощью креплений в рабочей камере 6 на расстоянии от вертикальной стенки шкафа 7 так, чтобы между стенкой рабочей камеры 6 и основанием 2 оставалось пространство достаточное для циркуляции воздуха, при этом это практически не уменьшает пространство рабочей камеры 6 и обычно находится в пределах 2-10 см. Трубопроводы 1, закрепленные на основании 2, должны быть обращены внутрь рабочей камеры 6. При этом стоит отметить, что в рабочей камере 6 может быть размещено по меньшей мере одно заявляемое устройство. Так, например, предусмотрены варианты размещения двух и более равных и разных по размеру оснований 2 на задней и/или боковых стенках рабочей камеры 6 (Фиг. 7). В этом случае крепления располагают соответствующим образом. Перед началом работы установки для дезинфекции предметы (на чертеже не показано), подлежащие обработке, размещаются на трубопроводах 1 так, чтобы поверхность предметов (на чертеже не показано), подлежащая обработке, прилегала к перфорированным участкам 4, но сами предметы (на чертеже не показано) не герметизируется, позволяя, тем самым, воздуху выходить из предметов (на чертеже не показано) в рабочую камеру 6 шкафа 7. После чего шкаф 7 закрывают и герметизируют. Затем включают генератор 5 озона, начинающий производить озон. Одновременно включают низкоскоростной вентилятор 13, распределяющий озон внутри технологического отсека 11. Когда обогащенный озоном воздух оказывается внутри технологического отсека 10, включают по меньшей мере один высокоскоростной вентилятор 14, направляющий обогащенный озоном воздух из технологического отсека 11 через технологическое отверстие 17 в пространство между стенкой шкафа 7 и основанием 2 устройства для распределения озона. За счет высокой мощности вентилятора 14 и ограниченности пространства между стенкой шкафа 7 и основанием 2 устройства для распределения озона поток воздуха нагнетается и затем с высокой скоростью выходит через перфорированные участки 4 устройства для распределения озона. Обогащенный озоном воздух, выходящий из отверстий перфорированных участков 4, попадает на внутреннюю поверхность обрабатываемых предметов (на чертеже не показано). Специфическое ударяющее направление озона на внутренние поверхности отдельных предметов (на чертеже не показано) увеличивает результативность и эффективность обогащенного озоном воздуха. Кроме того, так как обогащенный озоном воздух направляется в специфические зоны, требующие дезинфекции, потребляется меньше озона в течение меньшего времени. Высокая скорость обогащенного озоном воздуха обеспечивает высушивание внутренних поверхностей предметов (на чертеже не показано) очень быстро, что повышает эффективность озона. Озон действует эффективнее всего на сухих поверхностях. Поэтому воздушный поток большой скорости используется для высушивания поверхностей, способствуя эффективному воздействию озона на грибок и плесень, вызывающих неприятный запах. При этом наличие нагревательных элементов 20 также этому способствует. При этом через технологические отверстия 12 воздух из рабочей камеры 6 вновь попадает в технологический отсек И, обогащается озоном и снова подается в рабочую камеру 6 через технологические отверстия 17. После выполнения дезинфекции экипировки генератор 5 озона выключают, чтобы прекратить производство озона. Однако озон еще остается в шкафу 7. Озон потенциально токсичен для людей и поэтому должен быть удален из шкафа 7 до его разгерметизации. Для снижения уровня концентрации озон сначала пропускают через устройство 15 деструкции озона. Устройство 15 деструкции озона содержит химический состав, который вступает в реакцию, или вызывает реакции, превращающие озон в безвредные элементы, например, кислород. Высокоскоростной вентилятор 16 деструктора озона обеспечивает циркуляцию воздуха из рабочей камеры 6 в устройство 15 деструкции озона, чтобы уменьшить уровень озона в шкафу 7 до желаемого. Затем шкаф 7 может быть открыт и предметы (на чертеже не показано) сняты. Длительность работы высокоскоростного вентилятора 14, генератора 5 озона и деструктора озона изменяется в соответствии со спецификой обрабатываемых предметов (на чертеже не показано) и количества грибка и плесени. Время работы может корректироваться с помощью блока 18 управления для выполнения желаемой дезинфекции в зависимости от размеров и других особенностей обрабатываемых предметов (на чертеже не показано). Таким образом, заявляемая полезная модель позволяет повысить производительность при одновременном расширении функциональности и области применения установки для дезинфекции постельных принадлежностей, одежды, обуви и экипировки различного назначения, в которой она применяется.