1. Сверло, содержащее хвостовик, цилиндрическую и рабочую остроконечную центрирующую части, отличающееся тем, что рабочая остроконечная центрирующая часть сверла выполнена в виде тела вращения выпуклого криволинейного профиля с тупым углом 100-150°, образуемым двумя противоположными касательными в вершине криволинейного профиля, при этом в цилиндрической рабочей части от границы перехода к остроконечной центрирующей части выполнен один вертикальный паз, в котором установлена керамическая вставка.2. Сверло по п. 1, отличающееся тем, что криволинейный профиль остроконечной рабочей части сверла выполнен в виде сочетания двух линий с радиусами их образующих, первый в вершине из которых равен 0,5-0,8 диаметра сверла, а второй равный 3,0-6,0 диаметрам сверла.3. Сверло по п. 1, отличающееся тем, что наружные противоположные стороны установленной в вертикальном пазу керамической вставки выполнены заподлицо с наружной поверхностью цилиндрической части сверла.4. Сверло по п. 1, отличающееся тем, что высота керамической вставки сверла выполнена равной 2.,0-5,0 толщины рассверливаемой детали.5. Сверло по п. 1, отличающееся тем, что вертикальный паз в теле цилиндрической части сверла для керамической вставки выполнен сквозным соосно продольной оси сверла.
1. Сверло, содержащее хвостовик, цилиндрическую и рабочую остроконечную центрирующую части, отличающееся тем, что рабочая остроконечная центрирующая часть сверла выполнена в виде тела вращения выпуклого криволинейного профиля с тупым углом 100-150°, образуемым двумя противоположными касательными в вершине криволинейного профиля, при этом в цилиндрической рабочей части от границы перехода к остроконечной центрирующей части выполнен один вертикальный паз, в котором установлена керамическая вставка. 2. Сверло по п. 1, отличающееся тем, что криволинейный профиль остроконечной рабочей части сверла выполнен в виде сочетания двух линий с радиусами их образующих, первый в вершине из которых равен 0,5-0,8 диаметра сверла, а второй равный 3,0-6,0 диаметрам сверла. 3. Сверло по п. 1, отличающееся тем, что наружные противоположные стороны установленной в вертикальном пазу керамической вставки выполнены заподлицо с наружной поверхностью цилиндрической части сверла. 4. Сверло по п. 1, отличающееся тем, что высота керамической вставки сверла выполнена равной 2.,0-5,0 толщины рассверливаемой детали. 5. Сверло по п. 1, отличающееся тем, что вертикальный паз в теле цилиндрической части сверла для керамической вставки выполнен сквозным соосно продольной оси сверла.
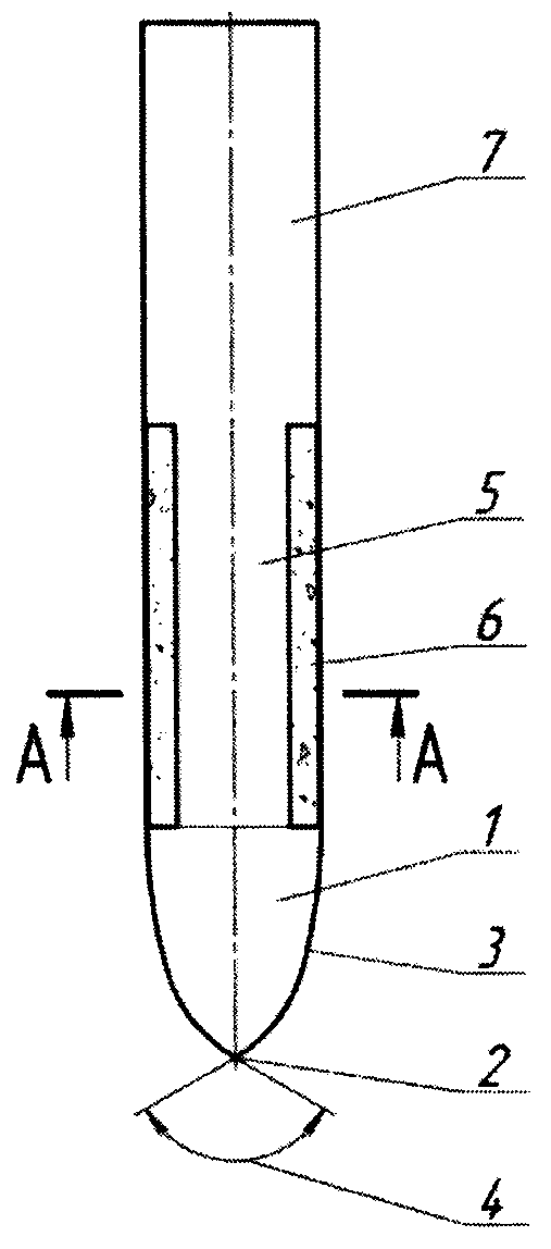
Полезная модель относится к области машиностроения, а именно к обработке металла давлением и может быть использована для изготовления отверстий под резьбу в листовой, трубчатой или иной тонкостенной заготовке с использованием метода пластического сверления. Известны спиральные сверла, см. Справочник технолога-машиностроителя в 2-х т. Т. 1, 2 / Под ред. А.Г. Косиловой и Р.К. Мещерякова. - М.: Машиностроение, 1985. - 496 с. при помощи которых формируют круглые отверстия. Данный способ является наиболее распространенным в машиностроительном производстве, заключающийся в том, что к месту предполагаемого отверстия подводят инструмент, имеющий на торце режущие кромки. За счет приложения нагрузки вдоль оси инструмента формируют отверстие, образующееся в результате отделения стружки режущими кромками. К недостаткам спиральных сверл можно отнести их низкую износостойкость при нагреве и, как следствие, низкую производительность процесса. Кроме того, к недостаткам можно отнести и низкую чистоту обработки поверхности отверстия. В настоящее время все шире используется керамика для изготовления режущих инструментов в связи с ее высокой твердостью и способностью выдерживать высокие температуры - см. патент РФ №2350436 «Керамическое сверло для высокоскоростного сверления». Сверло содержит цилиндрический хвостовик и рабочую часть, содержащую две главные режущие кромки и поперечную кромку, два режущих зуба и две канавки, проходящие, чередуясь друг с другом, вокруг оси вращения сверла, каждый режущий зуб имеет ленточку и каждая канавка содержит основную переднюю поверхность, примыкающую к ленточке и к главной режущей кромке. По меньшей мере, рабочая часть сверла выполнена из керамического материала, при этом передний угол сверла выполнен положительным. Задняя поверхность сверла проходит от каждой главной режущей кромки под задним углом, составляющим приблизительно от 4° до 10° относительно плоскости, перпендикулярной оси вращения сверла. Два выреза, формирующие две вторичные передние поверхности сверла, проходят от поперечной кромки под положительными передними углами, составляющими приблизительно от 1° до 7° относительно оси вращения сверла. Технический результат: повышение прочности сверла и производительности обработки. К недостаткам известного сверла можно отнести его быстрый износ, связанный с воздействием на керамические сверла скручивающих усилий возникающих из-за нарастающего увеличения площади внешней поверхности сверла, трущейся о внутреннюю цилиндрическую поверхность просверливаемого отверстия, при этом из-за низкой вязкости керамических материалов керамические сверла обладают более низким пределом прочности при кручении и сопротивлением сжатию, чем металлические сверла, что приводит к быстрому разрушению сверла и, как следствие, низкой производительности процесса. Известен инструмент для пластического сверления сверло, см. патент РФ «Инструмент для пластического сверления» №2335370, Е.Ю. Татаркин, О.В. Золотов - публ. 10.05.2008 г., содержащее рабочую часть с симметричным относительно оси инструмента профилированным поперечным сечением, имеющим стороны с малой кривизной, включающую конический, имеющий остроконечный центрирующий элемент, и призматический участки и хвостовик, в котором рабочая часть снабжена дополнительными коническим и призматическим участками, профилированные поперечные сечения которых соответствуют сечениям конического и призматического участков, последовательно расположенными между призматическим участком и хвостовиком, при этом на дополнительном призматическом участке на сторонах с малой кривизной жестко закреплены четыре режущих зуба, равномерно расположенные относительно друг друга. К недостаткам известного сверла можно отнести быстрый износ, так как при обработке изделия на этапе выхода рабочей части сверла при падении температуры разогретого металла возникает сжимающее напряжение, постепенно разрушающее рабочую часть сверла и сокращающее срок его службы. При этом, к недостаткам инструмента можно отнести то, что при пластическом сверлении значительная часть сгенерированного трением тепла отводится через инструмент в шпиндель станка, что снижает скорость пластического выдавливания материала в зоне обработки, что, в свою очередь, снижает производительность процесса сверления. Кроме того, недостатком прототипа является его высокая стоимость и сложность изготовления. Известен инструмент для формирования отверстий методом пластического сверления, см. патент РФ на изобретение №2492972 В23В 51/08, публ. 20.05. 2012 года, выполненный в виде тела вращения-сверла, содержащего расширяющую, калибрующую и торцующую формообразующие поверхности, и хвостовик, при этом тело вращения инструмента-сверла выполнено из быстрорежущей стали с нанесенным на участки его формообразующих поверхностей промежуточным теплоизолирующим слоем и внешним износостойким покрытием, при этом дополнительно к разогреву поверхности материала за счет трения используют внешний источник теплоты, локально разогревающий материал в области формирования отверстия, а для нанесения твердосплавного и теплоизолирующего покрытий на сверло предлагается использовать детонационный метод. К недостаткам известного сверла можно отнести его быстрый износ, так как на этапе выхода рабочей части сверла при падении температуры разогретого металла возникает сжимающее напряжение, постепенно разрушающее рабочую часть сверла и сокращающее срок его службы. Известен более совершенный способ формирования отверстий методом пластического сверления - см. US Patent №4428214. Flow drilling process and tool therefore /. Bredesky, Jr.; Louis P; Head, Jr.; Glenn D; Le Master; William C.; Winter; David C. Date Issued: January 31, 1984., - прототип. В данном способе к обрабатываемой поверхности прижимают гладкий вращающийся твердосплавный инструмент - сверло с конической рабочей частью с остроконечным центрирующим элементом, цилиндрической рабочей частью и хвостовиком, создающий за счет трения локальный нагрев поверхности до температуры, при которой материал под действием нормальной нагрузки, приложенной к вращающемуся инструменту - сверлу, выдавливается наружу с формированием отверстия, повторяющего геометрию вращающегося инструмента. Применение данного сверла позволяет получать чистые поверхности отверстий без образования стружки, а также вытяжку материала вдоль оси отверстия, что позволяет получать более качественную резьбу в тонкостенных элементах конструкций. К недостаткам прототипа можно отнести то, что при обработке материалов с высокой теплопроводностью затрудняется процесс разогрева материала в зоне обработки, приводящий к замедлению пластического выдавливания материала из области формируемого отверстия, что снижает производительность процесса пластического сверления и в совокупности с быстрым износом, связанным с воздействием, на сверло из керамических материалов скручивающих усилий, возникающих из-за нарастающего увеличения площади внешней поверхности сверла, трущейся о внутреннюю цилиндрическую поверхность просверливаемого отверстия, при этом из-за низкой вязкости керамических материалов сверла обладают более низким пределом прочности при кручении и сопротивлением сжатию, которое возникает при падении температуры разогретого металла при выходе рабочей части сверла, чем металлические сверла, что приводит к быстрому износу сверла и, как следствие, низкой производительности процесса. Задачей предполагаемой полезной модели является разработка простой конструкции сверла с устранением указанных выше недостатков связанных с увеличением износостойкости сверла, уменьшением воздействия скручивающих усилий и усилий сжатия на сверло, предотвращением его разрушения и увеличения производительности процесса пластического сверления, а также снижением стоимости сверла и упрощением технологии его изготовления. Поставленная полезной моделью задача достигается использованием сочетания известных общих с прототипом признаков, включающих хвостовик, цилиндрическую и рабочую остроконечную центрирующую части и новых признаков, заключающихся в том, что рабочая остроконечная центрирующая часть сверла выполнена в виде тела вращения выпуклого криволинейного профиля с тупым углом 100-150° образуемым двумя противоположными касательными в вершине криволинейного профиля, в цилиндрической рабочей части, от границы перехода к остроконечной центрирующей части, выполнен один вертикальный паз, в котором установлена керамическая вставка. Криволинейный профиль остроконечной рабочей части сверла выполнен в виде сочетания двух линий с радиусами их образующих, первый в вершине из которых равен 0,5-0,8 диаметра сверла, а второй равный 3,0-6,0 диаметрам сверла. Наружные противоположные стороны, установленной в вертикальном пазу керамической вставки, выполнены заподлицо с наружной поверхностью цилиндрической части сверла. Высота керамической вставки сверла выполнена равной 2.0-5,0 толщины рассверливаемой детали. Вертикальный паз в теле цилиндрической части сверла для керамической вставки выполнен сквозным соосно продольной оси сверла. Новизной предложенного технического решения является выполнение рабочей остроконечной центрирующей части сверла в виде тела вращения выпуклого криволинейного профиля с тупым углом 100-150° образуемым двумя противоположными касательными в вершине криволинейного профиля, выполнение в цилиндрической рабочей части, от границы перехода к остроконечной центрирующей части, одного вертикального паза, в котором смонтирована керамическая вставка. Так, выполнение рабочей остроконечной центрирующей части сверла в виде тела вращения выпуклого криволинейного профиля с тупым углом 100-150°, образуемым двумя противоположными касательными в вершине криволинейного профиля обеспечивает оптимальную высоту центрирующей рабочей части, влияющую на уменьшение количества разрывов на нижней кромке сформированного отверстия. Именно криволинейный профиль в совокупности с заданным углом между двумя касательными позволяет сохранить оптимальный угол для того чтобы уменьшить высоту, количество и размеры разрывов. По мере выхода центрирующей рабочей части сверла из отверстия, его криволинейный профиль позволяет, плавно уменьшать угол расклинивания металла, постепенно переводя его в цилиндрическую рабочую часть. Установка в цилиндрической рабочей части сверла керамической вставки сохраняет поддержание уровня температуры, поскольку керамика препятствует передаче тепла, способствуя его сохранению в месте контакта обрабатываемой поверхности и остроконечного центрирующего элемента, при этом одновременно обеспечивает увеличение стойкости сверла в зоне повышенных сжимающих напряжений в процессе сверления. Выполнение керамической вставки именно в цилиндрической рабочей части объясняется тем, что на этапе выхода рабочей части сверла температура разогретого металла падает, металл начинает сжиматься, и возникают сжимающие напряжения, следовательно, в этой зоне инструмента износ будет максимальным, что и объясняет расположение керамической вставки. Выполнение вертикального паза в теле цилиндрической части сверла для керамической вставки сквозным соосно продольной оси позволяет равномерно распределить керамическую вставку и уменьшить скручивающие усилия без снижения прочностных характеристик сверла. Признаки выполнения криволинейного профиля остроконечной рабочей части сверла в виде сочетания двух линий с радиусами их образующих, первый в вершине из которых равен 0,5-0,8 диаметра сверла, а второй равный 3,0-6,0 диаметрам сверла, выполнение наружных противоположных сторон, установленной в вертикальном пазу керамической вставки, заподлицо с наружной поверхностью цилиндрической части сверла, выполнение высоты керамической вставки сверла равной 2.0-5,0 толщины рассверливаемой детали - являются признаками дополнительными раскрывающими основные признаки предложенного технического решения и направлены на достижение поставленного полезной моделью задачи. Согласно проведенным патентно-информационным исследованиям сочетания общих с прототипом и новых признаков в источниках патентной и научно-технической информации не обнаружено, поэтому можно отнести их к обладающим новизной. Указанное сочетание признаков не вытекает из уровня техники явным образом, а в сочетании с описанием работы их можно отнести к промышленно применимым и направленным на достижение поставленной полезной моделью задачи. На фиг. 1 схематично представлено предлагаемое сверло вид сбоку; На фиг. 2 показано горизонтальное сечение цилиндрической рабочей части по направлению А со сквозной керамической вставкой; На фиг. 3 схематично изображено отверстие, полученное с использованием предлагаемого сверла с разрывами верхней и нижней кромок отверстия. На фиг. 4 схематично изображено отверстие, полученное с использованием предлагаемого сверла с разрывами верхней и нижней кромок отверстия с находящимся в отверстии сверлом с керамическими вставками. Предлагаемое сверло состоит из центрирующей рабочей части 1 с вершиной 2, выполненной в виде единого выпуклого криволинейного профиля 3 с углом 4 при вершине, образуемым между двумя касательными к криволинейному профилю, с цилиндрической рабочей частью 5, с керамической вставкой 6 и хвостовиком 7. Отверстие 8 в заготовке 9 сформировано с разрывами 10 на верхней и нижней его кромках. Предлагаемое сверло для пластического сверления работает следующим образом. Сверло для пластического сверления хвостовиком 7 закрепляется в патроне станка и с высокой частотой вращения и подачей в сторону детали входит в контакт с листовой, трубчатой или иной заготовкой. Сначала в заготовку внедряется остроконечная центрирующая вершина 2 рабочей части 1, при этом металл заготовки локально нагревается за счет теплоты, выделяющейся при трении, и пластической деформации. Сверло, преодолевая сопротивление разогретого металла заготовки, под воздействием на него нагрузки перемещается в осевом направлении, при этом посредством выпуклого криволинейного профиля 3 в контакт с заготовкой вступает коническая рабочая часть 1, которая формирует отверстие. Окончательно формирует отверстие 8 цилиндрическая рабочая часть 5 с керамической вставкой 6 и хвостовиком 7. Задача конической рабочей части - разогрев и вытягивание металла в направлении подачи инструмента и распределение (раздача) металла заготовки 9 в радиальном направлении относительно оси инструмента. Выпуклый криволинейный профиль 3 в совокупности с заданным углом 4 между двумя касательными позволяет сохранить оптимальный угол для того чтобы уменьшить высоту, количество и размеры разрывов (фиг 3, фиг. 4), одновременно сокращая при этом машинное время, что положительно влияет на производительность. Вытесненный из зоны контакта металл заготовки 9 образует кольцевые наплывы конической формы на верхней и нижней поверхностях. Керамическая вставка 6 увеличивают износостойкость сверла, снижая его стоимость и обеспечивают поддержание температуры металла, предотвращая его быстрое остывание, что способствует качественной обработке получаемого отверстия и в совокупности обеспечивает увеличение производительности процесса пластического сверления. Криволинейный профиль 3 остроконечной рабочей части сверла выполненный в виде сочетания двух линий с радиусами их образующих, первый в вершине из которых равен 0,5-0,8 диаметра сверла, а второй равный 3,0-6,0 диаметрам сверла позволяет вначале сверления более эффективно нагреть металл, а затем обеспечить его отвод в стороны, формируя правильное круглое сечение отверстия. Выполнение наружных противоположных сторон, установленной в вертикальном пазу керамической вставки 6, заподлицо с наружной поверхностью цилиндрической части сверла обеспечивает точное соответствие диаметра отверстия диаметру сверла. Выполнение высоты керамической вставки 6 сверла равной 2.0-5,0 толщины рассверливаемой детали позволяет сформировать правильное отверстие по всей его высоте. Выполнение вертикального паза в теле цилиндрической части сверла для керамической вставки 6 сквозным соосно продольной оси сверла предотвращает биение сверла и обеспечивает равномерное распределение разогретого металла заготовки по периметру рабочей части сверла.. Техническим результатом предполагаемой полезной модели является разработка простой конструкции сверла с увеличенной износостойкостью, с уменьшенным воздействием скручивающих усилий и усилий сжатия на сверло, предотвращением его разрушения, и потому увеличенным сроком его службы, что положительно сказывается на производительности процесса пластического сверления, поскольку экономится время, затраченное на замену и установку нового сверла. В настоящее время на предлагаемое сверло разработана техническая документация, изготовлен опытный образец, испытания которого показали положительные результаты. После проведения комплексных испытаний будет принято решение об организации производства предлагаемого сверла.