патент
№ RU 156694
МПК F41A9/00

МАГАЗИН КОРАБЕЛЬНОЙ АРТИЛЛЕРИЙСКОЙ УСТАНОВКИ

Авторы:
Тихонов Станислав Николаевич Немировский Петр Иохананович Зацепина Марина Евгеньевна
Все (4)
Номер заявки
2014154596/11
Дата подачи заявки
31.12.2014
Опубликовано
10.11.2015
Страна
RU
Как управлять
интеллектуальной собственностью
Чертежи 
9
Реферат

1. Магазин корабельной артиллерийской установки, содержащий вращающийся барабан и два элеватора, расположенные под станком этой установки, отличающийся тем, что он снабжён двумя перегружателями, приводом, выполненным с обеспечением непрерывного равномерного вращения этого барабана в процессе стрельбы, и устройством загрузки и пополнения боезапаса, готового к автоматической стрельбе, причём вращающийся барабан соединён со станком посредством кольцевой поворотной опоры, закреплённой на днище станка с обеспечением совмещения осей вращения этого барабана и станка, а на цилиндрической поверхности этого барабана выполнены гнёзда, в которых расположены вытеснители, соединённые с этим барабаном подвижно с обеспечением входа выстрелов в гнёзда в осевом направлении и выхода из них под действием вытеснителей в радиальном направлении, при этом перегружатели выстрелов выполнены каждый в виде четырёхзвенного коромыслово-ползунного механизма, в состав которого входят опора, закреплённая на днище станка, коромысло, шатун, ползун и неподвижно соединённая с ползуном перегрузочная обойма, которая оснащена механизмом воздействия на вытеснители вращающегося барабана, опорно-сцепным механизмом и захватно-вытесняющим механизмом, причём оси шарниров, соединяющих между собой звенья четырёхзвенного коромыслово-ползунного механизма, расположены вертикально, ползун установлен в направляющей, которая выполнена с обеспечением кругового перемещения перегрузочной обоймы вокруг вращающегося барабана, опорно-сцепной механизм выполнен с обеспечением сцепления этой обоймы с непрерывно вращающимся барабаном, их совместно

Формула изобретения

1. Магазин корабельной артиллерийской установки, содержащий вращающийся барабан и два элеватора, расположенные под станком этой установки, отличающийся тем, что он снабжён двумя перегружателями, приводом, выполненным с обеспечением непрерывного равномерного вращения этого барабана в процессе стрельбы, и устройством загрузки и пополнения боезапаса, готового к автоматической стрельбе, причём вращающийся барабан соединён со станком посредством кольцевой поворотной опоры, закреплённой на днище станка с обеспечением совмещения осей вращения этого барабана и станка, а на цилиндрической поверхности этого барабана выполнены гнёзда, в которых расположены вытеснители, соединённые с этим барабаном подвижно с обеспечением входа выстрелов в гнёзда в осевом направлении и выхода из них под действием вытеснителей в радиальном направлении, при этом перегружатели выстрелов выполнены каждый в виде четырёхзвенного коромыслово-ползунного механизма, в состав которого входят опора, закреплённая на днище станка, коромысло, шатун, ползун и неподвижно соединённая с ползуном перегрузочная обойма, которая оснащена механизмом воздействия на вытеснители вращающегося барабана, опорно-сцепным механизмом и захватно-вытесняющим механизмом, причём оси шарниров, соединяющих между собой звенья четырёхзвенного коромыслово-ползунного механизма, расположены вертикально, ползун установлен в направляющей, которая выполнена с обеспечением кругового перемещения перегрузочной обоймы вокруг вращающегося барабана, опорно-сцепной механизм выполнен с обеспечением сцепления этой обоймы с непрерывно вращающимся барабаном, их совместного поворота, последующего разделения и возвращения перегрузочной обоймы в исходное положение, захватно-вытесняющий механизм выполнен с обеспечением захвата и вытеснения в элеватор выстрела, перегружаемого в элеватор из вращающегося барабана, а устройство загрузки и пополнения боезапаса, готового к автоматической стрельбе, выполнено с обеспечением поперечного перемещения выстрела при входе в это устройство и продольного перемещения при выходе из него.

2. Магазин корабельной артиллерийской установки по п. 1, отличающийся тем, что устройство загрузки и пополнения боезапаса, готового к автоматической стрельбе, выполнено в виде, по крайней мере, одного подъёмника периодического действия, установленного неподвижно в подпалубном помещении корабля с обеспечением подачи выстрела в осевом направлении в гнездо вращающегося барабана, который при этом стопорится от поворота относительно этого подъёмника.

3. Магазин корабельной артиллерийской установки по п. 1, отличающийся тем, что устройство загрузки и пополнения боезапаса, готового к автоматической стрельбе, включает расположенный под вращающимся барабаном загрузочный ротор с гнёздами, выполненный с обеспечением входа выстрелов в гнёзда загрузочного ротора в радиальном направлении и выхода из них в гнёзда вращающегося барабана в осевом направлении, и подъёмник, выполненный в виде двухступенчатого коромыслово-ползунного механизма, в состав которого входят направляющая труба, соединённая верхним концом неподвижно с днищем станка, ползуны первой и второй ступеней, установленные на направляющей трубе, а также два коромысла и четыре шатуна, соединяющие эти ползуны между собой и с направляющей трубой, при этом ползун первой ступени соединён с направляющей трубой посредством двух гидроцилиндров, ползун второй ступени соединён посредством кольцевой поворотной опоры с нажимным диском, зубья которого входят в гнёзда загрузочного ротора, а сам загрузочный ротор соединён с направляющей трубой посредством кольцевой поворотной опоры, закреплённой на нижнем конце направляющей трубы, и снабжён приводом вращения этого ротора синхронно с вращающимся барабаном.

Описание

[1]

Настоящая полезная модель относится к скорострельным автоматическим корабельным артиллерийским установкам среднего калибра. Составной частью таких установок является система боепитания артиллерийского автомата, в которой подача выстрелов в боевое отделение установки производится двумя элеваторами с двух сторон артиллерийского автомата, причем готовые к автоматической стрельбе выстрелы хранятся в магазине, расположенном под станком артиллерийской установки.

[2]

Известна корабельная 76 мм артиллерийская установка АК-176 (см. Артиллерийская корабельная установка АК-176, Инструкция по эксплуатации, Военное издательство Министерства обороны СССР, Москва, 1982), в которой магазин выполнен в виде двух цепных горизонтальных конвейеров, смонтированных на подвесной платформе, прикрепленной к станку снизу. Перегрузка очередного выстрела из каждого конвейера в соответствующий элеватор производится при остановленном конвейере, следовательно, весь массив выстрелов, которые загружены в магазин, разгоняется и тормозится в каждом цикле шаговой подачи. Если такую известную схему магазина применить в установке калибра 100 мм и выше, то инерционные нагрузки, возникающие в приводных механизмах магазина при высокой скорострельности артиллерийского автомата, становятся настолько значительными, что вероятность безотказной работы установки существенно снижается.

[3]

Известна 127-мм одноствольная универсальная палубно-башенной артиллерийская установка Мк45 (смотри «The Naval Institute Guide To The Ships and Aircraft of the U.S. Fleet, 19th Edition» Норман Полмар), в которой магазин барабанного типа укомплектован подготовленными к немедленной стрельбе унитарными выстрелами, размещенными вертикально. Во время стрельбы магазин, расположенный в подбашенном отделении, непрерывно пополняется заряжающим устройством, к которому выстрелы подаются вручную. Элеватор, подающий выстрелы в боевое отделение установки, расположен на оси вращения станка, что типично для артиллерийских установок, имеющих невысокую максимальную скорострельность порядка 20 выстр./мин. Однако установка элеватора на оси вращения станка делает невозможной двустороннюю подачу выстрелов на качающийся артиллерийский автомат, которую широко применяют как наиболее доступный и эффективный способ боепитания скорострельного артиллерийского автомата.

[4]

Известен магазин артиллерийской корабельной установки, который выбран прототипом заявляемого устройства (см. патент РФ на изобретение №2533947, опубл. 27.11.2014). Магазин этой установки содержит два элеватора, осуществляющие двустороннюю подачу выстрелов в боевое отделение установки, и два вращающихся барабана с обоймами для выстрелов, выполняющими также функцию направляющих труб упомянутых элеваторов Преимущество магазина барабанного типа в сравнении с магазином конвейерного типа определяется теми общеизвестными преимуществами, которые отличают вращательную кинематическую пару от поступательной. Но поскольку в прототипе вращающиеся барабаны используются также для направления выстрелов при подъеме их элеватором, то шаговые повороты барабанов чередуются с остановками на время подъема очередного выстрела соответствующим элеватором. Следовательно, разгоны и торможения снаряженных выстрелами барабанов и сопутствующие инерционные нагрузки имеют место также и в выбранном прототипе.

[5]

Заметим, что в прототипе загрузку и пополнение боезапаса, готового к автоматической стрельбе, можно производить только при неподвижной поворотной части артиллерийской установки, останавливая стрельбу на время загрузки и пополнения боезапаса.

[6]

Задачи настоящей полезной модели - обеспечить инерциальный (без разгонов и торможений) режим переносного движения выстрелов во вращающемся барабане магазина и возможность производить загрузку и пополнение боезапаса, готового к автоматической стрельбе, не прерывая стрельбы, что является приоритетным направлением развития современной среднекалиберной корабельной артиллерии.

[7]

Поставленные задачи решены следующим образом: известный магазин корабельной артиллерийской установки, содержащий вращающийся барабан и два элеватора, расположенные под станком этой установки, СОГЛАСНО заявляемой полезной модели снабжен двумя перегружателями, приводом, выполненным с обеспечением непрерывного равномерного вращения этого барабана в процессе стрельбы, и устройством загрузки и пополнения боезапаса, готового к автоматической стрельбе, причем вращающийся барабан соединен со станком посредством кольцевой поворотной опоры, закрепленной на днище станка с обеспечением совмещения осей вращения этого барабана и станка, а на цилиндрической поверхности этого барабана выполнены гнезда, в которых расположены вытеснители, соединенные с этим барабаном подвижно с обеспечением входа выстрелов в гнезда в осевом направлении и выхода из них под действием вытеснителей в радиальном направлении, при этом перегружатели выстрелов выполнены каждый в виде четырехзвенного коромыслово-ползунного механизма, в состав которого входят опора, закрепленная на днище станка, коромысло, шатун, ползун и неподвижно соединенная с ползуном перегрузочная обойма, которая оснащена механизмом воздействия на вытеснители вращающегося барабана, опорно-сцепным механизмом и захватно-вытесняющим механизмом, причем оси шарниров, соединяющих между собой звенья четырехзвенного коромыслово-ползунного механизма расположены вертикально, ползун установлен в направляющей, которая выполнена с обеспечением кругового перемещения перегрузочной обоймы вокруг вращающегося барабана, опорно-сцепной механизм выполнен с обеспечением сцепления этой обоймы с непрерывно вращающимся барабаном, их совместного поворота, последующего разделения и возвращения перегрузочной обоймы в исходное положение, а захватно-вытесняющий механизм выполнен с обеспечением захвата и вытеснения в элеватор выстрела, перегружаемого в элеватор из вращающегося барабана, а устройство загрузки и пополнения боезапаса, готового к автоматической стрельбе, выполнено с обеспечением поперечного перемещения выстрела при входе в это устройство и продольного перемещения при выходе из него.

[8]

Также СОГЛАСНО заявляемой полезной модели устройство загрузки и пополнения боезапаса, готового к автоматической стрельбе, может быть выполнено в виде, по крайней мере, одного подъемника периодического действия, установленного неподвижно в подпалубном помещении корабля с обеспечением подачи выстрела в осевом направлении в гнездо вращающегося барабана, который при этом стопорится от поворота относительно этого подъемника.

[9]

Также СОГЛАСНО заявляемой полезной модели устройство загрузки и пополнения боезапаса, готового к автоматической стрельбе, может включать расположенный под вращающимся барабаном загрузочный ротор с гнездами, выполненный с обеспечением входа выстрелов в гнезда загрузочного ротора в радиальном направлении и выхода из них в гнезда вращающегося барабана в осевом направлении, и подъемник, выполненный в виде двухступенчатого коромыслово-ползунного механизма, в состав которого входят направляющая труба, соединенная верхним концом неподвижно с днищем станка, ползуны первой и второй ступеней, установленные на направляющей трубе, а также два коромысла и четыре шатуна, соединяющие эти ползуны между собой и с направляющей трубой, при этом ползун первой ступени соединен с направляющей трубой посредством двух гидроцилиндров, ползун второй ступени соединен посредством кольцевой поворотной опоры с нажимным диском, зубья которого входят в гнезда загрузочного ротора, а сам загрузочный ротор соединен с направляющей трубой посредством кольцевой поворотной опоры, закрепленной на нижнем конце направляющей трубы, и снабжен приводом вращения этого ротора синхронно с вращающимся барабаном.

[10]

Заявляемое устройство в сравнении с прототипом имеет существенные отличия и обладает новыми техническими свойствами, отсутствующими в известных автоматических артиллерийских установках среднего калибра.

[11]

Существенным в заявляемом устройстве является то, что вращающийся барабан магазина имеет привод непрерывного равномерного вращения, и в состав магазина входят два перегружателя, которые, совершая челночные перемещения относительно элеваторов, вытесняют на ходу из непрерывно вращающегося барабана очередной выстрел, захватывают его и доставляют в направляющую трубу элеватора, и устройство загрузки и пополнения боезапаса, готового к автоматической стрельбе. Причем наличие в устройстве загрузки и пополнения боезапаса, готового к автоматической стрельбе, загрузочного ротора, который подвижно соединен со станком и снабжен автономным приводом и подъемником, позволит загрузить выстрелы в заторможенный загрузочный ротор вручную или механизированным способом, затем привести загрузочный ротор в синхронное с вращающимся барабаном вращение и, совместив между собой соответствующие гнезда барабана и загрузочного ротора, переместить выстрелы подъемником из загрузочного ротора в барабан, не прекращая стрельбы. Таким образом, повышаются характеристики боевого применения корабельной артиллерийской установки.

[12]

Заявляемое техническое решение, сохраняя преимущества прототипа, всей совокупностью своих существенных признаков обеспечивает инерциальность переносного движения выстрелов в магазине и повышает за счет этого вероятность безотказной работы корабельной артиллерийской установки.

[13]

Анализ существующей научно-технической и патентной информации показал неизвестность предлагаемой совокупности существенных признаков. Неизвестными оказались и отдельные существенные признаки. Таким образом, настоящую полезную модель можно считать отвечающей критерию патентоспособности «новизна».

[14]

Устройство и работа заявляемого магазина корабельной артиллерийской установки, который дальше именуется «магазин», поясняются рисунками:

[15]

на фиг. 1 показан общий вид магазина с устройством загрузки и пополнения боезапаса в первом исполнении;

[16]

на фиг. 2 показан общий вид магазина с устройством загрузки и пополнения боезапаса во втором исполнении;

[17]

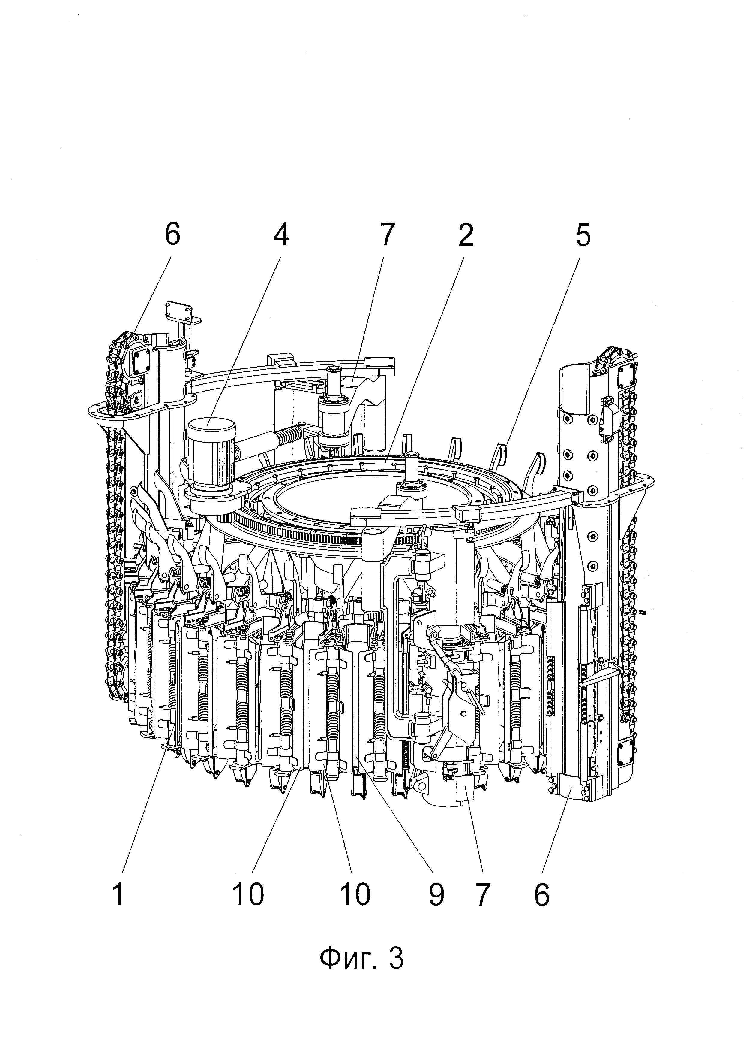
на фиг. 3 показан общий вид магазина без устройства загрузки и пополнения боезапаса;

[18]

на фиг. 4 показан вытеснитель вращающегося барабана в исходном и отклоненном положениях;

[19]

на фиг. 5 показан вид сверху на магазин;

[20]

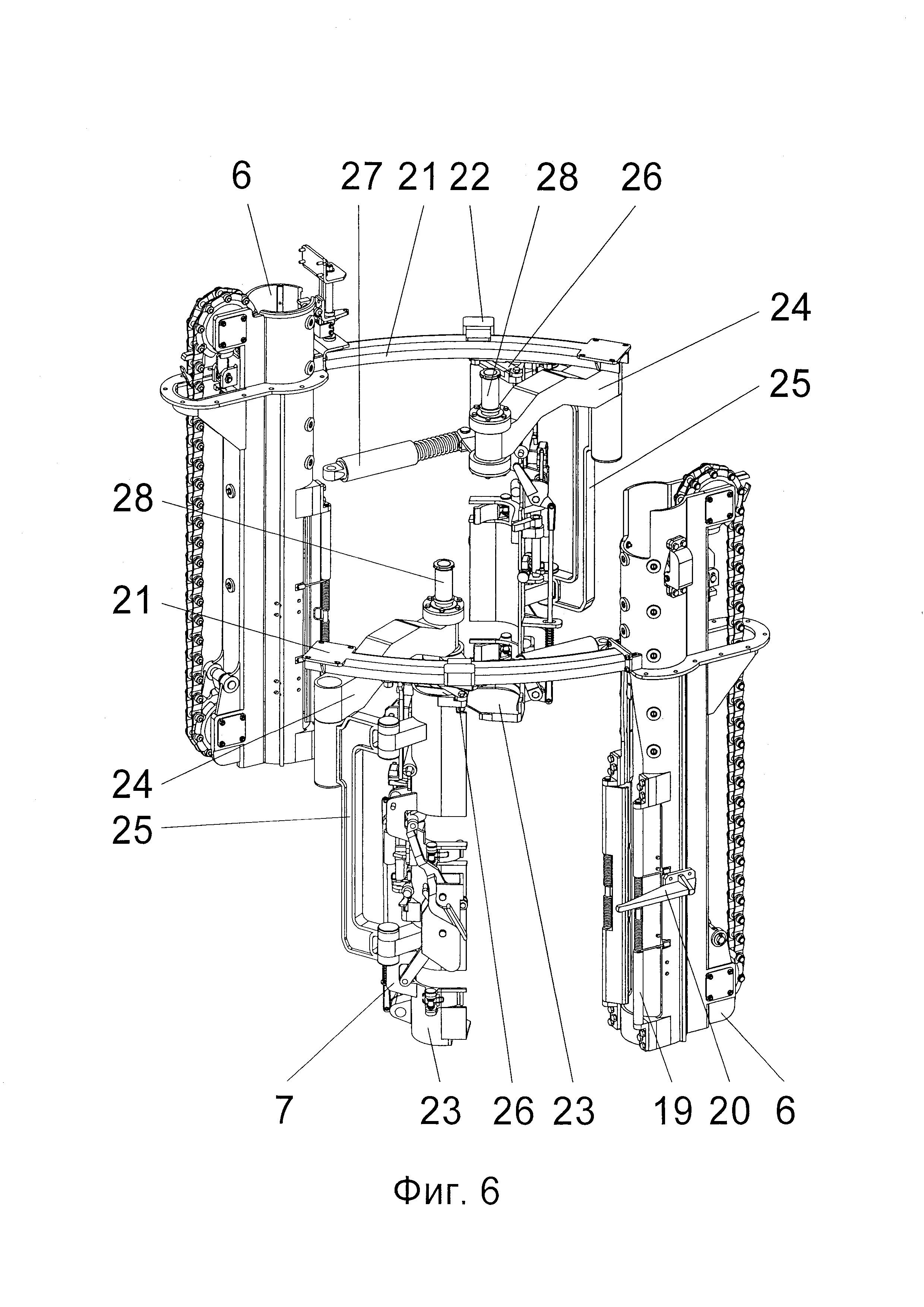
на фиг. 6 показаны элеваторы и перегружатели магазина;

[21]

на фиг. 7 показан перегружатель магазина;

[22]

на фиг. 8 показано первое исполнение устройства загрузки и пополнения боезапаса;

[23]

на фиг. 9. показано второе исполнение устройства загрузки и пополнения боезапаса.

[24]

Заявляемый магазин содержит вращающийся барабан 1, именуемый дальше «барабан 1», который с помощью кольцевой поворотной опоры 2 крепится к нижней части станка 3 корабельной артиллерийской установки, привод 4, который во время работы магазина вращает барабан 1 безостановочно с постоянной скоростью, вытеснители 5, два элеватора 6, два перегружателя 7 и устройство 8 загрузки и пополнения боезапаса, готового к автоматической стрельбе, представленное в двух исполнениях. На цилиндрической поверхности барабана 1 выполнены гнезда 9, каждое из которых оборудовано двумя створками 10, открывающимися наружу. Каждый вытеснитель 5 расположен в соответствующем гнезде 9 и соединен с барабаном 1 подвижно при помощи опоры 11, закрепленной на барабане 1, и двух коромысел 12 и 13 с обеспечением поступательного перемещения вытеснителя 5 из гнезда 9 в радиальном направлении наружу. Каждая опора 11 имеет пружинный толкатель 14 и выступ 15, посредством которого перегружатель 7 стыкуется с барабаном 1. Коромысло 12 имеет рычаги 16 и 17. Каждый вытеснитель 5 оснащен подпружиненным клоцем 18.

[25]

Элеваторы 6 крепятся к станку 3 под соответствующими окнами в нем, через которые выстрелы подаются в боевое отделение корабельной артиллерийской установки. Подпружиненные клапаны 19 установлены у входа в окно в корпусе элеватора 6, через которое в него подается выстрел. На корпусе элеватора 6 установлен упор 20 и направляющая 21 с копиром 22.

[26]

Каждый перегружатель 7 содержит перегрузочную обойму 23, коромысло 24, шатун 25, ползун 26, помещенный в направляющую 21 и соединенный неподвижно с перегрузочной обоймой 23, и пружинный возвратный механизм 27, который крепится к станку 3 и к коромыслу 24. Коромысло 24 крепится шарнирно к опоре 28 на днище станка 3, при этом перегрузочная обойма 23 с ползуном 26, коромысло 24, шатун 25, пружинный возвратный механизм 27 и опора 28 образуют коромыслово-ползунный механизм. Перегрузочная обойма 23 представляет собой сварную конструкцию для размещения одного выстрела в процессе перегрузки, оснащенную механизмом воздействия на вытеснители 5 барабана 1, опорно-сцепным механизмом и захватно-вытесняющим механизмом. В состав опорно-сцепного механизма входит поворотный упор 29, установленный на перегрузочной обойме 23, электромагнит 30 и стопор 31. Механизм воздействия на вытеснители 5 содержит толкатель 32 с возвратной пружиной 33 и рычаг 34. Захватно-вытесняющий механизм состоит из верхнего 35 и нижнего 36 захватов, соединенных подпружиненной тягой 37, стопора 38, электромагнитов 39 и 40, подпружиненных рычагов 41 и 42, кинематически соединенных между собой с обеспечением совместного движения установленных на концах этих рычагов упоров 43.

[27]

Устройство 8 загрузки и пополнения боезапаса, готового к автоматической стрельбе, в первом исполнении представляет собой подъемник периодического действия, который содержит вертикальную раму 44 с направляющими 45, колесную тележку 46 с кронштейном 47, установленную в направляющих 45 с возможностью вертикального возвратно-поступательного перемещения с помощью цепного привода 48, и направляющую трубу 49, в стенке которой выполнено входное окно для выстрела 50 с обратными клапанами 51. В стенке вертикальной трубы 49 выполнена также прорезь 52 для кронштейна 47, в котором закреплен толкатель 53.

[28]

Устройство 8 загрузки и пополнения боезапаса во втором исполнении содержит загрузочный ротор 54 с гнездами для выстрелов, расположенный под барабаном 1 и подъемник 55, выполненный в виде двухступенчатого коромыслово-ползунного механизма. Количество и расположение гнезд одинаково для загрузочного ротора 54 и барабана 1. В состав двухступенчатого коромыслово-ползунного механизма входят направляющая труба 56, соединенная верхним концом неподвижно с днищем станка 6, ползуны 57 и 58 соответственно первой и второй ступени, выполненные в виде втулок, установленных на направляющей трубе 56 с возможностью поступательного перемещения, два коромысла 59 и 60 и четыре шатуна 61, 62, 63 и 64, соединяющие ползун 57 первой ступени и ползун 58 второй ступени между собой и с направляющей трубой 56. Ползун 57 первой ступени соединен также с направляющей трубой 56 посредством двух гидроцилиндров 65, а на ползуне 58 второй ступени закреплен с помощью кольцевой поворотной опоры 66 нажимной диск 67 с зубьями 68, которые входят в гнезда загрузочного ротора 54. При этом сам загрузочный ротор 54 соединен с направляющей трубой 56 посредством кольцевой поворотной опоры 69, закрепленной на нижнем конце направляющей трубы 56, и снабжен приводом 70, выполненным с обеспечением синхронного вращения загрузочного ротора 54 и барабана 1 при совмещении гнезд барабана и ротора.

[29]

Заявляемый магазин корабельной артиллерийской установки работает следующим образом.

[30]

Перед началом работы в гнезда 9 барабана 1 с помощью устройства 8 загрузки и пополнения боезапаса, готового к автоматической стрельбе, загружаются снизу выстрелы и удерживаются в гнездах 9 подпружиненными клоцами 18. Приводом 4 барабан 1 приводится в непрерывное равномерное вращение. Перегрузочные обоймы 23 находятся под действием пружинных возвратных механизмов 27 в исходном положении на определенном удалении от элеваторов 6.

[31]

При поступлении сигнала о подаче выстрела в элеватор 6 из определенного гнезда 9 барабана 1 электромагнит 30 приводит поворотный упор 29 в положение стыковки, в котором он фиксируется стопором 31. Поворотный упор 29 взаимодействует с выступом 15 опоры 11 на барабане 1, и перегрузочная обойма 23 приводится в движение. Ползун 26 движется по направляющей 21, обеспечивая перемещение перегрузочной обоймы 23 по дуге к элеватору 6. При этом рычаг 34, перемещаясь по копиру 22, воздействует на толкатель 32, который нажимает рычаг 17 и отклоняет коромысло 12 с вытеснителем 5. Вытеснитель 5, удерживающий клоцем 18 выстрел, перемещает выстрел через открывающиеся створки 10 из гнезда 9 в перегрузочную обойму 23. Сразу после этого срабатывает электромагнит 39, поворачивающий захваты 35 и 36, которые фиксируются в нижнем положении стопором 38. После прохождения рычагом 34 копира 22, пружина 33 возвращает толкатель 32 в начальное положение, а пружинный толкатель 14 возвращает коромысло 12 с вытеснителем 5 в гнездо 9 барабана 1, выстрел при этом остается в захватах 35, 36 перегрузочной обоймы 23. На конечном этапе перемещения перегрузочной обоймы 23 рычаг 41, взаимодействуя с упором 20, отклоняется. Вместе с рычагом 41 поворачивается рычаг 42, и упоры 43 вытесняют выстрел в элеватор 6. При этом рычаг 42 опускает стопор 31 и поворотный упор 29 возвращается в начальное положение. Элеватор 6 поднимает выстрел в боевое отделение, а перегружатель 7 возвращается в исходное положение при помощи пружинного возвратного механизма 27.

[32]

В первом исполнении устройства 8 загрузка и пополнение боезапаса производится при остановленном барабане 1. В направляющую трубу 49 выстрел загружается вручную через окно 50 и удерживается там клапанами 51. Цепной привод 48 перемещает колесную тележку 46, выстрел толкателем 53 поднимается в гнездо 9, где он удерживается подпружиненным клоцем 18.

[33]

Во втором исполнении устройства 8 загрузка очередного или пополнение предыдущего боезапаса производится во время стрельбы, по мере того, как расходуется размещенный в барабане 1 боезапас предыдущей загрузки. Предварительно застопоренный загрузочный ротор 45 заполняется выстрелами вручную или с использованием соответствующих автоматических устройств. Затем загрузочный ротор 45, приведенный приводом 61 в синхронное с барабаном 1 вращение, совмещают с барабаном 1 таким образом, чтобы заполненные гнезда загрузочного ротора 45 находились под соответствующими пустыми обоймами 9. При срабатывании гидроцилиндров 65 ползун 58 с установленным на нем нажимным диском 67 с зубьями 68 перемещается вверх, осуществляя таким образом одновременный подъем всех выстрелов, находящихся в загрузочном роторе 45.

Как компенсировать расходы
на инновационную разработку
Похожие патенты