1. Специализированный контейнер для нефтепродуктов, содержащий наружный цельнометаллический корпус с ребрами жесткости и съемным верхом, имеющий форму и размеры стандартного ISO-контейнера, оснащенный дыхательным клапаном, запорной арматурой и быстроразъемным соединением, расположенными в верхней части корпуса, внутренний сосуд полицентрического сечения, оснащенный предохранительным клапаном, датчиками целостности оболочки и жестко закрепленный внутри наружного корпуса, отличающийся тем, что внутренние стенки наружного корпуса покрыты поликарбамидным полимером и оборудованы ребрами жесткости, выступающими по периметру и образующими шипы, а внутренний сосуд оборудован направляющими накладками, образующими пазы, и крепление внутреннего сосуда к наружному корпусу осуществляется по системе шип-паз.2. Специализированный контейнер для нефтепродуктов по п. 1, отличающийся тем, что наружный цельнометаллический корпус имеет теплоизоляционный слой.
1. Специализированный контейнер для нефтепродуктов, содержащий наружный цельнометаллический корпус с ребрами жесткости и съемным верхом, имеющий форму и размеры стандартного ISO-контейнера, оснащенный дыхательным клапаном, запорной арматурой и быстроразъемным соединением, расположенными в верхней части корпуса, внутренний сосуд полицентрического сечения, оснащенный предохранительным клапаном, датчиками целостности оболочки и жестко закрепленный внутри наружного корпуса, отличающийся тем, что внутренние стенки наружного корпуса покрыты поликарбамидным полимером и оборудованы ребрами жесткости, выступающими по периметру и образующими шипы, а внутренний сосуд оборудован направляющими накладками, образующими пазы, и крепление внутреннего сосуда к наружному корпусу осуществляется по системе шип-паз. 2. Специализированный контейнер для нефтепродуктов по п. 1, отличающийся тем, что наружный цельнометаллический корпус имеет теплоизоляционный слой.
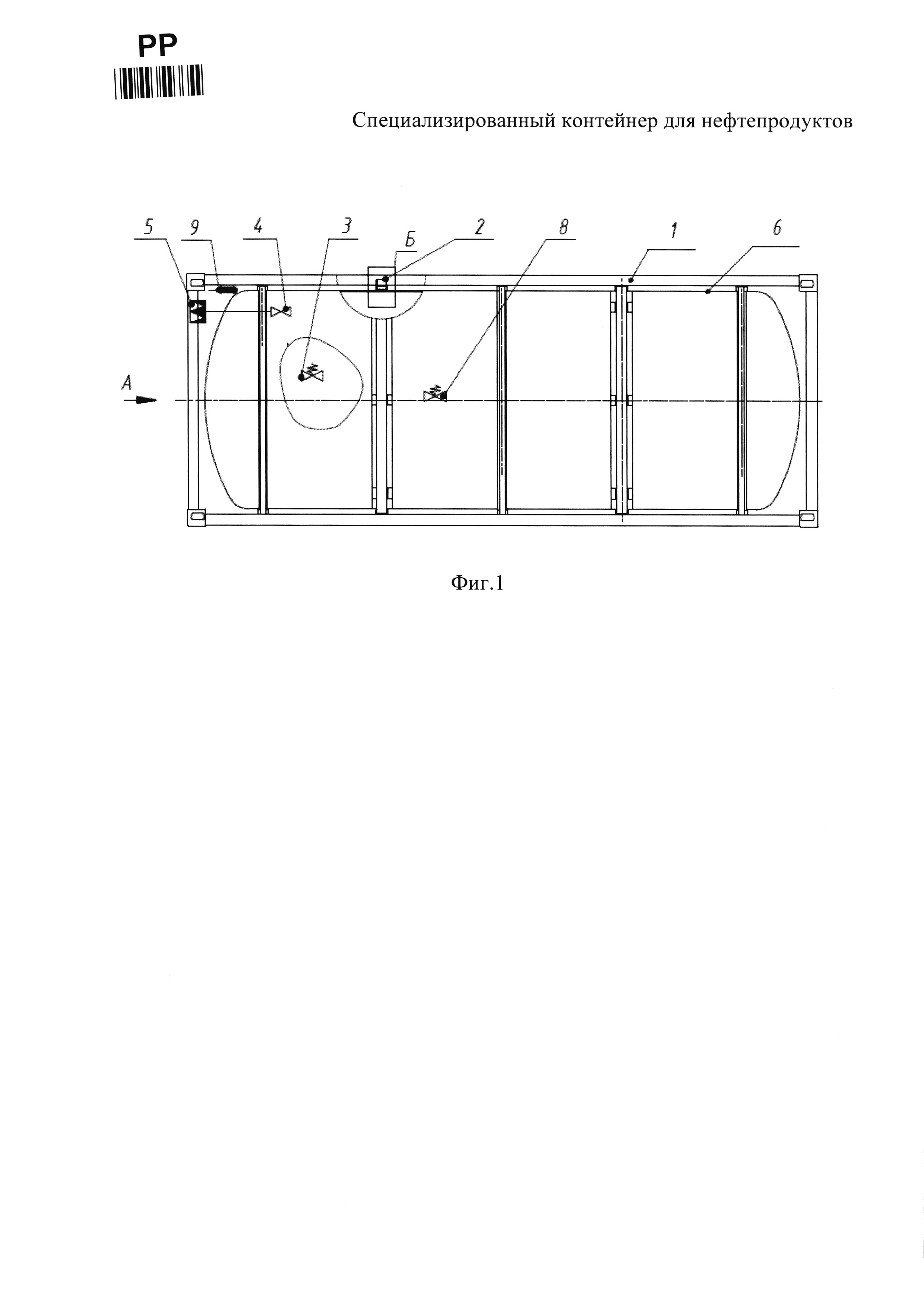
Полезная модель относится к емкостям для перевозки, хранения и выдачи нефтепродуктов, и может быть использована на автомобильном, железнодорожном транспорте и на АЗС. На сегодняшний день одной из серьезных проблем отечественного резервуарного парка на АЗС является отсутствие универсальной емкости для перевозки, хранения и выдачи нефтепродуктов. Основной объем перевозок опасных наливных грузов, в том числе нефтепродуктов осуществляется в железнодорожных цистернах и контейнер-цистернах, а их хранение и выдача на АЗС - из резервуаров, специально предназначенных для хранения и выдачи нефтепродуктов. Как правило, такие резервуары имеют подземное расположение - согласно требованиям пожарной безопасности (СП.156.13130.2014) на АЗС запрещается наземное расположение резервуаров для хранения топлива, не оборудованных двойными стенками, а ввод трубопроводов в резервуары для хранения топлива должен осуществляться только в местах, расположенных выше номинального уровня заполнения их топливом. Из уровня техники известен полимерный двустенный резервуар для хранения светлых нефтепродуктов (RU 2532018 опубл. 27.10.2014 бюл. №30), содержащий внутреннюю стенку и внешнюю стенку, причем внутренняя стенка выполнена, по меньшей мере, из двух слоев, при этом пространство между внутренней и внешней стенками разделено ребрами жесткости, по меньшей мере, один из слоев внутренней стенки представляет собой композиционный слой на основе, по меньшей мере, двух термопластичных полимеров, отличающийся тем, что одним из термопластичных материалов является полиэтилен или пропилен, а слой, непосредственно контактирующий с нефтепродуктом, снабжен элементами для снятия статического электричества, по меньшей мере, частично интегрированными в него, при этом резервуар выполнен форме цилиндра с торцевыми заглушками в виде единой монолитной конструкции, полученной путем непрерывной экструзии с последующей спиральной навивкой полимерных материалов на оправку в горячем состоянии. Такой резервуар предназначен только для хранения и выдачи нефтепродуктов и непригоден для транспортировки без дополнительной установки жесткой рамной конструкции. Кроме того, изготовление такого резервуара требует значительных временных, энергетических и материальных затрат из-за высокой стоимости оборудования и специфики применяемого метода. Одним из распространенных средств транспортировки нефтепродуктов является контейнер-цистерна. Из уровня техники известно множество модификаций контейнер-цистерн, однако все они имеют общие конструктивные признаки: наличие каркаса, цистерны (танка) и оборудования для слива/налива продукта. В частности, контейнер-цистерна Т11-25Н-01, представленный в сети Интернет на сайте компании ООО Торговый Дом «Автоиндустрия» (http://www.tank-konteinery.ru/kontcist.html), имеет цистерну, две торцевые рамы с лестницами, состоящие из вертикальных стоек, верхних и нижних поперечных балок, опорного кольца, укрепляющих пластин, упоров подкосов цистерны и опорных пластин, верхних и нижних угловых фитингов стандарта ISO, площадок обслуживания, запорно-предохранительной арматуры. Контейнер-цистерна оборудован устройствами верхнего налива (слива) и устройствами нижнего налива (слива). К недостаткам вышеупомянутого технического решения относится невозможность его использования на АЗС как средства постоянного хранения и выдачи нефтепродукта, так как контейнер-цистерна выполнен одностенным и оборудован устройством нижнего слива. Согласно СП.156.13130.2014 «Станции автомобильные заправочные. Требования пожарной безопасности» на АЗС запрещается наземное расположение резервуаров для хранения топлива, не оборудованных двойными стенками, а ввод трубопроводов в резервуары для хранения топлива должен осуществляться только в местах, расположенных выше номинального уровня заполнения их топливом. Устройство люков, штуцеров, патрубков и т.п. ниже указанного уровня не допускается. Наиболее близким к заявляемой полезной модели и принятым в качестве прототипа является контейнер-вкладыш-цистерна (RU заявка №2013136314 опубл. 10.02.2015 бюл. №4), состоящий из цельной металлической закрытой емкости (имеющей форму и размеры стандартного интермодального прямоугольного грузового контейнера), многоразовых полимерных гибких вкладышей, технических узлов и аппаратуры для выдачи и контроля содержимого груза, причем внутреннее пространство емкости делится металлическими листами по горизонтали и вертикали на отсеки с размещением и закреплением в каждом из отсеков многоразовых полимерных гибких вкладыш-цистерн (объем, количество и размеры отсеков зависят от пожелания потенциальных покупателей контейнер-вкладыш-цистерны), а также каждый отсек оборудуется контрольно-измерительной аппаратурой, состоящей из датчика уровня налива, дыхательного клапана, донного клапана, пневмоограничителя уровня налива и соединяется системами гибких топливопроводов и пневмопроводов со специальными технологическими узлами, которые также размещаются внутри контейнера. Эксплуатация такого контейнер-вкладыш-цистерны сопряжена с риском попадания содержимого груза в окружающую среду при повреждении гибких вкладыш-цистерн, т.к. контейнер-вкладыш-цистерна имеет технологические смотровые люки и двери, расположенные для каждого отсека в том числе в боковых стенках и, соответственно, негерметичен. Кроме того, расположение технологических смотровых люков и дверей для каждого отсека в боковых стенках исключает возможность хранения и выдачи топлива из такого контейнер-вкладыш-цистерны на АЗС, т.к. согласно требованиям пожарной безопасности устройство люков, штуцеров, патрубков и т.п. ниже уровня заполнения емкости топливом не допускается. Задачей, на решение которой направлена полезная модель, является создание нового специализированного контейнера, пригодного для транспортировки, хранения и выдачи нефтепродуктов на АЗС, обладающего повышенной безопасностью. Техническим результатом, достигаемым при использовании полезной модели, является расширение функциональных возможностей ISO-контейнера и повышение безопасности при транспортировке, хранении и выдаче нефтепродуктов на АЗС. Технический результат достигается тем, что в специализированном контейнере для нефтепродуктов, содержащем наружный цельнометаллический корпус с ребрами жесткости и съемным верхом, имеющем форму и размеры стандартного ISO-контейнера, оснащенный дыхательным клапаном, запорной арматурой и быстроразъемным соединением, расположенными в верхней его части, внутренний сосуд полицентрического сечения, оснащенный предохранительным клапаном, датчиками целостности оболочки и жестко закрепленный внутри наружного корпуса, внутренние стенки наружного корпуса покрыты поликарбамидным полимером, образующим герметичную пленку. и оборудованы выступающими по периметру ребрами жесткости, образующими шипы, а внутренний сосуд оборудован направляющими накладками, образующими пазы, и крепление внутреннего сосуда к наружному корпусу осуществляется по системе шип-паз. Данные признаки являются существенными, и их совокупность позволяет решить поставленную техническую задачу. На фиг. 1 изображен специализированный контейнер для нефтепродуктов. Вид сверху. На фиг. 2 изображен специализированный контейнер для нефтепродуктов. А-А. На фиг. 3 изображен специализированный контейнер для нефтепродуктов. А-А укрупненно. Специализированный контейнер для нефтепродуктов (фиг. 1, 2, 3) содержит наружный цельнометаллический корпус со съемным верхом (1), имеющий форму и размеры стандартного ISO-контейнера, с ребрами жесткости (2), дыхательный клапан (3), запорную арматуру (4), быстроразъемное соединение (5), расположенные в верхней части корпуса (1), внутренний сосуд полицентрического сечения (6), жестко закрепленный внутри корпуса (1) при помощи направляющих накладок (7), предохранительный клапан (8), датчики целостности оболочки (9). Крепление внутреннего сосуда (6) к наружному корпусу (1) осуществляется по схеме шип-паз: расположенные по периметру наружного корпуса (1) ребра жесткости (2) имеют выступы, на которые насаживается оборудованный направляющими накладками (7) внутренний сосуд (6). Такое крепление обеспечивает устойчивость внутреннего сосуда в наружном корпусе во время транспортировки и погрузки и препятствует свободному перемещению сосуда внутри корпуса. В случае нарушения целостности внутреннего сосуда наружный корпус способен полностью вместить пролитый нефтепродукт. Внутренние стенки корпуса (1) покрыты не вступающим в контакт с нефтепродуктом поликарбамидным полимером, который образует на стенках корпуса (1) герметичную пленку (10) и препятствует попаданию нефтепродукта в окружающую среду. В предпочтительном варианте ребра жесткости (2) выполнены из профильной трубы, наружный корпус (1) имеет теплоизоляционный слой (11). Внутренний сосуд (6) может быть выполнен из металла или полимерного материала. По сравнению с ближайшим аналогом (прототипом) заявляемый специализированный контейнер для нефтепродуктов обладает повышенной безопасностью за счет нанесения на внутренние стенки наружного корпуса поликарбамида, при застывании образующего герметичную пленку, которая удерживает пролитый нефтепродукт внутри ISO-контейнера, а размещение в стандартном ISO-контейнере внутреннего сосуда делает возможным использование таких контейнеров в качестве средства перевозки, хранения и выдачи нефтепродукта, тем самым расширяются функциональные возможности стандартного ISO-контейнера. Наличие внутреннего сосуда и внешнего герметичного корпуса, а также расположение быстроразъемного соединения и запорной арматуры в верхней части контейнера выше уровня взлива удовлетворяет требованиям СП.156.13130.2014 «Станции автомобильные заправочные. Требования пожарной безопасности» и позволяет использовать полезную модель в качестве наземного резервуара для хранения и выдачи нефтепродукта на АЗС, а конструктив и размеры наружного корпуса полезной модели позволяют перевозить ее железнодорожным и автомобильным транспортом. Специализированный контейнер для нефтепродуктов используется следующим образом: наполненный нефтепродуктом контейнер устанавливается на АЗС. При помощи системы трубопроводов через быстроразъемное соединение контейнер подключается к топливораздаточной колонке, и происходит выдача нефтепродукта.