1. Установка подготовки жидких компонентов для замеса теста, содержащая фильтр предварительной очистки поступающей воды, запорную арматуру, модуль обратноосмотической очистки воды, бак-сборник с сигнализатором уровня фильтрата, соединенный трубопроводами с точками его потребления, дозаторы растворов компонентов, канал отвода концентрата и блок управления работой установки, отличающаяся тем, что она снабжена дополнительной емкостью для накопления фильтрата, соединенной своим входом через вентиль с баком-сборником, емкостями для разбавления компонентов, вход одной из которых соединен трубопроводом через вентиль с патрубком фильтрата обратноосмотического модуля, при этом выходы дополнительной емкости фильтрата и емкостей для разбавления компонентов связаны трубопроводами через вентили с дозаторами компонентов, а на участке трубопровода между дополнительной емкостью фильтрата и дозатором компонента имеется байпасный канал, состоящий из вентиля, подкачивающего насоса и нагревателя воды, причем все выходы дозаторов компонентов образуют единый коллектор с патрубком готовых жидких компонентов, канал же отвода концентрата из обратноосмотического модуля соединен с патрубком его потребления для хозяйственных нужд.2. Установка по п. 1, отличающаяся тем, что перед фильтром предварительной очистки установлен подкачивающий насос с байпасным каналом с вентилем.
1. Установка подготовки жидких компонентов для замеса теста, содержащая фильтр предварительной очистки поступающей воды, запорную арматуру, модуль обратноосмотической очистки воды, бак-сборник с сигнализатором уровня фильтрата, соединенный трубопроводами с точками его потребления, дозаторы растворов компонентов, канал отвода концентрата и блок управления работой установки, отличающаяся тем, что она снабжена дополнительной емкостью для накопления фильтрата, соединенной своим входом через вентиль с баком-сборником, емкостями для разбавления компонентов, вход одной из которых соединен трубопроводом через вентиль с патрубком фильтрата обратноосмотического модуля, при этом выходы дополнительной емкости фильтрата и емкостей для разбавления компонентов связаны трубопроводами через вентили с дозаторами компонентов, а на участке трубопровода между дополнительной емкостью фильтрата и дозатором компонента имеется байпасный канал, состоящий из вентиля, подкачивающего насоса и нагревателя воды, причем все выходы дозаторов компонентов образуют единый коллектор с патрубком готовых жидких компонентов, канал же отвода концентрата из обратноосмотического модуля соединен с патрубком его потребления для хозяйственных нужд. 2. Установка по п. 1, отличающаяся тем, что перед фильтром предварительной очистки установлен подкачивающий насос с байпасным каналом с вентилем.
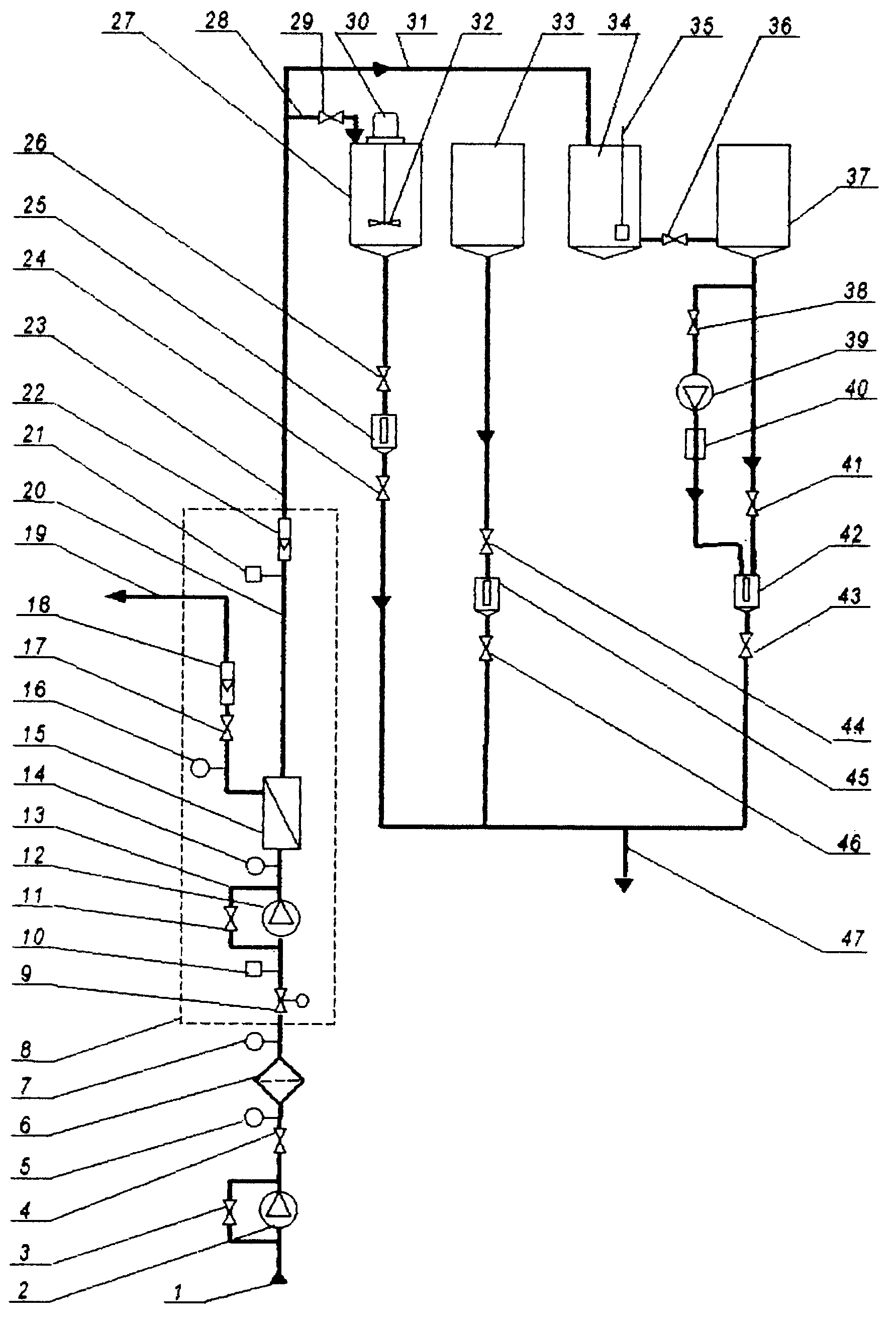
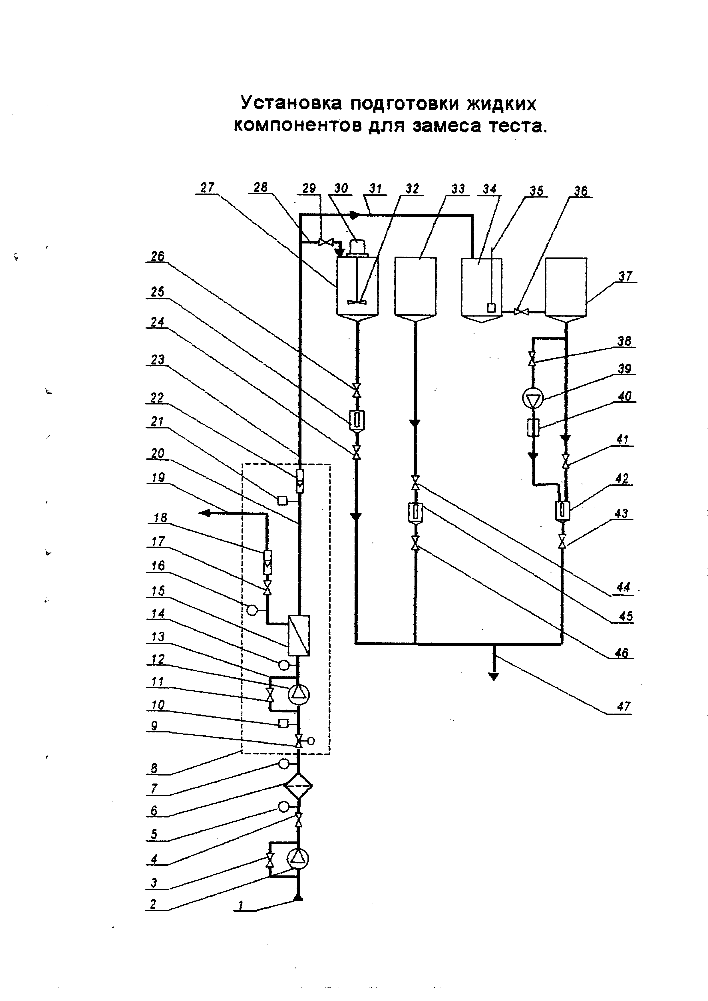
Полезная модель относится к хлебопекарной промышленности и может быть использовано для подготовки жидких растворов компонентов для замеса теста. В настоящее время вода, поступающая на потребление из водопроводов , содержит большое количество коллоидного железа, излипжи марганпа и имеет зачастую неприятный вкус и запах, в силу чего в пищевой промышленности, в том числе и в хлебопекарной отрасли, возникает постоянная необходимость в очистке её от вредных примесей Однако в отечественной хлебопекарной отрасли такая очистка в большинстве своем по ряду причин, в том числе и экономической практически не проводится. Так известна установка подготовки жидких компонентов для замеса теста содержащая отдельные емкости для накопления и подачи воды, растворов соли, сахара и других компонентов, соединенные трубопроводами с дозаторами приготовленных растворов компонентов, каждый из которых имеет свой выход в тестомесильную машину. (1) В данном устройстве не предусмотрена возможность очистки воды, используемой для подготовки жидких компонентов в результате чего в тесто попадают все вредные примеси имеющиеся в поступающей воде. Наиболее близкой по техвической сущности, достигаемому результату к заявляемой является установка подготовки жидких компонентов для замеса теста, которая и выбрана в качестве прототипа. (2) Установка содержит фильтр предварительной очистки поступающей воды, запорную арматзфу, модуль обратноосмотической очистки воды , бак-сборник с сигнализатором уровня фильтрата, соединенный трубопроводами с точками его потребления, дозаторы растворов компонентов, канал отвода концентрата и блок управления работой установки. В этой установке предусмотрена глубокая двухступенчатая очистка воды для замеса теста и выпечки хлебобулочных изделий. Однако и она не лишена недостатков, так как имеет сложное конструктивное исполнение и кроме того, функционально предназначена в основном для приготовления особо чистых безалкогольных напитков. Решить задачу по созданию установки, предназначенной для замеса теста с использованием особо чистой и подогретой воды, стало возможным за счет применения в её составе обратноосмотического модуля и нагревателя жидкости. Технический результат полезной модели - упрощение конструкции устройства обеспечивается тем, что она снабжена дополнительной емкостью накопления фильтрата, которая соединена своим входом через вентиль с баком-сборником, емкостями для разбавления компонентов. Вход одной из этих емкостей которых соединен трубопроводом через вентиль с патрубком фильтрата обратноосмотического модуля. При этом выходы дополнительной емкости фильтрата и емкостей для разбавления компонентов связаны трубопроводами с дозаторами компонентов, а на участке трубопровода между дополнительной емкостью фильтрата и дозатором компонента имеется байпасный канал, состоящий из вентиля, подкачивающего насоса и нагревателя жидкости. Все выходы дозаторов компонентов образуют единый коллектор с патрубком готовых жидких компонентов , а канал отвода концентрата из обратноосмотического модуля соединен с патрубком его потребления для хозяйственных нужд. Для увеличения ресурса наработки фильтров предварительной очистки в установке дополнительно размещен подкачивающий насос. На чертеже представлена принципиальная схема установки подготовки жидких компонентов для замеса теста. Установка подготовки жидких компонентов для замеса теста содержит подводящий трубопровод 1, подкачивающий насос 2 с байпасным каналом, имеющим вентиль 3, клапан 4, манометр 5, фильтр предварительной очистки 6 и манометр 7. Обратноосмотический модуль 8 состоит из крана с электроприводом 9, реле давления 10, насоса высокого давления 12, байпасной линии 13 с вентилем 11, манометра 14, мембранного элемента 15, манометра 16, вентиля 17, ротаметра 18, канала отвода концентрата 19. На линии фильтрата 20 установлены датчик удельной проводимости воды 21 и ротаметр 22. Линия фильтрата 23 соединена через трубопровод 28 и вентиль 29 с емкостью растворения сахара 27, снабженной электродвигателем 30 и мещанкой 32, а трубопроводом 31 с бакомсборником 34, имеющим сигнализатор уровня 35 и соединенным через вентиль 36 с дополнительной емкостью фильтрата 37. Ванна - солерастворитель 33 работает индивидуально. Выходы емкости растворения сахара 27, ванны - солерастворителя 33, дополнительной емкости накопления фильтрата 37 по трубопроводам через вентили 26,41,44 связаны с дозаторами жидких компонентов 25,42 и 45, которые через вентили 24,43,46 образуют единый коллектор слива готовых жидких компонентов 47. На трубопроводе от дополнительной емкости фильтрата 37 и до дозатора воды 42 установлен байпасный канал, включающий вентиль 38, подкачивающий насос 39 и нагреватель жидкости 40. Байнасный канал работает в том случае , когда требуется подогрев очищенной воды. По разнице показаний манометров 5 и 7 судят о степени засоренности фильтра предварительной очистки 6. Подкачивающий насос 2 с вентилем 3 включается только тогда, когда не хватает напорного давления воды, подаваемой на фильтр предварительной очистки 6. Вентилем 11 байпасного канала 13 регулируют давление , подаваемое на мембранный элемент 15 обратноосмотического модуля 8. Ротаметры 18 и 22 показывают производительность установки по фильтрату и концентрату. Бак-сборник фильтрата 34 и дополнительная емкость фильтрата 37 при открытом вентиле 36 работают по принципу сообщающихся сосудов, что позволяет регулировать более точный отбор очищенной воды, особенно при необходимости её подогрева. Блок управления ( на фиг. не показан ) позволяет контролировать температ5фу подаваемой воды, степень её очистки, аварийность состояния и отключение с помощью измерителя уровня 35 установки от сети подачи исходной воды в случае полного заполнения бака сборника 27 и дополнительной емкости 37. Установка работает следующим образом. Исходная вода по трубопроводу 1 насосом 2 через кран 4 поступает на фильтр предварительной очистки 6, задерживающий частицы более 5 мкм, и через плавно открывающийся кран 9 направляется в насос 12, который с помощью байнасного трубопровода 13 с вентилем И для регулирования давления создает необходимый напор воды и подаёт её на мембранный элемент 15. Вода, пройдя через мембранный элемент 15 разделяется на два потока: фильтрат и концентрат, последний через вентиль 17, ротаметр 18 поступает в канал отвода концентрата 19 на потребление для хозяйственных нужд. Полученный фильтрат по линии 20-23-31 накапливается в баке - сборнике 34. При достижении критического уровня наполнения бака - сборника 34 измеритель зфовня 35 через блок управления отключает постзшление воды в установку. Из бака-сборника 34 через открытый вентиль 36 очищеннз ю воду для наведения требуемых по технологии добавок подают в дополнительнз ю емкость фильтрата 37 и через открытый вентиль 20 в емкость растворения сахара 27, в которой он размешивается мешалкой 32, приводимой во вращение электродвигателем 30. После набора очищенной воды вентиль 29 закрывается. Раствор соли в ванне 33 составляется в соответствии с заданной плотностью. Подготовленные таким образом жидкие компоненты подают через открытые вентили 26,41,44 в дозаторы 25,42,45. После их мерного наполнения вентили 26,41,44 закрывают. Из дозаторов 25,42,45 очищенная вода (фильтрат) в требуемых количествах направляется через открытые вентили 24,43,46 и коллектор 47 в емкости для приготовления теста (на фиг. не показан ). При необходимости подогрева очищенной воды для замеса теста, вентиль 41 закрывается, а вентиль 38 открывается и насосом 39 вода подается в нагреватель 40, а оттуда она поступает в дозатор 42 и через открытый вентиль 43 в коллектор 47. Установка может работать как периодически, так и в круглосуточном постоянном режиме. Использование этой установки позволяет получать для замеса теста глубоко очищенную от вредных примесей воду. При необходимости эта вода подогревается. Все эти факторы положительно сказываются на качестве хлеба и хлебобулочных изделий. Источники информации 1.Л.Ф. Зверева, Б.И.Черняков, Технология и технологический контроль хлебопекарного производства, М., Пищевая промыншенность, 1974г., с.144-146 2.Патент США № 4761295 А21Д2/02, A23L2/100, 1988 г. Технология использования установки обратного осмоса, (прототип)