патент
№ RU 154956
МПК B60C23/00

КОЛЕСНЫЙ УЗЕЛ С УСТРОЙСТВОМ ПОДВОДА ВОЗДУХА К ШИНЕ

Авторы:
Князьков Вадим Николаевич Князьков Александр Вадимович Князьков Егор Вадимович
Все (4)
Правообладатель:
Все (4)
Номер заявки
2014150475/11
Дата подачи заявки
15.12.2014
Опубликовано
20.09.2015
Страна
RU
Как управлять
интеллектуальной собственностью
Чертежи 
1
Реферат

1. Колесный узел с устройством подвода воздуха к шине, содержащий картер колесного редуктора, крышку колесного редуктора с установленной на подшипниковых опорах ступицей, имеющей каналы подвода воздуха, а также ведущую шестерню, установленную на оси ведущего моста и зацепленную с ведомой шестерней, закрепленной на ведомом валу, отличающийся тем, что ведущая и ведомая шестерни консольно установлены в картере и крышке колесного редуктора соответственно, при этом ведомый вал выполнен полым и разъемно соединен со ступицей.2. Колесный узел по п.1, отличающийся тем, что в крышке колесного редуктора выполнены каналы подвода воздуха, совмещенные с каналами ступицы в осевом направлении.3. Колесный узел по п.1, отличающийся тем, что каналы подвода воздуха крышки колесного редуктора и ступицы размещены между уплотнениями, установленными в крышке колесного редуктора и фиксированными в осевом направлении маслоотражающими кольцами.4. Колесный узел по п.1, отличающийся тем, что ведомый вал выполнен с радиальными отверстиями, соединяющими его полость с каналами подвода воздуха крышки колесного редуктора и ступицы.5. Колесный узел по п.1, отличающийся тем, что ведомый вал выполнен с проточкой, в которой размещено кольцевое уплотнение.6. Колесный узел по п.1, отличающийся тем, что ступица оснащена крышкой, на привалочной поверхности которой установлено уплотнение.7. Колесный узел по п.1, отличающийся тем, что по крайней мере в одном из маслоотражающих колец выполнены радиальные отверстия, соединенные с маслоподводящими каналами крышки колесного редуктора.

Формула изобретения

1. Колесный узел с устройством подвода воздуха к шине, содержащий картер колесного редуктора, крышку колесного редуктора с установленной на подшипниковых опорах ступицей, имеющей каналы подвода воздуха, а также ведущую шестерню, установленную на оси ведущего моста и зацепленную с ведомой шестерней, закрепленной на ведомом валу, отличающийся тем, что ведущая и ведомая шестерни консольно установлены в картере и крышке колесного редуктора соответственно, при этом ведомый вал выполнен полым и разъемно соединен со ступицей.

2. Колесный узел по п.1, отличающийся тем, что в крышке колесного редуктора выполнены каналы подвода воздуха, совмещенные с каналами ступицы в осевом направлении.

3. Колесный узел по п.1, отличающийся тем, что каналы подвода воздуха крышки колесного редуктора и ступицы размещены между уплотнениями, установленными в крышке колесного редуктора и фиксированными в осевом направлении маслоотражающими кольцами.

4. Колесный узел по п.1, отличающийся тем, что ведомый вал выполнен с радиальными отверстиями, соединяющими его полость с каналами подвода воздуха крышки колесного редуктора и ступицы.

5. Колесный узел по п.1, отличающийся тем, что ведомый вал выполнен с проточкой, в которой размещено кольцевое уплотнение.

6. Колесный узел по п.1, отличающийся тем, что ступица оснащена крышкой, на привалочной поверхности которой установлено уплотнение.

7. Колесный узел по п.1, отличающийся тем, что по крайней мере в одном из маслоотражающих колец выполнены радиальные отверстия, соединенные с маслоподводящими каналами крышки колесного редуктора.

Описание

[1]

Техническое решение относится к транспортным средствам, в частности к их колесным узлам с устройствами для управления и распределения давления в шинах, а также к валам для привода колес, подвешенных на горизонтальной оси. Такие колесные узлы с устройством подвода воздуха к шине применяются на транспортных средствах повышенной проходимости для обеспечения регулирования давления в шинах, что улучшает их проходимость по слабонесущим грунтам и позволяет контролировать давление в шинах, сохраняя подвижность при их повреждении.

[2]

Давно известны конструкции колесных узлов, оснащенные устройствами подвода воздуха к шине.

[3]

Так в устройстве для накачивания пневматической шины по US 1800780 применена муфта, установленная на полуоси, в которой происходит подвод воздуха от неподвижной детали к вращающейся. Более сложны системы по US 2452527 и 2577458, при этом надежность их не велика.

[4]

Широкое применение устройства подвода воздуха к шинам нашли в грузовых транспортных средствах повышенной проходимости.

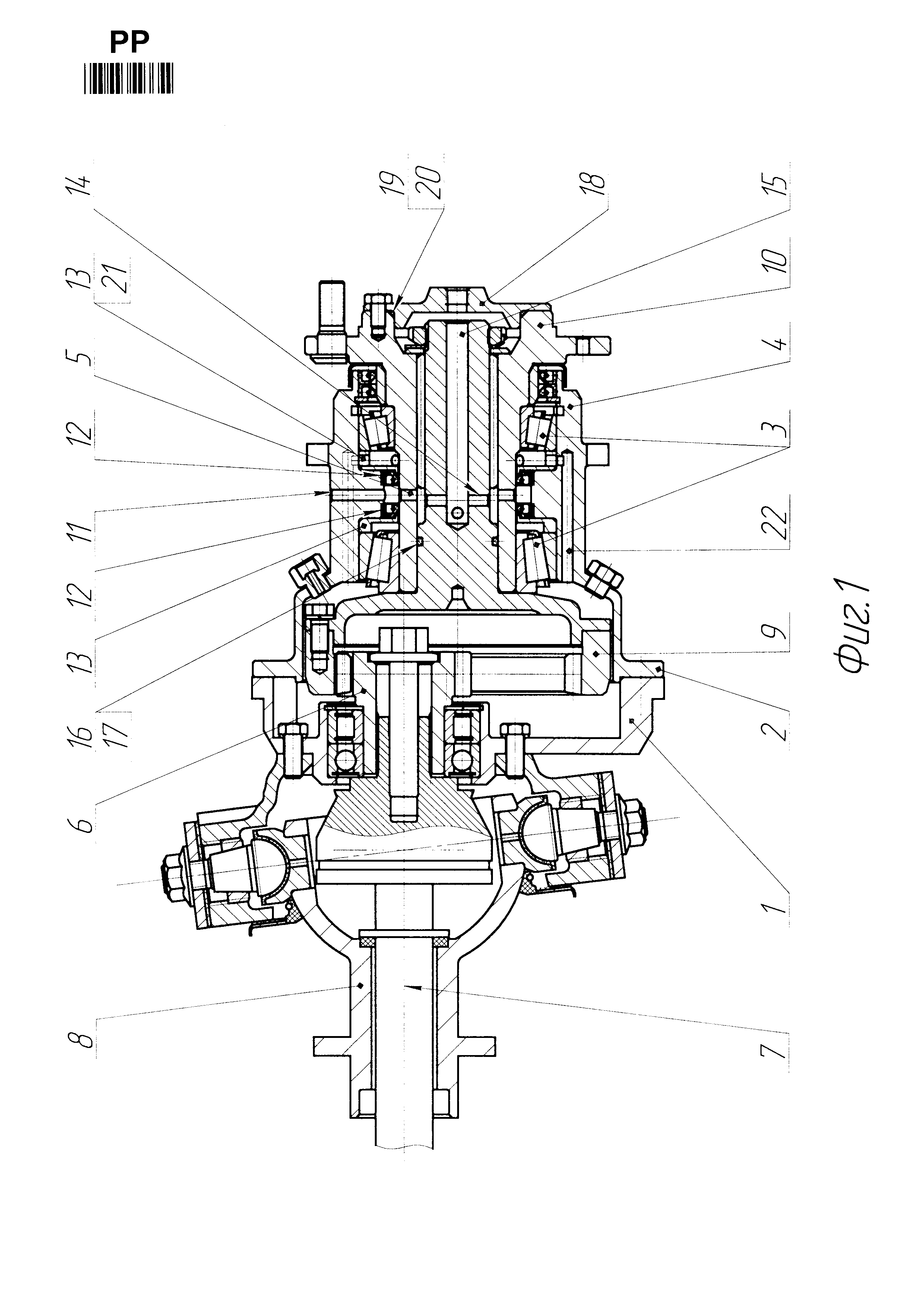
[5]

Так на ЗИЛ-157К система регулирования давления в шинах обеспечивает возможность снижения давления в шинах на ходу, что улучшает проходимость автомобиля по мягкому грунту, позволяет осуществлять контроль за состоянием шин и сохранять подвижность при поврежденной шине (см., Рис. 94. Вокрачко Ю.Г. «Учебник военного водителя второго класса» - Москва: Воениздат, 1963 - с. 376; http://motorzlib.ru).

[6]

Колесные узлы автомобиля ГА3-66 также оснащены системой регулирования давления воздуха в шинах (см., Беспалько, В.П.; Ерецкий, М.И.; Розен, З.В. Практикум по автомобилю Учебное пособие для учеников старших классов, 1971 г.; Изд-во: М.: Просвещение).

[7]

В цапфе Урал-375Д выполнен канал для подвода воздуха к шинам (см. стр. 124 Рис. 50 Автомобиль Урал-375Д. Инструкция по эксплуатации. Коллектив авторов, Издательство: Внешторгиздат, 1978 - с. 212; http://kniga-avto.ru/k1/lava-4/ardannye-sharniry-ravnykh-uglovykh-skorostei.html).

[8]

Колесный узел автогрейдера Д3-98 (см., сайт http://stroy-technics.ru/article/vedushcie-mosty-avtogreiderov, Рис. 19) содержит передачу с шестернями внутреннего зацепления. Ведомая шестерня колесного редуктора с помощью вала-ступицы передает крутящий момент на ведущие колеса, при этом колесные тормоза установлены между полуосью и ведущей шестерней колесного редуктора. Вал-ступица установлен на двух подшипниках, опирающихся на корпус колесного редуктора и корпус колесного тормоза. В валу-ступице предусмотрены сверления и установлены ниппель и манжета для подвода воздуха централизованной подкачки шин. Смазываются шестерни и подшипники ведущего моста разбрызгиванием из масляных ванн в балке моста и корпусе колесного редуктора. Такая конструкция сложна и обладает значительной массой, что увеличивает стоимость ее изготовления.

[9]

Известны технические решения, в которых подвод воздуха осуществлен через канал в цапфе и/или ступице (см., например, US 2693841). Целая система таких воздухоподводящих каналов выполнена в US 2944579 и 2976906. Система подкачки шин самолета по US 3362452 помимо канала в цапфе имеет несколько регулировочных клапанов, что, впрочем, целесообразно для летательного аппарата. В US 3705614 воздух через каналы в цапфе подходит к установленной между подшипниками муфте с уплотнениями, через которую затем подводится к вращающейся шине. Подобным образом выполнена автоматическая система подкачки по ЕР 0071278, US 4470506 и US 4932451. Более компактно выполнена система по US 4498709, в которой нет дополнительных элементов (муфт), а уплотнения установлены непосредственно в ступице, так же как и в DE 29814565.

[10]

Аналогичное US 3705614 техническое решение применено и в системе подвода воздуха к шинам по RU 111479. Она содержащей корпус, проходящий через него воздухопроводящий канал, связанные с ним пневмолинии подвода и передачи рабочей среды от источника к шине, колесный клапан и уплотнительные элементы. Выполнение воздухопроводящего канала в цапфе и ступице колеса, установка уплотнения между подшипниками и снабжение пневмолинии подвода рабочей среды гибким шлангом для соединения с источником рабочей среды не требует увеличения размера полуоси для компенсации прочностных характеристик, и делает конструкцию устройства более компактной, однако, при этом снижается удобство технического обслуживания и ремонта, в эксплуатации автомобиля.

[11]

Рациональнее выполнен подвод воздуха к ступице в US 4434833, 4825925 и DE 10064231, однако это не всегда возможно осуществить в силу компоновочных особенностей колесного узла. Двухскатной ошиновкой продиктована конструкция системы подкачки в US 4582107. Сложная система каналов, уплотнений и клапанов использована в US 4705090 и WO 9216384. Герметизацию системы подкачки по JP 3104703, US 5236028, 5354391 и 5535516 обеспечивают уплотнения, интегрированные в подшипниковые опоры, что увеличивает их стоимость, и стоимость системы в целом. Удобство размещения колесного крана определяет выполнение канала для подвода воздуха во всю длину ступицы по US 4733707. Сложны и дороги уплотнения в системах подкачки по ЕР 0308256 и US 4892128, более просто выполнена установка уплотнений в US 6145558. А система по US 5080156 сложна в изготовлении и малонадежна.

[12]

Существуют технические решения, в которых подвод воздуха к шине осуществляется через полый вал, как например, в системе накачивания шин грузовика по US 2931414. В устройствах дистанционного регулирования давления по US 4019552 и GB 1521375 изменение давления в шине, соединенной с диском колеса, происходит при воздействии источника давления через полый вал на диафрагму.

[13]

Через полый ведомый вал колесного редуктора организован подвод воздуха к шине в US 4641698 (данная конструкция применяется, в частности, на армейских внедорожниках HMMWV или HUMMER компании AM General).

[14]

Помимо регулирования давления в US 5221381 система подкачки через сверление в колесном диске обеспечивает еще и легкое разбортирование шины, однако стоимость изготовления такого диска велика, а применимость - ограничена.

[15]

Не всегда возможно обеспечить точное центрирование элементов системы подкачки по WO 2004080729 и исключить действующие с большой частотой нагрузки от колебаний вращающейся ступицы относительно цапфы, вызванных упругими деформациями ступицы и цапфы под действием нагрузок на колесо, люфтами в подшипниках ступицы и биением гнезд уплотнений.

[16]

Ступенчатость полуоси в техническом решении по ЕР 2181866 продиктована удобством выполнения в ней канала для подвода воздуха к шине.

[17]

Безшланговая система передачи воздуха в шину по RU 61641, содержит воздухопроводящий узел, связанный пневмолиниями с источником рабочей среды и полостью шины и уплотнительные элементы. Хотя выполнение воздухопроводящего узла в виде крана, имеющего корпус и два канала, соединенные с пневмолиниями, связывающими с источником рабочей среды и полостью шины, а также размещение воздухопроводящего узла в ободе колеса, позволяет несколько повысить надежность конструкции, однако материалоемкость такой конструкции велика, что приводит к увеличению неподрессоренных масс, ухудшая управляемость.

[18]

В устройстве подвода воздуха к шинам транспортного средства по RU 113697, содержащем воздухоподводящую головку, связанную с входным воздушным трубопроводом и с каналом отвода воздуха от головки к шине, воздухоподводящая головка выполнена в виде диска с радиальным сверлением, установленного на ступице колеса через уплотнительные элементы с образованием полости, сообщающейся с каналом отвода воздуха от головки к шине, проходящего через ступицу и фланец полуоси. Хотя в этой конструкции исключена необходимость сверления центрального отверстия в полуоси, что повышает ее надежность, но базирование воздухоподводящей головки по нескольким поверхностям через уплотнительные элементы усложняет конструкцию, что требует применения дорогих современных материалов и технологий для ее изготовления.

[19]

Функциональность и целесообразность принесены в жертву достижению поставленной цели в предлагаемой полезной модели по RU 113998, а именно: упрощение конструкции устройства. Необходимость многочисленных манипуляций с устройством при возникновении аварийной ситуации, обилие различных соединительных элементов, а также необходимость закрепления первой трубки 13 на оконном стекле автомобиля посредством фиксатора 12, не добавляют устройству простоты, а его пользователю удобства в эксплуатации.

[20]

Не удается добиться повышения надежности и долговечности уплотнений в устройстве подвода воздуха от неподвижной цапфы к вращающейся ступице по RU 2019434. Оно содержит приемный штуцер для подачи воздуха от цапфы к ступице, установленный одним концом в гнезде цапфы на подпятниках, собранных в корпусе с манжетами уплотнения, а другим концом - с зазором в отверстии ступицы. В гнезде ступицы запрессован эластичный гофрированный уплотнитель, закрепленный в зоне его внутреннего диаметра между наружной рифленой поверхностью, выполненной на приемном штуцере, и шайбой, при этом между уплотнителем и стенкой ступицы установлен ограничитель деформации уплотнителя.

[21]

Развитие данная конструкция получила в RU 2132283, где применение эластичного гофрированного уплотнителя и обеспечение его перемещения в радиальном направлении в процессе работы, позволило несколько повысить долговечность. Однако эти конструкции полностью не исключают возможность разрушения эластичного гофрированного уплотнителя в зоне внутренней посадочной поверхности, закрепленной между наружной рифленой поверхностью приемного штуцера и шайбой.

[22]

На повышение надежности системы регулирования давления воздуха в шинах и упрощение ремонтообслуживания данного узла транспортного средства направлены технические решения по RU 2333843 и RU 2334623.

[23]

Система регулирования давления воздуха в шинах транспортного средства по RU 2333843, содержит головку подвода воздуха к шинам, связанную трубопроводами с источником рабочей среды и полостью шины. При этом головка подвода воздуха к шинам установлена на приводе колеса и соединена с полостью шины через сферические уплотнения. Хотя сферические уплотнения, состоящие из двух полусфер, наружной и внутренней, установлены с возможностью взаимного перемещения и образуют герметичные полости, соединение их между собой телескопическими компенсаторами или гибкими трубопроводами, снижает надежность такой системы в целом. Проблему не решает даже то, что центры сферических уплотнений совпадают с центром крестовин карданного вала, а выполнение наружной полусферы из двух частей, соединенных с помощью разборного соединения лишь немного упрощает ремонтообслуживание.

[24]

В другом варианте этой системы, крестовины карданного вала выполнены с внутренними центральными воздушными каналами. При этом два канала одной из крестовин связаны соединительными трубопроводами с источником рабочей среды, два канала другой крестовины - с шиной, а каналы обеих крестовин соединены между собой телескопическими компенсаторами или гибкими трубопроводами, что также не может обеспечить повышение надежности этой системы.

[25]

Та же задача и подобное техническое ее решение представлено в RU 2334623. Здесь система регулирования давления воздуха в шинах транспортного средства, содержит головку подвода воздуха к шинам, связанную воздушными трубопроводами с источником рабочей среды и полостью шины, при этом головка подвода воздуха к шинам установлена на приводе колеса и выполнена в виде двух соосных втулок, внутренней вращающейся и наружной не вращающейся. Как и в предыдущем документе, тут нет повышения надежности системы регулирования давления воздуха в шинах. Конструкция уплотнительных элементов с образованием закрытой полости, соединенной невращающимся воздушным трубопроводом с источником рабочей среды, а вращающимся воздушным трубопроводом через воздушный канал с полостью шины, к тому же, еще и неработоспособна, т.к. вращающийся воздушный трубопровод 3 (см. описание) в процессе своего вращения задевает нижний рычаг подвески (см. Фиг. 1). А в выполнении крайних уплотнительных элементов головки подвода воздуха с грязезащитной кромкой, просто нет необходимости.

[26]

Интегрированный поворотный блок и колпак ступицы по RU 2460650 предназначен для применения в системах накачки шин транспортных средств большой грузоподъемности, таких прицепы или полуприцепы. Поворотный блок интегрирован во внутреннюю область колпака ступицы. Колпак ступицы содержит цилиндрическую боковую стенку и внешнюю стенку, которая выполнена за одно целое с внешним концом боковой стенки и которая проходит в целом перпендикулярно боковой стенке. Колпак ступицы также содержит проходящий радиально фланец, который выполнен изнутри боковой стенки, и содержит крепежные детали для монтажа колпака на ступицу колеса. Поворотный блок смонтирован на внутренней поверхности стенки колпака ступицы и центрирован по оси колеса. Он обеспечивает сообщение рабочей среды системы накачки шин с шинами транспортного средства. Все это облегчает установку поворотного блока, а также его защиту без использования дополнительных устройств на ведомых осях прицепов или полуприцепов, однако такая конструкция малопригодна для применения в колесных узлах ведущих осей транспортных средств.

[27]

Известно устройство для подвода воздуха от неподвижной цапфы к вращающейся ступице по RU 117857. Оно содержит картер, крышку колесного редуктора, установленную на подшипниковых опорах ступицу с каналами подвода воздуха, а также ведущую и ведомую шестерни. В корпусе размещены воздухопроводящий канал, связанные с ним пневмолинии подвода и передачи рабочей среды от источника к шине, колесный клапан и уплотнительные элементы. Воздухопроводящий канал выполнен в цапфе и ступице колеса, корпус состоит из неподвижной и вращающейся частей, между которыми установлено уплотнение, состоящее из двух манжет, зафиксированных от осевого перемещения упорными кольцами. Пневмолиния подвода рабочей среды снабжена имеющим возможность свободного перемещения в осевом направлении гибким шлангом для соединения с источником рабочей среды, а пневмолиния передачи среды соединена с наконечником установленным в ступице. Необходимость выполнения нескольких воздухопроводящих каналов в цапфе, безусловно, приводит к ее ослаблению. Установка уплотнений между неподвижной и вращающейся частями корпуса, делают конструкцию компактной, однако, применение нескольких штуцеров усложняют процесс ее сборки и снижают эксплуатационные качества. К тому же необходимость уплотнения многочисленных соединительных элементов не добавляет надежности и герметичности устройству в процессе эксплуатации.

[28]

Несмотря на многочисленные приведенные технические решения, совокупность их признаков при использовании не позволяет создать простую конструкцию колесного узла с устройством подвода воздуха к шине при повышении его надежности.

[29]

Задача, на решение которой направлено данное техническое решение и достигаемый при этом технический результат заключаются в упрощении конструкции колесного узла с устройством подвода воздуха к шине при повышении его надежности.

[30]

Упрощение конструкции колесного узла с устройством подвода воздуха к шине при повышении его надежности обеспечено рациональным выполнением и размещением основных его элементов.

[31]

Для этого в колесном узле с устройством подвода воздуха к шине, содержащем картер колесного редуктора, крышку колесного редуктора с установленной на подшипниковых опорах ступицей имеющей каналы подвода воздуха, а также ведущую шестерню, установленную на оси ведущего моста и зацепленную с ведомой шестерней, закрепленной на ведомом валу, ведущая и ведомая шестерни консольно установлены в картере и крышке колесного редуктора соответственно, при этом ведомый вал выполнен полым и разъемно соединен со ступицей.

[32]

Консольная установка ведущей и ведомой шестерней в картере и крышке колесного редуктора соответственно при выполнении ведомого вала полым и разъемно соединенным со ступицей, в колесном узле с устройством подвода воздуха к шине, содержащем картер колесного редуктора, крышку колесного редуктора с установленной на подшипниковых опорах ступицей имеющей каналы подвода воздуха, а также ведущую шестерню, установленную на оси ведущего моста и зацепленную с ведомой шестерней, закрепленной на ведомом валу, позволило достичь технического результата, а именно упростить конструкцию колесного узла с устройством подвода воздуха к шине при повышении его надежности, поскольку консольная установка ведущей и ведомой шестерней в картере и крышке колесного редуктора соответственно при выполнении ведомого вала полым и разъемно соединенным со ступицей, рационально и в полной мере отвечает условиям эксплуатации.

[33]

Тому же способствует то, что в крышке колесного редуктора выполнены каналы подвода воздуха, совмещенные с каналами ступицы в осевом направлении.

[34]

Размещение каналов подвода воздуха крышки колесного редуктора и ступицы между уплотнениями установленными в крышке колесного редуктора и фиксированными в осевом направлении маслоотражающими кольцами повышает надежность колесного узла.

[35]

То, что ведомый вал выполнен с радиальными отверстиями, соединяющими его полость с каналами подвода воздуха крышки колесного редуктора и ступицы также способствует достижению технического результата.

[36]

Выполнение ведомого вала с проточкой, в которой размещено кольцевое уплотнение, обеспечивает герметичность, что повышает надежность колесного узла;

[37]

Тому же служит и оснащение ступицы крышкой, на привалочной поверхности которой установлено уплотнение.

[38]

Выполнение радиальных отверстий по крайней мере в одном из маслоотражающих колец, соединенных с маслоподводящими каналами крышки колесного редуктора упрощают подвод масла к подшипникам, что повышает надежность узла в целом.

[39]

Изображено на:

[40]

Фиг. 1 - Колесный узел с устройством подвода воздуха к шине;

[41]

Колесный узел с устройством подвода воздуха к шине, содержит картер 1 (Фиг. 1) колесного редуктора, крышку 2 колесного редуктора с установленной на подшипниковых опорах 3 ступицей 4 имеющей каналы 5 подвода воздуха, а также ведущую шестерню 6, установленную на оси 7 ведущего моста 8 и зацепленную с ведомой шестерней 9, закрепленной на ведомом валу 10. Ведущая 6 и ведомая 9 шестерни консольно установлены в картере 1 и крышке 2 колесного редуктора соответственно, при этом ведомый вал 10 выполнен полым и разъемно соединен со ступицей 4.

[42]

Консольная установка ведущей 6 и ведомой 9 шестерней в картере 1 и крышке 2 колесного редуктора соответственно при выполнении ведомого вала 10 полым и разъемно соединенным со ступицей 4, в колесном узле с устройством подвода воздуха к шине, содержащем картер 1 колесного редуктора, крышку 2 колесного редуктора с установленной на подшипниковых опорах 3 ступицей 4 имеющей каналы 5 подвода воздуха, а также ведущую шестерню 6, установленную на оси 7 ведущего моста 8 и зацепленную с ведомой шестерней 9, закрепленной на ведомом валу 10, позволило достичь технического результата, а именно упростить конструкцию колесного узла с устройством подвода воздуха к шине при повышении его надежности, поскольку консольная установка ведущей 6 и ведомой 9 шестерней в картере 1 и крышке 2 колесного редуктора соответственно при выполнении ведомого вала 10 полым и разъемно соединенным со ступицей 4, рационально и в полной мере отвечает условиям эксплуатации.

[43]

В крышке 2 колесного редуктора выполнены каналы 11 подвода воздуха, совмещенные с каналами 5 ступицы в осевом направлении. Каналы 11 подвода воздуха крышки 2 колесного редуктора и ступицы 4 размещены между уплотнениями 12, установленными в крышке 2 колесного редуктора и фиксированными в осевом направлении маслоотражающими кольцами 13. Ведомый вал 10 выполнен с радиальными отверстиями 14, соединяющими его полость 15 с каналами 11 подвода воздуха крышки 2 колесного редуктора и каналами 5 ступицы 4. Ведомый вал 10 выполнен с проточкой 16, в которой размещено кольцевое уплотнение 17. Ступица 4 оснащена крышкой 18, на привалочной поверхности 19 которой установлено уплотнение 20. В маслоотражающем кольце 13 выполнены радиальные отверстия 21, соединенные с маслоподводящими каналами 22 крышки 2 колесного редуктора.

[44]

Колесный узел с устройством подвода воздуха к шине функционирует следующим образом.

[45]

Крутящий момент от двигателя через ведущую шестерню 6, установленную на оси 7 ведущего моста 8 вращает ведомую шестерню 9, закрепленную на ведомом валу 10. При этом подвод воздуха от неподвижного крышки 2 колесного редуктора, к вращающейся на подшипниковых опорах 3 ступице 4 и разъемно соединенному с ней полому ведомому валу 10 выполнен через каналы 11, совмещенные в осевом направлении с каналами 5 ступицы. Герметичность обеспечена уплотнениями 12, установленными в крышке 2 колесного редуктора и фиксированными в осевом направлении маслоотражающими кольцами 13. Через канал 5 воздух поступает в полость 15 через радиальные отверстия 14, герметичность при этом обеспечена кольцевым уплотнением 17 размещенным в проточке 16 ведомого вала 10 и уплотнением 20 установлено на привалочной поверхности 19 крышки 18, соединенной со ступицей 4. Радиальные отверстия 21 в маслоотражающем кольце 13 соединенные с маслоподводящими каналами 22 крышки 2 колесного редуктора обеспечивают подвод масла к подшипниковым опорам 3.

Как компенсировать расходы
на инновационную разработку
Похожие патенты