патент
№ RU 150481
МПК E04B1/58

РАМНЫЙ УЗЕЛ ОПИРАНИЯ БАЛОК НА СРЕДНЮЮ КОЛОННУ В СТАЛЬНОМ КАРКАСЕ МНОГОЭТАЖНОГО ЗДАНИЯ

Авторы:
Вершинин Дмитрий Сергеевич
Правообладатель:
Все (3)
Номер заявки
2014128441/03
Дата подачи заявки
10.07.2014
Опубликовано
20.02.2015
Страна
RU
Как управлять
интеллектуальной собственностью
Чертежи 
3
Реферат

Рамный узел опирания балок на среднюю колонну в стальном каркасе многоэтажного здания, содержащий фланец, закрепленный к стенке колонны на высокопрочных болтах с контролируемым натяжением, опирающийся на опорный столик, приваренный к полке колонны, установленные горизонтальные ребра жесткости, в месте примыкания балок к колонне, отличающийся тем, что в приопорных зонах двутавровых балок, опирающихся на среднюю двутавровую колонну, установлена, насквозь через стенку колонны, высокопрочная затяжка, состоящая из двух или более высокопрочных стержней с предварительным натяжением, одним концом закрепленная анкерным упором к верхнему поясу одной балки, а другим концом закрепленная анкерным упором к верхнему поясу другой балки.

Формула изобретения

Рамный узел опирания балок на среднюю колонну в стальном каркасе многоэтажного здания, содержащий фланец, закрепленный к стенке колонны на высокопрочных болтах с контролируемым натяжением, опирающийся на опорный столик, приваренный к полке колонны, установленные горизонтальные ребра жесткости, в месте примыкания балок к колонне, отличающийся тем, что в приопорных зонах двутавровых балок, опирающихся на среднюю двутавровую колонну, установлена, насквозь через стенку колонны, высокопрочная затяжка, состоящая из двух или более высокопрочных стержней с предварительным натяжением, одним концом закрепленная анкерным упором к верхнему поясу одной балки, а другим концом закрепленная анкерным упором к верхнему поясу другой балки.

Описание

[1]

Полезная модель относится к области строительства, в частности к рамным узлам стальных каркасов многоэтажных зданий и может быть использована при проектировании и строительстве стальных каркасных зданий и сооружений, а также при реконструкции и усилении таких каркасов.

[2]

Известно конструктивное решение узла опирания двутавровых балок на среднюю двутавровую колонну при помощи горизонтальных и вертикальной накладок [Стрелецкий Н.С. Металлические конструкции. - Москва 1961, с 647;]. Нижняя горизонтальная накладка, а также вертикальная накладка привариваются к полке колонны заводскими сварными швами, верхняя горизонтальная накладка - монтажным сварным швом, к полкам и стенке балки все накладки привариваются монтажными сварными швами. Поперечная сила с балки передается через вертикальную накладку, а продольная сила и изгибающий момент - через горизонтальные накладки.

[3]

К недостаткам узла опирания балки на колонну при помощи накладок можно отнести: большие трудозатраты при монтаже; монтажные сварные швы необходимо подвергать физическому контролю качества; неравномерное распределение напряжений в сварном шве, соединяющем верхнюю горизонтальную накладку и полку колонны.

[4]

Известно конструктивное решение узла опирания двутавровой балки на двутавровую колонну [а.с. СССР №1728408, опубл. 23.04.1992, МПК E04B 1/38, БИ №15.], содержащее поперечные ребра жесткости колонны, расположенные на уровне поясов балки, опорный столик, приваренный к полке колонны, опорное торцовое ребро балки и пластины, соединяющие стенки балки и колонны болтами высокой прочности. Для пропуска соединительных пластин в полке колонны и опорном ребре балки выполняются прорези.

[5]

Недостатками данного узла опирания балки на колонну являются: необходимость точного выполнения прорезей в полке колонны и опорном ребре балки, что повышает трудоемкость выполнения сопряжения, уменьшение расчетного сечения колонны и балки, что ведет к ослаблению узла.

[6]

Также известно конструктивное решение узла опирания балки на колонну при помощи фланца [Рекомендации по расчету, проектированию, изготовлению и монтажу фланцевых соединений стальных строительных конструкций. - Москва 1989 г.], фланец, приваренный к торцу балки, опирается на опорный столик, приваренный к полке колонны. Фланец соединяется со стенкой колонной при помощи высокопрочных болтов с предварительным напряжением.

[7]

Недостатком данного узла является требуемая высокая точность изготовления и монтажа конструкций, а также высокие требования к материалу фланца.

[8]

Наиболее близким по технической сущности является узел опирания двутавровых балок на двутавровую колонну [Ф Харт, В. Хенн, X, Зонтаг. Атлас стальных конструкций. Многоэтажные здания. - Москва 1977 г., с 237 Прототип.], включающий вертикальную опорную пластину, приваренную к полке колонны и прикрепляемую к стенке балки болтами, а также горизонтальные или вертикальные листы, соединяющие пояса балок при помощи сварки или болтов, создающие неразрезность балок.

[9]

Недостатком прототипа является то, что в опорном сечении балки действует изгибающий момент, который больше в 1,5-2 раза пролетного момента балки.

[10]

Задачей заявляемой полезной модели является повышение несущей способности балок перекрытий за счет предварительного напряжения балок при помощи высокопрочных затяжек, пропущенных насквозь через стенки колонны, что приводит к уменьшению опорного момента в балках, и следовательно ведет к уменьшению металлоемкости балок.

[11]

Поставленная задача решается тем, что при опирании стальных двутавровых балок на среднюю стальную двутавровую колонну, фланцы крепятся к стенке колонны на высокопрочных болтах с контролируемым натяжением, при этом опираются на опорные столики, приваренные к полкам колонны, в месте примыкания балок к колонне устанавливаются горизонтальные ребра жесткости, согласно полезной модели, через стенки колонны насквозь пропускается высокопрочная затяжка, прикрепляемая к полкам балок при помощи упоров, и состоящая из двух или более высокопрочных стержней с предварительным натяжением, в результате предварительного натяжения затяжки в балках перекрытия возникают изгибающие напряжения, противоположные напряжениям от действия постоянной и полезной нагрузок.

[12]

Высокопрочная затяжка с предварительным напряжением создает противоположные по знаку напряжения в балках перекрытия. Таким образом, использование высокопрочной затяжки с предварительным напряжением увеличивает несущую способность балок, что ведет к выравниванию опорного и пролетного моментов в балках перекрытий и уменьшению металлоемкости балок перекрытий.

[13]

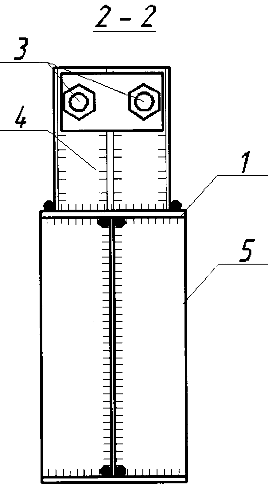
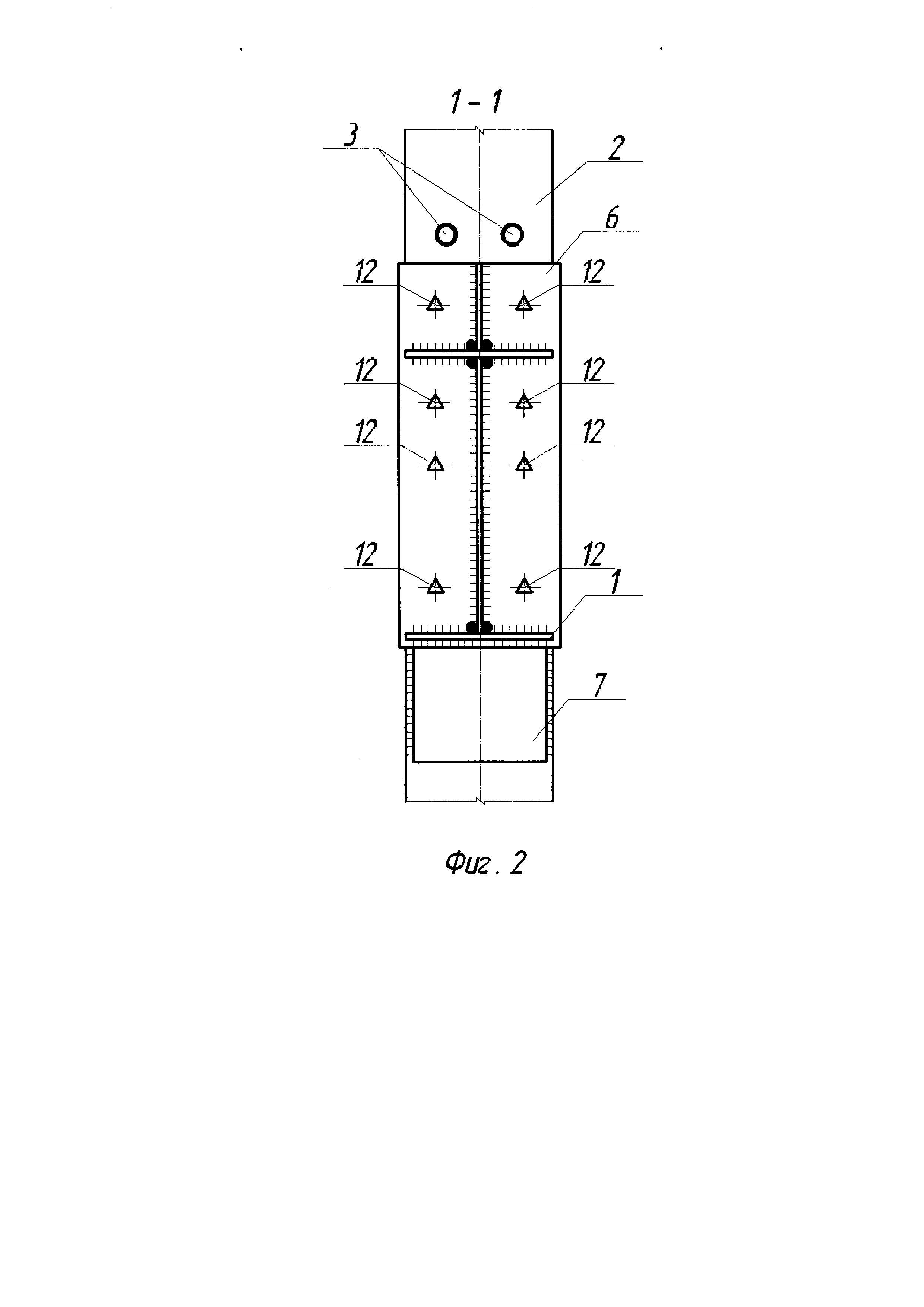
На фиг. 1, 2, 3 показан узел опирания стальных балок двутаврового сечения 1 с колонной двутаврового сечения 2 с применением высокопрочной затяжки 3, состоящей из двух или более предварительно напряженных высокопрочных стержней по верхнему поясу балок. Одним концом затяжка закреплена анкерным упором 4 на верхнем поясе одной балки, другим концом крепится при помощи такого же упора к поясу другой балки. При этом в месте установки анкерного упора в балке устанавливается поперечное ребро жесткости 5. Для установки затяжки насквозь через сечение колонны, в полках колонны выполняются отверстия, диаметром большим диаметра затяжки. При эксплуатации здания затяжка 3 располагается в монолитном железобетонном перекрытии 9. Стальная балка 1 опирается фланцем 6 на опорный столик 7, приваренный к полке колонны сварными швами. Нижняя поверхность фланца 6 и верхняя поверхность опорного столика 7 строгаются, для равномерной передачи поперечной силы. Фланец балки крепится к полке колонны при помощи высокопрочных болтов 11 с контролируемым натяжением. Колонна 2 в месте расположения поясов балки усиливается поперечными ребрами жесткости 8. В проектный зазор между фланцем и полкой колонны устанавливаются металлические прокладки 10 (Фиг. 1, 2, 3).

Как компенсировать расходы
на инновационную разработку
Похожие патенты