патент
№ RU 148788
МПК E04B1/20

РАМНАЯ КОНСТРУКЦИЯ СБОРНОГО ЖЕЛЕЗОБЕТОННОГО КАРКАСА ЗДАНИЯ

Авторы:
Дмитрусенко Михаил Сергеевич Айсверт Роман Вильгельмович Худяков Сергей Александрович
Все (4)
Номер заявки
2014133272/03
Дата подачи заявки
13.08.2014
Опубликовано
20.12.2014
Страна
RU
Как управлять
интеллектуальной собственностью
Чертежи 
7
Реферат

1. Рамная Н-образная конструкция сборного железобетонного каркаса здания, выполненная из бетона с несущей арматурой и содержащая, по крайней мере, две вертикально ориентированные колонны прямоугольного сечения, снабженные соединительными элементами, и ригель, связывающий колонны и выполненный за одно целое с ними, по крайней мере, одну консоль для закрепления на ней балки, размещенную на боковой грани колонны, свободной от ригеля, при этом соединительные элементы расположены в верхней и нижней частях колонны с возможностью образования при стыковке вышестоящей рамной конструкции с нижестоящей стыковочных узлов, расположенных, по крайней мере, в угловых зонах колонн в области стыка, при этом первая группа соединительных элементов каждого стыковочного узла расположена в верхней части колонны и включает штырь с винтовой нарезкой и крепежными элементами, выполненный выступающим за пределы верхнего торца колонны, и связанный с ее несущей арматурой, а вторая группа соединительных элементов расположена в нижней части колонны, образует ответную часть стыковочного узла и выполнена в виде металлических закладных пластин, жестко связанных с несущей арматурой колонны, и металлической пластины с отверстием, жестко связанной с, по крайней мере, одной закладной пластиной и предназначенной для пропуска через упомянутое отверстие штыря колонны нижестоящей рамной конструкции с последующей его фиксацией с помощью крепежных элементов, при этом, по крайней мере, одна из закладных пластин предназначена для анкеровки в теле колонны, а, по крайней мере, две являются ограничительными, выполняющими функцию опалубки, обеспеч�

Формула изобретения

1. Рамная Н-образная конструкция сборного железобетонного каркаса здания, выполненная из бетона с несущей арматурой и содержащая, по крайней мере, две вертикально ориентированные колонны прямоугольного сечения, снабженные соединительными элементами, и ригель, связывающий колонны и выполненный за одно целое с ними, по крайней мере, одну консоль для закрепления на ней балки, размещенную на боковой грани колонны, свободной от ригеля, при этом соединительные элементы расположены в верхней и нижней частях колонны с возможностью образования при стыковке вышестоящей рамной конструкции с нижестоящей стыковочных узлов, расположенных, по крайней мере, в угловых зонах колонн в области стыка, при этом первая группа соединительных элементов каждого стыковочного узла расположена в верхней части колонны и включает штырь с винтовой нарезкой и крепежными элементами, выполненный выступающим за пределы верхнего торца колонны, и связанный с ее несущей арматурой, а вторая группа соединительных элементов расположена в нижней части колонны, образует ответную часть стыковочного узла и выполнена в виде металлических закладных пластин, жестко связанных с несущей арматурой колонны, и металлической пластины с отверстием, жестко связанной с, по крайней мере, одной закладной пластиной и предназначенной для пропуска через упомянутое отверстие штыря колонны нижестоящей рамной конструкции с последующей его фиксацией с помощью крепежных элементов, при этом, по крайней мере, одна из закладных пластин предназначена для анкеровки в теле колонны, а, по крайней мере, две являются ограничительными, выполняющими функцию опалубки, обеспечивающей формирование полости в угловой зоне колонны для стыковочного узла при изготовлении рамной конструкции; колонна снабжена выемкой для заполнения ее бетонной смесью при замоноличивании стыка колонн, расположенной со стороны верхнего торца, и каналом, выполненным в теле верхней части колонны, связанным с упомянутой выемкой и выходящим на боковую грань колонны.

2. Рамная конструкция по п. 1, характеризующаяся тем, что консоль выполнена с отверстиями для закрепления на ней балки.

3. Рамная конструкция по п. 1, характеризующаяся тем, что консоль размещена на колонне с расположением нижних граней консоли и ригеля в одной плоскости.

4. Рамная конструкция по п. 1, характеризующаяся тем, что консоль имеет габаритные размеры и расположена на колонне с обеспечением при размещении на ней балки расположения верхних граней балки и ригеля в одной плоскости.

5. Рамная конструкция по п. 1, характеризующаяся тем, что штырь, выступающий за пределы верхнего торца колонны, выполнен в виде выпуска несущей арматуры колонны.

6. Рамная конструкция по п. 1, характеризующаяся тем, что первая группа соединительных элементов каждого стыковочного узла включает муфту, замоноличенную в верхней торцевой части колонны, а штырь, выступающий за пределы верхнего торца колонны, выполнен в виде доборного стержня, связанного с несущей арматурой колонны посредством муфты.

7. Рамная конструкция по п. 1, характеризующаяся тем, что число крепежных элементов штыря выбрано равным трем.

8. Рамная конструкция по п. 7, характеризующаяся тем, что крепежные элементы выполнены в виде гаек, одна из которых является опорной и расположена на штыре с возможностью регулировки положения вышестоящей колонны при стыковке рамных конструкций, а две другие расположены с возможностью фиксации штыря колонны в пластине с отверстием.

9. Рамная конструкция по п. 1, характеризующаяся тем, что число металлических закладных пластин, предназначенных для анкеровки, выбрано равным двум, при этом пластины ориентированы вертикально.

10. Рамная конструкция по п. 9, характеризующаяся тем, что закладные пластины, предназначенные для анкеровки, выполнены трапециевидной формы, расположены под углом друг к другу и соединены между собой и с вертикально ориентированным стержнем несущей арматуры колонны по большему основанию трапеции.

11. Рамная конструкция по п. 1, характеризующаяся тем, что, по крайней мере, одна ограничительная пластина ориентирована горизонтально и выполнена с отверстием, в котором закреплен вертикально ориентированный стержень несущей арматуры колонны, а остальные ограничительные пластины ориентированы вертикально.

12. Рамная конструкция по п. 11, характеризующаяся тем, что ограничительная пластина, ориентированная горизонтально, выполнена в виде четырехугольника, жестко соединенного с пластиной, предназначенной для анкеровки.

13. Рамная конструкция по п. 11, характеризующаяся тем, что число ограничительных пластин выбрано равным двум, при этом пластина, ориентированная вертикально, выполнена изогнутой, образующей Г-образную проекцию в горизонтальной плоскости и жестко соединена с, по крайней мере, одной пластиной для анкеровки.

14. Рамная конструкция по п. 13, характеризующаяся тем, что металлическая пластина с отверстием закреплена в створе изогнутой пластины.

15. Рамная конструкция по п. 1, характеризующаяся тем, что число соединительных узлов каждой колонны выполнено равным количеству вертикально ориентированных стержней несущей арматуры колонны.

16. Рамная конструкция по п. 1, характеризующаяся тем, что содержит дополнительные соединительные элементы, образующие, по крайней мере, два дополнительных стыковочных узла при стыковке вышестоящей рамной конструкции с нижестоящей, расположенных на участках между угловыми зонами колонны, при этом соединительные элементы выполнены аналогично соединительным элементам стыковочного узла, расположенного в угловой зоне колонны.

17. Рамная конструкция по п. 16, характеризующаяся тем, что число ограничительных пластин дополнительного стыковочного узла выбрано равным двум, при этом одна из пластин ориентирована вертикально и выполнена изогнутой, образующей П-образную проекцию в горизонтальной плоскости.

18. Рамная конструкция по п. 1, характеризующаяся тем, что каждая колонна снабжена стальным уголком для защиты ребер колонны от повреждений, расположенным по периметру верхнего торца колонны.

19. Рамная конструкция по п. 1, характеризующаяся тем, что колонна выполнена квадратного сечения.

20. Рамная конструкция по п. 19, характеризующаяся тем, что колонна имеет размер поперечного сечения 400×400 мм или 460×460 мм с допустимой величиной отклонения от указанных значений до 15%.

21. Рамная конструкция по п. 1, характеризующаяся тем, что часть колонны, расположенная ниже ригеля, выполнена шириной, превышающей ширину части колонны, расположенной выше ригеля.

22. Рамная конструкция по п. 21, характеризующаяся тем, что часть колонны, расположенная ниже ригеля, имеет размер поперечного сечения 400×800 мм, а выше ригеля - 400×400 мм, с допустимой величиной отклонения от указанных значений до 15%.

23. Рамная конструкция по п. 1, характеризующаяся тем, что ригель имеет ширину не менее половины глубины колонны, но не превышает глубину колонны.

24. Рамная конструкция по п. 1, характеризующаяся тем, что консоль для балки имеет высоту, меньше высоты ригеля.

25. Рамная конструкция по п. 1, характеризующаяся тем, что содержит дополнительные консоли для размещения наружных панелей, расположенные на колоннах.

26. Рамная конструкция по п. 25, характеризующаяся тем, что верхние грани дополнительной консоли и ригеля расположены в одной плоскости.

27. Рамная конструкция по п. 25, характеризующаяся тем, что консоль для размещения наружных панелей имеет ширину 160 мм, высоту 450 мм, глубину 190 мм с допустимой величиной отклонения от указанных значений до 15%.

28. Рамная конструкция по п. 25, характеризующаяся тем, что число дополнительных консолей на каждой колонне выбрано равным одному или двум.

29. Рамная конструкция по п. 1, характеризующаяся тем, что число консолей для балок на каждой колонне выбрано равным от одного до трех.

30. Рамная конструкция по п. 1, характеризующаяся тем, что число отверстий в консоли для балки выполнено равным двум.

31. Рамная конструкция по п. 1, характеризующаяся тем, что выполнена высотой 3300 мм с допустимой величиной отклонения до 15%, длиной 1800÷6000 мм, при этом ригель расположен на высоте 1600÷2100 мм относительно нижних торцов колонн.

32. Рамная конструкция по п. 31, характеризующаяся тем, что колонны имеют ширину 800 мм, глубину 460 мм, ригель имеет высоту 500 мм, ширину 300 мм, консоль для балки имеет ширину 300 мм, высоту 250 мм, глубину 250 мм с допустимой величиной отклонения от указанных значений до 15%.

33. Рамная конструкция по п. 1, характеризующаяся тем, что содержит, по крайней мере, один Г-образный арматурный стержень, замоноличенный в бетонном теле колонны в области ее стыковки с балкой, и, по крайней мере, одну муфту, замоноличенную в колонне со стороны ее боковой грани и предназначенную для закрепления в ней арматурного стержня для фиксации плиты перекрытия в узле соединения балка-колонна-плита перекрытия, при этом Г-образный арматурный стержень одним концом связан с несущей арматурой колонны, а другим - с муфтой.

34. Рамная конструкция по п. 1, характеризующаяся тем, что пластины для анкеровки снабжены, по крайней мере, одним стержнем или дополнительной пластиной, предназначенной для повышения прочности фиксации пластин для анкеровки в бетонном теле колонны.

Описание

[1]

Заявляемая полезная модель относится к области промышленного и гражданского строительства, а именно, к конструкциям рам, используемых в сборных железобетонных каркасах зданий различного назначения, в том числе для жилых, промышленных зданий и зданий общего назначения.

[2]

Известна рамная конструкция, используемая в сборном железобетонном каркасе многоэтажного здания (К.В. Сахновский. Железобетонные конструкции, государственное издательство литературы по строительству, архитектуре и строительным материалам, М., 1961, стр. 522), выполненная в виде цельных несущих элементов, содержащая две колонны и поперечный к ним ригель, часть которого консолью выступает, по крайней мере, за одну колонну. При этом рамы выполнены одноэтажными с примыканием ригеля к колоннам по их верхним торцам.

[3]

Однако данное техническое решение характеризуется сложностью выполнения стыковочного узла между колоннами рам смежных этажей. Место стыка колонн попадает на перекрытия этажей, то есть в зону максимальных изгибающих моментов, что осложняет строительство многоэтажных зданий и снижает эффективность такого строительства.

[4]

Из уровня техники известны рамные элементы каркаса здания (Авторское свидетельство №1189957, МПК: E04B 1/18), выполненные в виде плоских прямоугольного сечения стоек и ригелей, установленных с образованием полостей между гранями стоек, замоноличенных бетоном с образованием колонн крестообразного сечения, и плиты перекрытий, прикрепленные к ригелям. При этом рамные элементы выполнены Н-образными с расположением ригелей в пределах толщины плит перекрытий и установлены со смещением одной из осей стоек относительно разбивочных осей каркаса и в шахматном порядке по высоте здания и в пределах каждого этажа. Рамные элементы могут быть выполнены с выступающей из их плоскости частью, жестко прикрепленной к ригелям другого направления.

[5]

Однако данное техническое решение также характеризуется сложностью выполнения стыковочного узла. Для устройства одного узла опоры необходимо монтировать четыре колонны, что требует больших трудозатрат и повышенных затрат машинного времени.

[6]

Наиболее близкой к заявляемому решению является рамная конструкция каркаса многоэтажного здания (патент РФ на полезную модель №62622, МПК: E04B 1/16), содержащая выполненные за одно целое, по крайней мере, две колонные и ригельную части, при этом ригельная часть выступает за колонную часть. Рамная конструкция имеет Н-образную форму, ригельная часть размещена на половине высоты колонных частей.

[7]

Преимущество данных Н-образных рамных конструкций заключается в том, что стыки их вертикальных частей расположены в межэтажном пространстве, то есть в зоне практически «нулевых» изгибающих моментов от плоскости перекрытия, а также в удобстве производства работ при выполнении монтажных узлов соединения вышестоящей рамной конструкции с нижестоящей - как правило, соединение элементов осуществляется на высоте 1,2 м, облегчая тем самым сборку всей конструкции.

[8]

Недостатком данного технического решения является использование сварки при соединении элементов каркаса, требующее использования технологического оборудования как для сварки, так и контроля сваренных элементов конструкции, что снижает возможность проведения строительных работ в различных климатических условиях (сварка запрещена под дождем, при температурах ниже минус 30°C).

[9]

Задачей заявляемого технического решения является создание рамных конструкций для сборных железобетонных каркасов зданий и сооружений, характеризующихся прочностью, технологичностью при изготовлении, сборке и монтаже при сохранении высокой эффективности строительства многоэтажных зданий, низкой себестоимости и расширении спектра вариантов архитектурно-планировочных решений.

[10]

Техническим результатом является повышение прочности узлов соединений рамных конструкций между собой и с другими несущими элементами каркаса здания. Кроме того, за счет применения механических соединений без использования сварки упрощается монтаж каркасных элементов, увеличивается скорость сборки каркаса здания.

[11]

Поставленная задача решается тем, что рамная Н-образная конструкция сборного железобетонного каркаса здания выполнена из бетона с несущей арматурой и содержит, по крайней мере, две вертикально ориентированные колонны прямоугольного сечения, снабженные соединительными элементами, и ригель, связывающий колонны и выполненный за одно целое с ними, по крайней мере, одну консоль для закрепления на ней балки и размещенную на боковой грани колонны, свободной от ригеля. При этом соединительные элементы расположены в верхней и нижней частях колонны с возможностью образования при стыковке вышестоящей рамной конструкции с нижестоящей стыковочных узлов, расположенных, по крайней мере, в угловых зонах колонн в области стыка. Первая группа соединительных элементов каждого стыковочного узла расположена в верхней части колонны и включает штырь с винтовой нарезкой и крепежными элементами, выполненный выступающим за пределы верхнего торца колонны, и связанный с ее несущей арматурой. Вторая группа соединительных элементов расположена в нижней части колонны, образует ответную часть стыковочного узла и выполнена в виде металлических закладных пластин, жестко связанных с несущей арматурой колонны, и металлической пластины с отверстием, жестко связанной с, по крайней мере, одной закладной пластиной, и предназначенной для пропуска через упомянутое отверстие штыря колонны нижестоящей рамной конструкции с последующей его фиксацией с помощью крепежных элементов. При этом, по крайней мере, одна из закладных пластин предназначена для анкеровки в теле колонны, а, по крайней мере, две, являются ограничительными, выполняющими функцию опалубки, обеспечивающей формирование полости в угловой зоне колонны для стыковочного узла при изготовлении рамной конструкции. Колонна снабжена выемкой для заполнения ее бетонной смесью при замоноличивании стыка колонн, расположенной со стороны верхнего торца, и каналом, выполненным в теле верхней части колонны, связанным с упомянутой выемкой и выходящим на боковую грань колонны.

[12]

Консоль выполнена с отверстиями для закрепления на ней балки.

[13]

Консоль размещена на колонне с расположением нижних граней консоли и ригеля в одной плоскости.

[14]

Консоль имеет габаритные размеры и расположена на колонне с обеспечением при размещении на ней балки, расположение верхних граней балки и ригеля в одной плоскости.

[15]

Штырь, выступающий за пределы верхнего торца колонны, может быть выполнен в виде выпуска несущей арматуры колонны.

[16]

Первая группа соединительных элементов каждого стыковочного узла может включать муфту, замоноличенную в верхней торцевой части колонны, а штырь, выступающий за пределы верхнего торца колонны, может быть выполнен в виде доборного стержня, связанного с несущей арматурой колонны посредством муфты.

[17]

Количество крепежных элементов штыря может быть выбрано равным трем.

[18]

Крепежные элементы могут быть выполнены в виде гаек, одна из которых является опорной и расположена на штыре с возможностью регулировки положения вышестоящей колонны при стыковке рамных конструкций, а две другие расположены с возможностью фиксации штыря колонны в пластине с отверстием.

[19]

Количество металлических закладных пластин, предназначенных для анкеровки, может быть выбрано равным двум, при этом пластины ориентированы вертикально.

[20]

Закладные пластины, предназначенные для анкеровки, могут быть выполнены трапециевидной формы, могут быть расположены под углом друг к другу и соединены между собой и с вертикально ориентированным стержнем несущей арматуры колонны по большему основанию трапеции.

[21]

По крайней мере, одна ограничительная пластина может быть ориентирована горизонтально и выполнена с отверстием, в котором закреплен вертикально ориентированный стержень несущей арматуры колонны, а остальные ограничительные пластины могут быть ориентированы вертикально.

[22]

Ограничительная пластина, ориентированная горизонтально, может быть выполнена в виде четырехугольника, жестко соединенного с пластиной, предназначенной для анкеровки.

[23]

Количество ограничительных пластин может быть выбрано равным двум, при этом пластина, ориентированная вертикально, может быть выполнена изогнутой, образующей Г-образную проекцию в горизонтальной плоскости и жестко соединенной с, по крайней мере, одной пластиной для анкеровки.

[24]

Металлическая пластина с отверстием может быть закреплена в створе изогнутой пластины.

[25]

Количество соединительных узлов каждой колонны может быть выполнено равным количеству вертикально ориентированных стержней несущей арматуры колонны.

[26]

Рамная конструкция может содержать дополнительные соединительные элементы, образующие, по крайней мере, два дополнительных стыковочных узла при стыковке вышестоящей рамной конструкции с нижестоящей, расположенных на участках между угловыми зонами колонны по длинной стороне торца, при этом соединительные элементы могут быть выполнены аналогично соединительным элементам стыковочного узла, расположенного в угловой зоне колонны.

[27]

Количество ограничительных пластин дополнительного стыковочного узла может быть выбрано равным двум, при этом одна из пластин ориентирована вертикально и выполнена изогнутой, образующей П-образную проекцию в горизонтальной плоскости.

[28]

Каждая колонна может быть снабжена стальным уголком для защиты ребер колонны от повреждений, расположенным по периметру верхнего торца колонны.

[29]

Колонна может быть выполнена квадратного сечения размером 400×400 мм или 460×460 мм, с допустимой величиной отклонения от указанных значений до 15%.

[30]

Часть колонны, расположенная ниже ригеля, может быть выполнена с шириной, превышающей ширину части колонны, расположенной выше ригеля.

[31]

Часть колонны, расположенная ниже ригеля, может иметь размер поперечного сечения 400×800 мм, а выше ригеля - 400×400 мм, с допустимой величиной отклонения от указанных значений до 15%.

[32]

Ригель имеет ширину не менее половины глубины колонны, но не превышает глубины колонны.

[33]

Консоль для балки имеет высоту, меньше высоты ригеля.

[34]

Рамная конструкция может содержать дополнительные консоли для размещения наружных панелей, расположенные на колоннах, при этом верхние грани дополнительной консоли и ригеля расположены в одной плоскости.

[35]

Консоль для размещения наружных панелей может иметь ширину 160 мм, высоту 450 мм, глубину 190 мм, с допустимой величиной отклонения от указанных значений до 15%.

[36]

Количество дополнительных консолей на каждой колонне может быть выбрано равным одной или двум.

[37]

Количество консолей для балок на каждой колонне может быть выбрано равным от одной до трех.

[38]

Количество отверстий в консоли для балки может быть выполнено равным двум.

[39]

Рамная конструкция может быть выполнена высотой 3300 мм с допустимой величиной отклонения до 15%, длиной 1800÷6000 мм, при этом ригель может быть расположен на высоте 1600÷2100 мм относительно нижних торцов колонн.

[40]

Колонны могут иметь ширину 800 мм, глубину 460 мм, ригель может иметь высоту 500 мм, ширину 300 мм, консоль для балки может иметь ширину 300 мм, высоту 250 мм, глубину 250 мм, с допустимой величиной отклонения от указанных значений до 15%.

[41]

Рамная конструкция может содержать, по крайней мере, один Г-образный арматурный стержень, замоноличенный в бетонном теле колонны в области ее стыковки с балкой, и, по крайней мере, одну муфту, замоноличенную в колонне со стороны ее боковой грани и предназначенную для закрепления в ней арматурного стержня для фиксации плиты перекрытия в узле соединения балка-колонна-плита перекрытия, при этом Г-образный арматурный стержень одним концом связан с несущей арматурой колонны, а другим - с муфтой.

[42]

Пластины для анкеровки могут быть снабжены, по крайней мере, одним стержнем или дополнительной пластиной, предназначенными для повышения прочности фиксации пластин для анкеровки в бетонном теле колонны.

[43]

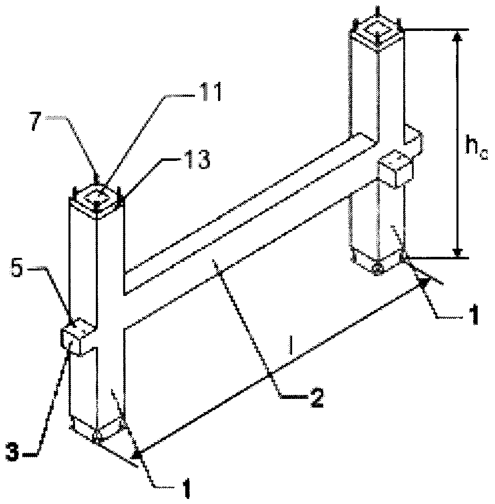
Полезная модель поясняется чертежами, где на Фиг. 1 представлена Н-образная рама, общий вид, на Фиг. 2 - фрагмент Н-образной рамы с колонной квадратного сечения, снабженной консолями для балки и наружной панели, расположенными на одной грани колонны, и ригелем, расположенным на смежной грани, общий вид, на Фиг. 3, 4 - фрагменты Н-образной рамы с колоннами прямоугольного сечения, снабженными консолями для балок и наружных панелей, расположенными на одной грани колонны, и расположением ригеля по короткой и длинной сторонам колонны, соответственно, общий вид, на Фиг. 5 представлены различные варианты расположения консолей для балок и наружных панелей на колоннах квадратного сечения, вид сверху, на Фиг. 6 представлены различные варианты расположения консолей для балок и наружных панелей для колонн прямоугольного сечения с расположением ригеля по короткой стороне колонны, вид сверху, на Фиг. 7 представлены различные варианты расположения консолей для балок и наружных панелей для колонн прямоугольного сечения с расположением ригеля по длинной стороне колонны, вид сверху, на Фиг. 8 - Н-образная рама, продольный разрез, на Фиг. 9, 10 - колонны с квадратным и прямоугольным поперечным сечением, соответственно, вид сверху, на Фиг. 11 - верх колонны Н-образной рамы с первой группой соединительных элементов, продольный разрез, на Фиг. 12 - нижняя часть колонны Н-образной рамы со второй группой соединительных элементов, продольный разрез, на Фиг. 13-15 - соединительные элементы в сборе, на Фиг.16 - узел соединения колонн, вертикальный разрез, на Фиг. 17, 18 - колонны с квадратным и прямоугольным поперечным сечением, соответственно, вид снизу, на Фиг. 19 - пример узла соединения колонны с балкой и плитой перекрытия, вертикальный разрез.

[44]

Позициями на чертежах обозначены: 1 - колонна, 2 - ригель, 3 - консоль для балки, 4 - консоль для наружной панели, 5 - отверстие в консоли для крепления балки, 6 -несущая арматура, 7 - штырь с винтовой нарезкой, 8 - опорная гайка, 9 - гайка, 10 -шайба, 11 - выемка в центральной части верхнего торца колонны, 12 - канал для инъецирования специального раствора, 13 - стальной уголок, 14 - пластины для анкеровки, 15 - ограничительные пластины, 16 - металлическая пластина с отверстием, 17 - стыковочный узел, 18 - технологический зазор, 19 - полость в стыковочном узле, 20 -дополнительный соединительный элемент в верхней части колонны, 21 - дополнительный соединительный элемент в нижней части колонны, 22 - Г-образный арматурный стержень, 23 - арматурный штырь, 24 - муфта для соединения Г-образного арматурного стержня с арматурным штырем, 25 - балка, 26 - ребра жесткости плиты перекрытия.

[45]

Осуществление изобретения

[46]

Н-образная рамная конструкция представляет собой две вертикальные колонны (стойки) 1, соединенные горизонтально расположенным ригелем 2 с прямоугольным поперечным сечением (Фиг. 1), выполненным за одно целое с колоннами (вмоноличенным в колонны, образуя с ней единую конструкцию), при этом ригель выполнен примыкающим к колоннам преимущественно в их центральной части. Возможен вариант расположения ригеля в зонах, приближенных к периферии колонн (ближе к верхней или нижней частям колонн). Колонны 1 рамной конструкции могут быть выполнены с квадратным или прямоугольным поперечным сечением (Фиг. 2-4), при этом в варианте выполнения колонны с прямоугольным сечением, ригель может быть расположен как с узкой (Фиг. 3), так и с широкой (Фиг. 4) стороны колонной части. При этом ширина ригеля wb не превышает глубины dc соответствующей колонны (ширины грани колонны, связанной с ригелем) и лежит в интервале значений (0,5÷1) глубины dc колонны.

[47]

В частном варианте исполнения рамная конструкция может быть выполнена высотой hc 3300 мм и длиной 1 (по внешним габаритам), лежащей в пределах от 1800 мм до 6000 мм; линейные размеры поперечного сечения ригеля могут составлять от 240×400 мм (ширина wb - от 240 мм), а линейные размеры поперечного сечения колонн - от 400×400 мм (для колонн с квадратным сечением) или от 400×800 мм (для колонн с прямоугольным сечением). Например, колонны могут быть выполнены с размерами поперечного сечения 460×460 см или 460×800 см (шириной wc=800 мм и глубиной dc=460 мм), а ригель - с размерами поперечного сечения 300×500 мм (шириной wb=300 мм и высотой hb=500 мм). Максимальные габариты рамных конструкций ограничены возможностями транспортировки, так как их изготовление осуществляют в заводских условиях.

[48]

Ширина колонных частей рамных конструкций может меняться в зависимости от этажности здания и, соответственно, от величины вертикальной нагрузки, а также от применяемых классов бетона и степени насыщения элементов арматурой. Колонны рамной конструкции могут быть выполнены с переменным сечением по высоте (Фиг. 8). В частности, для варианта сооружения высотных зданий, требующих выполнения нижних этажей с усиленными несущими конструкциями, используют рамную конструкцию, в которой нижняя часть колонны, расположенная ниже ригеля - имеет большую площадь сечения (например, 400×800 мм), а верхняя часть - меньшую (например, 400×400 мм).

[49]

При этом высота колонн 1 определяется исходя из высоты этажа, а уровень расположения ригеля 2 определяется из условия удобства монтажа (соединения) вышерасположенных колонн рамных конструкций. Например, при высоте этажа 3300 мм используют рамные конструкции с высотой колонн 3300 мм и расположением ригелей на высоте 1600÷2100 мм от нижних торцов колонн. Наиболее предпочтительным для использования в сборной железобетонной каркасной конструкции зданий и сооружений, является Н-образная рамная конструкция, в которой ригельная часть размещена между колонными частями (примыкает к колоннам) на половине их высоты.

[50]

Колонна 1 рамной конструкции снабжена, по крайней мере, одной консолью 3 с отверстиями 5 для закрепления на ней балки («связевого» ригеля), используемой в конструкциях каркаса здания для соединения между собой соседних Н-образных рамных элементов (Фиг. 1). Консоль 3 расположена на одной из боковых граней колонны, не совмещенной с ригелем, на уровне ригеля, при этом нижние грани консоли и ригеля расположены в одной плоскости. Консоли 3 выполнены шириной wcs, равной ширине ригелей или балок wb и высотой hcs, меньшей высоты ригеля hb. Место расположения консоли 3 определяется местом расположения Н-образной рамной конструкции в каркасе здания. При этом в рамных конструкциях, используемых для формирования жесткого каркаса типовых этажей, консоль 3 имеет габаритные размеры и расположена на колонне таким образом, чтобы при установке на нее балки, балка и ригель находились на одном уровне, т.е. верхние грани балки и ригеля располагались в одной плоскости, а нижняя грань консоли 3 располагалась в одной плоскости с нижней гранью балки и ригеля. Оптимальными являются варианты выполнения рамной конструкции с количеством консолей 3 от двух до шести. В этом случае на каждой колонне может быть расположено от одной до трех консолей для балок. В частном варианте, консоль для балки может быть выполнена шириной wcs 300 мм, высотой hcs 250 мм и глубиной dcs 250 мм.

[51]

Колонна 1 рамной конструкции также может быть снабжена одной или двумя дополнительными консолями 4 для крепления наружных стеновых панелей (снабженных вырезом под консоль). При этом консоли 4 имеют высоту, не превышающую высоту ригеля и для типовых решений зданий, как правило, расположены на одном уровне с ригелем, т.е. верхняя грань консоли 4 для наружных панелей расположена в одной плоскости с верхней гранью ригеля (Фиг. 2-4). В частном варианте, консоль для размещения наружных панелей может быть выполнена шириной 160 мм, высотой 450 мм и глубиной 190 мм.

[52]

Варианты расположения на колонне 1 консолей 3 и консолей 4 диктуются архитектурно-планировочным решением сооружаемого здания. На Фиг. 5-7 представлены различные варианты расположения консолей для балок и наружных панелей для колонн квадратного и прямоугольного сечений.

[53]

Центральная часть верхнего торца каждой колонны 1 рамной конструкции снабжена выемкой 11, к которой подведен канал 12 для инъецирования (подачи) в нее специального раствора для замоноличивания стыка колонн. Другой конец канала 12 выведен на боковую поверхность колонны 1 (Фиг. 11). По периметру верхнего торца колонны размещен стальной уголок 13 для защиты ребер колонны от повреждений и опирания на нее колонны вышестоящей Н-образной рамы (Фиг. 9, 10).

[54]

Рамная конструкция снабжена двумя группами соединительных элементов, первая из которых вмонтирована в верхние торцы колонн, а вторая, ответная первой, - в нижние торцы колонн. При этом при стыковке рамных конструкций между собой (нижних торцов колонн вышестоящей рамной конструкции и верхних торцов колонн нижестоящей рамной конструкции), соединительные элементы образуют в области стыка двух колонн, по крайней мере, четыре стыковочных узла 17 (Фиг. 16), расположенных в угловых зонах торцевой части колонны. Первая группа соединительных элементов каждого стыковочного узла, расположенная в верхней части колонны, включает штырь 7 с винтовой нарезкой и крепежными элементами в виде опорной гайки 8 и гаек 9 с шайбой 10 (Фиг. 11). При этом штырь 7 выполнен выступающим за пределы верхнего торца колонны и может представлять собой выпуск несущей арматуры колонны, или доборный стержень, связанный с несущей арматурой колонны посредством муфты, например, типа Lenton или Peikko, замоноличенной в верхней (торцевой) части колонны (не показано). Штырь 7 может быть выполнен из высокопрочной стали с диаметром 30 или 32 мм.

[55]

Вторая группа соединительных элементов, расположенная в нижней части колонны и образующая ответную часть стыковочного узла при совмещении верхней и нижней торцевых частей двух колонн, представляет собой металлические закладные пластины 14 и 15, жестко связанные (например, при помощи сварки) с несущей арматурой колонны, и металлическую пластину 16 с отверстием, жестко связанную с закладными пластинами. При этом, например, две из закладных пластин (пластины 14) предназначены для анкеровки в теле бетона колонны (Фиг. 13-15), а, по крайней мере, две являются ограничительными (пластины 15), выполняющими функцию опалубки, обеспечивающей формирование полости 19 в угловой зоне колонны для стыковочного узла при изготовлении рамной конструкции (Фиг. 16). Пластина 16 выполнена с отверстием, предназначенным для пропуска через него штыря 7 колонны нижестоящей рамной конструкции с последующей фиксацией штыря в полости 19 стыковочного узла 17 с помощью гаек 9 с шайбой 10. Металлические пластины 14, 15, 16 выполняют толщиной, удовлетворяющей условиям жесткости, прочности и условиям технологии сварки, при этом металлическая пластина 16 может быть выполнена, например, в виде шайбы.

[56]

Пластины 14, предназначенные для анкеровки, могут быть выполнены трапециевидной формы, и расположены под углом друг к другу, при этом пластины соединены между собой и с вертикально ориентированным стержнем несущей арматуры 6 по большему основанию трапеции (Фиг. 13-15). Пластины для анкеровки могут быть снабжены, по крайней мере, одним анкерным стержнем или дополнительной пластиной (не показано), предназначенными для повышения прочности фиксации пластин в бетонном теле колонны.

[57]

Количество ограничительных пластин может быть выбрано равным двум, при этом одна из ограничительных пластин 15 расположена предпочтительно горизонтально и может быть выполнена, например, в виде четырехугольника, имеющего отверстие в центральной части, две стороны которого соединены (с помощью сварки) с пластинами 14, предназначенными для анкеровки. В отверстии данной пластины закреплен выпуск несущей арматуры 6 колонны. Другая ограничительная пластина жестко связана с пластинами 14 для анкеровки (например, с помощью сварки), ориентирована вертикально и может быть выполнена изогнутой, образующей Г-образную проекцию в горизонтальной плоскости. Пластина 16 с отверстием расположена предпочтительно горизонтально и закреплена (приварена) в створе изогнутой ограничительной пластины 15.

[58]

Соединение вышестоящей рамной конструкции с нижестоящей осуществляют следующим образом.

[59]

На штыри 7 первой рамной конструкции накручивают опорные гайки 8, при этом, в случае использования в качестве штырей доборных стержней, предварительно осуществляют их крепление к колоннам с помощью муфт. Затем устанавливают вторую рамную конструкцию, располагая нижние торцы ее колонн над верхними торцами колонн первой рамной конструкции с пропусканием штырей 7 через отверстия пластин 16, расположенных в нижних частях колонн второй рамной конструкции. Затем с помощью опорных гаек 8 осуществляют регулировку вертикального положения колонн второй рамной конструкции, с формированием технологического зазора 18 между стыкуемыми торцами колонн (Фиг. 16). После регулировки, каждый штырь 7 фиксируют в полости 19 стыковочного узла 17 с помощью двух гаек 9 (при этом верхняя гайка выполняет функцию контргайки), что позволяет обеспечить передачу нагрузки от вертикального стержня несущей арматуры второй рамной конструкции к вертикальному стержню несущей арматуры первой рамной конструкции. Затем устанавливают дополнительную опалубку (не показано), замыкающую полость 19 и осуществляют закачку высокопрочного безусадочного раствора в канал 12 с замоноличиванием стыков колонн первой и второй рамных конструкций (в том числе выемки 11, технологического зазора 18, полостей 19).

[60]

Количество стыковочных узлов, образуемых при соединении вышестоящей рамной конструкции с нижестоящей, совпадает с количеством вертикально ориентированных стержней несущей арматуры, замоноличенных в колоннах рамной конструкции. Соответственно, стыковочные узлы могут располагаться не только в угловых зонах торцевых частей колонн, но и между угловыми зонами по сторонам торцов колонн. Например, при соединении рамных конструкций с колоннами, характеризующимися размерами поперечного сечения 460x800 мм, образуются шесть стыковочных узлов для каждой пары соединяемых колонн (Фиг. 10, 18), четыре из которых расположены в угловых зонах, а два дополнительных - на участках между угловыми зонами. Дополнительные соединительные элементы 20, 21 верхней и нижней частей колонн дополнительных стыковочных узлов, соответственно, выполнены аналогично соединительным элементам стыковочных узлов, расположенных в угловых зонах. При этом вертикально ориентированная ограничительная пластина ответной части дополнительного стыковочного узла может быть выполнена изогнутой, образующей П-образную проекцию в горизонтальной плоскости, а металлическая пластина с отверстием, закрепленная в створе изогнутой пластины, может быть выполнена трапециевидной формы.

[61]

Для сборки железобетонного каркаса здания осуществляют также соединение заявляемых Н-образных рамных конструкций с другими несущими элементами каркаса - балками, плитами перекрытий, стеновыми панелями.

[62]

При этом для соединения Н-образной конструкции с балкой, бетонное тело колонны в области стыковки с балкой может содержать замоноличенные в нем Г-образные арматурные стержни 20 (например, два, расположенных на расстоянии 120 мм друг от друга), одним концом связанные с арматурным каркасом колонны, а другим - с муфтой 21, также замоноличенной в колонне и предназначенной для закрепления в ней арматурного стержня 23 (доборного), фиксирующего положение плиты перекрытия в узле соединения балка-колонна-плита перекрытия (Фиг. 19).

[63]

Заявляемую Н-образную рамную конструкцию изготавливают в заводских условиях в опалубочной форме на фиксированной площадке или на карусельной установке. Установка по производству Н-образных элементов основана на циркуляции платформ по линии всего производственного цикла.

[64]

Таким образом, заявляемая полезная модель расширяет возможности архитектурно-планировочных решений, уменьшает материалоемкость и повышает надежность каркаса. Чередование балок с Н-образными элементами позволяет уменьшить вес конструкции на 50% по отношению к традиционно используемой системе в России.

[65]

Использование предложенной конструкции соединительных элементов позволяет с одной стороны существенно увеличить прочность узла соединения Н-образных рамных конструкций между собой по сравнению с прототипом за счет применения закладных деталей, анкерованных в теле бетона колонной части и соединения с ними выпусков несущей арматуры. С другой стороны, использование канала, связывающего выемку в торцевой части колонны с ее боковой поверхностью, позволяет упростить и ускорить процесс замоноличивания раствором узла соединения. Кроме того, предлагаемые форма и расположение соединительных элементов позволяют повысить точность монтажа железобетонного каркаса при сохранении высокой скорости его возведения. Монтаж железобетонных конструкций может проводиться без использования сварки в осенне-зимний период при низких отрицательных температурах.

[66]

В результате, процесс монтажа железобетонного каркаса многоэтажного здания ускоряется, а его прочность оказывается выше, чем в прототипе. Использование предлагаемых соединительных элементов не ведет к существенному удорожанию производства Н-образных рамных конструкций, поскольку они характеризуются простой конструкцией и высокой технологичностью.

Как компенсировать расходы
на инновационную разработку
Похожие патенты