патент
№ RU 146974
МПК A23C9/00

УСТАНОВКА ДЛЯ ПРИГОТОВЛЕНИЯ СМЕСЕЙ

Авторы:
Мохнаткин Виктор Германович Обласов Алексей Николаевич Филинков Андрей Сергеевич
Все (5)
Номер заявки
2014121853/10
Дата подачи заявки
29.05.2014
Опубликовано
20.10.2014
Страна
RU
Как управлять
интеллектуальной собственностью
Чертежи 
1
Реферат

Установка для приготовления смесей, содержащая загрузочный бункер с дозирующим устройством, корпус с рабочим колесом, полый шнек, всасывающий и нагнетательный патрубки, полый шнек одним концом закреплен в рабочем колесе, загрузочный бункер установлен перпендикулярно всасывающему патрубку и полому шнеку, всасывающий патрубок закреплен на противоположном конце полого шнека, отличающаяся тем, что противоположный конец полого шнека закреплен в подшипнике, причем с обеих сторон подшипника установлены торцевые уплотнения.

Формула изобретения

Установка для приготовления смесей, содержащая загрузочный бункер с дозирующим устройством, корпус с рабочим колесом, полый шнек, всасывающий и нагнетательный патрубки, полый шнек одним концом закреплен в рабочем колесе, загрузочный бункер установлен перпендикулярно всасывающему патрубку и полому шнеку, всасывающий патрубок закреплен на противоположном конце полого шнека, отличающаяся тем, что противоположный конец полого шнека закреплен в подшипнике, причем с обеих сторон подшипника установлены торцевые уплотнения.

Описание

[1]

Полезная модель относится к установкам для приготовления смесей и может быть использоваться в линиях приготовления жидких заменителей цельного молока из сухого порошка, суспензий, а также в линиях приготовления, например мороженого.

[2]

Известна установка для производства восстановленного молока, содержащая устройства подачи сухого молочного порошка и воды, цилиндрический смеситель с соосно расположенным в нем приводным валом с лопастями и устройство для отвода восстановленного молока [1].

[3]

Недостатком данной установки является то, что из-за образования комков сухого молока и попадания воздуха снижается производительность.

[4]

Известны смесители для смешивания жидких сред с порошковыми массами, содержащие загрузочную камеру с клапаном, центробежный насос, лопастной смеситель [2, 3]. В данных устройствах используется схема подачи сухого (сыпучего) компонента, которая характеризуется таким недостатком, как зависание порошкового продукта и невозможность его транспортирования в рабочую камеру.

[5]

Наиболее близким по технической сущности и достигаемому результату является устройство, содержащее загрузочную камеру, корпус с всасывающим и нагнетательным патрубками, с расположенным в нем рабочим колесом и шнеком [4].

[6]

Недостаток данного устройства заключается в том, что в процессе работы из-за консольного крепления шнека возникает биение вызывающее перекос и как следствие разгерметизация соединения шнека и всасывающего патрубка. Попадание воздуха в рабочее колесо влечет за собой снижение производительности и ухудшение качества продукта вследствие пенообразования.

[7]

Технический результат заключается в исключении попадания воздуха в рабочее колесо через неплотности в месте соединения шнека и всасывающего патрубка, и как следствие обеспечивается получение готового продукта с повышенным качеством.

[8]

Технический результат достигается установкой одного конца полого шнека в подшипнике, с установленными с обеих сторон торцевыми уплотнениями, которые исключают биение концевого участка полого шнека.

[9]

Данное техническое решение позволяет, за счет жесткого крепления шнека, обеспечить работу торцевых уплотнений в штатном режиме. В итоге достигается технический результат, заключающийся в исключении попадания воздуха через неплотности в месте соединения шнека и всасывающего патрубка.

[10]

Установка для приготовления смесей, содержит загрузочный бункер, корпус с рабочим колесом, полый шнек, всасывающий и нагнетательный патрубки, полый шнек, одним концом полый шнек закреплен в рабочем колесе, а противоположный конец полого шнека закреплен в подшипнике.

[11]

Данная полезная модель поясняется чертежом.

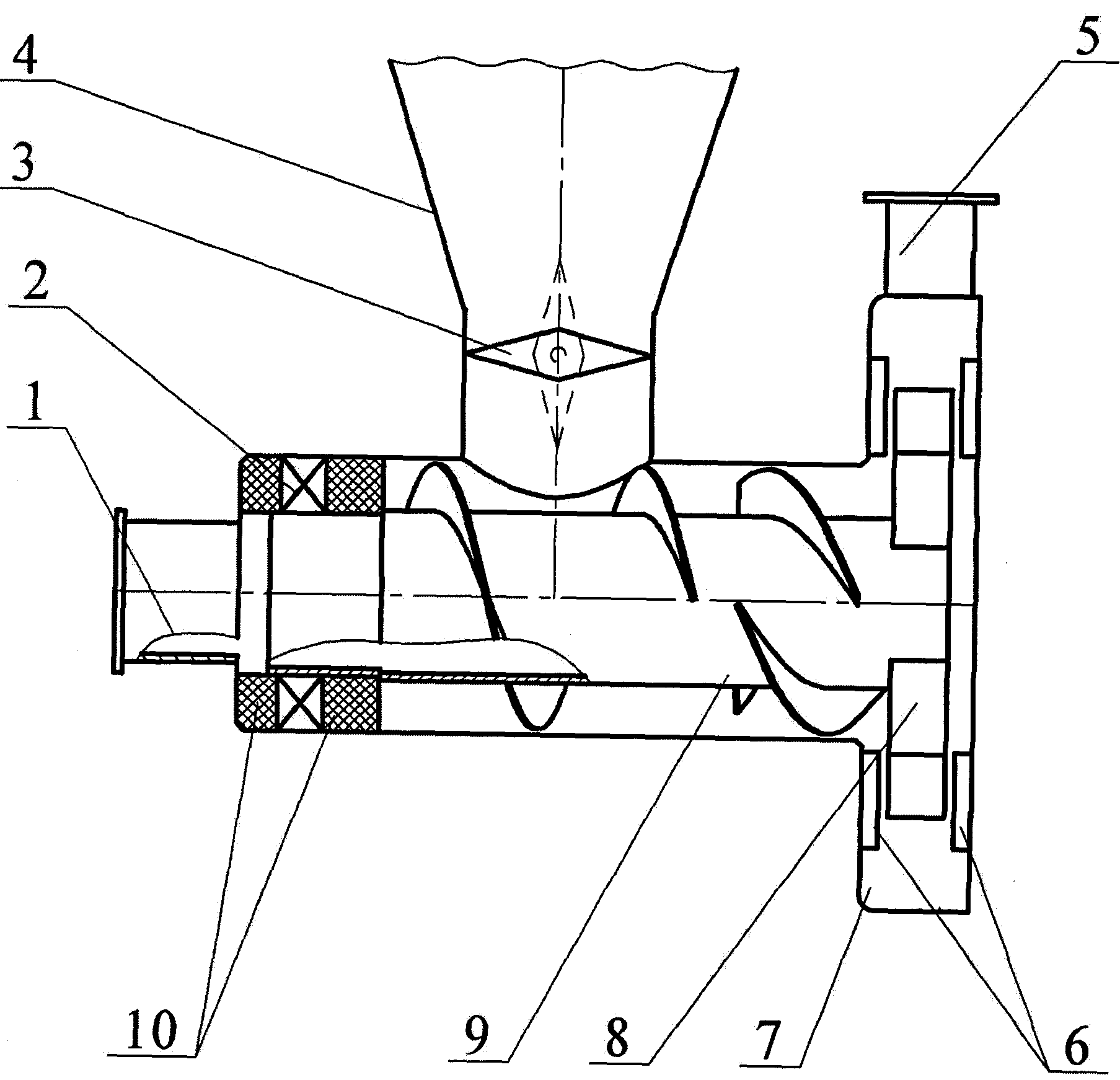
[12]

На фиг. 1 схематически изображена установка для приготовления смесей.

[13]

Установка состоит из загрузочного бункера 4, корпуса 7, всасывающего 1 и нагнетательного патрубка 5, рабочего колеса 8 и полого шнека 9.

[14]

Полый шнек 9 закреплен в подшипнике 2, с обеих сторон которого расположены торцевые уплотнения 10, которые предотвращают попадание жидкости в корпус, где перемещается материал при помощи спиральной навивки полого шнека 9

[15]

В нижней части загрузочного бункера 4, расположенного перпендикулярно всасывающему патрубку 1 и полому шнеку 9, находится устройство 3, обеспечивающее дозированную подачу материала.

[16]

Установка работает следующим образом. Жидкость, поступает в центр рабочего колеса через всасывающий патрубок 1, через полый шнек 9, далее в рабочее колесо 8, а сыпучие или порошкообразные компоненты, при открытии устройства 3, из загрузочного бункера 4 под действием силы тяжести подают на полый шнек 9, и поступает в рабочее колесо 8. Компоненты предварительно смешиваются на открытой части колеса, затем при взаимодействии с неподвижными лопатками 6 и далее в кольцевом отводе происходит окончательное смешивание компонентов. Образованная однородная смесь выводится из корпуса 7 через нагнетательный патрубок 5.

[17]

Конструкция предлагаемой установки позволит исключить попадание воздуха в рабочее колесо через неплотности в месте соединения шнека и всасывающего патрубка.

[18]

Литература

[19]

1. А.с. СССР 1028307 МПК А23С 9/00 Установка для производства восстановленного молока. / А.С. Стриго, Н.Н Липатов, К.И. Тарасов, Ю.И. Филатов и др. - №3368211/28-13, заявлено 10.12.81.

[20]

2. Смеситель Tri-Blender. Рекламный проспект ОАО Альфа Лаваль Поток.

[21]

3. Диссольверы для растворения сыпучих веществ и жидкостей. Рекламный проспект. CSF inox Group.

[22]

4. Патент на полезную модель 104022 РФ, МПК А23С 11/00. Устройство для приготовления смесей / В.Г. Мохнаткин, В.Н. Шулятьев, А.С. Филинков и др. (РФ). - №2010152132/10; Заявлено 20.12.2010 // Бюл. 2011. - №13 - 2 с. - прототип

Как компенсировать расходы
на инновационную разработку
Похожие патенты