патент
№ RU 145414
МПК G08B25/08

ЭЛЕКТРОННЫЙ БРАСЛЕТ СИСТЕМЫ МОНИТОРИНГА ПОДКОНТРОЛЬНЫХ ЛИЦ

Авторы:
Мартынов Николай Васильевич
Номер заявки
2014113277/08
Дата подачи заявки
04.04.2014
Опубликовано
20.09.2014
Страна
RU
Как управлять
интеллектуальной собственностью
Чертежи 
5
Реферат

1. Электронный браслет системы мониторинга подконтрольных лиц, содержащий герметичный полимерный корпус, средство для его крепления, систему контроля целостности, подключенный к автономному источнику питания микроконтроллер, выполненный с возможностью генерировать сигнал и передавать кодированный сигнал, датчик температуры, кварцевый резонатор, микроконтроллер с трактом RFID и трехосевой датчик положения электронного браслета, при этом средство для крепления корпуса выполнено в виде снабженного кабель-шлейфом герметичного пластикового ремня, исключающего съем без нарушения его структуры отличающийся тем, что концы ремня выполнены с закрытыми цанговыми разъемными контактами и металлическими закладными пластинами внутри, и встроенных в корпус электрических контактов для смыкания ремня и создания замкнутой цепи "проводник-петля", при этом в основании корпуса для смыкания с ремнем размещены металлические закладные, а на концах ремня коаксиально последним выполнены отверстия.2. Браслет по п. 1, отличающийся тем, что корпус изготовлен из прочного гипоаллергенного пластика, причем его основание выполнено гладким без выступов, впадин и стыков деталей.3. Браслет по п. 1, отличающийся тем, что корпус имеет лабиринтное уплотнение вокруг электрических контактов.4. Браслет по п. 1, отличающийся тем, что крепление ремня выполнено с внешней стороны корпуса одноразовыми винтами посредством пластиковых планок, при этом головки винтов закрыты одноразовыми пластиковыми колпачками.

Формула изобретения

1. Электронный браслет системы мониторинга подконтрольных лиц, содержащий герметичный полимерный корпус, средство для его крепления, систему контроля целостности, подключенный к автономному источнику питания микроконтроллер, выполненный с возможностью генерировать сигнал и передавать кодированный сигнал, датчик температуры, кварцевый резонатор, микроконтроллер с трактом RFID и трехосевой датчик положения электронного браслета, при этом средство для крепления корпуса выполнено в виде снабженного кабель-шлейфом герметичного пластикового ремня, исключающего съем без нарушения его структуры отличающийся тем, что концы ремня выполнены с закрытыми цанговыми разъемными контактами и металлическими закладными пластинами внутри, и встроенных в корпус электрических контактов для смыкания ремня и создания замкнутой цепи "проводник-петля", при этом в основании корпуса для смыкания с ремнем размещены металлические закладные, а на концах ремня коаксиально последним выполнены отверстия.

2. Браслет по п. 1, отличающийся тем, что корпус изготовлен из прочного гипоаллергенного пластика, причем его основание выполнено гладким без выступов, впадин и стыков деталей.

3. Браслет по п. 1, отличающийся тем, что корпус имеет лабиринтное уплотнение вокруг электрических контактов.

4. Браслет по п. 1, отличающийся тем, что крепление ремня выполнено с внешней стороны корпуса одноразовыми винтами посредством пластиковых планок, при этом головки винтов закрыты одноразовыми пластиковыми колпачками.

Описание

[1]

Электронный браслет системы мониторинга подконтрольных лиц Полезная модель относится к устройствам электронного мониторинга, обеспечивающим возможности поиска, обнаружения, определения текущего местоположения и слежения за перемещениями подконтрольных лиц, и может быть использована для надзора за подконтрольными лицами, дистанционной идентификации и отслеживания их местонахождения.

[2]

Система удаленного контроля за осужденными во многих странах стала привычной мерой наказания для мелких грабителей, хулиганов, угонщиков автомобилей и т.п. Применение электронных устройств слежения позволяет следить за подконтрольными лицами в течение 24 часов в сутки, что позволило применять ее для установления полного электронного контроля за жизнью осужденного во время его пребывания под домашним арестом. В последние годы этот вид наказания становится все более популярным. В Швеции браслеты и тотальный контроль на дому вместо тюрьмы могут выбрать те граждане, которых приговаривают к срокам до 3 месяцев. Преимущественно это касается мелких воров и водителей, совершивших аварии. В Германии решение о переводе заключенных под электронный «домашний арест» принимается прокуратурой, преимущественно по просьбе самих осужденных. Причем выбрать браслеты могут не только осужденные на небольшие сроки, но и все, кто может рассчитывать на условно-досрочное освобождение. В Австрии с 2008 года электронные ножные браслеты решили надевать на тех досрочно-условно освобожденных, которых приговаривали на сроки до 3 лет. В США электронный мониторинг используется в 49 штатах из 50.

[3]

Из уровня техники известна система наблюдения для домашнего ареста (см. например, патент США №4918432, МПК G08B 29/04, опубл. 17.04.1990), содержащая устройство идентификации, закрепленное на подконтрольном лице, причем устройство идентификации включает в себя: источник питания; устройство контроля (блок мониторинга) для наблюдения над заданными условиями, передатчик для периодической передачи данных, включающих в себя информацию, однозначно идентифицирующую устройство контроля, и информацию об окружающей обстановке, полученную устройством контроля, приемник, принимающий сигналы от передатчика устройства контроля, и блок обработки данных, анализирующий полученные от устройства контроля данные путем определения времени получения периодического сигнала и информации идентификации устройство контроля, содержащейся в принятых приемником данных.

[4]

Известная система не позволяет контролировать целостность устройства контроля.

[5]

Известен также электронный браслет (далее - ЭБ), содержащий герметичный корпус с датчиком контроля несанкционированного снятия и вскрытия последнего, эластичные ремни с системой их целостности, подключенный к блоку питания микропроцессор, выполненный с возможностью генерировать сигнал и передавать кодированный сигнал, с датчиком температуры и кварцевым резонатором, замок с датчиком целостности замка и ремней (см., например, Оборудование ООО "ИТ корпорация", http://www.itcrp.ru/advanced.html).

[6]

Наиболее близким к заявляемой полезной модели по технической сущности и достигаемому при использовании полезной модели техническому результату, является ЭБ, описанный в патенте РФ №102502, МПК G08B 25/08, опубл. 20.09.2012, содержащий герметичный полимерный корпус, средство для его крепления, систему контроля целостности, подключенный к автономному источнику питания микроконтроллер, выполненный с возможностью генерировать сигнал и передавать кодированный сигнал, датчик температуры, кварцевый резонатор, микроконтроллер с трактом RFID и трехосевой датчик положения электронного браслета, при этом средство для крепления корпуса выполнено в виде снабженного кабель-шлейфом герметичного пластикового ремня, исключающего съем без нарушения его структуры. В корпус ЭБ встроены электрические ножи-перемычки для смыкания ремня и создания замкнутой цепи проводник-петля. В основании корпуса для смыкания с фиксаторами защелки размещены цанговые разъемные контакты, а на концах ремня коаксиально последним выполнены отверстия. Ножи-перемычки имеют П-образный вид, выполнены с заостренными концами из листового нержавеющего материала.

[7]

При эксплуатации известного ЭБ и погружении ремешка с застежкой в морскую воду или при воздействии моющих средств и потовыделении подконтрольного лица, со временем сопротивление контакта ножей-перемычек и жил кабель-шлейфа ремня возрастает и приводит к ложному срабатыванию системы контроля снятия (расстегивание) ремешка, из-за отсутствия герметизации места контакта. Также недостатком известного ЭБ является низкая защищенность конструкции от случайной поломки пластиковых защелок, если, например, подконтрольное лицо зацепится корпусом ЭБ или ремнем. Кроме того недостатком известного ЭБ является наличие в основании корпуса отверстий, в которых будет собираться грязь.

[8]

Задача, положенная в основу настоящей полезной модели, заключается в создании ЭБ свободного от указанных недостатков, присущих техническим решениям, представляющим известный уровень техники, и обеспечение контроля целостности ЭБ.

[9]

Техническим результатом от использования предложенной конструкции ЭБ является обеспечение целостности ЭБ за счет надежного скрепления корпуса с ремнем винтами с созданием замкнутой цепи «проводник-петля», исключающего доступ к последним и их отвинчивание.

[10]

Предлагаемая полезная модель позволяет исключить возможность неконтролируемого снятия и вскрытия, обеспечить безопасность для здоровья подконтрольного лица и быть относительно недорогой в изготовлении и обслуживании.

[11]

Задача, положенная в основу настоящей полезной модели, решается тем, что в электронном браслете системы мониторинга подконтрольных лиц, содержащий герметичный полимерный корпус, средство для его крепления, систему контроля целостности, подключенный к автономному источнику питания микроконтроллер, выполненный с возможностью генерировать сигнал и передавать кодированный сигнал, датчик температуры, кварцевый резонатор, микроконтроллер с трактом RFID и трехосевой датчик положения электронного браслета, при этом средство для крепления корпуса выполнено в виде снабженного кабель-шлейфом герметичного пластикового ремня, исключающего съем без нарушения его структуры, концы ремня выполнены с закрытыми цанговыми разъемными контактами и металлическими закладными пластинами внутри, и встроенных в корпус электрических контактов для смыкания ремня и создания замкнутой цепи «проводник-петля», при этом в основании корпуса для смыкания с ремнем размещены металлические закладные, а на концах ремня коаксиально последним выполнены отверстия.

[12]

Кроме того, корпус изготовлен из прочного гипоаллергенного пластика, причем его основание выполнено гладким без выступов, впадин и стыков деталей.

[13]

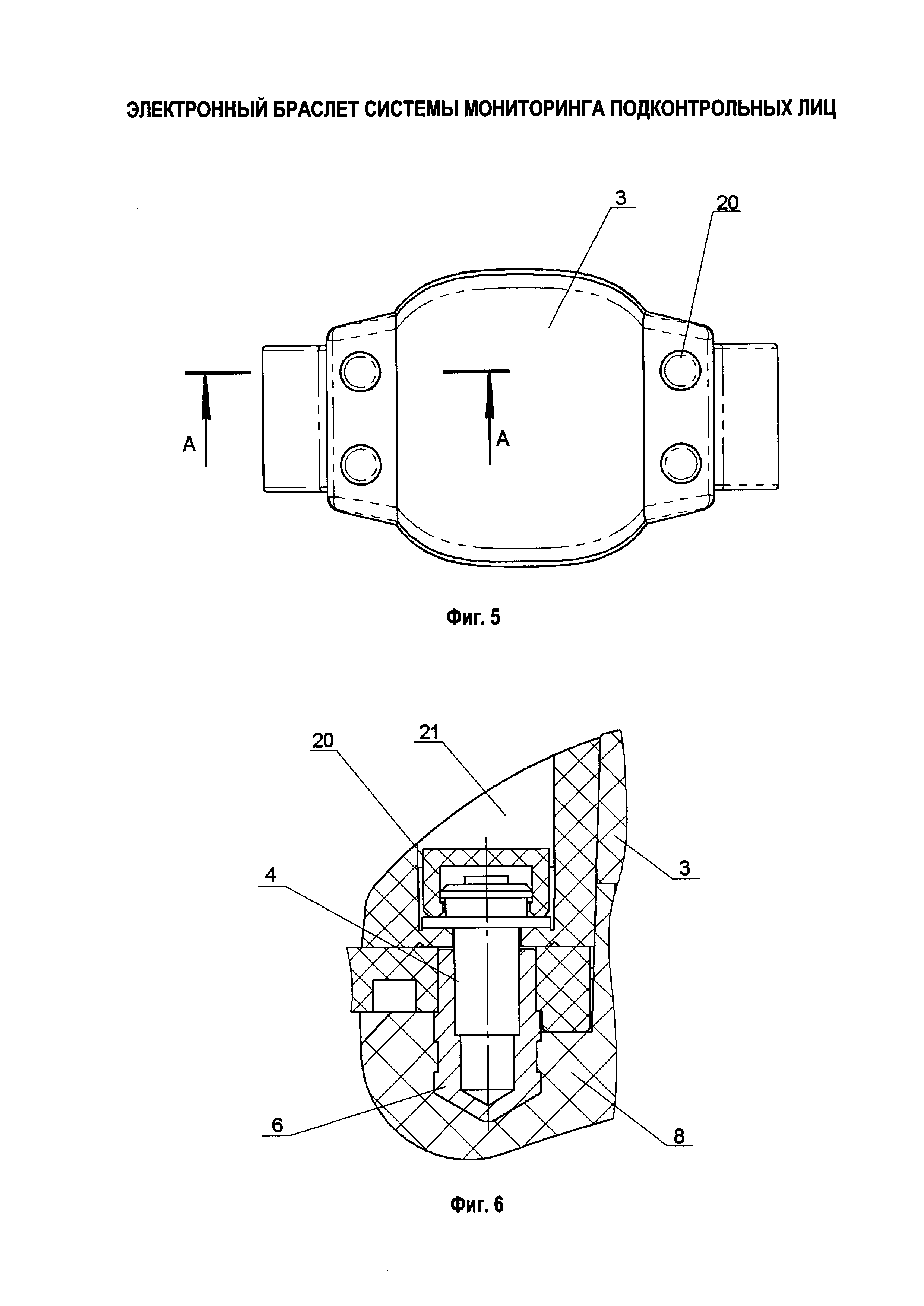
Кроме того, корпус имеет лабиринтное уплотнение вокруг электрических контактов.

[14]

Кроме того, крепление ремня выполнено с внешней стороны корпуса одноразовыми винтами посредством пластиковых планок, при этом головки винтов закрыты одноразовыми пластиковыми колпачками.

[15]

Выполнение концов ремня с закрытыми цанговыми разъемными контактами и металлическими закладными пластинами внутри и включение в корпус электрических контактов для смыкания ремня и создания замкнутой цепи «проводник-петля» позволяет обеспечить надежность электрического контакта, путем использования однородных материалов (в отличие от контакта нержавеющая сталь - медь по прототипу), а также исключить доступ к ним.

[16]

Размещение металлических закладных в основании корпуса для смыкания с ремнем и выполнение отверстий на концах ремня коаксиально закладным обеспечивает надежную фиксацию ремня на последних и прочное крепление его винтами.

[17]

Выполнение основания корпуса гладким без выступов, впадин и стыков деталей позволяет исключить скопление грязи в месте контакта тела подконтрольного лица и корпуса ЭБ.

[18]

Крепление ремня с внешней стороны корпуса одноразовыми винтами посредством пластиковых планок обеспечивает прочное крепление ремня и исключает отворачивания винтов подконтрольным лицом, поскольку, после установки часть головки винта с лысками под ключ отламывается, а оставшаяся часть головки не имеет элементов за которые бы можно было отвернуть винты каким бы ни было инструментом или приспособлением. Винты могут быть отвинчены только после слома пластиковой планки и удаления одноразовых колпачков.

[19]

Проведенный сопоставительный анализ предложенного технического решения с выявленными аналогами уровня техники, из которого полезная модель явным образом не следует для специалиста в области электронного мониторинга, показал, что она не известна, а с учетом возможности промышленного серийного изготовления ЭБ, можно сделать вывод о соответствии критериям патентоспособности.

[20]

Предпочтительные варианты исполнения полезной модели описываются далее на основе представленных чертежей, где на:

[21]

- фиг. 1 изображен общий вид ЭБ;

[22]

- фиг. 2 изображен общий вид ремня;

[23]

- фиг. 3 - то же, вид снизу;

[24]

- фиг. 4 - то же, вид сзади;

[25]

- фиг. 5 изображен вид сверху на ЭБ;

[26]

- фиг. 6 изображен разрез A-A на фиг. 5;

[27]

- фиг. 7 показана последовательность сборки ЭБ;

[28]

- фиг. 8 изображена функциональная схема ЭБ.

[29]

В графических материалах соответствующие конструктивные элементы электронного браслета системы мониторинга подконтрольных лиц обозначены следующими позициями:

[30]

1. - корпус;

[31]

2. - ремень;

[32]

3. - крышка;

[33]

4. - одноразовый винт;

[34]

5. - электрические контакты;

[35]

6. - закладная корпуса браслета;

[36]

7. - отверстие под закладную корпуса браслета;

[37]

8. - основание корпуса браслета;

[38]

9. - лабиринтное уплотнение;

[39]

11. - автономный источник питания;

[40]

12. - микроконтроллер;

[41]

13. - радиопередатчик;

[42]

14. - датчик температуры;

[43]

15. - кварцевый резонатор;

[44]

16. - датчик целостности ремня;

[45]

17. - датчик контроля несанкционированного снятия и вскрытия корпуса;

[46]

18. - трехосевой датчик положения электронного браслета;

[47]

19. - микроконтроллер с трактом ИРГО;

[48]

20. - одноразовый пластиковый колпачок;

[49]

21. - отверстия для колпачков;

[50]

22. - пластиковая планка.

[51]

ЭБ содержит: герметичный полимерный корпус 1 (фиг. 1, поз. 1), эластичный ремень 2 (фиг. 2, поз. 2) с датчиком целостности ремня 16. Корпус 1 может быть изготовлен из прочного, гипоаллергенного пластика, при этом основание 8 выполнено по дуге, не имеет выступов, впадин, стыков деталей, что обеспечивает более плотное и комфортное прилегание ЭБ к лодыжке подконтрольного лица и, соответственно, уменьшает число попыток удалить ремень. В основании 8 корпуса 1 встроена плата 10 с электрическими контактами 5 и размещены металлические закладные 6, фиксирующие ремень 2. В герметичном полимерном корпусе 1 (фиг. 8) расположены:

[52]

- микроконтроллер 12 с радиопередатчиком 13, датчиком 14 температуры и кварцевым резонатором (часы) 15;

[53]

- микроконтроллер 19 с трактом RFID;

[54]

- трехосевой датчик 18 положения электронного браслета;

[55]

- датчик 17 контроля несанкционированного снятия и вскрытия корпуса 1;

[56]

- автономный источник питания 11.

[57]

Эластичный ремень 2 с гибким кабелем-шлейфом (на чертежах не показан) изготовлен из прочного, гипоаллергенного пластика, позволяющего избежать раздражения кожи и иного дискомфорта. На концах ремня 2 в местах крепления к корпусу 1 предусмотрены отверстия 7 ответные закладным 6 в основании 8 корпуса 1 браслета. Ремень прижимается к корпусу при помощи пластиковых планок 22, в которых выполнены отверстия 21 для одноразовых винтов 4 и установки одноразовых пластиковых колпачков 20. Для предотвращения несанкционированного снятия ЭБ имеет датчик целостности ремня (фиг. 8 поз. 16) Контроль целостности электронного браслета системы мониторинга подконтрольных лиц содержит: датчик целостности ремня (фиг. 8 поз. 16), датчик контроля несанкционированного снятия и вскрытия корпуса (фиг. 8 поз. 17). Любая попытка обрезать или удалить ремень приводит к срабатыванию датчиков 16, 17 и генерации сообщения на сервер системы электронного мониторинга подконтрольных лиц (далее - СЭМПЛ), причем замкнутую цепь в ремне обеспечивают кабель-шлейф внутри ремня и встроенные электрические контакты 5 для смыкания ремня 2 с корпусом 1 и создания замкнутой цепи «проводник-петля». Электрические контакты 5 имеют П-образный вид и антикоррозионное покрытие. Электрические контакты впаяны в плату. Ремень закреплен к корпусу одноразовыми винтами 4, закрытыми одноразовыми пластиковыми колпачками 20.

[58]

Трехосевой датчик 18 положения браслета фиксирует изменение положения (угла) ЭБ (в нормальном состоянии, если даже человек спит, он поворачивается). В случае отсутствия изменения положения (угла) в течение определенного времени на сервер СЭМПЛ передается сообщение, формируется сигнал тревоги, который доступен сотруднику уголовно исполнительной инспекции (УИИ) (несколько вариантов: SMS, информация на экране компьютера и т.п.).

[59]

В ЭБ используется RFID тракт с рабочей частотой 125 кГц фирмы NXP Semiconductors с применением алгоритма криптографии HITAG2. Наличие тракта RFID позволяет изменить конфигурацию без снятия ЭБ, изменить программное обеспечение (ПО) ЭБ без вскрытия корпуса, обеспечивает высокую криптографическую стойкость (ПО) ЭБ, не требует ломать защелку для доступа к контактам для снятия сигнала «тревоги», не требует обеспечения антикоррозионной стойкости контактов.

[60]

На фиг. 7 показана последовательность сборки ЭБ, которая включает следующие действия:

[61]

1. совмещают основание 8 корпуса 1 ЭБ с распаянной платой 10 и крышкой 3;

[62]

2. производят ультразвуковую сварку крышки 3 с основанием 8 корпуса 1 ЭБ;

[63]

3. производят проверку герметичности сварного шва методом гидроиспытаний.

[64]

Окончательная сборка производится по месту на подконтрольном лице сотрудником УИИ. Для того чтобы надеть ЭБ на лодыжку подконтрольного лица:

[65]

4. к корпусу 1 закрепляют один конец ремня 2 необходимого размера двумя одноразовыми винтами 4 через пластиковую планку 22, при этом часть головки винта со шлицом обламывается (см. фиг. 7);

[66]

5. в отверстия пластиковой планки устанавливают одноразовые пластиковые колпачки 20 и защелкивают их на головках винтов специальным приспособлением.

[67]

Приспособление для установки одноразовых пластиковых колпачков входит в комплект поставки ЭБ.

[68]

Надевают ЭБ на лодыжку подконтрольного лица и повторяют пункты 4 и 5.

[69]

Проверяют, как надет ЭБ, надежность его закрепления и не причиняет ли он дискомфорт подконтрольному лицу.

[70]

Работа ЭБ осуществляется следующим образом.

[71]

ЭБ представляет собой радиопередатчик с автономным питанием, который крепится на лодыжке подконтрольного лица. ЭБ излучает кодированный сигнал, который имеет дальность распространения до 100 м на открытом пространстве. После активации ЭБ непрерывно излучает по радиоканалу сигналы на контрольное устройство (КУ).

[72]

Радиосигнал содержит защищенную от подделки перманентную метку, включающую в себя:

[73]

- индивидуальный уникальный идентификационный номер ЭБ;

[74]

- информацию о состоянии корпуса его передатчика, целостности ремня и его крепления;

[75]

- информацию об отсутствии/наличии попыток взлома корпуса и/или ремня;

[76]

- информацию о состоянии источника питания;

[77]

- информацию о сроке пребывания ЭБ во включенном состоянии;

[78]

- информацию об отсутствии/наличии ошибок работы микропрограммы;

[79]

- информацию о длительном, по усмотрению соответствующего должностного лица, отсутствии движения подконтрольного лица с надетым ЭБ.

[80]

ЭБ передает радиочастотный сигнал, содержащий сообщения, в которые включена информация о серийном номере браслета и состоянии ЭБ - текущем напряжении автономного источника питания, температуре ЭБ и следующие тревожные статусы:

[81]

- нарушение целостности ремня ЭБ;

[82]

- нарушение целостности корпуса ЭБ;

[83]

- разряд автономного источника питания ЭБ;

[84]

- длительное отсутствие движения подконтрольного лица с надетым ЭБ (более 6 ч).

[85]

ЭБ передает информацию об аварийном состоянии источника питания не менее чем за 72 часа до его отключения.

[86]

Для экономии заряда батареи предусмотрена возможность перевода ЭБ в режим, при котором он не излучает радиосигнал на время, когда он не используется.

[87]

Если подконтрольное лицо отсутствует в заданной зоне в течение определенного времени, КУ фиксирует отсутствие сигнала ЭБ и записывает в свою внутреннюю память факт отсутствия подконтрольного лица как некоторое событие. Когда КУ определяет факт отсутствия подконтрольного лица, оно соединяется с сервером СЭМПЛ и передает на сервер информацию о событии. Данные анализируются на сервере, определяется уровень тревоги и формируются дальнейшие действия согласно служебному регламенту. ЭБ имеет следующие режимы работы:

[88]

1. «Выключен» (спящий режим) - режим, в котором ЭБ не используется, ЭБ не передает никаких данных, почти не используется автономный источник питания;

[89]

2. «Включен» (активный режим) - в этом режиме ЭБ контролирует перемещение подконтрольного лица и регулярно передает сигналы с информацией на КУ.

[90]

3. «Тест» - режим ЭБ, используемый при первоначальной установке в зоне контроля перемещения подконтрольного лица. В этом режиме калибруется мощность сигнала ЭБ, получаемая в КУ. Это позволяет корректно настроить границы контролируемой зоны перемещения и настроить прием радиосигналов в КУ. Если ЭБ находится в режиме «Тест», то КУ не сохраняет никаких событий о перемещении подконтрольного лица. В режиме «Тест» ЭБ передает сигнал с периодичностью удобной для настройки. Режим «Тест» длится в течение «времени достаточной настройки» и может быть завершен принудительно или автоматически по завершению определенного времени, затем ЭБ автоматически переходит в режим «Выключен». В режиме «Тест», если КУ находится в режиме «Деактивировано», оно будет издавать звуковые сигналы, которые подтверждают прием сигналов от ЭБ.

[91]

Если подконтрольное лицо пытается снять ЭБ (например, разрезать ремешок или разрушить корпус ЭБ), то ЭБ немедленно передает сигнал, содержащий событие высшего приоритета. Это дает указание КУ немедленно соединиться с сервером СЭМПЛ, создавая тревожное предупреждение (попытка снятия браслета).

[92]

Это предупреждение показывается в программном обеспечении СЭМПЛ как предупреждение высшего или критического уровня.

[93]

Полезная модель обеспечивает прочное и надежное крепление за счет гибкого кабель-шлейфа внутри ремня, долговременный надежный электрический контакт за счет лабиринтного уплотнения места контакта, позволяет расширение функциональных возможностей и надежную защиту от доступа к контактам ЭБ за счет наличия тракта RFID. По сравнению с известными ЭБ исключается возможность отвинчивания винтов, закрепляющих ремень к корпусу, без специального оборудования и нарушения его структуры. Кроме того, появляется возможность визуального контроля целостности крепления ремня к корпусу сотрудником УИИ, за счет наличия одноразовых пластиковых колпачков.

Как компенсировать расходы
на инновационную разработку
Похожие патенты