патент
№ RU 143269
МПК F22B35/00

СИСТЕМА АВТОМАТИЧЕСКОГО РЕГУЛИРОВАНИЯ ДАВЛЕНИЯ ПАРА В МАГИСТРАЛИ БАРАБАННОГО КОТЛА

Авторы:
Теличенко Денис Алексеевич
Номер заявки
2014105395/06
Дата подачи заявки
13.02.2014
Опубликовано
20.07.2014
Страна
RU
Как управлять
интеллектуальной собственностью
Чертежи 
1
Реферат

Система автоматического регулирования давления пара в магистрали барабанного котла, включающая паровую магистраль с установленными в ней паровым котлом с топочным устройством, датчиком давления, задатчиком давления, исполнительным блоком в виде системы пылеприготовления, присоединенным выходом к топочному устройству барабанного котла и изменяющим подачу топлива, поступающего в топочное устройство, регулятор давления пара, отличающаяся тем, что регулятор давления пара выполнен состоящим из нечеткой и интегральной составляющих и включает первый сумматор, блок задания первого коэффициента, блок задания второго коэффициента, блок задания третьего коэффициента, блок дифференциатора, блок интегратора, блок локального нечеткого регулятора, третьего сумматора, при этом выход задатчика давления связан с первым входом регулятора давления пара, состоящего из нечеткой и интегральной составляющих, второй вход регулятора давления пара, состоящего из нечеткой и интегральной составляющих, связан с выходом датчика давления, вход датчика давления связан с выходом парового котла с топочным устройством, который, в свою очередь, связан с исполнительным блоком в виде системы пылеприготовления, выход регулятора давления пара, состоящего из нечеткой и интегральной составляющих, связан с входом исполнительного блока, первый вход регулятора давления пара, состоящего из нечеткой и интегральной составляющих, является первым входом первого сумматора, второй вход регулятора давления пара, состоящего из нечеткой и интегральной составляющих, является вторым входом первого сумматора, выход первого сумматора связан с входа

Формула изобретения

Система автоматического регулирования давления пара в магистрали барабанного котла, включающая паровую магистраль с установленными в ней паровым котлом с топочным устройством, датчиком давления, задатчиком давления, исполнительным блоком в виде системы пылеприготовления, присоединенным выходом к топочному устройству барабанного котла и изменяющим подачу топлива, поступающего в топочное устройство, регулятор давления пара, отличающаяся тем, что регулятор давления пара выполнен состоящим из нечеткой и интегральной составляющих и включает первый сумматор, блок задания первого коэффициента, блок задания второго коэффициента, блок задания третьего коэффициента, блок дифференциатора, блок интегратора, блок локального нечеткого регулятора, третьего сумматора, при этом выход задатчика давления связан с первым входом регулятора давления пара, состоящего из нечеткой и интегральной составляющих, второй вход регулятора давления пара, состоящего из нечеткой и интегральной составляющих, связан с выходом датчика давления, вход датчика давления связан с выходом парового котла с топочным устройством, который, в свою очередь, связан с исполнительным блоком в виде системы пылеприготовления, выход регулятора давления пара, состоящего из нечеткой и интегральной составляющих, связан с входом исполнительного блока, первый вход регулятора давления пара, состоящего из нечеткой и интегральной составляющих, является первым входом первого сумматора, второй вход регулятора давления пара, состоящего из нечеткой и интегральной составляющих, является вторым входом первого сумматора, выход первого сумматора связан с входами параллельно соединенных блока задания первого коэффициента, блока задания второго коэффициента и блока задания третьего коэффициента, в свою очередь, выход блока задания первого коэффициента связан с первым входом второго сумматора, выход блока задания второго коэффициента связан с входом блока дифференциатора, выход которого связан со вторым входом второго сумматора, выход блока задания третьего коэффициента связан с входом блока интегратора, выход которого связан со вторым входом второго сумматора, выход второго сумматора связан с входом блока локального нечеткого регулятора, выход которого связан с первым входом третьего сумматора.

Описание

[1]

Полезная модель относится к системам автоматического управления барабанными паровыми котлами и может быть использована для задач регулирования давления, в частности давления пара в магистрали барабанного котла.

[2]

Широко известна система автоматического регулирования давления пара в магистрали, применимая для пылеугольных котлов с поперечными связями - так называемый корректирующий регулятор в каскадной системе автоматического регулирования расхода топлива [Клюев А.С., Лебедев А.Т., Новиков С.И. Наладка систем автоматического регулирования паровых котлов. - М.: Энергоатомиздат, 1985. С.140-142] содержащая барабанный котел с топочным устройством, последовательно соединенную с ним паровую магистраль с установленным в ней датчиком давления пара в магистрали, исполнительный блок, присоединенный выходом к топочному устройству и изменяющий подачу топлива, поступающего в топочное устройство, задатчик давления, ПИ-регулятор выход которого через стабилизирующий регулятор каскадом соединен с входом исполнительного блока.

[3]

Недостатком этой системы является низкое качество работы при изменении параметров объекта.

[4]

Известна так же адаптивная система регулирования давления пара в магистрали барабанного парового котла [Еремин Е.Л., Теличенко Д.А., Автоматизированная система регулирования расхода топлива на ТЭЦ // Информатика и системы управления. - 2011. - №2. - С. 157-168], содержащая барабанный котел с топочным устройством, последовательно соединенную с ним паровую магистраль с установленным в ней датчиком давления пара в магистрали, исполнительный блок (система пылеприготовления), присоединенный выходом к топочному устройству и изменяющий подачу топлива, поступающего в топочное устройство, задатчик давления, адаптивный регулятор выход которого через стабилизирующий регулятор каскадом соединен с входом исполнительного блока.

[5]

Недостатком такой системы является сложность основного (адаптивный регулятор с алгоритмами самонастройки) и дополнительного контура (стабилизирующее устройство) управления.

[6]

Так же известен нечеткий регулятор с лингвистической обратной связью для управления технологическими процессами. Данное изобретение относится к области управления технологическими процессами. Технический результат заключается в снижении времени отклика и расширении области применения нечетких регуляторов. Нечеткий регулятор включает фаззификатор с шестью входными каналами, блок нечеткого логического вывода, состоящий из базы правил, базы функций принадлежности и программно реализованного нечеткого сравнивающего устройства, дефаззификатор, исполнительный орган, объект управления и датчик обратной связи. В перечисленной последовательности они соединены в контур. При этом вход датчика обратной связи соединен с выходом объекта управления, а его выход - с одним из входов фаззификатора. Остальные входы фаззификатора по отдельности соединены с автономными источниками сигналов, идентифицирующих следующие фиксированные значения регулируемой величины: верхнее допустимое, верхнее, номинальное, нижнее и нижнее допустимое. Сравнивающее устройство реализовано в составе условной части продукционных правил блока нечеткого логического вывода. Изобретение обеспечивает автоматическое управление сложными быстродействующими технологическими процессами, не имеющими классических математических моделей, постоянная времени которых соизмерима или меньше времени отклика известных нечетких регуляторов [Патент RU 2309443, МПК G05B 13/02, G05B 11/01, 2006.01].

[7]

Недостатком данной системы является сложность проектирования нечеткого регулятора.

[8]

Прототипом предлагаемого решения является система автоматического регулирования давления пара в магистрали барабанного котла [Патент RU 36722 МПК F22B 35/00, 2006.01], содержащая паровой котел с топочным устройством, последовательно соединенную с ним паровую магистраль с установленным в ней датчиком давления, последовательно соединенные задатчик давления и фильтр, выполненные в виде апериодического блока, последовательно соединенные регулятор давления, выполненный в виде пропорционально-интегрирующего блока, корректирующий блок и исполнительный блок (система пылеприготовления), присоединенный выходом к топочному устройству барабанного котла и изменяющий подачу топлива, поступающего в топочное устройство.

[9]

Недостатком этой системы является плохое качество работы при существенном изменении параметров объекта и наличии возмущений (режимы работы системы пылеприготовления, отклонений по количеству подаваемого в топку воздуха, изменение нагрузки котла, изменения в режимах работы других котло- и турбоагрегатов и т.п.), что имеет место для котлов высокого давления, работающих на общую паровую магистраль, работающих в условиях различного качества топлива и режимах работы, отличных от нормальных.

[10]

Задачей создания полезной модели, является улучшение качества работы, а именно уменьшение времени переходного процесса и перерегулирования, в случае существенного изменения параметров объекта и наличии возмущений.

[11]

Решение поставленной задачи достигается за счет того, что в систему, включающую паровую магистраль, с установленным в ней паровым котлом с топочным устройством, датчиком давления, задатчиком давления, исполнительным блоком, в виде системы пылеприготовления, присоединенный выходом к топочному устройству барабанного котла и изменяющий подачу топлива, поступающего в топочное устройство, дополнительно вводится регулятор давления пара, состоящий из нечеткой составляющей и интегральной.

[12]

При этом выход задатчика давления связан с первым входом регулятора, второй вход регулятора связан с выходом датчика давления. Вход датчика давления связан с выходом парового котла с топочным устройством. Паровой котел с топочным устройством связан с исполнительным блоком (система пылеприготовления). Выход регулятора давления пара, состоящего из нечеткой и интегральной составляющих, связан с входом исполнительного блока. Первый вход регулятора давления пара, состоящего из нечеткой и интегральной составляющих, является первым входом первого сумматора, второй вход регулятора является вторым входом первого сумматора. Выход первого сумматора связан с входами параллельно соединенных блока задания первого коэффициента, блока задания второго коэффициента и блока задания третьего коэффициента. В свою очередь выход блока задания первого коэффициента связан с первым входом второго сумматора. Выход блока задания второго коэффициента связан с входом блока дифференциатора, выход которого связан со вторым входом второго сумматора. Выход блока задания третьего коэффициента связан с входом блока интегратора. Выход которого связан со вторым входом второго сумматора, выход второго сумматора связан с входом блока локального нечеткого регулятора. Выход которого связан с первым входом третьего сумматора.

[13]

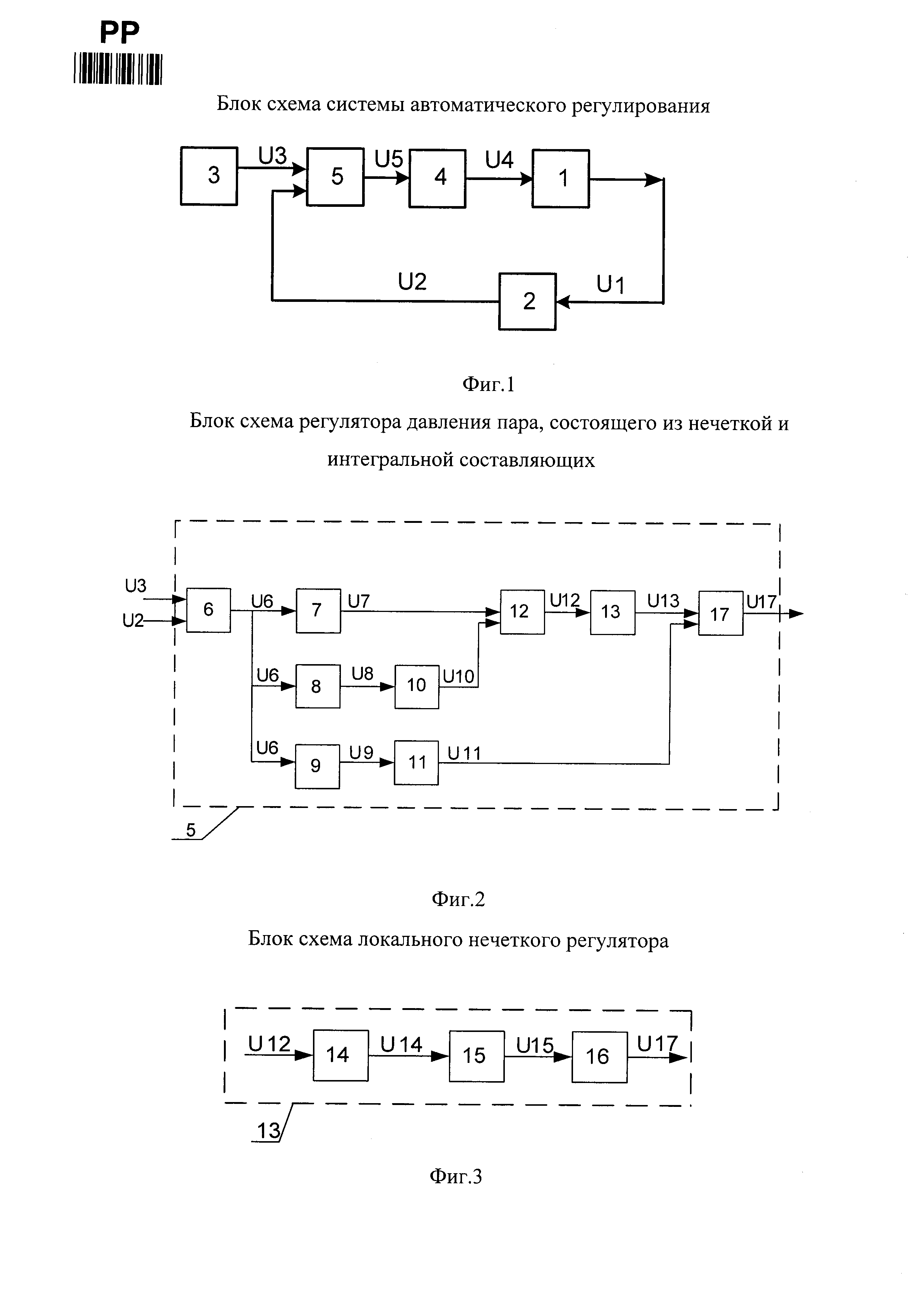
Сущность полезной модели поясняется чертежами, где на фиг. 1 показана блок схема системы автоматического регулирования, на фиг. 2 - блок схема регулятора давления пара, состоящего из нечеткой и интегральной составляющих, на фиг. 3 - блок схема локального нечеткого регулятора.

[14]

Блок схема системы автоматического регулирования, представленная на фиг. 1, включает паровую магистраль с установленными в ней паровой котел с топочным устройством 1, датчик давления 2, задатчик давления 3, исполнительный блок в виде системы пылеприготовления 4, присоединенный выходом к топочному устройству барабанного котла и изменяющий подачу топлива, поступающего в топочное устройство, регулятора давления пара 5, состоящего из нечеткой и интегральной составляющих.

[15]

Блок схема системы регулятора давления пара 5, представлена на фиг. 2 и состоит из первого сумматора 6, блока задания первого коэффициента 7, блока задания второго коэффициента 8, блока задания третьего коэффициента 9, блока дифференциатора 10, блока интегратора 11, второго сумматора 12, блока локального нечеткого регулятора 13, третьего сумматора 17.

[16]

Блок схема локального нечеткого регулятора 13 представлена на фиг. 3 и состоит из блока фазификации 14, блока правил логического вывода 15, блока дефазификации 16.

[17]

Обобщенный объект регулирования включает последовательно установленные в паровой магистрали паровой котел с топочным устройством 1, датчик давления 2 и может быть описан в виде передаточной функции:

[18]

[19]

где y(t) - скалярный выход объекта; u(t) - скалярное управление; p=d/dt - оператор дифференцирования; τ=const>0 - неизвестное постоянное запаздывание; a(p) и b(p) - гурвицевы полиномы.

[20]

В блок схеме регулятора давления пара 5, состоящего из нечеткой и интегральной составляющих, имеются три блока задания коэффициентов 7, 8, 9, которые определяются для каждого объекта на этапе эмитационного моделирования.

[21]

В блок схеме локального нечеткого регулятора 13 имеется блок фазификациии 14, в котором входной сигнал преобразуется в лингвистические переменные согласно функциям принадлежности, которые он содержит. Данные функции составляет эксперт, который определяет количество функций принадлежности, их форму и численные значения. Блок правил логического вывода 15 содержит логические правила, составленные экспертом, на основании которых и происходит нечеткий логический вывод нечетких множеств. В результате происходит преобразование сигнала U14 в U15. Математически данные правила можно представить следующим образом:

[22]

1. Если A<0 и B<0, то C - отрицательно-маленькая.

[23]

2. Если A<0 и B=0, то C - отрицательно-маленькая.

[24]

3. Если A<0 и B>0, то C<0.

[25]

4. Если A=0 и B<0, то C - отрицательно-маленькая.

[26]

5. Если A=0 и B=0, то C=0.

[27]

6. Если A=0 и B>0, то C - положительно-маленькая.

[28]

7. Если A>0 и B<0, то C - положительно-маленькая.

[29]

8. Если A>0 и B=0, то C - положительно-маленькая.

[30]

9. Если A>0 и B>0, то C>0.

[31]

10. Если A>0 и B<0, то C=0.

[32]

11. Если A<0 и B<0, то C=0.

[33]

где A - ошибка системы, B - изменение ошибки, C - выход ошибки системы.

[34]

Блок дефазификации 16 выполняет преобразование из нечеткого значения сигнала U15 в четкое значение выходного сигнала локального нечеткого регулятора U16 согласно методу дефазификации. В качестве метода дефазификации может быть использован любой известный метод дефазификации.

[35]

Заявляемая система функционирует следующим образом.

[36]

Выходной сигнал U3=r задатчика давления 3 поступает на первый вход сумматора 6 регулятора давления пара 5, состоящего из нечеткой (7, 8) и интегральной (9) составляющих, на второй вход сумматора 6 регулятора давления пара 5 поступает сигнал U2=y с выхода датчика давления 2, на вход которого подается сигнал U1 с выхода парового котла с топочным устройством. Выход регулятора давления пара 5 в виде сигнала U5=U17 подается на вход исполнительного блока 4. С выхода исполнительного блока 4 сигнал U4 поступает на вход парового котла с топочным устройством 1 (фиг. 1).

[37]

На фиг. 2 первый сумматор 6 осуществляет алгебраическое сложение с соответствующими знаками двух входов регулятора и формирует сигнал U6=e=r-y, который подается на вход блока задания первого коэффициента 7. Сигнал U6 подается так же на вход блока задания второго коэффициента 8 и вход блока задания третьего коэффициента 9. Сигнал U8 с выхода блока задания второго коэффициента поступает на вход блока дифференциатора 10 и формирует сигнал U10. Сигнал U7 с выхода блока задания первого коэффициента и U10 поступают на первый и второй входы второго сумматора 12 соответсвенно, в котором происходит алгебраическое сложение этих сигналов. Сигнал U12=U7+U10, с соответствующими знаками, с выхода второго сумматора поступает на вход блока локального нечеткого регулятора 13, формируя тем самым сигнал U13. Сигнал U13 поступает на первый вход третьего сумматора 17. Сигнал U9 с блока задания третьего коэффициента 9 поступает на вход блока интегратора 11. Сигнал U11 с выхода блока интегратора 11 поступает далее на второй вход третьего сумматора 17. Выходной сигнал U18 равен U13+U11, с соответствующими знаками.

[38]

На фиг. 3 сигнал U12 поступает на вход блока фазификации 14 и формирует сигнал U14, далее сигнал U14 поступает на вход блока правил логического вывода 15 и формирует сигнал U15. Затем сигнал U15 поступает на вход блока дефазификации 16 и формирует сигнал U16. Важно отметить, что сигнал U16 равен U13. Далее сигнал U13=U16 поступает на первый вход третьего регулятора 17, сигнал с которого равен сигналу управления U5 поступающего на объект 4.

[39]

Технический результат заключается в улучшении качества работы, а именно уменьшение времени переходного процесса и перерегулирования, в случае существенного изменения параметров объекта.

[40]

Данное устройство может быть реализовано промышленным способом, на основе стандартной элементарной базы.

Как компенсировать расходы
на инновационную разработку
Похожие патенты