патент
№ RU 137342
МПК F16B4/00
Номер заявки
2013132789/12
Дата подачи заявки
15.07.2013
Опубликовано
10.02.2014
Страна
RU
Как управлять
интеллектуальной собственностью
Чертежи 
1
Реферат

Соединение бандажа с колесным центром колеса составного типа, включающее бурт бандажа и стопорное кольцо, фиксирующие осевое положение бандажа относительно колесного центра, содержащее углубления прямоугольной формы на охватываемой поверхности колесного центра с максимальной глубиной, равной половине величины натяга, и суммарной геометрической площадью оснований углублений 30-35% от номинальной площади сопряжения, отличающееся тем, что охватываемая поверхность колесного центра содержит два ряда углублений, один из них размещен со стороны бурта бандажа, другой - со стороны стопорного кольца, углубления каждого ряда смещены на угол, равный половине углового расстояния между смежными углублениями ряда, при этом каждое углубление выполнено в виде лыски с плоским основанием, сопрягаемым под углом к соответствующей ряду торцовой поверхности, и выходом по галтели на поверхность сопряжения с осевым расстоянием между углублениями рядов не более 0,2 ширины колесного центра.

Формула изобретения

Соединение бандажа с колесным центром колеса составного типа, включающее бурт бандажа и стопорное кольцо, фиксирующие осевое положение бандажа относительно колесного центра, содержащее углубления прямоугольной формы на охватываемой поверхности колесного центра с максимальной глубиной, равной половине величины натяга, и суммарной геометрической площадью оснований углублений 30-35% от номинальной площади сопряжения, отличающееся тем, что охватываемая поверхность колесного центра содержит два ряда углублений, один из них размещен со стороны бурта бандажа, другой - со стороны стопорного кольца, углубления каждого ряда смещены на угол, равный половине углового расстояния между смежными углублениями ряда, при этом каждое углубление выполнено в виде лыски с плоским основанием, сопрягаемым под углом к соответствующей ряду торцовой поверхности, и выходом по галтели на поверхность сопряжения с осевым расстоянием между углублениями рядов не более 0,2 ширины колесного центра.

Описание

[1]

Полезная модель относится к железнодорожному транспорту, в частности, к колесам составного типа, и может быть использовано для соединения по цилиндрическим поверхностям с натягом.

[2]

Известно соединение бандажа с колесным центром, осуществляемое тепловым способом с натягом, реализуемым при сборке [1]. После насадки бандажа на колесный центр в выточку бандажа заводят стопорное кольцо и обжимают бурт бандажа, тем самым фиксируют осевое положение бандажа относительно колесного центра. Натяг создает на поверхностях сопряжения контактные давления и силы трения, позволяющие передавать рабочие нагрузки. В эксплуатации колес составного типа происходят провороты бандажей на колесных центрах. Это наблюдается, например, при действии механических нагрузок, которые в три-пять раз превышают нагрузки при трогании колеса с места [2].

[3]

Частоту проворотов охватывающей детали относительно охватываемой в соединении с натягом можно снизить выполнением канавок или углублений на одной из сопряженных поверхностей соединения. Заполнение канавок материалом сопрягаемой детали после сборки с натягом способствует повышению несущей способности соединения [3]. Однако это не обеспечивает достаточную прочность соединения в экстремальных условиях эксплуатации.

[4]

Осевая фиксация бандажа на колесном центре дает возможность выполнить на сопрягаемых поверхностях соединения углубления прямоугольной формы с осью, параллельной оси бандажа, с максимальной глубиной, равной половине величины натяга, и суммарной геометрической площадью оснований углублений 30-35% от номинальной площади сопряжения [4]. Это способствует передаче соединением большего крутящего момента. Вместе с этим, выполнение углублений прямоугольной формы с замкнутым контуром по периметру каждого углубления ограничивает глубину их заполнения материалом сопряженной поверхности. Это снижает клиновой эффект в нагруженном соединении, не обеспечивает достаточную прочность соединения в экстремальных условиях эксплуатации.

[5]

Задачей, на решение которой направлено заявляемое изобретение, является повышение прочности и эксплуатационной надежности соединения бандажа с колесным центром.

[6]

Предлагаемое устройство соединения бандажа с колесным центром колеса составного типа, включающее бурт бандажа и стопорное кольцо, фиксирующие осевое положение бандажа относительно колесного центра, содержащее углубления прямоугольной формы на охватываемой поверхности колесного центра с максимальной глубиной, равной половине величины натяга, и суммарной геометрической площадью оснований углублений 30-35% от номинальной площади сопряжения, выполнено с колесным центром, охватываемая поверхность которого содержит два ряда углублений, один из них размещен со стороны бурта бандажа, другой - со стороны стопорного кольца, углубления каждого ряда смещены на угол, равный половине углового расстояния между смежными углублениями ряда, при этом каждое углубление выполнено в виде лыски с плоским основанием, сопрягаемым под углом к соответствующей ряду торцовой поверхности и выходом по галтели на поверхность сопряжения с осевым расстоянием между углублениями рядов не более 0,2 ширины колесного центра.

[7]

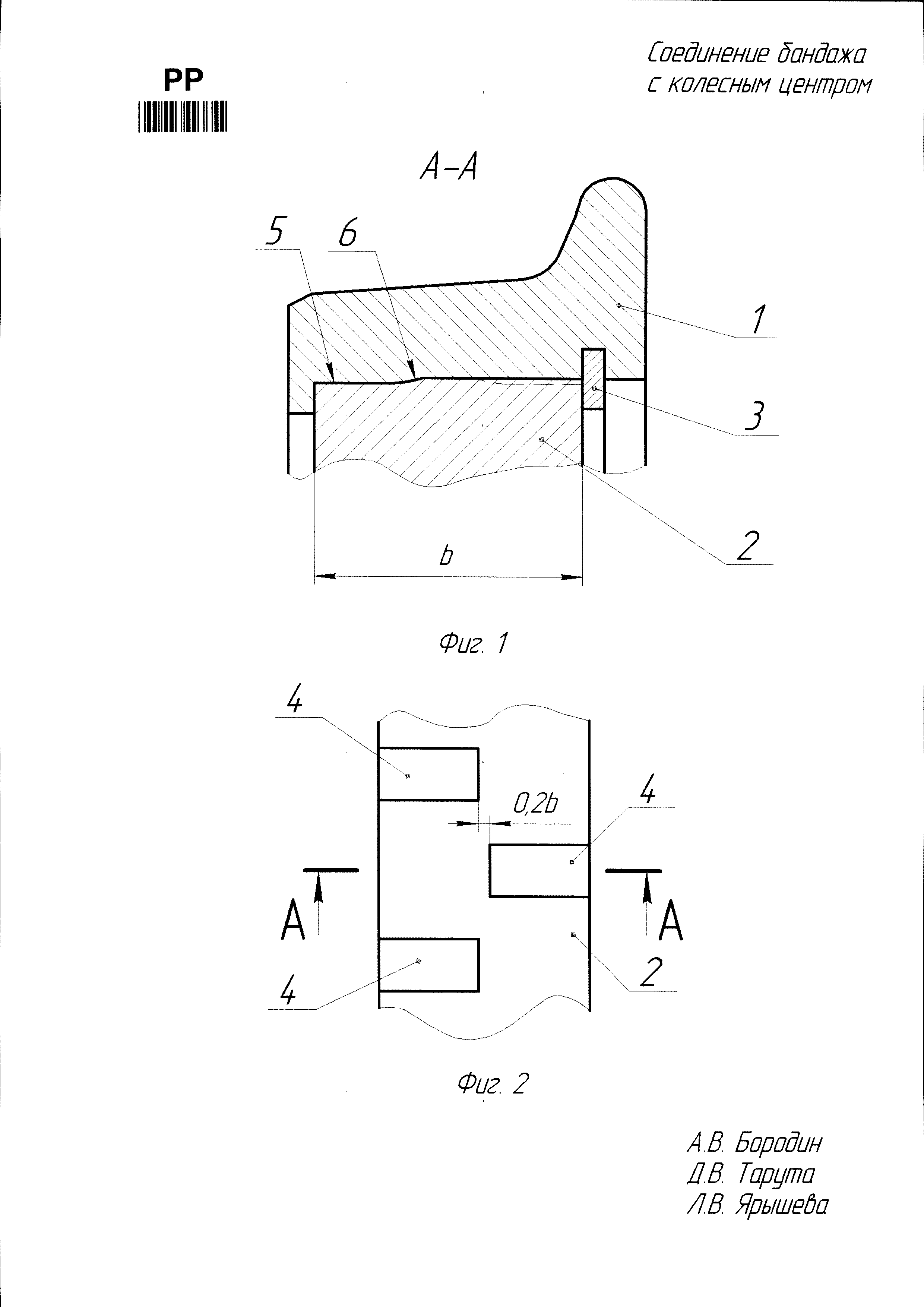
Решение технической задачи поясняются рисунками: фиг. 1 - соединение колесного центра (сечение Α-A, фиг. 2) с бандажом, установленным на колесный центр с натягом; фиг. 2 - колесный центр с углублениями (развертка охватываемой поверхности).

[8]

Соединение с натягом состоит из охватывающей детали - бандажа 1, охватываемой детали - колесного центра 2 и стопорного кольца 3. На охватываемой поверхности колесного центра 2 выполнены два ряда углублений 4: один из них размещен со стороны бурта бандажа, другой - со стороны стопорного кольца. Углубления каждого ряда смещены на угол, равный половине углового расстояния между смежными углублениями ряда.

[9]

Каждое углубление, выполненное в виде лыски с плоским основанием 5 и галтелью 6, не имеет замкнутого контура. Длина лыски ограничивается торцовой поверхностью колесного центра и галтелью лыски в зоне давления рельса на бандаж колеса, при этом осевое расстояние между углублениями рядов не превышает 0,2 ширины колесного центра.

[10]

Для сборки соединения охватывающую деталь нагревают до температуры, обеспечивающей сборочный зазор, и устанавливают на сопрягаемую деталь. Образование натяга при охлаждении деталей 1 и 2 сопровождается упругой деформацией контактирующих поверхностей, при этом углубления с плоским основанием, открытые по периметру со стороны торцовых поверхностей колесного центра, обеспечивают более полное заполнение углублений материалом охватывающей поверхности. Это существенно усиливает клиновой эффект в нагруженном соединении и способствует передаче соединением значительно большего крутящего момента.

[11]

Результаты испытаний предложенного технического решения подтвердили повышение нагрузочной способности и надежности соединения бандажа с колесным центром в условиях эксплуатации.

[12]

Список использованных источников

[13]

1. Тепловозы: Основы теории и конструкции: Учеб. для техникумов / В.Д. Кузьмич, И.П. Бородулин, Э.А. Пахомов и др.; Под общ. ред. В.Д. Кузьмича. М: Транспорт, 1991. С. 286-292.

[14]

2. О надежности соединения бандажа с колесным центром / В.Г. Иноземцев, В.В. Иванов и др. // Вестник ВНИИЖТа. 1986. №8. С. 29-33.

[15]

3. Пат. 2096157 Российская Федерация, В23Р 11/02. Способ соединения с натягом деталей типа вал-втулка / А.В. Бородин, В.М. Волков. №95112020/02; Заявлено 11.07.1995; Опубл. 20.11.1997. Бюл. №32. 6 с.

[16]

4. Пат. 118697 Российская Федерация, МПК F16B 4/00. Соединение с натягом бандажа с колесным центром / А.В. Бородин, Л.В. Ярышева. Заявлено 12.03.2012; Опубл. 27.07.2012. Бюл. №21.

Как компенсировать расходы
на инновационную разработку
Похожие патенты