патент
№ RU 136407
МПК B61F3/04

КОЛЕСНО-МОТОРНЫЙ БЛОК ЛОКОМОТИВА

Авторы:
Салова Ольга Григорьевна
Номер заявки
2013140317/11
Дата подачи заявки
29.08.2013
Опубликовано
10.01.2014
Страна
RU
Как управлять
интеллектуальной собственностью
Чертежи 
3
Реферат

Колесно-моторный блок локомотива, содержащий колесную пару, тяговый редуктор, тяговый электродвигатель, опирающийся на ось колесной пары через напрессованные на нее подшипники качения, отличающийся тем, что, с целью повышения надежности колесно-моторного блока и увеличения межремонтного периода, тяговый электродвигатель установлен с опорой на раму тележки при помощи шарнирной подвески с упругими элементами, колесная пара содержит зубчатое колесо с упругими элементами, в ступице которого выполнены кольцевые проточки, а подшипники качения содержат внутренние кольца, зафиксированные в осевом направлении ступицей зубчатого колеса с одной стороны и лабиринтным кольцом с другой, при этом между лабиринтным кольцом и ступицей колесного центра установлен стопорный хомут.

Формула изобретения

Колесно-моторный блок локомотива, содержащий колесную пару, тяговый редуктор, тяговый электродвигатель, опирающийся на ось колесной пары через напрессованные на нее подшипники качения, отличающийся тем, что, с целью повышения надежности колесно-моторного блока и увеличения межремонтного периода, тяговый электродвигатель установлен с опорой на раму тележки при помощи шарнирной подвески с упругими элементами, колесная пара содержит зубчатое колесо с упругими элементами, в ступице которого выполнены кольцевые проточки, а подшипники качения содержат внутренние кольца, зафиксированные в осевом направлении ступицей зубчатого колеса с одной стороны и лабиринтным кольцом с другой, при этом между лабиринтным кольцом и ступицей колесного центра установлен стопорный хомут.

Описание

[1]

Полезная модель относится к области рельсовых транспортных средств и может быть использована в конструкциях маневровых и магистральных тепловозов.

[2]

Из уровня техники известен колесно-моторный блок локомотива, состоящий из тягового электродвигателя, якорь которого с помощью шестерен связан с зубчатыми колесами, установленными на оси колесной пары. Каждое из зубчатых колес на своих торцевых поверхностях, обращенных в сторону остова ТЭД, снабжено кольцевой выточкой, в которой расположены опоры качения, выполненные, например, в виде шариковых радиально-упорных подшипников, размещенных в вертикальной плоскости упомянутых кольцевых выточек под углом 90° друг к другу и установленных на пальцах жестко закрепленных на упомянутом остове ТЭД. Технический результат заключается в повышении надежности за счет обеспечения устойчивого межосевого расстояния между зубчатыми колесами привода (патент РФ №2399528, B61C 9/00, опубл. 20.09.10.).

[3]

Недостатком известного технического решения является то, что подшипники 11 качения (фиг. 3) установлены в кольцевую проточку шестерни 6 (фиг. 2) с зазором, следствием чего является их неравномерная загруженность за счет допусков при изготовлении и перекоса наружных колец подшипников, а также за счет зазоров увеличиваются ударные нагрузки от неподрессоренной массы ТЭД как на указанные подшипники, так и на зубчатое колесо, что, в свою очередь, приводит к снижению прочности, выносливости и несущей способности узла в целом.

[4]

Также недостатком данной конструкции является то, что неподрессоренная масса ТЭД опирается через подшипники 11 на тяговые шестерни 6, что увеличивает в ее теле изгибные напряжения от воздействия динамических радиальных и осевых сил, снижая ресурс выносливости зубчатого колеса.

[5]

Наиболее близким аналогом из известных является колесно-моторный блок локомотива, в котором тяговые электродвигатели опираются на оси колесных пар через напрессованные на них подшипники качения (патент РФ №117377, B61C 9/50 от 26.01.2012, опубл. 27.06.2012).

[6]

К недостаткам известного устройства относится отсутствие технической возможности предупреждения сползания внутренних колец подшипников под действием осевых сил при движении тепловоза в криволинейных участках пути. Это снижает надежность колесно-моторного блока в целом и увеличивает затраты на ремонт.

[7]

Техническим результатом полезной модели является повышение надежности колесно-моторного блока, а также увеличение межремонтного периода.

[8]

Указанный технический результат достигается тем, что в известном колесно-моторном блоке локомотива, содержащем колесную пару, тяговый редуктор, тяговый электродвигатель, опирающийся на ось колесной пары через напрессованные на нее подшипники качения, новым является то, что тяговый электродвигатель выполнен с опорой на раму тележки при помощи шарнирной подвески с упругими элементами. Колесная пара содержит зубчатое колесо с упругими элементами, в ступице которого выполнены кольцевые проточки. Подшипники качения содержат внутренние кольца, зафиксированные в осевом направлении с двух сторон: ступицей зубчатого колеса с одной стороны и лабиринтным кольцом с другой. Новым также является и то, что между лабиринтным кольцом и ступицей колесного центра установлен стопорный хомут.

[9]

Применение шарнирной подвески с упругими элементами для ТЭД, опирающегося на раму тележки, обеспечивает достижение синхронизации собственной частоты колебаний подвески с частотой вращения электромагнитного поля тягового электродвигателя. Фиксация подшипников в осевом направлении с двух сторон обеспечивает необходимую жесткость конструкции, а применение стопорного хомута, установленного между лабиринтным кольцом и ступицей колесного центра, предупреждает сползание внутренних колец подшипников под действием осевых сил, особенно проявляющихся при движении локомотива в криволинейных участках пути. Таким образом, заявляемое техническое решение обеспечивает достижение технической задачи повышения надежности колесно-моторного блока в целом и увеличения периода межремонтного обслуживания.

[10]

Вся совокупность заявленных существенных признаков обеспечивает соответствие заявляемой полезной модели критерию патентоспособности «новизна».

[11]

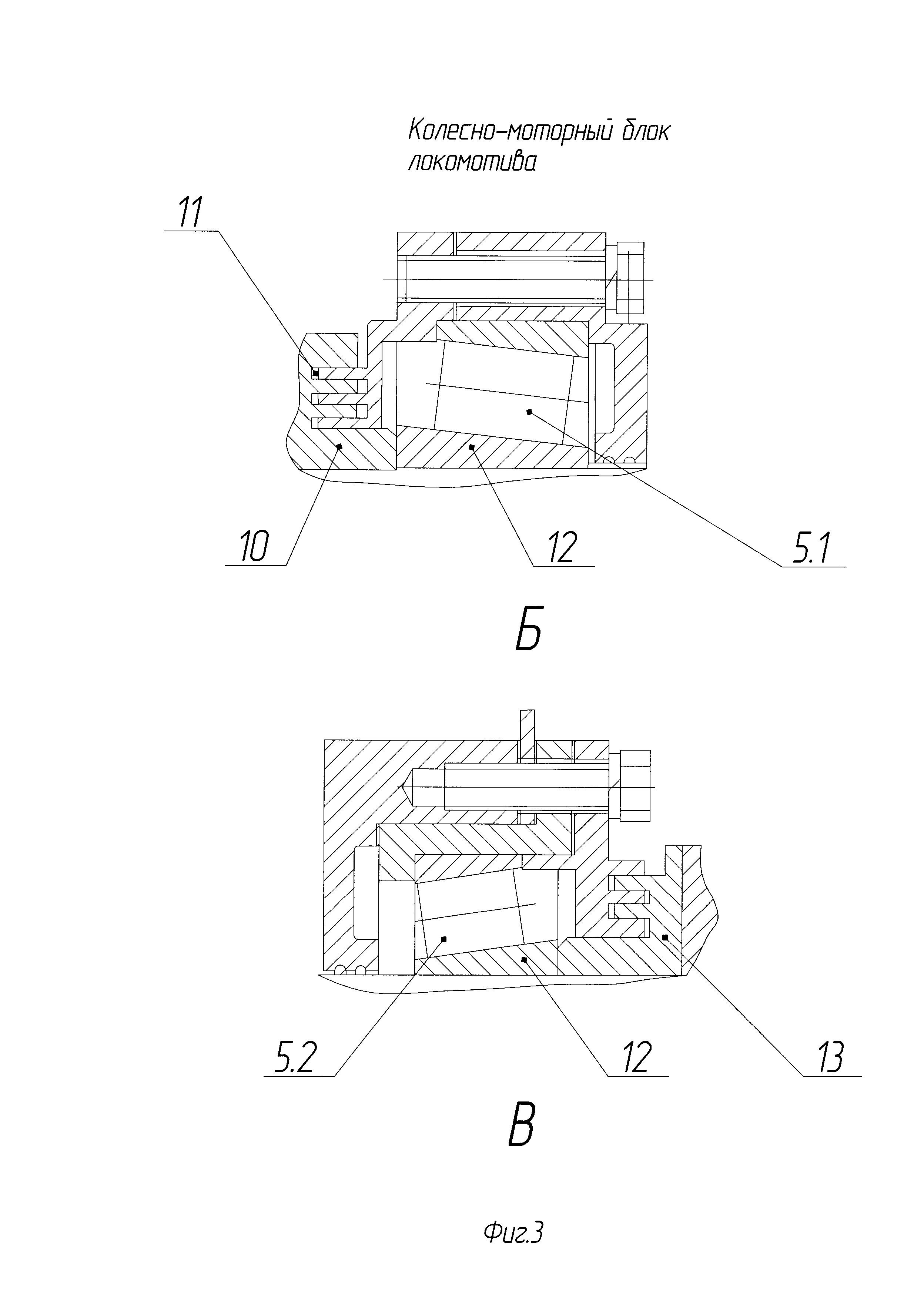
Заявляемая полезная модель представлена на следующих графических изображениях:

[12]

На фиг. 1 - общий вид колесно-моторного блока локомотива; вид А - страховочное устройство;

[13]

На фиг. 2 - общий вид колесной пары;

[14]

На фиг. 3 - вид Б, вид В на фиг. 2 - подшипники качения.

[15]

Колесно-моторный блок локомотива (фиг. 1-3) содержит колесную пару 1, тяговый редуктор 2, тяговый электродвигатель 3, опирающийся с одной стороны на ось 4 колесной пары через напрессованные на нее подшипники 5.1, 5.2 качения. С другой стороны тяговый электродвигатель опирается на раму 6 тележки при помощи шарнирной подвески 7 с упругими элементами 8. Колесная пара содержит упругое зубчатое колесо 9, в ступице 10 которого расположены кольцевые проточки 11. Подшипники качения содержат внутренние кольца 12. Внутренние кольца подшипников зафиксированы в осевом направлении ступицей зубчатого колеса с одной стороны и лабиринтным кольцом 13 с другой. Между лабиринтным кольцом и ступицей установлен стопорный хомут 14.

[16]

Работает колесно-моторный блок следующим образом. Колесно-моторный блок (фиг. 1) осуществляет кинематическую и силовую связь между колесной парой 1 и тяговым электродвигателем 3. Тяговый редуктор 2 обеспечивает преобразование электрической энергии ТЭД в механическую работу колесной пары. Вращающий момент ТЭД передается на колесную пару через одноступенчатую зубчатую передачу: шестерню, напрессованную через вал якоря и находящуюся в постоянном зацеплении с упругим зубчатым колесом 9. При сборке колесно-моторного блока на ось 4 колесной пары опирают тяговый электродвигатель с одной стороны, а с другой стороны электродвигатель опирается на раму 6 тележки при помощи шарнирной подвески 7 с упругими элементами 8. При сборке колесной пары (фиг. 2) на ось тепловым методом насаживают упругое зубчатое колесо, в ступице 10 которого предварительно выполняют кольцевые проточки 11. Кольцевые проточки заполняют консистентной смазкой «Буксол», после чего на ось надевают подшипниковую крышку, которую центрируют по проточкам в ступице. Затем со стороны проточек 11 на зубчатом колесе, устанавливают внутреннее кольцо 12 конического подшипника 5.1 до упора в ступицу упругого зубчатого колеса (фиг. 3). В корпус подшипника тепловым методом устанавливают наружное кольцо подшипника. На внутреннее кольцо наносят консистентную смазку. Корпус подшипника с посаженным наружным кольцом надевают на внутреннее кольцо подшипника, затягивают болтами. Болты законтривают. Установленный корпус подшипника болтами соединяют с крышкой подшипника. Тепловым методом производят посадку лабиринтного кольца 13. Затем аналогичным образом устанавливают внутреннее кольцо второго конического подшипника 5.2 на ось колесной пары. Для предотвращения осевого перемещения подшипников между лабиринтным кольцом и ступицей устанавливают стопорный хомут 14.

[17]

Заявленная полезная модель прошла испытания в составе опытного образца маневрово-вывозного тепловоза. Колесно-моторный блок локомотива предназначен для использования в промышленных условиях и изготавливается в промышленных условиях, что позволяет считать заявленную полезную модель соответствующей критерию патентоспособности «промышленная применимость».

Как компенсировать расходы
на инновационную разработку
Похожие патенты