патент
№ RU 135146
МПК G01N33/24
Номер заявки
2013110614/15
Дата подачи заявки
11.03.2013
Опубликовано
27.11.2013
Страна
RU
Как управлять
интеллектуальной собственностью
Чертежи 
1
Реферат

Устройство для измерения твердости почвы, включающее корпус с направляющими штангами, имеющими различную конструктивную форму - цилиндрическую и винтообразную, на которых подвижно установлен измерительный механизм с подпружиненным штоком для вдавливания в почву, имеющим наконечник, и записывающим устройством с узлом протяжки бумажной ленты, состоящий из двух катушек, причем тянущая катушка установлена на винтовой штанге и снабжена храповиком, также храповик установлен на винтовой штанге.

Формула изобретения

Устройство для измерения твердости почвы, включающее корпус с направляющими штангами, имеющими различную конструктивную форму - цилиндрическую и винтообразную, на которых подвижно установлен измерительный механизм с подпружиненным штоком для вдавливания в почву, имеющим наконечник, и записывающим устройством с узлом протяжки бумажной ленты, состоящий из двух катушек, причем тянущая катушка установлена на винтовой штанге и снабжена храповиком, также храповик установлен на винтовой штанге.

Описание

[1]

Предлагаемая полезная модель относится к средствам определения твердости почвы, в частности, для измерения твердости почвы корнеобитаемого слоя различных растений в сельском и лесном хозяйстве, что особенно важно при исследовании и проектировании почвообрабатывающих машин.

[2]

Твердость почвы является важной физической характеристикой показывающей ее способность сопротивляться различным нагрузкам и деформациям. Для определения этого показателя существуют специальные приборы - твердомеры различных типов: ударного действия, со статической нагрузкой, с принудительным вдавливанием в почву цилиндрического или конического наконечника. К ним относятся твердомеры Горячкина, Кчинского, Далина, Ревякина, ВИСХОМа, ВИМа и др.

[3]

В сельском хозяйстве широко распространен твердомер системы акад. В.П.Горячкина (Сабликов М.В. Сельскохозяйственные машины. Ч.2. Основы теории и технологического расчета [Текст]: учеб. Пособие/ М.В.Сабликов. - М.: «Колос», 1968 - 296 с.), имеющий основание, в отверстие которого вставлен шток с наконечником, вкрученным в резьбовое отверстие в торце штока. Верхний конец штока связан с цилиндрической пружиной, на которую опирается нажимная планка с рукоятками, имеющая возможность перемещения вдоль направляющих штанг. Твердомер снабжен пишущим механизмом, фиксирующим изменение длины пружины и перемещение штока. Определение твердости почвы осуществляется путем регистрации пишущим механизмом величины сжатия пружины под влиянием сопротивления, воспринимаемого наконечником при вдавливании его в почву.

[4]

Однако все рассмотренные твердомеры громоздки и имеют большой вес. Поэтому применение их в полевых условиях связано с большими неудобствами. Кроме того способ воздействия на почву вертикально погружаемого плунжера отличается от воздействия на нее рабочих органов сельскохозяйственных и лесохозяйственных орудий.

[5]

Известно устройство для измерения твердости почвы (пат. РФ №2394240 МПК G01N 33/24), которое включает станину с фиксаторами, шток и рычажную систему и обеспечивает возможность определения твердости почвы с различной структурой сложения по генетическим горизонтам. На основании полученной информации позволяет рекомендовать необходимые методы ее обработки. Но эти замеры могут проводиться только в вертикальной плоскости, что является недостаточным для анализа деформационных свойств почвы при проектировании новых почвообрабатывающих рабочих органов машин.

[6]

Известно устройство для измерения твердости почвы, включающее горизонтальные и вертикальные платформы с фиксаторами на которых смонтированы пластины со штоками, через отверстие в плоскостях соединенные П-образной вставкой с измерительным механизмом (пат. РФ №2433399 МПК G01N 33/24).

[7]

Во-первых, это устройство громоздкое, во-вторых, замеры твердости почвы во взаимноперпендикулярных плоскостях, расположенных на близком расстоянии друг от друга уже при их проведении нарушают ее физическое состояние, что приведет к неправильным показателям, а следовательно и ошибочным выводам.

[8]

Особенно важно не допускать этого при изучении поперечных зон деформации почвы различными рабочими органами сельскохозяйственных и лесохозяйственных машин, которые проводятся в небольших выкапываемых для этого шурфах.

[9]

Цель полезной модели - снижение трудоемкости при послойном определении твердости почвы в ризосфере корневых систем растений и зоне обработки ее рабочими органами сельхозмашин.

[10]

Технический результат достигается тем, что предлагаемое устройство для измерения твердости почвы, включающее корпус с направляющими штангами и измерительный механизм со штоком и пружиной, имеет различную конструктивную форму направляющих штанг - цилиндрическую и винтообразную, на которых подвижно установлен измерительный механизм с подпружиненным штоком и записывающим устройством включающим узел протяжки бумажной ленты, состоящий из двух катушек, причем тянущая катушка установлена на винтовой штанге и снабжена храповиком, так же храповик установлен и на винтовой штанге.

[11]

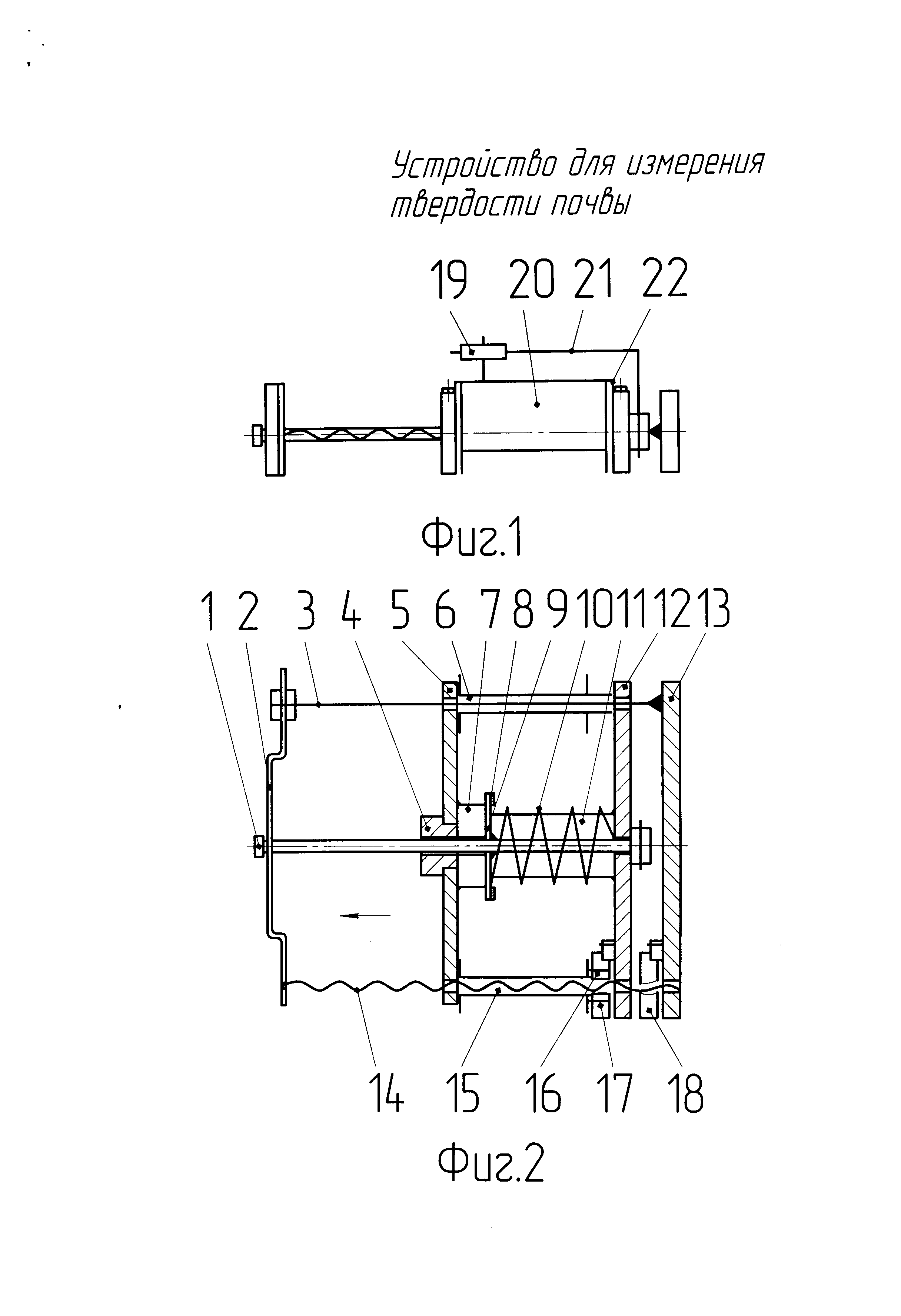
На фиг.1 представлено устройство для измерения твердости почвы, вид сбоку; на фиг.2 - то же, вид сверху.

[12]

Устройство состоит из двух основных узлов: корпуса и измерительного механизма с записывающим устройством. Корпус включает опорную 2 и скрепляющую 13 пластины, которые связывают две направляющие штанги 3 и 14; последняя штанга - винтообразная. Вдоль направляющих штанг перемещается измерительный механизм, включающий планки 5 и 12 скрепленные скобой 22. Между планками 5 и 12 на направляющих штангах размещены две катушки 6 и 15 с бумажной лентой 20, причем катушка 15 - тянущая, подвижно расположена на винтовой направляющей штанге, имеет гайку 16 жестко связанную с катушкой 15, с таким же шагом винта, что и винтовая направляющая, и храповое устройство 17. Подобный храповик 18 установлен на винтовой штанге 14.

[13]

К нижней планке 12 измерительного механизма припаян трубчатый корпус 11 с двумя продольными пазами симметрично расположенными вдоль него. Планка 5 имеет короткий патрубок 7 и втулку 4. На трубчатый корпус устанавливается рабочая пружина 10, один конец которой опирается на планку 12 измерительного механизма, а другой (верхний) - в круглую шайбу 8, жестко связанную со штоком 1 через посредство двух поперечин 9, движущихся по пазам трубчатого корпуса 11. В торец штока 1 ввернут наконечник определенного диаметра. На другом конце штока прикреплен поводок 21 с установленной на нем державкой 19 с записывающим карандашом.

[14]

Определение твердости почвы с помощью предлагаемого устройства может проводиться на горизонтальной поверхности почвы (когда шток с наконечником 1 вертикально вдавливается в почву) и на вертикальной поверхности при работе в шурфах (когда шток с наконечником горизонтально вдавливается в почву).

[15]

Работает устройство следующим образом. При перемещении измерительного механизма в направлении стрелки катушка 15 движется по винтовой штанге фиксируемой храповиком 18, и вращается, наматывая на себя бумажную ленту. Сопротивление вхождению штока с наконечником в почву уравновешивается пружиной, деформация которой пропорциональна действующему усилию, которое регистрируется записывающим устройством на бумажной ленте 20, движущейся по поверхности скобы 22, пропорционально глубине погружения. Средняя ордината диаграммы при погружении наконечника на определенную глубину характеризует твердость почвы, величина которой рассчитывается по общеизвестной формуле: , где: h - средняя величина ординаты диаграммы; g - масштаб тарировочной диаграммы пружины твердомера; s - площадь поперечного сечения наконечника.

[16]

Движение бумажной ленты и запись диаграммы производится автоматически при перемещении измерительного механизма с записывающим устройством. По окончании замера измерительный механизм устройства переводится в первоначальное положение, в результате чего шток с наконечником извлекается из почвы. При этом тянущая катушка стопорится храповым механизмом 17 и не вращается, а вращается винтообразная направляющая штанга. После установки измерительного механизма в исходное положение, не проводя никаких дополнительных операций можно делать следующие замеры.

[17]

Во ВНИАЛМИ с помощью этого прибора проведено множество замеров твердости почвы при различных испытаниях рабочих органов почвообрабатывающих машин и орудий. При небольших размерах и малом весе (200 г.) устройство очень производительно и удобно в эксплуатации. За 2…3 мин. один человек может снять до 20 диаграмм, в то время как твердомерами других моделей за это же время снимается не более двух-трех диаграмм.

Как компенсировать расходы
на инновационную разработку
Похожие патенты