патент
№ RU 133872
МПК E21B43/263

ПОРОХОВОЙ ГЕНЕРАТОР

Авторы:
Семенов Сергей Анатольевич
Правообладатель:
Номер заявки
2012156741/03
Дата подачи заявки
25.12.2012
Опубликовано
27.10.2013
Страна
RU
Как управлять
интеллектуальной собственностью
Чертежи 
2
Реферат

1. Пороховой генератор, состоящий из пороховых зарядов вдоль оси, которых выполнены отверстия, пороховые заряды соединены между собой тросом между верхней и нижней крышками, в верхнем и нижнем пороховых зарядах установлены спирали накаливания, отличающийся тем, что трос, соединяющий отдельные пороховые заряды, закреплен неподвижно в верхней крышке, проходит через отверстия, выполненные в пороховых зарядах и в нижней крышке, ниже которой установлено устройство регулировки натяжения троса, причем на боковой поверхности пороховых зарядов в пазах установлены ролики, а верхняя крышка выполнена с внутренней резьбой для соединения с гибкой трубой колтюбинга.2. Пороховой генератор по п.1, отличающийся тем, что в верхней крышке выполнены отверстия для проводов электрического соединения спиралей накаливания с проводниками, расположенными в гибкой трубе.3. Пороховой генератор по п.1, отличающийся тем, что ролики установлены на осях, закрепленных в отверстиях, расположенных перпендикулярно пазам, выполненным на боковой поверхности пороховых зарядов.4. Пороховой генератор по п.1, отличающийся тем, что в нижнем пороховом заряде выполнены отверстия для выравнивания давления снаружи и внутри порохового генератора, при его спуске в скважину.5. Пороховой генератор по п.1, отличающийся тем, что наружная поверхность нижнего порохового заряда выполнена конусной.6. Пороховой генератор по п.1, отличающийся тем, что ролики и оси выполнены из того же материала, что и пороховые заряды.7. Пороховой генератор по п.1, отличающийся тем, что устройство натяжения троса выполнено в виде втулки с цилиндрической вставкой, выполненной с пазом вдо

Формула изобретения

1. Пороховой генератор, состоящий из пороховых зарядов вдоль оси, которых выполнены отверстия, пороховые заряды соединены между собой тросом между верхней и нижней крышками, в верхнем и нижнем пороховых зарядах установлены спирали накаливания, отличающийся тем, что трос, соединяющий отдельные пороховые заряды, закреплен неподвижно в верхней крышке, проходит через отверстия, выполненные в пороховых зарядах и в нижней крышке, ниже которой установлено устройство регулировки натяжения троса, причем на боковой поверхности пороховых зарядов в пазах установлены ролики, а верхняя крышка выполнена с внутренней резьбой для соединения с гибкой трубой колтюбинга.

2. Пороховой генератор по п.1, отличающийся тем, что в верхней крышке выполнены отверстия для проводов электрического соединения спиралей накаливания с проводниками, расположенными в гибкой трубе.

3. Пороховой генератор по п.1, отличающийся тем, что ролики установлены на осях, закрепленных в отверстиях, расположенных перпендикулярно пазам, выполненным на боковой поверхности пороховых зарядов.

4. Пороховой генератор по п.1, отличающийся тем, что в нижнем пороховом заряде выполнены отверстия для выравнивания давления снаружи и внутри порохового генератора, при его спуске в скважину.

5. Пороховой генератор по п.1, отличающийся тем, что наружная поверхность нижнего порохового заряда выполнена конусной.

6. Пороховой генератор по п.1, отличающийся тем, что ролики и оси выполнены из того же материала, что и пороховые заряды.

7. Пороховой генератор по п.1, отличающийся тем, что устройство натяжения троса выполнено в виде втулки с цилиндрической вставкой, выполненной с пазом вдоль оси, в боковую поверхность которой упирается стопорный винт.

8. Пороховой генератор по п.7, отличающийся тем, что цилиндрическая вставка выполнена из пружинной стали.

9. Пороховой генератор по п.7, отличающийся тем, что отверстие, выполненное в цилиндрической вставке, равно или больше диаметра троса.

Описание

[1]

Полезная модель относится к нефтегазодобывающей промышленности, а конкретно к пороховым генераторам давления и может быть использовано для интенсификации добычи нефти и газа, вызванной механическим, тепловым и физико-химическим воздействием на нефтегазоносные пласты продуктов сгорания твердого топлива.

[2]

Известен "Газогенератор на твердом топливе для обработки нефтегазовых скважин" по патенту РФ на изобретение №2311529 Изобретение относится к нефтегазодобывающей промышленности и может быть использовано для стимуляции прискважинной зоны нефтегазового пласта твердотопливными зарядами - газогенераторами. Обеспечивает повышение надежности и эффективности устройства, достижение более высокого дебита нефти, газоконденсата и газа в скважинах любой направленности. Сущность изобретения: устройство включает трубчатые цилиндрические заряды, обеспечивающие вибрационный режим горения, воспламенительный заряд и грузонесущий геофизический кабель с элементами крепления конструкции. Согласно изобретению при обработке крутонаклонных, искривленных скважин и горизонтальных скважин, геофизический кабель расположен внутри гибкой непрерывной трубы, повторяющей направления скважины, имеет токопроводящие жилы для подсоединения к проводам инициирующего узла воспламенительного заряда. При этом гибкая непрерывная труба соединена с защитным кожухом - оболочкой вокруг зарядов в виде перфорированной или неперфорированной металлической насосно-компрессорной трубы, или изготовленной из стеклопластика, с помощью деталей, обеспечивающих стягивание зарядов вплотную друг с другом и с ней. Трубчатые цилиндрические заряды имеют длину каналов и разные диаметры этих каналов для обеспечения высокочастотных и низкочастотных импульсов давления при горении этих зарядов. Недостатком газогенератора на твердом топливе для обработки нефтегазовых скважин является сложность его спуска в горизонтальную скважину.

[3]

Известен пороховой канальный генератор давления по патенту РФ на изобретение №2460877. Изобретение относится к нефтегазодобывающей промышленности, а конкретно к пороховым генераторам давления, и может быть использовано для интенсификации добычи нефти и газа, вызванной механическим, тепловым и физико-химическим воздействием на нефтегазоносные пласты продуктов сгорания твердого топлива. Пороховой канальный генератор давления, спускаемый в скважину на геофизическом кабеле, состоит из пороховых зарядов, выполненных в виде цилиндров с центральным каналом и с отверстиями в боковой поверхности порохового заряда, соединенных между крышкой и поддоном тросом. В верхнем и нижнем пороховых зарядах установлены спирали накаливания, электрически соединенные с геофизическим кабелем. Отверстия в боковой поверхности порохового заряда выполнены с наклоном в сторону геофизического кабеля, а угол между центральной осью порохового заряда и осью отверстия в боковой поверхности порохового заряда составляет менее 90°. Обеспечивает повышение эффективности воздействия на нефтегазоносные пласты продуктов сгорания твердого топлива, повышение точности установки устройства в выбранном интервале обработки, предотвращение смещения порохового генератора давления после его включения. Недостатком порохового канального генератора давления является отсутствие возможности обработки продуктивного пласта горизонтальной скважины.

[4]

Известно "Устройство для вскрытия и газодинамической обработке пласта" по патенту РФ на изобретение №194151. Изобретение относится к технике прострелочно-взрывных работ в скважинах и может быть использовано для вторичного вскрытия прискважинной зоны пласта. Обеспечивает возможность создания дополнительного энергоносителя, способного образовывать при срабатывании кумулятивных зарядов в скважине мощный поток газов, движущийся за кумулятивной струей. Сущность изобретения: устройство включает корпусный кумулятивный перфоратор с головкой с загерметизированными боковыми отверстиями, кумулятивными зарядами, наконечником и две герметичные воздушные камеры с атмосферным давлением. Они расположены на концах перфоратора. В воздушных камерах размещены пороховые заряды. Между ними и кумулятивными зарядами помещены защитные шашки из недетонирующего смесевого топлива эластитного типа. Недостатком устройства является сложность его спуска в продуктивный горизонт скважины.

[5]

Известен пороховой генератор и способ его применения по патенту РФ на изобретение №2460873. Группа изобретений относится к нефтегазодобывающей промышленности, конкретно к пороховым генераторам давления, и может быть использовано для интенсификации добычи, нефти и газа, вызванной механическим, тепловым и физико-химическим воздействием на нефтегазоносные пласты продуктов сгорания твердого топлива. Обеспечивает повышение эффективности воздействия на пласт, увеличение давления на этот пласт в интервале обработки, предотвращение выброса из скважины добываемого продукта. Сущность изобретений: пороховой генератор состоит из пороховых зарядов, соединенных между крышкой и поддоном тросом. Не менее чем один пороховой заряд содержит спираль накаливания, электрически соединенную с геофизическим кабелем. Согласно изобретению выше пороховых зарядов на геофизическом кабеле установлен верхний пакер, выполненный в виде эластичной оболочки с пороховым зарядом верхнего пакера, электрической спиралью верхнего пакера и дополнительным пороховым зарядом с детонатором верхнего пакера. Ниже пороховых зарядов установлен нижний пакер, выполненный в виде эластичной оболочки с пороховым зарядом нижнего пакера, электрической спиралью накаливания нижнего пакера и дополнительным зарядом с детонатором нижнего пакера. Толщина проволоки и ее материал накаливания верхнего и нижнего пакеров выполнены такими же, но отличными от спирали накаливания порохового заряда. Способ по изобретению заключается в использовании выше описанного порохового генератора давления. Недостатком порохового генератора является отсутствие возможности обработки продуктивного пласта горизонтальной скважины.

[6]

Известен пороховой генератор давления по патенту РФ на полезную модель №118350. Пороховой генератор давления, спускается в скважину на геофизическом кабеле и состоит из отдельных пороховых зарядов, выполненных в виде цилиндров, соединенных между верхней крышкой и поддоном тросом. В верхнем и нижнем пороховых зарядах установлены спирали накаливания, электрически соединенные с геофизическим кабелем. В состав пороховых зарядов входит высокоэнергетический композиционный материал, причем количество высокоэнергетического композиционного материала в отдельных пороховых зарядах различно. Отдельные пороховые заряды в пороховом генераторе давления могут быть расположены так, чтобы количество высокоэнергетического композиционного материала в верхнем и нижнем пороховом заряде было одинаковым и уменьшалось к его середине. Отдельные пороховые заряды в пороховом генераторе давления могут быть расположены так, чтобы количество высокоэнергетического композиционного материала в верхнем заряде было максимальным и уменьшалось в сторону нижнего заряда. В качестве высокоэнергетического композиционного материала используется порошок наноразмерного алюминия. Количество высокоэнергетического композиционного материала в отдельных пороховых зарядах составляет не более 40% от общей массы порохового заряда. Количество высокоэнергетического композиционного материала в отдельных пороховых зарядах, расположенных друг за другом, может отличаться на 2…15%. Недостатком порохового генератора давления является отсутствие возможности обработки продуктивного пласта горизонтальной скважины.

[7]

Известен пороховой генератор давления по патенту РФ на полезную модель №111189. Пороховой генератор давления, спускается в скважину на геофизическом кабеле и состоит из пороховых зарядов, выполненных в виде цилиндров, соединенных между верхней крышкой и поддоном тросом. В верхнем и нижнем пороховых зарядах установлены спирали накаливания, электрически соединенные с геофизическим кабелем. Пороховые заряды выполнены с одной или несколькими несквозными полостями, заполненными высокоэнергетическим композиционным материалом. В качестве высокоэнергетического композиционного материала используется порошок наноразмерного алюминия. Несквозные полости после заполнения высокоэнергетическим композиционным материалом могут быть закрыты пробками из клея. Несквозные полости могут быть закрыты общей крышкой, предотвращающей высыпание высокоэнергетического композиционного материала. Крышка, закрывающая несквозные полости может быть приклеена. Каждая несквозная полость закрыта отдельной крышкой. Каждая крышка, закрывающая несквозную полость может быть, приклеена. Крышка может быть выполнена из того же материала, что и пороховой заряд. Несквозная полость может быть выполнена кольцевой. Несквозные полости могут быть выполнены круглой формы. Несквозные полости могут быть выполнены не круглой формы, например, овальной, треугольной, прямоугольной или комбинированной. Недостатком порохового генератора давления является отсутствие возможности обработки продуктивного пласта горизонтальной или наклонно-направленной скважины.

[8]

Известен "Пороховой генератор давления облицовочный" для корпусных кумулятивных перфораторов и имплозивных устройств, по заявке РФ на изобретение №2009115084 выполненный в виде набора фрагментов, закрепляемых на корпусе устройств последовательно один за другим в единый трубчатый облицовочный заряд. Его фрагменты могут собираться из стержневых элементов любого профиля баллиститных артиллерийских порохов. Фрагменты Порохового генератора давления облицовочного могут изготавливаться в виде однородных конструкций в форме трубы путем склеивания торцов пороховых элементов полимером холодного отверждения или в форме гибких пластин путем обвязки пороховых элементов нитроцеллюлозной или хлопчатобумажной лентой. Недостатком порохового генератора давления облицовочного является отсутствие возможности обработки продуктивного пласта горизонтальной скважины.

[9]

Известно "Устройство для перфорации скважин и трещинообразования в пласте" по патенту РФ на изобретение №2170339. Изобретение относится к нефтегазодобывающей промышленности и, в частности, к кумулятивным перфораторам и пороховым генераторам давления, применяемым в скважинах. Обеспечивает увеличение эффективности перфоратора и увеличение размеров каналов в колоннах и создания дополнительных трещин в прилегающей к скважине зоне. Сущность изобретения: устройство содержит соединенный с кабелем-тросом для спуска в скважину кумулятивный перфоратор с зарядами взрывчатого вещества. Он образует при детонации кумулятивные струи. Имеется пороховой генератор давления с твердотопливными элементами. Твердотопливные элементы порохового генератора давления расположены между кумулятивными зарядами взрывчатого вещества или около зарядов взрывчатого вещества, соприкасаясь с ними. Твердотопливные элементы могут быть расположены в нижней части устройства вместо груза или части этого груза. При этом твердотопливные элементы не пересекают оси кумулятивных струй и выполнены из неметаллизированного баллиститного или смесевого твердого ракетного топлива в виде цилиндров с центральным круглым каналом, в которых длина и диаметр центрального канала связаны соотношением (20…40): 1. Содержание наполнителя-стабилизатора горения к массе твердотопливного элемента составляет не более 1,5%. В других вариантах устройства длина и диаметр центрального канала связаны другими соотношениями. Кроме того, в других вариантах приведено другое содержание наполнителя-стабилизатора горения к массе твердотопливного элемента. В других вариантах приведено и другое размещение составных частей устройства и их выполнение. Недостатком устройства для перфорации скважин и трещинообразования в пласте является сложность его спуска в продуктивный горизонт скважины.

[10]

Известен "Способ перфорации и обработки призабойной зоны скважины и устройство для его осуществления" по патенту РФ на изобретение №2162514 Использование: при эксплуатации нефтяных скважин. Обеспечивает за один спуск-подъем аппаратуры перфорацию скважины, очистку обрабатываемого пласта от кольматирующих элементов, а сформированных перфорационных каналов в пласте - от корочки запекания и осуществление разрыва пласта. Сущность изобретения: способ и устройство для его осуществления включают перфорацию скважины корпусным кумулятивным перфоратором и имплозионное воздействие непосредственно в момент окончания перфорации скважины для очистки сформированных перфорационных каналов от корочки запекания с помощью имплозионной камеры, внутренняя полость которой соединена с внутренней полостью перфоратора. После этого срабатывает термогазогенератор, соединенный с перфоратором соединительным узлом, в котором имеется решетка с заглушенными отверстиями. Горячие газы термогазогенератора поступают в корпус перфоратора и через отверстия в его корпусе для кумулятивных зарядов по предварительно сформированным перфорационным каналам воздействуют непосредственно на перфорационные каналы в пласте. Выбирают характеристики заряда, конструкцию устройства и условия работы такими, чтобы обеспечить давление гидроразрыва пласта. Для оценки характера воздействия и характера работы устройства оно снабжено датчиками температуры и давления, а для определения места расположения прибора в скважине - локатором муфт. Недостатком устройства является сложность его спуска в продуктивный горизонт скважины.

[11]

Известен пороховой генератор по патенту РФ на полезную модель №108796. Пороховой генератор, спускается в скважину на геофизическом кабеле и состоит из пороховых зарядов, выполненных в виде цилиндров, соединенных между крышкой и поддоном тросом, в верхнем и нижнем пороховых зарядах установлены спирали накаливания, электрически соединенные с геофизическим кабелем. Между геофизическим кабелем и спиралями накаливания установлен дополнительный кабель, одна сторона которого присоединена к спиралям накаливания, а другая - соединена через разъем с геофизическим кабелем, причем трос также закреплен на разъеме со стороны пороховых зарядов. Со стороны геофизического кабеля разъем выполнен в виде наконечника, а со стороны пороховых зарядов в виде головки скважинного прибора. Разъем выполнен с предотвращающим самопроизвольное разъединение механическим креплением, например, в виде накидной гайки. Перед спиралями накаливания установлены разъемы спиралей накаливания. Соединенные разъемы спиралей накаливания выполнены с предотвращающим самопроизвольное разъединение механическим креплением. Дополнительный кабель прикреплен к тросу. Дополнительный кабель может быть прикреплен к тросу хомутами. Недостатком порохового генератора является отсутствие возможности обработки продуктивного пласта горизонтальной скважины.

[12]

Известен пороховой генератор давления по патенту РФ на полезную модель №108795 (прототип). Пороховой генератор давления, спускается в скважину на геофизическом кабеле и состоит из пороховых зарядов, собранных между крышкой и поддоном. В верхнем и нижнем пороховых зарядах установлены спирали накаливания, электрически соединенные с геофизическим кабелем, причем все пороховые заряды соединены между собой тросом. Трос, соединяющий отдельные пороховые заряды, расположен в пазу, выполненном вдоль боковой поверхности порохового заряда. С одной стороны порохового заряда на торце выполнен выступ, а с другой стороны - впадина, причем пороховые заряды частично входят друг в друга. Глубина паза на боковой поверхности порохового заряда больше или равна диаметру троса, соединяющего отдельные пороховые заряды. Ширина паза на боковой поверхности порохового заряда больше диаметра троса, соединяющего отдельные пороховые заряды. Паз может быть выполнен с радиусом. Паз может быть выполнен прямоугольным. Выступы и впадины на торцах порохового заряда для их радиальной фиксации относительно друг друга выполнены фигурными. Недостатком порохового генератора давления является отсутствие возможности обработки продуктивного пласта в горизонтальном участке скважины, что связано с недостаточной жесткостью геофизического кабеля с помощью которого невозможно создать осевую нагрузку для продвижения порохового генератора в сторону забоя.

[13]

Задачей создания полезной модели является обеспечение возможности использования порохового генератора в наклонно-направленных, горизонтальных и восходящих скважинах, а также более легкий спуск порохового генератора в скважину.

[14]

Решение указанных задач достигнуто за счет того, что пороховой генератор состоит из пороховых зарядов вдоль оси которых выполнены отверстия. Пороховые заряды соединены между собой тросом между верхней и нижней крышками. В верхнем и нижнем пороховых зарядах установлены спирали накаливания. Трос соединяющий отдельные пороховые заряды закреплен неподвижно в верхней крышке, проходит через отверстия выполненные в пороховых зарядах и в нижней крышке, ниже которой установлено устройство регулировки натяжения троса. Причем на боковой поверхности пороховых зарядов в пазах установлены ролики, а верхняя крышка выполнена с внутренней резьбой для соединения с гибкой трубой колтюбинга. В верхней крышке выполнены отверстие для проводов электрического соединения спиралей накаливания с проводниками расположенными в гибкой трубе. Ролики установлены на осях закрепленных в отверстиях расположенных перпендикулярно пазам выполненным на боковой поверхности пороховых зарядов. В нижнем пороховом заряде выполнены отверстия для выравнивания давления снаружи и внутри порохового генератора, при его спуске в скважину. Наружная поверхность нижнего порохового заряда выполнена конусной. Ролики и оси выполнены из того же материала, что и пороховые заряды. Устройство натяжения троса выполнено в виде втулки с цилиндрической вставкой выполненной с пазом вдоль оси в боковую поверхность которой упирается стопорный винт. Цилиндрическая вставка выполнена из пружинной, стали. Отверстие выполненное в цилиндрической вставке равно или больше диаметра троса.

[15]

Предложенное техническое решение обладает новизной и промышленной применимостью, т.е. всеми критериями полезной модели. Новизна технического решения подтверждается проведенными патентными исследованиями. Промышленная применимость обусловлена тем, что при изготовлении порохового генератора применяются недефицитные материалы и известные технологии.

[16]

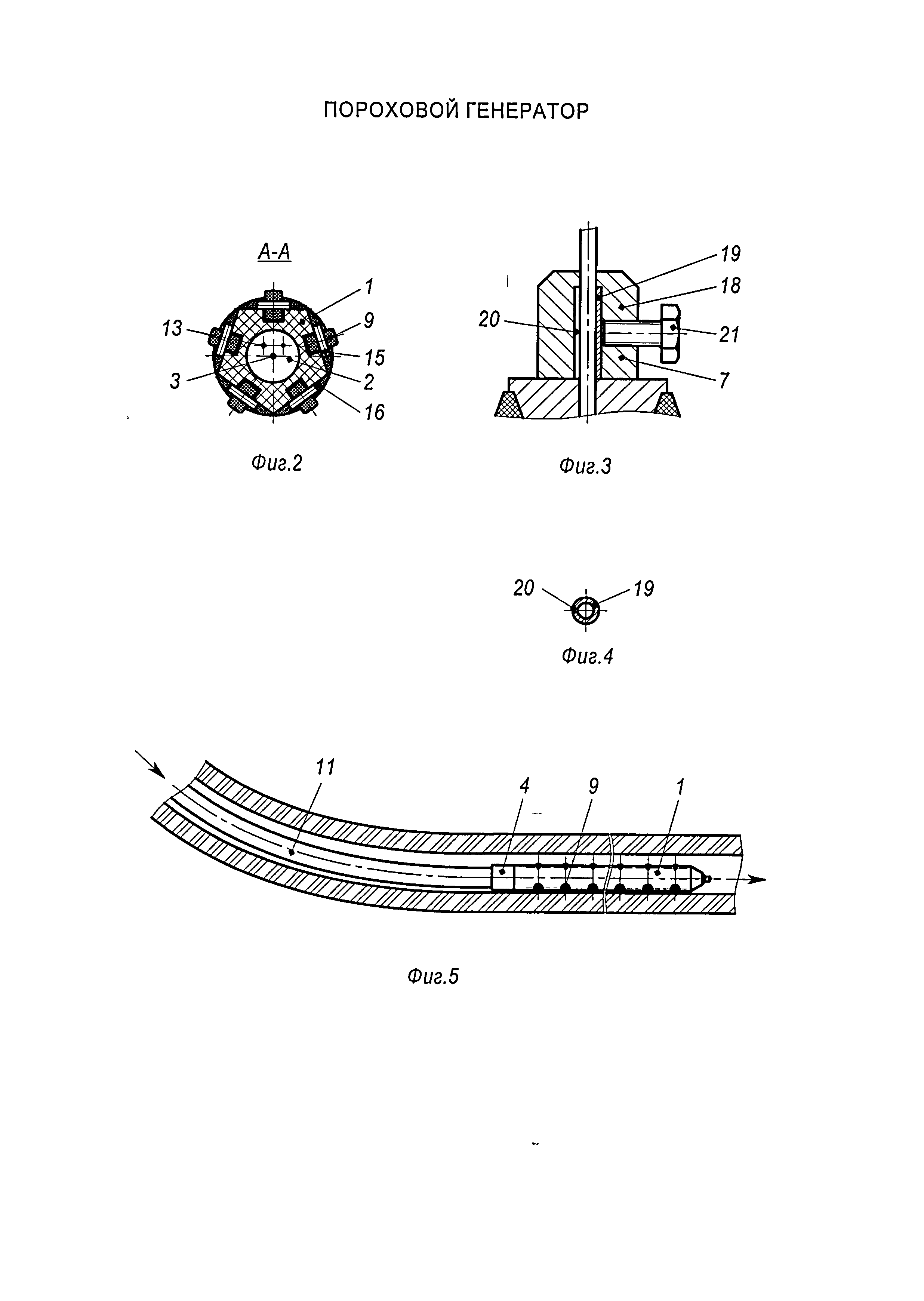
Сущность полезной модели поясняется на фиг.1.,.5, где:

[17]

на фиг.1 приведен пороховой генератор,

[18]

на фиг.2 приведен поперечный разрез порохового генератора А-А,

[19]

на фиг.З приведено устройство натяжения троса,

[20]

на фиг.4 приведен поперечный разрез цилиндрической вставки устройства натяжения троса,

[21]

на фиг.5 показан спуск порохового генератора в скважину.

[22]

Пороховой генератор состоит из пороховых зарядов 1 вдоль оси которых выполнены отверстия 2. Пороховые заряды I соединены между собой тросом 3 между верхней 4 и нижней 5 крышками. В верхнем и нижнем пороховых зарядах I установлены спирали накаливания 6. Трос 3 соединяющий отдельные пороховые заряды I закреплен неподвижно в верхней крышке 4, проходит через отверстия 2 выполненные в пороховых зарядах I и в нижней крышке 5, ниже которой установлено устройство регулировки натяжения троса 7. Причем на боковой поверхности пороховых зарядов 1 в пазах 8 установлены ролики 9, а верхняя крышка 4 выполнена с внутренней резьбой 10 для соединения с гибкой трубой колпобинга 11. В верхней крышке 4 выполнены отверстия 12 для проводов 13 электрического соединения спиралей накаливания 6 с проводниками 14 расположенными в гибкой трубе II. Ролики 9 установлены на осях 15 закрепленных в отверстиях 16 расположенных перпендикулярно пазам 8 выполненным на боковой поверхности пороховых зарядов I. В нижнем пороховом заряде I выполнены отверстия 17 для выравнивания давления снаружи и внутри порохового генератора, при его спуске в скважину. Наружная поверхность нижнего порохового заряда 1 выполнена конусной. Ролики 9 и оси 15 выполнены из того же материала, что и пороховые заряды 1. Устройство натяжения троса 7 выполнено в виде втулки 18 с цилиндрической вставкой 19 выполненной с пазом 20 вдоль оси в боковую поверхность которой упирается стопорный винт 21. Цилиндрическая вставка 19 выполнена из пружинной стали. Отверстие выполненное в цилиндрической вставке 19 равно или больше диаметра троса 3.

[23]

Пороховой генератор работает следующим образом, пороховые заряды 1 собирают перед спуском в скважину на тросу 3 между верхней 4 и нижней 5 крышками В пороховые заряды 1 устанавливают спирали накаливания 6, а идущие от них провода 13 укладывают в отверстия 2 и пропускают через отверстия 12. Окончательно собирают пороховой генератор натягивая трос 3. Усилие натяжения троса 3 регулируется устройством регулировки натяжения троса 7. Для регулировки отпускают винт 21, при этом цилиндрическая вставка 19 освобождает трос, сдвигают втулку 18 и затягивают винт 21. Для увеличения усилия натяжения троса 3 втулку 18 сдвигают в сторону порохового генератора, для уменьшения от него. За верхнюю крышку 4 резьбой 10 пороховой генератор крепится к гибкой трубе колтюбинга 11. Провода 13 электрически соединяют спирали накаливания 6 с проводниками 14 расположенными в гибкой трубе 11. На гибкой трубе колтюбинга 11 пороховой генератор спускается в интервал обработки, при этом в горизонтальном участке скважины он продвигается гибкой трубой колтюбинга 11 имеющей высокую жесткость. На боковой поверхности порохового генератора установлены ролики 9 которые значительно снижают усилие необходимое для его продвижения в скважине. После спуска порохового генератора давления в скважину, на спирали накаливания 6 по проводниками 14 расположенными в гибкой трубе 11 подается напряжение. Спирали 6 нагреваются и воспламеняют пороховые заряды 1. Горение пороховых зарядов 1 в скважине сопровождается механическим, тепловым, и физико-химическим воздействием на пласт, что позволяет увеличить приток нефти и газа в эксплуатационных скважинах.

[24]

Применение полезной модели позволило:

[25]

1. Повысить эффективность воздействия на нефтегазоносные пласты продуктов сгорания твердого топлива за счет доставки порохового генератора давления в интервал продуктивного горизонта скважины.

[26]

2. Обеспечить продвижение порохового генератора к забою в горизонтальных скважинах.

[27]

3. Снизить усилие необходимое для доставки порохового генератора в интервал обработки в горизонтальных скважинах.

[28]

4. Повысить или восстановить пропускные свойства прилегающей к скважине породы.

[29]

5. Обеспечить термогазохимическую обработку и разрыв нефтегазоносных пластов.

[30]

6. Обеспечить более легкий спуск порохового генератора в скважину

[31]

7. Расширить технические возможности применения порохового генератора.

Как компенсировать расходы
на инновационную разработку
Похожие патенты