Превентор, характеризующийся тем, что он содержит корпус, выполненный из двух секций с верхним и нижним фланцем с двумя боковыми и с двумя торцовыми сторонами, и имеющий единый сквозной вертикальный осевой канал для спуска или подъема труб в скважину, два сквозных горизонтально расположенных плашечных канала, по одному в каждой секции, при этом в корпусе на одной из боковых сторон расположены два отверстия, закрытые круглыми глухими крышками, присоединяемыми к корпусу при помощи шпилек и колпачковых гаек, в канавки сквозного вертикального канала соосно установлены два кольцевых зеркала, каждое из которых имеет не менее двух резьбовых отверстий для крепления от перемещения в осевом направлении, канавку для уплотнительного элемента, направляющую фаску для равномерного захода на зеркало верхних уплотнителей плашечного затвора, две параллельных лыски для фиксации зеркала от поворота, при этом в верхнем плашечном канале установлен трубный плашечный затвор с двумя оппозитно расположенными трубными плашками для герметизации труб по наружному диаметру и затрубного пространства, с возможностью перемещения в верхнем плашечном канале в направлении, перпендикулярном осевому каналу корпуса до крайнего открытого положения и, наоборот, до крайнего закрытого положения, причем трубная плашка состоит из корпуса трубной плашки с горизонтальным Т-образным пазом, уплотнителя трубного, уплотнителя верхнего, который соединяет с помощью вставленных в него штифтов корпус плашки и уплотнитель трубный, причем в закрытом положении трубные плашки смыкаются трубными уплотнителями на трубе, а уплотнители верхние заходят на з
Превентор, характеризующийся тем, что он содержит корпус, выполненный из двух секций с верхним и нижним фланцем с двумя боковыми и с двумя торцовыми сторонами, и имеющий единый сквозной вертикальный осевой канал для спуска или подъема труб в скважину, два сквозных горизонтально расположенных плашечных канала, по одному в каждой секции, при этом в корпусе на одной из боковых сторон расположены два отверстия, закрытые круглыми глухими крышками, присоединяемыми к корпусу при помощи шпилек и колпачковых гаек, в канавки сквозного вертикального канала соосно установлены два кольцевых зеркала, каждое из которых имеет не менее двух резьбовых отверстий для крепления от перемещения в осевом направлении, канавку для уплотнительного элемента, направляющую фаску для равномерного захода на зеркало верхних уплотнителей плашечного затвора, две параллельных лыски для фиксации зеркала от поворота, при этом в верхнем плашечном канале установлен трубный плашечный затвор с двумя оппозитно расположенными трубными плашками для герметизации труб по наружному диаметру и затрубного пространства, с возможностью перемещения в верхнем плашечном канале в направлении, перпендикулярном осевому каналу корпуса до крайнего открытого положения и, наоборот, до крайнего закрытого положения, причем трубная плашка состоит из корпуса трубной плашки с горизонтальным Т-образным пазом, уплотнителя трубного, уплотнителя верхнего, который соединяет с помощью вставленных в него штифтов корпус плашки и уплотнитель трубный, причем в закрытом положении трубные плашки смыкаются трубными уплотнителями на трубе, а уплотнители верхние заходят на зеркало и смыкаются друг по другу, образуя трубный плашечный затвор, тем самым герметизируя трубу по наружному диаметру и затрубное пространство, для перемещения трубных плашек в направлении, перпендикулярном осевому каналу корпуса, предусмотрена пара гидроцилиндров, присоединенных к противоположным сторонам верхней секции корпуса через быстроразъемные соединения, выполненных в виде мембранных клапанов, дополнительно превентор снабжен верхним гидрораспределителем, интегрированным в корпус, соединенный через гидроканалы, расположенные внутри корпуса превентора, с открывающими и закрывающими полостями гидроприводов, которые перемещают трубные плашки, в нижнем плашечном канале установлен глухой плашечный затвор с двумя оппозитно расположенными глухими плашками, предназначенными для герметизации осевого канала корпуса, с возможностью перемещения по нижнему плашечному каналу в направлении, перпендикулярном осевому каналу корпуса до крайнего открытого положения и, наоборот, до крайнего закрытого положения, причем глухая плашка состоит из корпуса глухой плашки с горизонтальным Т-образным пазом, уплотнителя глухого, уплотнителя верхнего, который соединяет с помощью вставленных в него штифтов корпус глухой плашки и уплотнитель глухой, которые необходимы для герметизации осевого проходного отверстия в корпусе превентора, когда через превентор в скважину не спущена труба и глухие корпуса плашки через уплотнители глухие упираются друг по другу, уплотнитель верхний, выполненный из эластомера в виде полукольца с установленными в него двумя штифтами, устанавливается в соответствующий паз глухого корпуса плашки, причем в закрытом положении, глухие плашки смыкаются уплотнителями глухими друг в друга, а уплотнители верхние заходят на зеркало и смыкаются друг по другу, образуя глухой плашечный затвор, герметизирующий осевое отверстие в корпусе превентора, при этом для перемещения глухих плашек в направлении, перпендикулярном осевому каналу корпуса, предусмотрена пара гидроцилиндров, присоединенных к противоположным сторонам нижней секции корпуса через быстроразъемные соединения, выполненные в виде мембранных клапанов, также превентор снабжен нижним гидрораспределителем, интегрированным в корпус, соединенный через гидроканалы, расположенные внутри корпуса превентора с открывающими и закрывающими полостями гидроприводов, которые перемещают глухие плашки; в центральной части корпуса между верхним плашечным каналом и нижним плашечным каналом, кольцевой полостью подогрева с присоединенными к ней на болтах крышками с резьбовыми отверстиями для присоединения к магистрали теплоносителя, при этом соединение каждого гидропривода с плашкой осуществляется через Т-образный сменный хвостовик, который ввернут на резьбе в шток гидропривода и через Т-образный горизонтальный выступ соединен с Т-образным пазом плашки, при этом плашка имеет возможность отсоединения от Т-образного хвостовика соответствующего ей гидропривода при замене, причем передняя крышка каждого гидропривода выполнена совместно с гидроцилиндром для увеличения жесткости конструкции и уменьшения отгиба передней крышки от соответствующей поверхности превентора, при этом каждая передняя крышка имеет выступ, на котором расположена канавка для установки в нее рамочного уплотнителя, при этом герметизация плашечного канала и гидропривода происходит по внутренней поверхности плашечного канала корпуса со стороны торцовой части корпуса превентора, а в задней крышке имеется центральное отверстие для перемещения штока и окно для установки указателей положения «открыто-закрыто», два отверстия, расположенные перпендикулярно оси центрального отверстия, необходимые для крепления ходовой гайки, которая крепится в задней крышке двумя болтами, кроме того, в ходовую гайку ввинчен ходовой винт, предназначенный для фиксации штока в закрытом положении плашечного затвора, в хвостовой части штока при помощи гайки крепится указатель перемещения штока, при этом для индикации положения ходового винта в зарезьбовую канавку ходового винта навинчен указатель положения ходового винта, который перемещается при помощи штурвала, установленного на квадратный хвостовик и закрепленный через соответствующее сквозное отверстие в штурвале и квадратном хвостовике ходового винта болтом и гайкой, при этом превентор имеет возможность одновременной установки 4-х штурвалов.
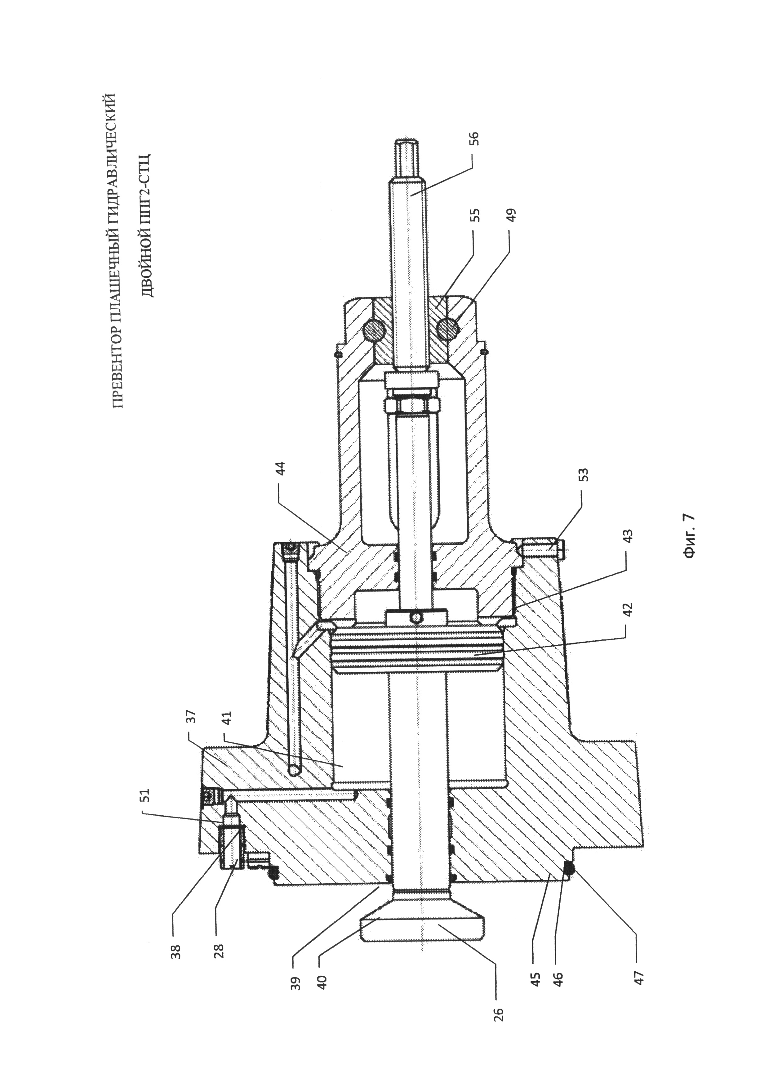
Полезная модель относится к оборудованию, применяемому для герметизации устья нефтяных и газовых скважин в процессе их строительства и освоения для предупреждения нефтегазоводопроявлений и открытых фонтанов с целью обеспечения безопасного ведения работ, охраны недр и окружающей среды. Предлагаемый превентор предназначен для герметизации устья скважины со спущенной колонной труб трубными плашками и для герметизации скважины без спущенной колонны труб глухими плашками. Ближайшим аналогом к заявленной полезной модели является двойной превентор, содержащий, корпус с осевым каналом, плашки трубные для герметизации труб, спускаемых в скважину через осевой канал в корпусе, плашки глухие для герметизации осевого канала при отсутствии труб в скважине, комбинированный, гидравлический и ручной привод плашек, выполненный в виде гидроцилиндра с расположенным в нем поршнем, снабженным винтовым штоком (RU 2261980 С2, 10.10.2005 г.). В известной конструкции не предусмотрена согласованная работа гидроприводов, каждый гидропривод из пары совместно работающих гидроприводов, присоединяется к управляющей гидравлической системе по отдельности и подключается к гидростанции при помощи 8-ми гидроканалов. Гидропривод имеет снаружи перепускную трубку, что может привести к ее повреждению и разгерметизации гидропривода. Конструкция имеет грузовые крюки открытого типа, что ненадежно при подъеме и перемещении превентора. Конструкция гидропривода, состоящая из передней крышки, цилиндра, поршня, задней крышки собранная при помощи шпилек, не является жесткой и может привести к повреждению во время эксплуатации. Перечисленные недостатки конструкции могут привести к ненадежному выполнению своих функций превентором. Технический результат, достигаемый при использовании предлагаемой полезной модели, заключается в повышении надежности, увеличению межремонтного срока эксплуатации, повышению удобства использования превентора. Для достижения указанного технического результата предлагается превентор, корпус которого выполнен из двух секций, с верхним и нижним фланцем с двумя боковыми и с двумя торцовыми сторонами. В корпусе имеется сквозной вертикальный осевой канал для спуска или подъема труб в скважину. Два сквозных, горизонтально расположенных, плашечных канала, по одному в каждой секции. В корпусе превентора на одной из боковых сторон расположены два отверстия, закрытые круглыми глухими крышками и присоединенные при помощи шпилек и колпачковых гаек. В канавки сквозного вертикального канала соосно установлены два кольцевых зеркала. Каждое зеркало имеет не менее двух резьбовых отверстий для крепления от перемещения в осевом направлении, канавку для уплотнительного элемента, направляющую фаску для равномерного захода на зеркало верхних уплотнителей плашечного затвора, две параллельных лыски, необходимых для фиксации зеркала от проворота. В верхнем плашечном канале установлен трубный плашечный затвор с двумя, оппозигио расположенными, трубными плашками для герметизации труб по наружному диаметру и затрубного пространства, с возможностью перемещения в верхнем плашечном канале в направлении перпендикулярном осевому каналу корпуса до крайнего открытого положении и наоборот до крайнего закрытого положения. Трубная плашка состоит из корпуса трубной плашки с горизонтальным Т-образным пазом, уплотнителя трубного, уплотнителя верхнего, который соединяет с помощью вставленных в него штифтов корпус плашки и уплотнитель трубный. В закрытом положении, трубные плашки смыкаются трубными уплотнителями на трубе, а уплотнители верхние заходят на зеркало и смыкаются друг по другу, образуя трубный плашечный затвор тем самым герметизируя трубу по наружному диаметру и затрубное пространство Для перемещения трубных плашек, в направлении перпендикулярном осевому каналу корпуса, установлена пара гидроцилиндров, присоединенных к противоположным сторонам верхней секции корпуса, через быстроразъемные соединения, выполненных в виде мембранных клапанов. Превентор имеет верхний гидрораспределитель, интегрированный в корпус, соединенный через гидрокапалы, расположенные внутри корпуса превентора, с открывающими и закрывающими полостями гидроприводов, которые перемещают трубные плашки. В нижнем плашечном канале установлен глухой плашечный затвор с двумя, оппозитно расположенными, глухими плашками для герметизации осевого канала корпуса, с возможностью перемещения по нижнему плашечному каналу в направлении перпендикулярном осевому каналу корпуса до крайнего открытого положении и наоборот до крайнего закрытого положения. Глухая плашка состоит из корпуса глухой плашки с горизонтальным Т-образным пазом, уплотнителя глухого, уплотнителя верхнего, который соединяет с помощью вставленных в него штифтов корпус глухой плашки и уплотнитель глухой. Уплотнители глухие необходимы для герметизации осевого проходного отверстия в корпусе превентора, когда через превентор в скважину не спущена труба и глухие корпуса плашки через уплотнители гухие упираются друг по другу. Уплотнитель верхний выполнен из эластомера в виде полукольца с установленными в него двумя штифтами. Уплотнитель верхний устанавливается в соответствующий паз глухого корпуса плашки. В закрытом положении, глухие плашки смыкаются уплотнителями глухими друг в друга, а уплотнители верхние заходят на зеркало и смыкаются друг по другу, образуя глухой плашечный затвор тем самым герметизируя осевое отверстие в корпусе превентора. Для перемещения глухих плашек, в направлении перпендикулярном осевому каналу корпуса, установлена пара гидроцилиндров, присоединенных к противоположным сторонам нижней секции корпуса, через быстроразъемные соединения, выполненных в виде лепестковых клапанов. Превентор имеет нижний гидрораспределитель, интегрированный в корпус, соединенный через гидроканалы, расположенные внутри корпуса превентора, с открывающими и закрывающими полостями гидроприводов, которые перемещают глухие плашки. Превентор имеет, в центральной части корпуса, между верхним плашечным каналом и нижним плашечным каналом, кольцевую полость подогрева с присоединенными к ней на болтах крышками с резьбовыми отверстиями для присоединения к магистрали теплоносителя. Соединение каждого гидропривода с плашкой осуществляется через Т-образный сменный хвостовик, который ввернут на резьбе в шток гидропривода и через Т-образный горизонтальный выступ соединен с Т-образным пазом плашки. Плашка имеет возможность отсоединения от Т-образиого хвостовика соответствующего ей гидропривода при ее замене. Передняя крышка каждого гидропривода выполнена совместно с гидроцилиндром, для того чтобы увеличить жесткость конструкции и уменьшить отгиб передней крышки от соответствующей торцовой поверхности превентора. Каждая передняя крышка имеет выступ, на котором расположена канавка для установки в нее рамочного уплотнителя. Герметизация плашечиого канала и гидропривода происходит по внутренней поверхности плашечного капала корпуса со стороны торцовой части корпуса превентора. В задней крышке имеется центральное отверстие, для перемещения штока, окно, для установки указателей положения «открыто-закрыто», два отверстия, расположенные перпендикулярно оси центрального отверстия, необходимые для крепления ходовой гайки. Ходовая гайка крепится в задней крышке двумя специальными болтами. В ходовую гайку ввинчен ходовой винт, необходимый для фиксации штока в закрытом положении плашечного затвора. На хвостовую часть штока при помощи гайки крепится указатель перемещения штока. Для индикации положения ходового винта, в зарезьбовую канавку ходового винта навинчен указатель положения ходового винта. Ходовой винт перемещается при помощи штурвала, который установлен на квадратный хвостовик и закреплен через соответствующее сквозное отверстие в штурвале и квадратном хвостовике ходового винта болтом и гайкой. Превентор имеет возможность одновременной установки 4-х штурвалов. Полезная модель поясняется чертежами, где На фиг.1, вид превентора в собранном состоянии; На фиг.2 разрез превентора в продольном направлении На фиг.3 разрез превентора в поперечном направлении; На фиг.4 зеркало; На фиг.5 плашка трубная На фиг.6 плашка глухая На фиг.7 гиропривод в разрезе Превентор состоит из корпуса преветора 1 который выполнен из двух секций, с верхним 2 и нижним 3 фланцем с двумя боковыми 4 и с двумя торцовыми сторонами 5. В корпусе превентора 1 имеется сквозной вертикальный осевой канал 6 для спуска или подъема труб в скважину. Два сквозных, горизонтально расположенных, плашечных канала, по одному в каждой секции. В корпусе превентора 1 на одной из боковых сторон расположены два отверстия, закрытые круглыми глухими крышками 6 и присоединенные при помощи шпилек и колпачковых гаек 7. Верхнее отверстие 8 расположено под углом к верхнему плашечному каналу, и необходимо для присоединения к линии дросселирования манифольда. Угол наклона а верхнего отверстия 8 выбран таким образом, чтобы не перекрывать поток жидкости, проходящий через отверстие дросселирования в превентор с установленными в верхний канал плашек трубными плашками. Нижнее отверстие 9 расположено под углом к нижнему плашечному каналу, и необходимо для присоединения к линии глушения манифольда. Угол наклона β нижнего отверстия выбран таким образом, чтобы не перекрывать поток жидкости, проходящий через отверстие глушения 9 в превентор с установленными в нижний канал плашек глухими плашками. В расточенное отверстие 10 сквозного вертикального канала, соосно установлены два кольцевых зеркала 11, с радиусом R. Каждое зеркало имеет не менее двух резьбовых отверстий 12 для крепления от перемещения в осевом направлении, канавку 13 для уплотнительного элемента, направляющую фаску 14 для равномерного захода на зеркало верхних уплотнителей плашечного затвора, две параллельных лыски 15, необходимых для фиксации зеркала от проворота, 4-е фрезерованных под углом γ лыски 16, необходимых для установки зеркала в превентор. Зеркало крепится в корпусе преветора не менее чем двумя винтами 17 с коническими наконечниками и внутренними шестигранными отверстиями. Канавка 13, для размещения уплотнителя на зеркале, выполнена на цилиндрической наружной части зеркала на расстоянии L от обратного торца, что позволяет более надежно герметизировать зеркало и корпус превентора. В верхнем плашечном канале 18 установлен трубный плашечный затвор с двумя, оппозитно расположенными, трубными плашками 19 для герметизации труб по наружному диаметру и затрубного пространства, с возможностью перемещения в верхнем плашечном канале в направлении перпендикулярном осевому каналу корпуса до крайнего открытого положении и наоборот до крайнего закрытого положения. Трубная плашка состоит из корпуса трубной плашки 20 с горизонтальным Т-образным пазом 21, уплотнителя трубного 22, уплотнителя верхнего 23, который соединяет с помощью вставленных в него штифтов 24 корпус плашки и уплотнитель трубный. Уплотнитель трубный, изготовленный из эластомера, установлен в соответствующий паз корпуса трубной плашки, имеет внутри уплотнителя подвижную арматуру 25 состоящую из двух стальных пластин, которые препятствуют излишнему выпучиванию эластомера в зазор между трубой и корпусом трубной плашки. Уплотнитель трубный необходим для герметизации тела трубы и корпуса трубной плашки. Уплотнитель верхний 23 выполнен из эластомера в виде полукольца с установленными в него двумя штифтами 24. Уплотнитель верхний установлен в соответствующий паз корпуса трубной плашки. Уплотнитель верхний необходим для герметизации корпуса трубной плашки и зеркала. В закрытом положении, трубные плашки смыкаются трубными уплотнителями на трубе, а уплотнители верхние заходят на зеркало и смыкаются друг по другу, образуя трубный плашечный затвор тем самым герметизируя трубу по наружному диаметру и затрубное пространство. Для присоединения к трубным плашкам в гидроприводе предусмотрен сменный Т-образный хвостовик 26, с увеличенной площадью контакта с Т-образным пазом корпуса трубной плашки. Для перемещения трубных плашек, в направлении перпендикулярном осевому каналу корпуса, установлена пара гидроцилиндров 27, присоединенных к противоположным сторонам верхней секции корпуса, через быстроразъемные соединения, выполненных в виде мембранных клапанов 28. Превентор имеет верхний гидрораспределитель 29, интегрированный в корпус, соединенный через гидроканалы, расположенные внутри корпуса превентора, с открывающими и закрывающими полостями гидроприводов, которые перемещают трубные плашки. К верхнему гидрораспределителю присоединяются через быстроразъемные соединения гидрорукава, для управления верхними гидроприводами на закрытие и открытие трубного плашечного затвора. Для защиты быстроразъемных соединений, к верхнему гидрораспределителю болтами закреплен защитный щиток 30. В нижнем плашечном канале 31 установлен глухой плашечный затвор с двумя, оппозитно расположенными, глухими плашками 32 для герметизации осевого канала корпуса, с возможностью перемещения по нижнему плашечному каналу в направлении перпендикулярном осевому каналу корпуса до крайнего открытого положении и наоборот до крайнего закрытого положения. Глухая плашка состоит из корпуса глухой 33 плашки с горизонтальным Т-образным пазом, уплотнителя глухого 34, уплотнителя верхнего 23, который соединяет с помощью вставленных в него штифтов 24 корпус глухой плашки и уплотнитель глухой. Уплотнитель глухой, изготовленный из эластомера, вставлен в соответствующий паз глухого корпуса плашки, имеет внутри уплотнителя глухого подвижную арматуру 25, состоящую из двух стальных пластин, которые препятствуют излишнему выпучиванию эластомера в зазор между другим уплотнителем глухим и корпусом глухой плашки. Уплотнители глухие необходимы для герметизации осевого проходного отверстия в корпусе превентора, когда через превентор в скважину не спущена труба и глухие корпуса плашки через уплотнители гухие упираются друг по другу. Уплотнитель верхний выполнен из эластомера в виде полукольца с установленными в него двумя штифтами. Уплотнитель верхний устанавливается в соответствующий паз глухого корпуса плашки. Уплотнитель верхний необходим для герметизации гухого корпуса плашки и зеркала. В закрытом положении, глухие плашки смыкаются уплотнителями глухими друг в друга, а уплотнители верхние заходят на зеркало и смыкаются друг по другу, образуя глухой плашечный затвор тем самым герметизируя осевое отверстие в корпусе превентора. Для перемещения глухих плашек, в направлении перпендикулярном осевому каналу корпуса, установлена пара гидроцилиндров, присоединенных к противоположным сторонам нижней секции корпуса, через быстроразъемные соединения, выполненных в виде мембранных клапанов. Для присоединения к глухим плашкам в приводе предусмотрен сменный Т-образный хвостовик. Превентор имеет нижний гидрораспределитель 26, интегрированный в корпус, соединенный через гидроканалы, расположенные внутри корпуса превентора, с открывающими и закрывающими полостями гидроприводов, которые перемещают глухие плашки. К нижнему гидрораспределителю присоединяются, через быстроразъемные соединения, гидрорукава, для управления нижними гидроприводами на закрытие и открытие глухого плашечного затвора. Для защиты быстроразъемных соединений к верхнему гидрораспределителю болтовым соединением присоединен защитный щиток. Превентор имеет, в центральной части корпуса, между верхним плашечным каналом и нижним плашечным каналом, кольцевую полость подогрева 35 с присоединенными к ней на болтах крышками с резьбовыми отверстиями 36 для присоединения к магистрали теплоносителя. Резьбовые отверстия для присоединения теплоносителя находятся на каждой крышке, расположенных на каждой боковой поверхности превентора. Соединение каждого гидропривода с плашкой осуществляется через Т-образный сменный хвостовик, который ввернут на резьбе в шток гидропривода и через Т-образный горизонтальный выступ соединен с Т-образным пазом плашки. Плашка имеет возможность отсоединения от Т-образного хвостовика соответствующего ей гидропривода при ее замене. Передняя крышка 37 каждого гидропривода выполнена совместно с гидроцилиндром, для того чтобы увеличить жесткость конструкции и уменьшить отгиб передней крышки от соответствующей торцовой поверхности превентора. Внутри передней крышки расположены гидроканалы, необходимые для подачи гидрожидкости в полость открытия и закрытия гидропривода, канавка для установки мембранного клапана 38, отверстие с канавками для установки уплотнений штока 39 и грязесъемника 40, гладкое отверстие 41 для установки и перемещения поршня 42, отверстие с резьбой 43 для присоединения задней крышки 44. Каждая передняя крышка имеет выступ 45, на котором расположена канавка 46 для установки в нее рамочного уплотнителя 47. При присоединении гидропривода выступ передней крышки, с установленным в канавку рамочным уплотнителем, заходит во внутрь плашечного канала. Герметизация плашечного канала и гидропривода происходит по внутренней поверхности плашечного канала корпуса со стороны торцовой части корпуса превентора. Каждая передняя крышка соответствующего гидропривода, крепится к корпусу преветора при помощи 2-х направляющих шпилек 48, установленных в среднюю плиту превентора 49 и 6-ти специальных болтов с коническими поясками 50. Такая схема крепления гидроприводов переносит нагрузку от давления жидкости внутри корпуса превентора с верхней плиты превентора через переднюю крышку, шпильки, специальные болты на среднюю плиту, с нижней плиты превентора на среднюю плиту превентора. что увеличивает жесткость конструкции превентора по сравнению с аналогами. В торцовой плоскости каждой передней крышки имеются два отверстия с резьбой и канавкой для установки мембранного клапана и трубки, необходимых для присоединения к гидроканалам корпуса превентора. Мембранный клапан состоит из дисковой мембраны 51 с прорезями в центре. Клапан необходим для пропуска гидравлической жидкости в собранном превенторе, для открытия и закрытия плашечного затвора, и препятствует вытеканию гидравлической жидкости при демонтаже гидроприводов. Мембранные клапана также устанавливаются в соответствующие отверстия на торцовых поверхностях корпуса превентора. Трубка имеет резьбу, для присоединения к передней крышке, и две канавки, с установленными в них уплотнителями. Каждая передняя крышка имеет контрольное отверстие 52, которое необходимо для индикации герметичности гидропривода. Наличие воды или масла в отверстие показывает какое из уплотнений штока негерметично. В переднюю крышку устанавливается в соответствующую канавку грязесъемник, для очистки штока от загрязнений, уплотнитель, для герметизации штока и передней крышки, шток с уплотнителем и навернутым на него поршнем. На поршень в канавки установлены два уплотнителя, для герметизации поршня и гидроцилиндра. К передней крышке на резьбе крепится задняя крышка, с установленными в канавках специальными уплотнителями для герметизации штока. От отворота задней крышки, установлен специальный болт 53 в переднюю крышку перпендикулярно отверстию для перемещения поршня, который упирается в проточку на задней крышке. В задней крышке имеется центральное отверстие, для перемещения штока, окно 54, для установки указателей положения «открыто-закрыто», два отверстия, расположенные перпендикулярно оси центрального отверстия, необходимые для крепления ходовой гайки 55. Снаружи задней крышки выполнена канавка для установки грязесъемника. Ходовая гайка крепится в задней крышке двумя специальными болтами 49. В ходовую гайку ввинчен ходовой винт 56, необходимый для фиксации штока в закрытом положении плашечного затвора. На хвостовую часть штока при помощи гайки крепится указатель перемещения штока 57. Для индикации положения ходового винта, в зарезьбовую канавку ходового винта навинчен указатель положения ходового винта 58. Для защиты резьбы на каждый ходовой винт устанавливается защитный стакан 59. Ходовой винт перемещается при помощи штурвала 60, который установлен на квадратный хвостовик и закреплен через соответствующее сквозное отверстие в штурвале и квадратном хвостовике ходового винта болтом и гайкой. Превентор имеет возможность одновременной установки 4-х штурвалов. Штурвал имеет удлиненную ступицу со сквозным квадратным отверстием с возможностью установки удлинителей и карданов в квадратное отверстие штурвала, при этом нет необходимости снимать штурвалы с превентора. Ступица штурвала имеет два круглых сквозных отверстия 61, расположенных перпендикулярно сквозному квадратному отверстию, необходимые для установки в них рычага, увеличивающего крутящий момент на штурвале. С каждой боковой стороны на верхней плите превентора расположены откидные петли 62, необходимые для безопасного крепления грузоподъемных приспособлений.