патент
№ RU 131437
МПК F16H21/00

КРИВОШИПНО-ШАТУННЫЙ МЕХАНИЗМ

Авторы:
Дерендяев Николай Вениаминович
Номер заявки
2013119340/11
Дата подачи заявки
25.04.2013
Опубликовано
20.08.2013
Страна
RU
Как управлять
интеллектуальной собственностью
Чертежи 
4
Реферат

1. Кривошипно-шатунный механизм, содержащий кривошип и шатун, один конец которого связан с поршнем цилиндра, а другой шарнирно связан с кривошипом через передаточное звено, имеющее неподвижный центр качания на свободном конце, отличающийся тем, что передаточное звено выполнено в виде одноплечего рычага, имеющего по длине замкнутый направляющий паз, в котором установлена снабженная подшипником шейка кривошипа с возможностью возвратно-поступательного перемещения вдоль рычага.2. Кривошипно-шатунный механизм по п.1, отличающийся тем, что направляющий паз имеет криволинейную форму.3. Кривошипно-шатунный механизм по п.2, отличающийся тем, что конфигурация паза выполнена с обеспечением задержки рабочего хода поршня в крайнем нижнем положении для полного удаления продуктов сгорания из цилиндра.4. Кривошипно-шатунный механизм по п.1, отличающийся тем, что направляющий паз имеет прямолинейную форму.

Формула изобретения

1. Кривошипно-шатунный механизм, содержащий кривошип и шатун, один конец которого связан с поршнем цилиндра, а другой шарнирно связан с кривошипом через передаточное звено, имеющее неподвижный центр качания на свободном конце, отличающийся тем, что передаточное звено выполнено в виде одноплечего рычага, имеющего по длине замкнутый направляющий паз, в котором установлена снабженная подшипником шейка кривошипа с возможностью возвратно-поступательного перемещения вдоль рычага.

2. Кривошипно-шатунный механизм по п.1, отличающийся тем, что направляющий паз имеет криволинейную форму.

3. Кривошипно-шатунный механизм по п.2, отличающийся тем, что конфигурация паза выполнена с обеспечением задержки рабочего хода поршня в крайнем нижнем положении для полного удаления продуктов сгорания из цилиндра.

4. Кривошипно-шатунный механизм по п.1, отличающийся тем, что направляющий паз имеет прямолинейную форму.

Описание

[1]

Кривошипно-шатунный механизм

[2]

Полезная модель относится к области машиностроения и может быть использована преимущественно в двигателях внутреннего сгорания (ДВС), а также в других устройствах, где необходимо преобразование возвратно-поступательного движения во вращательное и наоборот.

[3]

Современные классические ДВС, содержащие в своей конструкции традиционный кривошипно-шатунный механизм (КШМ), состоящий из триединого звена поршень-шатун-кривошип, имеют два основных недостатка, обусловленных неразрывным узлом сочленения шатуна с кривошипом.

[4]

Первый недостаток - шатун, прикрепленный к шейке кривошипа, описывает большую траекторию в плоскости, перпендикулярной оси, проходящей через верхнюю мертвую точку (ВМТ) и нижнюю мертвую точку (НМТ), что вызывает сильное воздействие боковой силы от реактивного момента, прижимающей поршень к стенкам цилиндра и большое трение. Это снижает КПД ДВС. Механические потери здесь достигают 38%, КПД не превышает 0,85. Для устранения этого негативного явления, были изначально созданы двигатели, с крейцкопфным КШМ, где был достигнут высокий КПД до 0,9, но относительно большая масса и большие вертикальные габариты такого двигателя исключают его использование в наземном транспорте, и ограничивают сферу применения в ряде силовых корабельных установок.

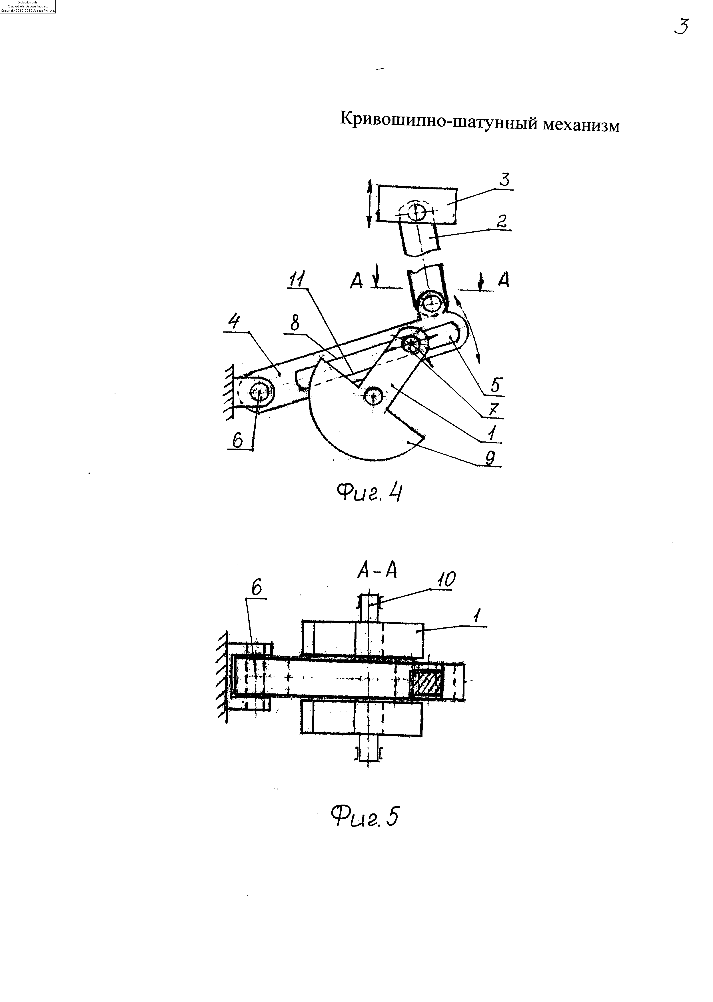
[5]

Второй недостаток заложен в самой природе устройства КШМ, состоящий из шарнирно сочлененных звеньев между собой в виде поршня шатуна и кривошипа, что в купе задает весь тон работы ДВС в целом. Для начала осуществления рабочего хода поршня в цилиндре ДВС, находящегося в ВМТ, необходимо некоторое изначальное отклонение центра оси кривошипа от оси, проходящей через ВМТ-НМТ, в результате которого вызывается вращающий момент коленчатого вала ДВС.С увеличением отклонения по ходу движения от ВМТ (т.е. с увеличением длины плеча относительно оси, проходящей через ВМТ-НМТ) достигается максимум вращающего момента между ВМТ и НМТ, который довольно быстро уменьшается при движении к НМТ. Поэтому, для извлечения высокого крутящего момента необходимо поддерживать высокие обороты коленчатого вала относительно центра его вращения, что вызывает большой расход топлива.

[6]

Известен механизм привода ползуна по патенту России на изобретение №2150624, F16H 21/16, F01B 9/02, F02B 75/32, содержащий кривошип и ползун с шатунами соответственно, направляющие зубчатые рейки и входящие в зацепление друг с другом зубчатые колеса, имеющие возможность движения по указанным рейкам и подвижно соединенные с шатунами ползуна и кривошипа соответственно.

[7]

Данный механизм частично устраняет первый недостаток КШМ, уменьшая нагрузки на стенки цилиндра от боковых сил, однако не устраняет второй недостаток КШМ.

[8]

Кроме того, наличие зубчатого зацепления усложняет конструкцию, снижая надежность в работе, увеличивает трудозатраты на производство и стоимость ремонта. В случае выхода из строя одного зубчатого колеса необходима замена и другого, связанного с ним, так как в процессе работы они притираются друг к другу до оптимального зацепления или изнашиваются до появления люфта, а это разбалансирует работу всего механизма.

[9]

Известен дезаксиальный кривошипно - ползунный механизм Яримова по патенту России на изобретение №2267672, F16H 21/00, содержащий кривошип и ползун, шарнирно соединенные с шатуном. Повышение КПД (эффективности) достигается тем, что дезаксиальный кривошипно-шатунный механизм выполнен с относительной величиной расстояния между осью перемещения ползуна и центром вращения кривошипа в интервале параметров 0,25<ξ<7,0 и собственным энергетическим параметром механизма А, который вычисляют по определенной предложенной формуле.

[10]

Однако данный механизм не устраняет первый и второй недостатки, присущие традиционному КШМ.

[11]

Известен также шатунно-коромысловый механизм В.А.Ворогушина по патенту России на изобретение №2351784, F02B 75/32, принятый за прототип, содержащий кривошип и шатун кривошипа, шарнирно соединенный нижней головкой с шейкой кривошипа, а верхней - с боковой поверхностью коромысла и через него с шарниром нижней головки поводка поршня, выполняющего функцию шатуна поршня. Коромысло имеет центр качания на свободном конце.

[12]

Данный механизм устраняет (в большей части) первый недостаток КШМ, уменьшая нагрузки на стенки цилиндра от боковых сил, благодаря введению коромысла - как передаточного звена, снимающего основные боковые нагрузки с тронка поршня, но не имеющего непосредственного контакта с шейкой кривошипа, так-как передача движущей силы для вращения кривошипа происходит через шатун.

[13]

В результате весь механизм сильно усложняется, благодаря наличию излишних кинематических связей, и увеличиваются его габариты. С введением шатуна кривошипа образуется традиционный КШМ, в котором сохраняется присущий для всех классических ДОС второй недостаток КШМ, это малый съем мощности с выходного вала двигателя при его малых оборотах. Поэтому, для получения большого крутящего момента на валу двигателя поддерживают высокие обороты, что ведет к повышенному расходу топлива.

[14]

Кроме того, ДВС, содержащие в своей конструкции КШМ, имеют еще один общий недостаток. Это невозможность проведения качественной продувки цилиндров от продуктов сгорания из-за скоротечности происходящих внутренних процессов в цилиндре и малого времени их удаления. Это время уменьшается с увеличением оборотов двигателя, что вынуждает производить выпуск отработанных газов несколько раньше прихода поршня в НМТ, но и это не позволяет полностью удалить продукты сгорания из цилиндра, негативно влияя на качество заряда цилиндра топливной смесью и существенно снижая КПД двигателя.

[15]

Задачей полезной модели является извлечение максимального крутящего момента на валу двигателя при уменьшенном расходе топлива (пара) и упрощение конструкции.

[16]

Кривошипно-шатунный механизм содержит содержащий кривошип и шатун, один конец которого связан с поршнем цилиндра, а другой - шарнирно связан с кривошипом через передаточное звено, имеющее неподвижный центр качания на свободном конце.

[17]

В отличие от прототипа передаточное звено выполнено в виде одноплечего рычага, имеющего по длине замкнутый направляющий паз, в котором установлена снабженная подшипником шейка кривошипа с возможностью возвратно-поступательного перемещения вдоль рычага.

[18]

Направляющий паз имеет криволинейную форму или прямолинейную форму.

[19]

Конфигурация паза выполнена с обеспечением задержки рабочего хода поршня в крайнем нижнем положении для полного удаления продуктов сгорания из цилиндра.

[20]

Выполнение передаточного звена в виде одноплечего рычага с замкнутым пазом по его длине, по которому перемещается шейка кривошипа, обеспечивает:

[21]

- связь кривошипа с шатуном, без излишней кинематической связи, что уменьшает габариты и упрощает конструкцию;

[22]

- во время работы - максимальное сближение друг к другу ВМТ и НМТ в сторону центра качания рычага, при минимальной траектории движения конца шатуна, что практически устраняет механические потери на трение поршня о стенки цилиндра;

[23]

- ускоренный обратный ход поршня, что позволяет увеличить время на максимальное использование работы расширяющихся газов.

[24]

Небольшая криволинейность паза рычага, оптимальной формы, например, синусоидальной, обеспечивает плавную задержку поршня в цилиндре, после его рабочего хода в крайнем нижнем положении для полного удаления продуктов сгорания из цилиндра. Время задержки можно менять конфигуацией паза. Это позволяет оптимизировать работу цилиндро-поршневой группы с полным удалением продукте сгорания, без потери времени (компенсируя его ускоренным обратным ходом поршня в цилиндре), что необходимо при использовании устройства в ДВС.

[25]

В результате, за счет максимально используемой работы расширяющихся газов в цилиндре развивается максимальный крутящий момент на валу двигателя на всей траектории движения шейки кривошипа (верхнем и нижнем полукружье), что повышает КПД двигателя при экономии топлива.

[26]

При использовании устройства в паро-поршневых двигателях (ППД), где не нужна продувка цилиндра от продуктов сгорания, так как рабочим телом является пар, наиболее оптимален вариант выполнения направляющего паза прямолинейной формы.

[27]

Снабжение подшипником шейки кривошипа улучшает передачу ему энергии рычагом при минимальном трении качения.

[28]

Конструкция механизма, обеспечивающая полное удаление продуктов сгорания, позволяет эффективно использовать его не только в наиболее энергетически экономичных двухтактных ДВС, но и в парогазовых силовых установках, поршневых компрессорах, летательных аппаратах и других механизмах, имеющих в конструкции кривошип, что расширяет эксплуатационные возможности.

[29]

Таким образом, все признаки являются существенными и решают поставленную задачу.

[30]

Устройство представлено на чертежах.

[31]

Фиг.1 Кривошипно-шатунный механизм с пазом рычага криволинейной формы, общий вид.

[32]

Фиг.2 Разрез Α-A на фиг.1.

[33]

Фиг.3 Положение рычага в ВМТ и НМТ с пазом рычага криволинейной формы, увеличено.

[34]

Фиг.4 Кривошипно-шатунный механизм с пазом рычага прямолинейной формы, общий вид.

[35]

Фиг.5 Разрез Α-A на фиг.4.

[36]

Фиг.6 Положение рычага в ВМТ и НМТ с пазом рычага прямолинейной формы, увеличено.

[37]

Кривошипно-шатунный механизм содержит кривошип 1 и шатун 2, один конец которого связан с поршнем 3 цилиндра, а другой - шарнирно связан с концом одноплечего рычага 4, имеющего направляющий паз 5 криволинейной (для ДВС), фиг.1, 3 или прямолинейной формы (для ППД), фиг.4, 6. Другой конец рычага 4 шарнирно закреплен к корпусу двигателя (не показано) с возможностью качания вокруг неподвижного центра закрепления 6. В пазу 5 установлена шейка 7 кривошипа 1 с напрессованным на нее подшипником (не показано) с возможностью возвратно-поступательного перемещения в пазу 5 вдоль рычага 4. Конфигурация паза 5 выполнена с обеспечением задержки рабочего хода поршня в крайнем нижнем положении для возможности полного удаления продуктов сгорания из цилиндра и ускоренным обратным ходом.

[38]

При выполнении паза криволинейной формы механизм работает следующим образом. При прямом рабочем ходе поршень 3 перемещается от ВМТ к НМТ, это соответствует и крайним положениям рычага 4 - верхнему I и нижнему II. При этом движение от поршня 3 через шатун 2 передается на рычаг 4, который своею верхнею ветвью 8 паза 5 воздействует через подшипник на шейку 7 кривошипа и вращает кривошип 1, по часовой стрелке. Подшипник катится по пазу 5, перемещаясь вдоль него вправо с шейкой 7 кривошипа, удаляясь от центра 6. При прохождении шейки 7 кривошипа 1 через горизонталь ОД (середина между крайними положениями I и II рычага 4) она начинает движение в пазу 5 в обратном направлении влево, приближаясь к центру 6, опираясь на верхнюю ветвь 8 паза, и доходит до НМТ, рычаг 4 - в крайнем нижнем положении II.

[39]

Далее поршень 3 и рычаг 4 пребывают некоторое время (регулируемое конфигурацией паза 5 для разных механизмов) в фиксированном положении, в течение которого происходит продувка - полное удаление продуктов сгорания из цилиндра. При этом шейка 7 кривошипа 1 продолжает свое перемещение в пазу 5 влево, вращаясь по круговой траектории (почасовой стрелке), относительно точки О на угол ВОС благодаря накопленному моменту инерции своего маховика 9 или иного принудительного воздействия параллельно спаренного такого же механизма. Затем происходит ускоренный подъем рычага 4 к исходному положению I, благодаря воздействию подшипника шейки кривошипа 7 на верхнюю ветвь 8 паза 5, с одновременным ускоренным уменьшением расстояния шейки 7 кривошипа до точки центра закрепления рычага 6. Далее цикл повторяется.

[40]

При своей работе рычаг 4, связанный с шатуном 2, совершает маятниковое движение вокруг центра 6.

[41]

При выполнении паза прямолинейной формы механизм работает аналогичным образом, но задержки движения поршня 3 и рычага 4 при достижении НМТ не происходит, так как подшипник шейки 7 кривошипа катится по прямой ровной поверхности паза 5. Выпуск отработанного пара происходит при обратном ходе поршня 3 с перемещением его от НМТ к ВМТ, и рычага 4 - из положения II в исходное положение I.

Как компенсировать расходы
на инновационную разработку
Похожие патенты