патент
№ RU 130662
МПК F16L55/00

УСТРОЙСТВО ДЛЯ ГЕРМЕТИЗАЦИИ ВАНТУЗА НЕФТЕПРОВОДА, ИСКЛЮЧАЮЩЕЕ ВОЗМОЖНОСТЬ НЕСАКЦИОНИРОВАННОГО ДОСТУПА

Авторы:
Туманов Игорь Евгеньевич
Номер заявки
2012144520/06
Дата подачи заявки
19.10.2012
Опубликовано
27.07.2013
Страна
RU
Как управлять
интеллектуальной собственностью
Чертежи 
2
Реферат

1. Устройство для герметизации вантуза нефтепровода, содержащее фланец вантуза, заглушку, установленную на фланце вантуза разъемно, фланцевый патрубок, перекрытый герметизирующей пробкой, элементы фиксации герметизирующей пробки, выполненные в виде сегментных секторов, управляемых через винтовые пары, отличающееся тем, что заглушка выполнена с центральным отверстием, в котором установлен переходник, соединенный с шаровым краном, при этом выходное отверстие шарового крана снабжено предохранительной пробкой.2. Устройство по п.1, отличающееся тем, что узел крепления винтовой пары привода сегментов снабжен защитным колпачком.3. Устройство по п.1, отличающееся тем, что на внешней поверхности герметизирующей пробки выполнены проточки для размещения сменных уплотнительных колец.4. Устройство по п.3, отличающееся тем, что внешняя цилиндрическая поверхность герметизирующей пробки с установленными на ней уплотнительными кольцами выполнена с возможностью нанесения на нее пластичной смазки.5. Устройство по п.1, отличающееся тем, что на внутренней поверхности фланцевой заглушки, взаимодействующей с фланцем вантуза, установлена прокладка.

Формула изобретения

1. Устройство для герметизации вантуза нефтепровода, содержащее фланец вантуза, заглушку, установленную на фланце вантуза разъемно, фланцевый патрубок, перекрытый герметизирующей пробкой, элементы фиксации герметизирующей пробки, выполненные в виде сегментных секторов, управляемых через винтовые пары, отличающееся тем, что заглушка выполнена с центральным отверстием, в котором установлен переходник, соединенный с шаровым краном, при этом выходное отверстие шарового крана снабжено предохранительной пробкой.

2. Устройство по п.1, отличающееся тем, что узел крепления винтовой пары привода сегментов снабжен защитным колпачком.

3. Устройство по п.1, отличающееся тем, что на внешней поверхности герметизирующей пробки выполнены проточки для размещения сменных уплотнительных колец.

4. Устройство по п.3, отличающееся тем, что внешняя цилиндрическая поверхность герметизирующей пробки с установленными на ней уплотнительными кольцами выполнена с возможностью нанесения на нее пластичной смазки.

5. Устройство по п.1, отличающееся тем, что на внутренней поверхности фланцевой заглушки, взаимодействующей с фланцем вантуза, установлена прокладка.

Описание

[1]

Полезная модель относится к средствам для герметичного запирания нефтепроводного вантуза и может быть использована в трубопроводном транспорте нефти для осуществления контроля герметичности вантуза и исключения возможности доступа посторонних лиц к продукту перекачки.

[2]

Вантузы обеспечивают подачу воздуха в нефтепровод или сброс газовоздушной смеси из нефтепровода, а также они используются для опорожнения и заполнения трубопровода нефтью при проведении ремонтных работ на нефтепроводе.

[3]

Применявшиеся ранее вантузные герметизирующие устройства чаще всего представляли собой конструкцию, состоящую из фланцевой задвижки, установленной на приваренном к нефтепроводу патрубке. Для исключения возможности доступа к нефтепродуктам третьих лиц на задвижку устанавливался на болтовом соединении глухой сферический фланец, а штурвальное колесо с задвижки снималось. Указанные меры оказались недостаточно эффективными. Периодически наблюдались случаи установки на задвижку штурвалов, раскрепления болтовых соединений глухого фланца и хищения продукта перекачки.

[4]

Помимо вышеуказанного, из-за того, что фланцевая задвижка постоянно находилась на трубе, имелась вероятность загрязнения окружающей среды продуктом перекачки в случае разгерметизации сальникового устройства или выхода из строя прокладки между патрубком и задвижкой.

[5]

Полезные модели относятся к средствам для герметичного запирания нефтепроводного вантуза и могут быть использованы в трубопроводном транспорте нефти.

[6]

Известна система герметичного запирания пробки в вантузе трубопровода, описанная в материалах патента США 4513788, F16L 55/10, публ. 30.04.1985. Вантуз включает патрубок, снабженный фланцем, а система запирания содержит пробку с выемкой, которая при установке пробки во фланце располагается напротив кольцевой канавки в проеме фланца. Воротник, установленный в кольцевой канавке фланца, может частично выходить из канавки на фланце и входить в выемку на пробке. Для перемещения воротника предусмотрена соединенная с ним передача типа «винт-гайка», расположенная в радиальном отверстии фланца.

[7]

В конструкции по патенту США 4513788 отсутствуют средства против несанкционированного высвобождения пробки, находящейся под давлением нефтепровода, что допускает выведение воротника из выемки на пробке без использования специального приспособления для установки и извлечения пробки (указанное приспособление создает давление, противоположное давлению на пробку со стороны нефтепровода). Кроме того, даже если указанное выше приспособление используется, то при отсутствии давления в нефтепроводе возможно падение пробки на дно трубы из-за ее случайного отцепления от приспособления.

[8]

Из уровня техники известно приспособление для установки и извлечения герметизирующей пробки вантуза нефтепровода, раскрытое в полезной модели RU 93494 от 27.04.2010 и RU 116959 oт 26.12.2011.

[9]

Наиболее близким аналогом заявленной полезной модели является устройство для герметизации вантуза нефтепровода, раскрытое в полезной модели RU 93493 от 27.04.2010. Указанное устройство включает в себя фланец вантуза, заглушку, установленную на фланце вантуза разъемно, фланцевый патрубок, перекрытый герметизирующей пробкой, элементы фиксации герметизирующей пробки, выполненные в виде сегментных секторов (воротников), управляемых через винтовые пары.

[10]

Заглушка, установленная на фланце вантуза, выполнена монолитной в своей центральной части и содержит отверстия только по периферии, предназначенные для осуществления болтового соединения с фланцем. Таким образом, для контроля состояния герметизирующей пробки требуется каждый раз снимать заглушку с фланца вантуза, что не технологично трудоемко, а регулярные проверки приводят к износу соединительных элементов и прокладок.

[11]

Заявленная полезная модель направлена на исключение вероятности загрязнения окружающей среды, обеспечение контроля за состоянием герметизирующей пробки вантуза при исключении доступа третьих лиц к продукту перекачки.

[12]

Технический результат полезной модели заключается в обеспечение контроля за состоянием герметизирующей пробки вантуза при повышении экологической безопасности заявленного устройства.

[13]

Для решения поставленной задачи предложено устройство для герметизации вантуза нефтепровода, содержащее фланец вантуза, заглушку, установленную на фланце вантуза разъемно, фланцевый патрубок, перекрытый герметизирующей пробкой, элементы фиксации герметизирующей пробки, выполненные в виде сегментных секторов, управляемых через винтовые пары. Причем заглушка, установленная на фланце, выполнена с центральным отверстием, в котором размещен переходник, соединенный с шаровым краном, при этом выходное отверстие шарового крана снабжено предохранительной пробкой.

[14]

Узел крепления винтовой пары привода сегментов в заявленном устройстве снабжен защитным колпачком, предохраняющим узел крепления от влияния внешних факторов, повышающий надежность его работы, облегчает контроль за состоянием герметизирующей пробки вантуза.

[15]

На внешней поверхности герметизирующей пробки выполнены проточки для размещения сменных уплотнительных колец, обеспечивающих герметичность ее установки. Установка уплотнительных колец в указанных проточках с возможностью их периодической замены при осуществлении контроля состояния герметизирующей пробки вантуза повышает экологическую безопасность заявленного устройства. Для дополнительного повышения указанного эффекта, внешняя цилиндрическая поверхность герметизирующей пробки с установленными на ней уплотнительными кольцами выполнена с возможностью нанесения на нее пластичной смазки.

[16]

Кроме того, на внутренней поверхности фланцевой заглушки, взаимодействующей с фланцем вантуза, установлена прокладка, которая в ситуациях протечки нефтепродуктов через уплотнения герметизирующей пробки обеспечит герметичность устройства и его экологическую безопасность.

[17]

Полезная модель иллюстрируется фигурами 1-2.

[18]

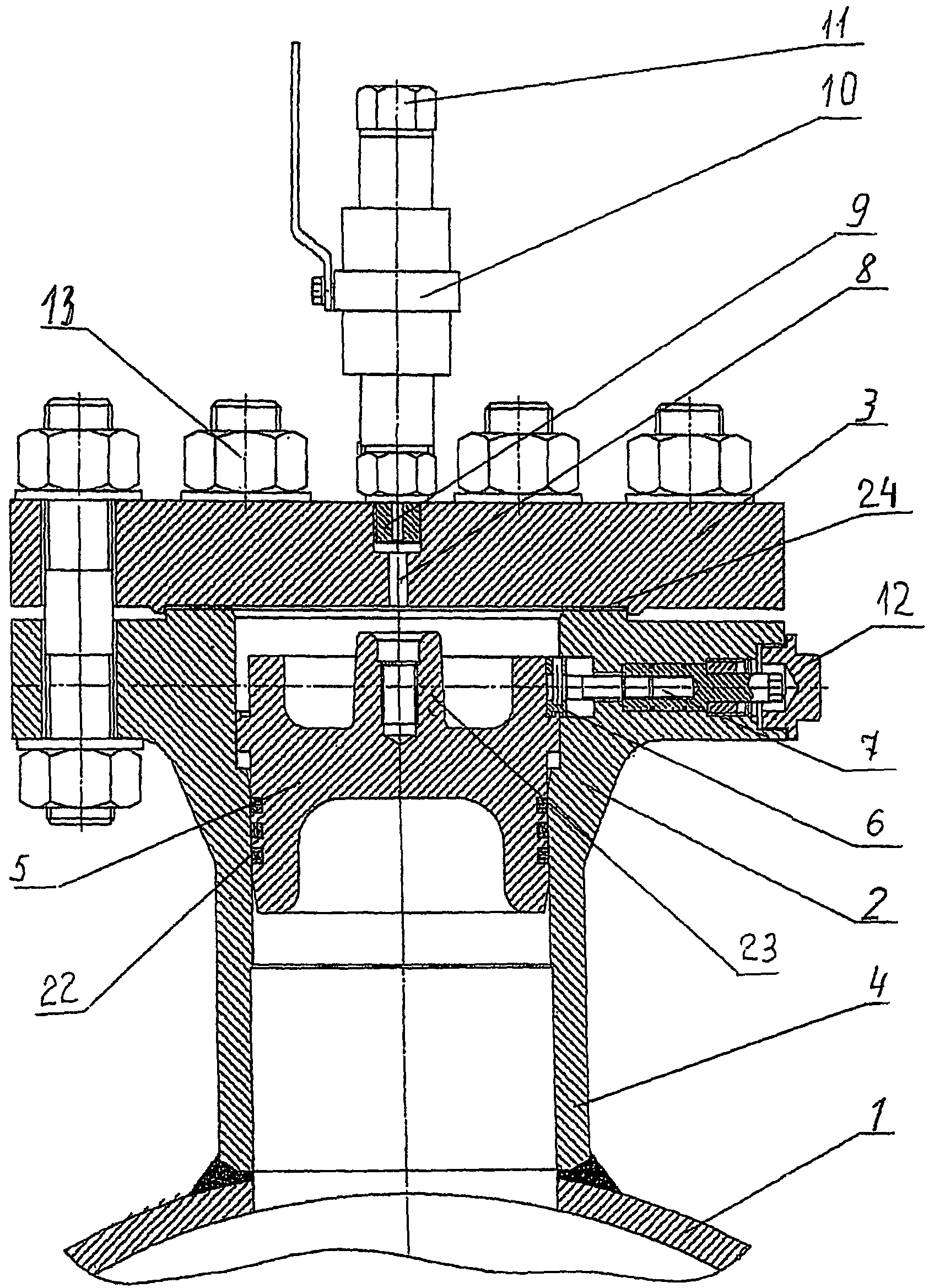
На фигуре 1 показано устройство для герметизации вантуза нефтепровода.

[19]

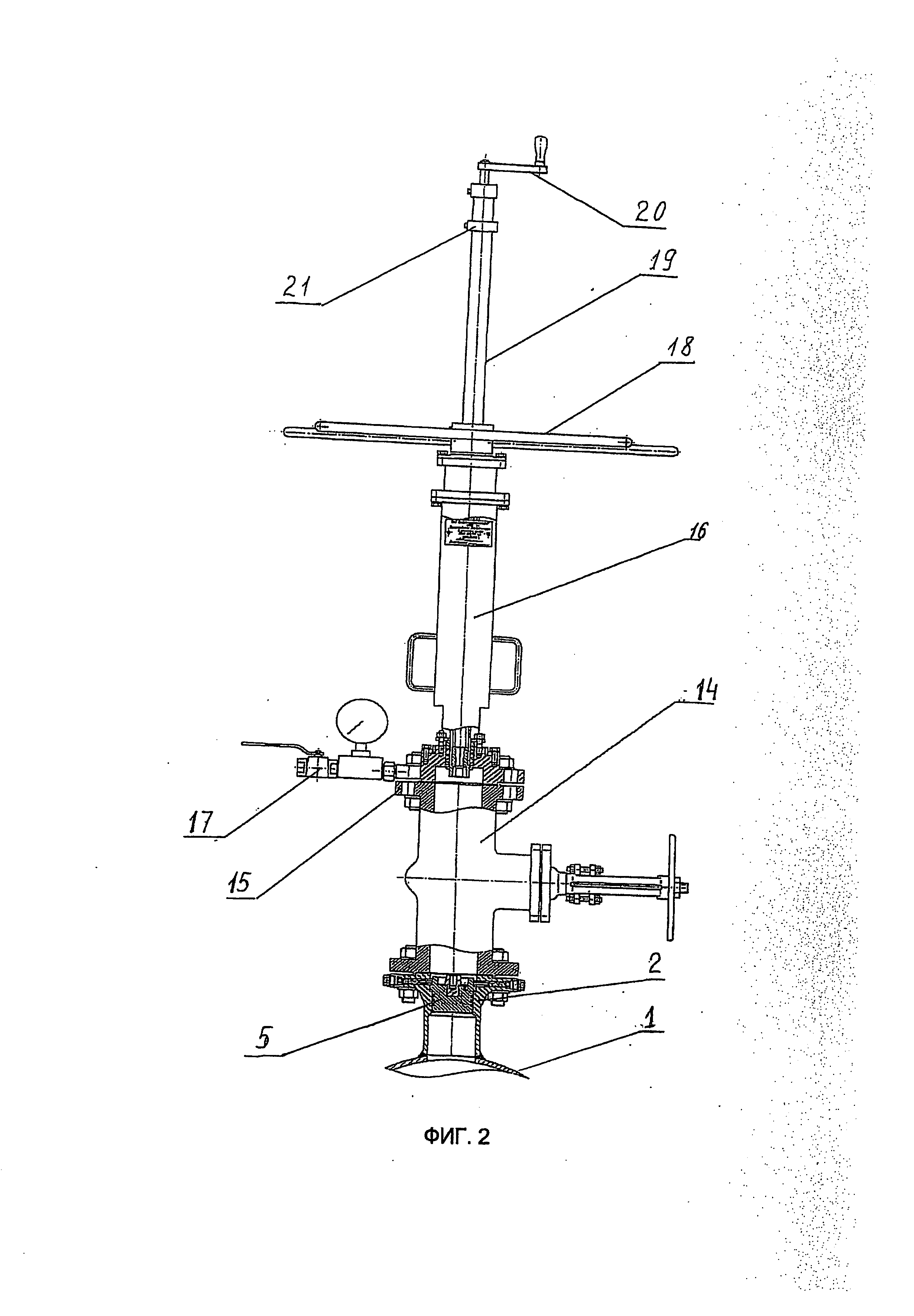
На фигуре 2 показана герметизация вантуза при помощи приспособления, выполняющего установку герметизирующей пробки в корпус фланцевого парубка.

[20]

Заявленное устройство для герметизации вантуза, как показано на фиг. 1, размещено на нефтепроводе 1 и содержит фланец 2 вантуза, заглушку 3, установленную на фланце 2 вантуза, фланцевый патрубок 4, перекрытый герметизирующей пробкой 5, элементы фиксации герметизирующей пробки 5, выполненные в виде сегментных секторов 6, управляемых через винтовые пары 7. Причем заглушка 3, установленная на фланце 2, выполнена с центральным отверстием 8, в котором размещен переходник 9, соединенный с шаровым краном 10, при этом выходное отверстие шарового крана снабжено предохранительной пробкой 11.

[21]

Таким образом, в штатном режиме работы нефтепровода на вантузе отсутствует задвижка, которая является средством доступа к продукту перекачки.

[22]

Установка задвижки производится только на время проведения ремонтных или плановых технологических работ на нефтепроводе.

[23]

Герметизация вантуза осуществляется посредством специализированного приспособления выполняющего установку герметизирующей пробки в корпус фланцевого парубка, что повышает защищенность вантуза от несанкционированного доступа.

[24]

Подготовка заявленного устройства для герметизации вантуза к извлечению пробки включает следующую последовательность операций.

[25]

Сначала необходимо проверить положение шарового крана 10 фланцевой заглушки 3. Он должен быть в положении закрыто. Затем следует вывернуть пробку 11 из выходного отверстия шарового крана 10, удерживая кран от вращения гаечным ключом за шлицы, расположенные на его корпусе. Затем осуществляют проверку герметичности герметизирующей пробки 5, открыв кран 10, повернув ручку крана, приблизительно, на 10°. При отсутствии выхода из крана 10 воздуха, нефти или иной жидкости, можно открыть кран полностью. Отсутствие выхода воздуха, нефти или иной жидкости свидетельствует о герметичности герметизирующей пробки 5. Для предотвращения попадания грязи внутрь крана 10 следует ввернуть пробку 11 обратно в отверстие крана от руки. Затем следует открутить защитные колпачки 12 с винтовых пар 7 привода сегментов 6. После этого следует открутить гайки 13 крепления фланцевой заглушки 3 и снять заглушку 3 с фланца 2 вантуза. Затем, как показано на фиг.2, выполняют монтаж задвижки 14 на фланец 2 вантуза, поместив между ними прокладку, после чего выполняют монтаж на фланец 15 установленной задвижки 14 приспособления 16 для установки и извлечения герметизирующей пробки 5, поместив между ними прокладку. При этом следует проверить положение крана 17 на приспособлении 16, он должен быть закрыт, после чего открывают задвижку 14.

[26]

Вращением штурвала 18 по часовой стрелке доводят пиноль приспособления 16 до пробки 5. О том, что пиноль дошла до пробки 5 в упор, свидетельствует резко возросший момент вращения на штурвале 18. Надавив рукой на шток 19, чтобы он опустился до упора, вворачивают резьбовой конец штока 19 в резьбовое отверстие герметизирующей пробки 5. Для этого, продолжая надавливать на шток 19, вращают по часовой стрелке рукоятку 20 до упора. После этого следует отпустить стопорный болт кольца 21 и сделать поворот штурвала 18 на один оборот по часовой стрелке.

[27]

Затем вращением ходовых винтов 7 осуществляют разведение фиксирующих сегментов 6 (четыре штуки), удерживающих герметизирующую пробку 5. Вращение винтов 7 должно производиться до упора.

[28]

Вращением штурвала 18 против часовой стрелки выводят пробку 5 из фланцевого патрубка 4 вверх до упора. После извлечения пробки 5 и ее вывода выше клина задвижки 14, задвижку 14 закрывают и открывают кран 17 для сброса давления в приспособлении 16. После этого можно произвести демонтаж приспособления 16 с задвижки 14, и вантуз готов к проведению технологических операций.

[29]

После завершения плановых технологических операций на нефтепроводе 1 требуется установить пробку 5 обратно во фланец 2 вантуза.

[30]

Для этого необходимо вновь подготовить к работе приспособление 16 для установки и извлечения герметизирующей пробки.

[31]

Перед установкой пробки 5 для перекрытия фланцевого патрубка 4 необходимо заменить уплотнительные кольца 22 на герметизирующей пробке 5 новыми и нанести на цилиндрическую поверхность пробки 5 и уплотнительные кольца 22 пластичную смазку.

[32]

Затем размещают пробку 5 на приспособлении 16, вставить конусную бобышку 23 пробки в посадочное место пиноли. Удерживая пробку 5 от вращения, вращением рукоятки 20 штока 19 по часовой стрелке подсоединяют к нему пробку 5 и выполняют монтаж приспособления 16 на задвижку 14. После чего проверяют положение крана 17 на приспособлении 16, он должен быть закрыт. Затем открывают задвижку 14.

[33]

Вращением штурвала 18 по часовой стрелке заводят пробку 5 в посадочное место во фланцевом патрубке 4 вантуза. Момент уплотнения пробки 5 характеризуется резким возрастанием вращающего момента на штурвале 18. Полная посадка пробки 5 до упора отмечается невозможностью поворота штурвала 18 с предыдущим усилием.

[34]

После чего следует выдвинуть сегменты 6 для фиксации герметизирующей пробки 5. Выдвижение фиксирующих сегментов 6 осуществляется вращением винтовых пар 7 расположенных во фланце 2 вантуза, по часовой стрелке. Указание о направлении вращения винтов приведено возле каждого винта. Вращение винтов должно производиться до упора.

[35]

Открытием крана 17 сбрасывают давление в приспособлении 16 в заранее приготовленную емкость и закрывают кран.

[36]

Вращением рукоятки 20 штока 19 против часовой стрелки, отсоединяют приспособление 16 от пробки 5. После чего следует проконтролировать герметичность посадки пробки 5, сделав тридцатиминутную выдержку при закрытом кране 17. За время проверки, рост давления в приспособлении 16 не допускается. При открытии крана 17 после выдержки, выхода продукта перекачки не должно быть. Если был отмечен выход продукта, то производят повторный сброс давления до нуля и повторную проверку на герметичность.

[37]

В случае положительного результата проверки на герметичность, вращением штурвала 18 против часовой стрелки, отводят пиноль вверх до упора и закрывают задвижку 14. После чего можно произвести демонтаж приспособления 16 и откачать продукт из полости задвижки 14 не менее 8,5 л. Затем проводят демонтаж задвижки 14.

[38]

Во фланцевую заглушку 3 (фиг 1.) устанавливают прокладку 24 и осуществляют монтаж заглушки 3 на фланец 2 вантуза. Затем меняют прокладку на предохранительной пробке шарового крана 10 и завинчивают в него пробку. При этом удерживают кран 10 от вращения гаечным ключом за шлицы, расположенные на корпусе. При завершении работ на вантузе устанавливают на место защитные колпачки 12 для защиты винтов привода сегментов, заменив прокладки на новые.

[39]

Заявленное устройство для герметизации вантуза нефтепровода позволяет производить установку задвижки только на время проведения ремонтных или плановых технологических работ на нефтепроводе. Из описания работы устройства видно, что в штатном режиме работы нефтепровода на вантузе отсутствует задвижка, которая является средством доступа к продукту перекачки.

[40]

Как показано выше герметизация вантуза осуществляется посредством применения специализированного приспособления 16, выполняющего установку герметизирующей пробки 5 в корпус фланцевого парубка 4, что повышает защищенность вантуза от несанкционированного доступа.

[41]

Таким образом, заявленная полезная модель снижает вероятность загрязнения окружающей среды и обеспечивает возможность осуществления контроля за состоянием герметизирующей пробки вантуза при исключении доступа третьих лиц к продукту перекачки, что повышает экологическую безопасность эксплуатации нефтепровода.

Как компенсировать расходы
на инновационную разработку
Похожие патенты