Полезная модель относится к области черной металлургии, в частности, к оборудованию, применяемому в технологических процессах агломерации и обжига окатышей железорудных материалов. Тележка спекательная или обжиговая конвейерной машины состоит из рамного корпуса, к которому прикреплены две боковины, снабженные ходовыми и грузовыми роликами. Рамный корпус и боковины зафиксированы друг с другом болтовыми соединениями. Болтовые соединения выполнены с зазором 0,001…0,25 от диаметра отверстия под болт.В рамном корпусе и боковинах выполнены пазы и соответствующие им выступы, образующие замковые соединения, фиксирующие корпус и боковины от взаимного смещения в двух направлениях: в вертикальном и горизонтальном. Полезной моделью решается задача повышения ремонтопригодности и снижения затрат на обслуживание и изготовление тележек спекательных или обжиговых для конвейерной машины.
Тележка спекательная или обжиговая конвейерной машины, содержащая рамный корпус, к которому прикреплены две боковины, снабженные ходовыми и грузовыми роликами, при этом рамный корпус и боковины зафиксированы друг с другом болтовыми соединениями, отличающаяся тем, что болтовые соединения выполнены с зазором 0,001…0,25 от диаметра отверстия под болт, при этом в рамном корпусе и боковинах выполнены пазы и соответствующие им выступы, образующие замковые соединения, фиксирующие корпус и боковины от взаимного смещения в вертикальном и горизонтальном направлениях.
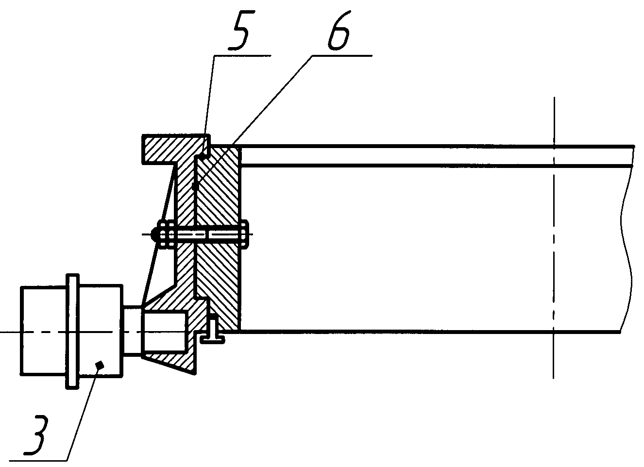
Полезная модель относится к области черной металлургии, в частности, к оборудованию, применяемому в технологических процессах агломерации и обжига окатышей железорудных материалов. По описанию к авторскому свидетельству СССР №1471044 (опубл. 07.04.1989) известна тележка конвейерной обжиговой машины, содержащая две боковины с грузовыми и ходовыми роликами и бортами, рамный корпус, и ригели, соединенные при помощи болтов с боковинами. Ригели выполнены по длине составными из трех частей. Крайние части соединены с боковинами с помощью болтов, установленных с зазором. В известной тележке отверстия с зазором выполнены только у крайних ригелей, а у средних болтовое соединение выполнено по посадке. Болтовые соединения выполнены по плотной посадке, для предотвращения взаимного смещения корпуса и боковин и придания жесткости тележке во время ее эксплуатации. Но целью указанного выше изобретения являлось устранение прососов. Техническим результатом предлагаемой полезной модели является повышение ремонтопригодности и снижение затрат на обслуживание и изготовление тележек спекательных или обжиговых конвейерной машины. Указанная задача решается тем, что в тележке спекательной или обжиговой для конвейерной машины, состоящей из рамного корпуса, к которому прикреплены две боковины, снабженные ходовыми и грузовыми роликами, рамный корпус и боковины зафиксированы друг с другом болтовыми соединениями, болтовые соединения выполнены с зазором 0,001…0,25 от диаметра отверстия под болт, при этом в рамном корпусе и боковинах выполнены пазы и соответствующие им выступы, образующие замковые соединения, фиксирующие корпус и боковины от взаимного смещения в двух направлениях: в вертикальном и горизонтальном. Отличительными признаками предлагаемой тележки является выполнение болтовых соединений с зазором 0,001…0,25 от диаметра отверстия под болт, при этом в рамном корпусе и боковинах выполнены пазы и соответствующие им выступы, образующие замковые соединения, фиксирующие корпус и боковины от взаимного смещения в двух направлениях: в вертикальном и горизонтальном. При таком исполнении тележки спекательной или обжиговой необходимость обработки отверстий под болты в боковинах и рамном корпусе отсутствует, что позволяет применять унифицированные рамные корпусы тележек, повышая их ремонтопригодность за счет переноса сдвигающих и срезающих усилий с болтов на замковые соединения. Предлагаемая тележка спекательная для конвейерных машин иллюстрируется чертежами, представленными на фиг.1-2. На фиг.1 - разрез по вертикали; на фиг.2 - вид сверху. Тележка спекательная или обжиговая конвейерной машины состоит из рамного корпуса 1, к которому прикреплены две боковины 2, снабженные ходовыми и грузовыми роликами 3. Рамный корпус 1 и боковины 2 зафиксированы друг с другом болтовыми соединениями 4. Болтовые соединения 4 выполнены с зазором 0,001…0,25 от диаметра отверстия под болт. В рамном корпусе 1 и боковинах 2 выполнены пазы 5 и соответствующие им выступы 6, образующие замковые соединения, которые фиксируют корпус 1 и боковины 2 от взаимного смещения в двух направлениях: в вертикальном и горизонтальном. Тележка спекательная для конвейерных машин работает следующим образом. На верхней ветви ленты тележек происходит их загрузка материалом - аглошихтой или сырыми окатышами. Далее по ходу движения тележек на верхней ветви конвейерной машины происходит технологический процесс спекания аглошиты или обжига окатышей, после завершения которого происходит выгрузка готового материала с тележек при их переходе с верхних прямолинейных направляющих на криволинейные направляющие в разгрузочной части конвейерной машины. Применение предлагаемой полезной модели кроме ремонтопригодности позволяет также снизить затраты на изготовление тележек за счет уменьшения количества болтовых соединений в связи с тем, что сдвигающие и срезающие усилия будут перенесены с болтов на замковые соединения.