патент
№ RU 125710
МПК G01N31/22

ИНДИКАТОР БИОЛОГИЧЕСКИЙ ОДНОРАЗОВЫЙ ДЛЯ КОНТРОЛЯ ВОЗДУШНОЙ СТЕРИЛИЗАЦИИ

Авторы:
Андреев Владимир Сергеевич Васильев Николай Семенович Червякова Наталия Евгеньевна
Все (4)
Номер заявки
2012134745/15
Дата подачи заявки
15.08.2012
Опубликовано
10.03.2013
Страна
RU
Как управлять
интеллектуальной собственностью
Чертежи 
1
Реферат

1. Индикатор биологический одноразовый для контроля воздушной стерилизации, характеризующийся тем, что состоит из прозрачного флакона, содержащего высушенные споры микроорганизмов и герметично закрытого пробкой, выполненной из термостойкого эластичного и инертного материала, не ингибирующего рост микроорганизмов.2. Индикатор биологический одноразовый для контроля воздушной стерилизации по п.1, отличающийся тем, что микроорганизмы, содержащиеся во флаконе, помещены непосредственно на внутреннюю поверхность флакона, либо на носитель в виде полоски или диска бумаги, фольги, пластика, керамики, помещенного в полость флакона.3. Индикатор биологический одноразовый для контроля воздушной стерилизации по п.1, отличающийся тем, что пробка дополнительно закатана металлическим колпачком.4. Индикатор биологический одноразовый для контроля воздушной стерилизации по п.1, отличающийся тем, что в качестве прозрачного флакона использованы стеклянные флаконы или полимерные флаконы.5. Индикатор биологический одноразовый для контроля воздушной стерилизации по п.1, отличающийся тем, что в качестве пробки использованы пробки из силикона, или из эластичного фторопласта, или из волокнистых материалов.6. Индикатор биологический одноразовый для контроля воздушной стерилизации по п.1, отличающийся тем, что на наружную поверхность флакона нанесена или наклеена этикетка с маркировкой индикатора и химическим индикатором.

Формула изобретения

1. Индикатор биологический одноразовый для контроля воздушной стерилизации, характеризующийся тем, что состоит из прозрачного флакона, содержащего высушенные споры микроорганизмов и герметично закрытого пробкой, выполненной из термостойкого эластичного и инертного материала, не ингибирующего рост микроорганизмов.

2. Индикатор биологический одноразовый для контроля воздушной стерилизации по п.1, отличающийся тем, что микроорганизмы, содержащиеся во флаконе, помещены непосредственно на внутреннюю поверхность флакона, либо на носитель в виде полоски или диска бумаги, фольги, пластика, керамики, помещенного в полость флакона.

3. Индикатор биологический одноразовый для контроля воздушной стерилизации по п.1, отличающийся тем, что пробка дополнительно закатана металлическим колпачком.

4. Индикатор биологический одноразовый для контроля воздушной стерилизации по п.1, отличающийся тем, что в качестве прозрачного флакона использованы стеклянные флаконы или полимерные флаконы.

5. Индикатор биологический одноразовый для контроля воздушной стерилизации по п.1, отличающийся тем, что в качестве пробки использованы пробки из силикона, или из эластичного фторопласта, или из волокнистых материалов.

6. Индикатор биологический одноразовый для контроля воздушной стерилизации по п.1, отличающийся тем, что на наружную поверхность флакона нанесена или наклеена этикетка с маркировкой индикатора и химическим индикатором.

Описание

[1]

Заявленное решение распространяется на устройство индикатора для контроля воздушной стерилизации, относится к области контроля стерилизации и дезинфекции и используется в медицине, в ветеринарии, в косметологии, бальнеологии, в пищевой, фармацевтической, парфюмерно-косметической промышленности.

[2]

Одним из методов стерилизации является обработка изделий горячим сухим воздухом с температурой выше 160°С. Данный метод получил повсеместное распространение в виду простоты и низкой себестоимости. В некоторых случаях этот метод стерилизации является незаменимым, например, при стерилизации порошков, мазей, масел.

[3]

Кроме того, при стерилизации необходим комплексный подход к контролю условий с применением физических, химических и биологических методов. Биологический метод является наиболее объективным и достоверным и представляет собой использование тестов на основе непатогенных резистентных к воздействию горячего воздуха штаммов микроорганизмов, помещенных в упаковку. Такие тесты называются биологическими индикаторами.

[4]

В биологических индикаторах для контроля воздушной стерилизации в соответствии с ИСО 11140-6 микроорганизмы помещаются на носитель, который с целью предотвращения контаминации индикаторов после контроля стерилизационного процесса при транспортировке размещается в первичную стерилизационную упаковку. После проведения контроля биологические индикаторы должны активироваться, для чего первичную стерилизационную упаковку вскрывают, и носитель со спорами помещают в индикаторный питательный раствор. Очень важно производить вскрытие упаковки в стерильной среде. Несоблюдение этого условия может привести к искажению результатов тестирования вследствие контаминации микроорганизмами из окружающей среды. Данное обстоятельство и является основным недостатком таких биологических индикаторов.

[5]

Из уровня техники, известно решение конструкции биологического индикатора (Биотест-П1-Винар, ТУ 9398-090-11764404-2011), в котором споры микроорганизмов нанесены на бумажную полоску, помещенную в стерилизационную упаковку. После проведения контроля, стерилизационная упаковка в асептических условиях вскрывается, и носитель в виде полоски бумаги помещается во флакон со стерильным питательным индикаторным раствором для последующей инкубации. Как видно из описания, основным недостатком данной конструкции является необходимость вскрытия упаковки в стерильных условиях.

[6]

На решение этой проблемы было направлено следующее устройство - биологический индикатор (Биотест-П-Винар, ТУ 9398-090-11764404-2011), в котором в одной упаковке находятся споры с микроорганизмами и питательный индикаторный раствор, помещенный в герметичную стеклянную ампулу для последующей инкубации. Для активации этого индикатора не нужно асептических условий. Активация такого индикатора проводится путем раздавливания стеклянной ампулы с питательным индикаторным раствором внутри упаковки. Однако, недостатком данного устройства является ограниченность области использования. Индикаторы такого типа нельзя применять для контроля воздушной стерилизации. При температурах воздушной стерилизации (температуры выше 140°С) происходит разрушение компонентов водного индикаторного питательного раствора, которые необходимы для прорастания спор. В результате этого в не происходит роста микроорганизмов и изменение цвета индикаторного питательного раствора. В таком случае индикатор не позволяет получать информацию об эффективности стерилизации, не выполняет свою основную функцию.

[7]

Близкими аналогами к предлагаемой конструкции биологического индикатора являются похожие между собой биологические индикаторы от различных производителей. Среди производителей фигурирует «МГЦД» (Московский Городской Центр Дезинфекции), ООО «Чистый инструмент» (www.chistin.ru, раздел «инструкция по применению «Биостер-Воздух»). Также, на веб-сайте расположенном по адресу www.holodovaya.ru, в разделе «биологический индикатор одноразовый для контроля режимов стерилизации и дезинфекции «Биостер-Воздух - 160/60», «Биостер-Воздух - 180/60» можно найти описание аналога заявляемого устройства.

[8]

Наиболее близким аналогом признан индикатор «Биотест-В-Винар» (ТУ 9398-090-11764404-2011), устройство которого схоже с описанными выше техническими решениями.

[9]

Все указанные выше индикаторы представляют собой открытые стеклянные флаконы со спорами микроорганизмов, помещенные в прозрачные герметичные пакеты из термостойкого полимера. Индикаторный питательный раствор для активации поставляется в отдельном герметичном флаконе, как и стерильные резиновые пробки для закрытия флаконов.

[10]

Такие индикаторы имеют ряд существенных недостатков.

[11]

Основной недостаток заключается в том, что активация биологического индикатора должна быть проведена только в асептических условиях.

[12]

Также, резиновые пробки, которыми укупориваются флаконы со спорами после активации, могут открыться в инкубаторе за счет увеличения давления внутри флакона индикатора, появляющегося из-за повышения температуры от комнатной до температуры инкубации.

[13]

И последнее, для активации носитель со спорами нужно извлекать из герметичной стерилизационной упаковки, в процессе чего возможна повторная контаминация, что приведет к ложным результатам контроля.

[14]

Для решения вышеперечисленных недостатков предлагается конструкция биологического индикатора.

[15]

Технической задачей заявляемого устройства является повышение надежности его использования путем решения указанных выше недостатков и техническим результатом заявляемой полезной модели является повышение надежности использования устройства. Технический результат достигается за счет упрощения условий активации биологического индикатора, а именно, в предлагаемом устройстве, для активации индикатора, не нужно более соблюдение асептических условий. За счет того, что прозрачный флакон является одновременно носителем и первичной стерилизационной упаковкой упрощается конструкция индикатора, что приводит к снижению стоимости изделия, что повышает надежность и достоверность контроля. Также, отсутствие дополнительной стерилизационной упаковки на индикаторе и отдельного комплекта из стерильных пробок уменьшает материалоемкость изделия, трудоемкость и количество манипуляций при изготовлении, упрощает процедуру контроля стерилизаторов с использованием таких биологических индикаторов.

[16]

Для решения технической задачи и достижения технического результата предлагается устройство биологического индикатора, состоящего из прозрачного флакона, содержащего высушенные споры микроорганизмов, и герметично закрытого пробкой, выполненной из эластичного, термостойкого и инертного материала, не ингибирующего рост микроорганизмов.

[17]

Целесообразность и важность применения комбинации пробки и флакона заключается в том, что они, по сути, являются стерилизационной упаковкой. Споры тест-микроорганизмов, как при проведении контроля, так и после, при активации и инкубации, не извлекаются из этой герметичной упаковки, что позволяет проводить работы в нестерильных условиях. Для активации индикатора только необходимо проткнуть пробку иглой стерильного шприца с питательным индикаторным раствором и внести его внутрь флакона. После извлечения иглы из крышки индикатора, отверстие от иглы закрывается, что предотвращает контаминацию, так как пробка выполнена из эластичного материала.

[18]

При этом,

[19]

- микроорганизмы содержащиеся во флаконе помещены непосредственно на внутреннюю поверхность флакона, либо на носитель в виде полоски или диска бумаги, фольги, пластика, керамики, помещенного в полость флакона;

[20]

- для увеличения срока хранения и во избежание самопроизвольного открытия индикатора эластичная пробка дополнительно закатана металлическим колпачком;

[21]

- в качестве прозрачного флакона использованы стеклянные флаконы (инсулиновые, пенициллиновые флаконы, стеклянные ампулы), полимерные флаконы (флаконы и ампулы из термостойких полимеров, например, фторопласта, полиамида, и т.д.);

[22]

- в качестве эластичной пробки использованы пробки из силикона, эластичного фторопласта (например, фторопласт-10) или из волокнистых материалов, не выделяющих веществ, препятствующих росту микроорганизмов и не теряющих своих эластичных свойств при воздействии физических условий стерилизации, таких как высокая температура;

[23]

- на наружную поверхность флакона нанесена или наклеена этикетка с маркировкой индикатора и химическим индикатором класса 1 по ГОСТ Р ИСО 11140-1 или класса А по EN867, позволяющая отличить биологический индикатор обработанный в стерилизаторе от необработанного, что предотвращает ошибки в контроле. Дело в том, что для достоверности контроля существует необходимость использования биологического индикатора, необработанного в стерилизаторе. При наличии живых спор цвет индикаторного раствора меняется. Индикатор класса 1 по ГОСТ Р ИСО 11140-1 (или класса А по EN867), на поверхности флакона индикатора позволяет отличить контрольный индикатор от остальных индикаторов, обработанных в стерилизаторе.

[24]

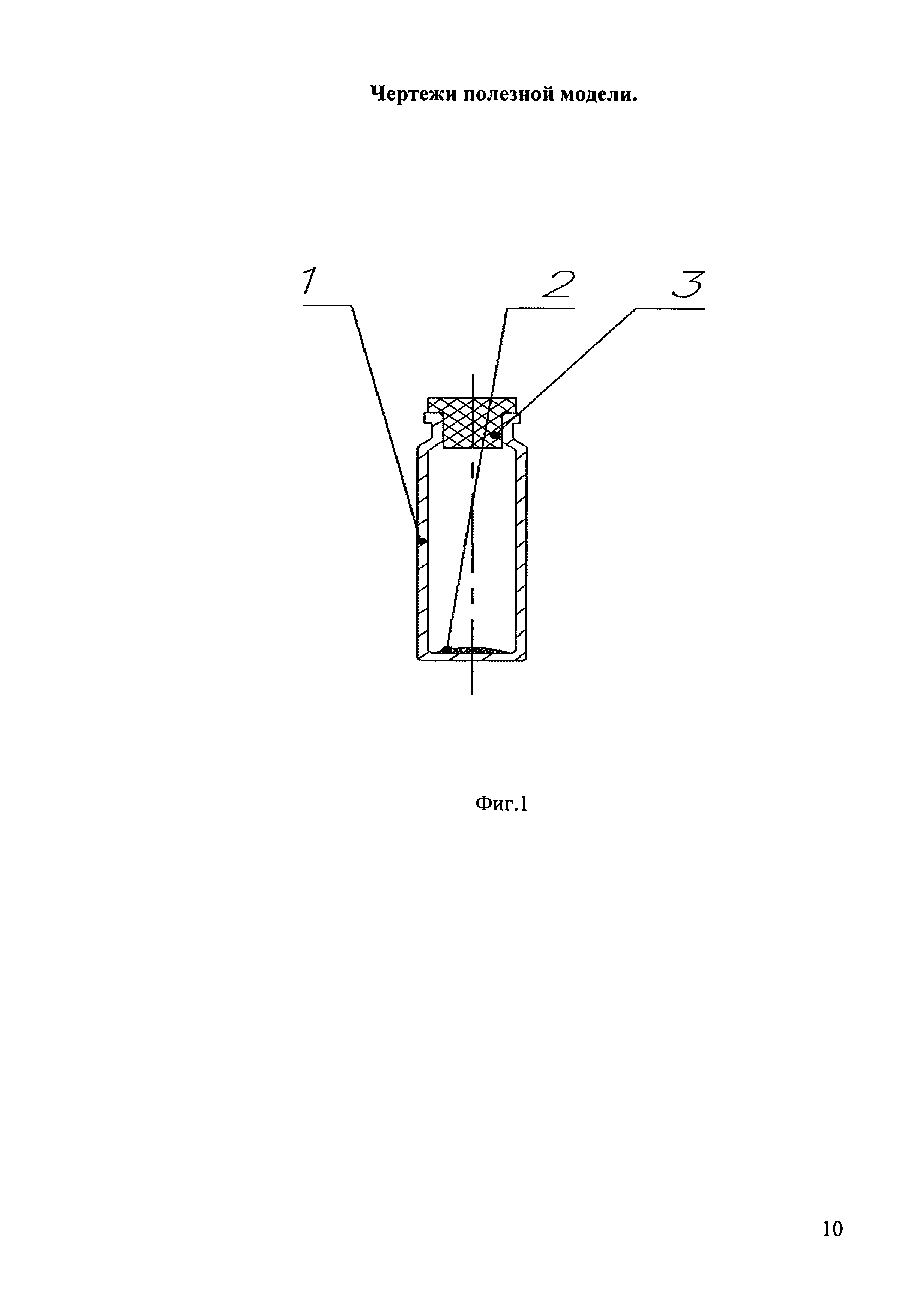
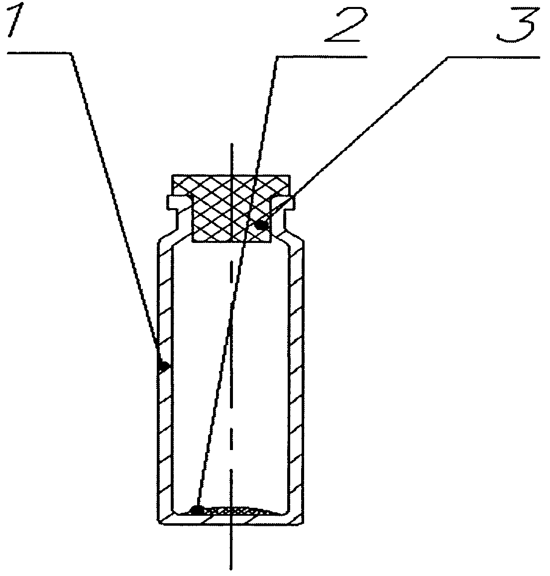
Предлагаемая конструкция химического индикатора иллюстрируется чертежом, где на Фиг.1. позициями обозначены:

[25]

прозрачный флакон 1 с помещенными внутрь высушенными спорами тест-микроорганизмов 2, закрытый эластичной пробкой 3.

[26]

Работу устройства можно охарактеризовать следующим образом.

[27]

Биологический индикатор, представляющий собой герметичный прозрачный флакон с пробкой, содержит высушенные споры тест-микроорганизмов, и предназначен для контроля условий стерилизации.

[28]

Биологические индикаторы перед использованием достают из потребительской упаковки, проверяют на целостность флакона и раскладывают по контрольным точкам в камере стерилизатора. Проводят стерилизационный цикл, после окончания которого биологические индикаторы достают из камеры, дают остыть до комнатной температуры. Набирают стерильным шприцом индикаторный питательный раствор, иголкой протыкают эластичную пробку индикатора и индикаторный раствор вносят внутрь флакона. Активированный таким образом индикатор помещают в термостат при оптимальной температуре для роста микроорганизмов. Если споры микроорганизмов выжили при стерилизационной обработке, то при термостатировании цвет индикаторного раствора изменится, что указывает на неэффективную стерилизацию. Если цвет индикаторного раствора при термостатировании не изменится, то все споры погибли, что указывает на эффективную стерилизацию. При этом очень важно, чтобы в процессе активации внутрь флакона не попадали микроорганизмы из окружающей среды, что приводит к ложным результатам контроля. Предложенная конструкция индикатора сводит к минимуму вероятность получения ложных результатов контроля.

Как компенсировать расходы
на инновационную разработку
Похожие патенты