патент
№ RU 125008
МПК H04M1/00

МОБИЛЬНОЕ РАДИОУСТРОЙСТВО С ДЕТЕКТОРОМ ИЗЛУЧЕНИЯ

Авторы:
Елин Владимир Александрович
Номер заявки
2012132900/07
Дата подачи заявки
01.08.2012
Опубликовано
20.02.2013
Страна
RU
Как управлять
интеллектуальной собственностью
Чертежи 
1
Реферат

1. Мобильное радиоустройство, содержащее корпус, в котором размещены электрически связанные между собой приемопередающее устройство и процессор, к которому подключены монитор, клавиатура, блок памяти, блок питания, лицевая фотокамера и средства звуковой сигнализации, а также последовательно связанные детектор излучения и блок сопряжения, выход которого подключен к процессору, выполненному с возможностью формирования звуковых и визуальных сигналов дозиметра и радиометра с помощью упомянутых средств звуковой сигнализации и монитора, отличающееся тем, что детектор излучения выполнен в виде газоразрядного счетчика Гейгера-Мюллера, снабженного умножителем напряжения.2. Мобильное радиоустройство по п.1, отличающееся тем, что детектор радиоактивного излучения выполнен с возможностью измерения альфа-, бета- и гамма-ионизирующего излучения.3. Мобильное радиоустройство по п.1, отличающееся тем, что процессор выполнен с программным обеспечением для сигнализации о допустимой, предельной и недопустимой эквивалентной дозе ионизирующего излучения, определения величины фона (мощности дозы) ионизирующего излучения, формирования графиков состояния органов и систем человека в зависимости от накопленной эквивалентной дозы ионизирующего изучения, формирования рекомендаций для профилактики в зависимости от накопленной эквивалентной дозы ионизирующего излучения, а также вывода на монитор соответствующих информационных визуальных сообщений в графическом, табличном, текстовом виде.4. Мобильное радиоустройство по п.3, отличающееся тем, что процессор выполнен с программным обеспечением для сигнализации о допустимой, �

Формула изобретения

1. Мобильное радиоустройство, содержащее корпус, в котором размещены электрически связанные между собой приемопередающее устройство и процессор, к которому подключены монитор, клавиатура, блок памяти, блок питания, лицевая фотокамера и средства звуковой сигнализации, а также последовательно связанные детектор излучения и блок сопряжения, выход которого подключен к процессору, выполненному с возможностью формирования звуковых и визуальных сигналов дозиметра и радиометра с помощью упомянутых средств звуковой сигнализации и монитора, отличающееся тем, что детектор излучения выполнен в виде газоразрядного счетчика Гейгера-Мюллера, снабженного умножителем напряжения.

2. Мобильное радиоустройство по п.1, отличающееся тем, что детектор радиоактивного излучения выполнен с возможностью измерения альфа-, бета- и гамма-ионизирующего излучения.

3. Мобильное радиоустройство по п.1, отличающееся тем, что процессор выполнен с программным обеспечением для сигнализации о допустимой, предельной и недопустимой эквивалентной дозе ионизирующего излучения, определения величины фона (мощности дозы) ионизирующего излучения, формирования графиков состояния органов и систем человека в зависимости от накопленной эквивалентной дозы ионизирующего изучения, формирования рекомендаций для профилактики в зависимости от накопленной эквивалентной дозы ионизирующего излучения, а также вывода на монитор соответствующих информационных визуальных сообщений в графическом, табличном, текстовом виде.

4. Мобильное радиоустройство по п.3, отличающееся тем, что процессор выполнен с программным обеспечением для сигнализации о допустимой, предельной и недопустимой эквивалентной дозе ионизирующего излучения в часовом, дневном, недельном, месячном, годовом интервале.

5. Мобильное радиоустройство по любому из пп.1-4, отличающееся тем, что клавиатура содержит дополнительные клавиши для управления работой в режимах дозиметра, радиометра и фотофиксации.

6. Мобильное радиоустройство по любому из пп.1-4, отличающееся тем, что оно снабжено навигационным устройством для определения местоположения в пространстве с помощью систем GPS/ГЛОНАСС.

7. Мобильное радиоустройство по любому из пп.1-4, отличающееся тем, что детектор излучения, усилитель и блок сопряжения размещены в его корпусе.

8. Мобильное радиоустройство по любому из пп.1-4, отличающееся тем, что детектор излучения, усилитель и блок сопряжения размещены в съемно-надевном кожухе.

9. Мобильное радиоустройство по любому из пп.1-4, отличающееся тем, что оно снабжено стандартным аудиоразъемом или универсальным разъемом или миниразъемом мобильного телефона/смартфона для питания дозиметра, радиометра и передачи сигналов управления и измерения эквивалентной дозы и мощности Дозы и иных параметров, с возможностью осуществления управления функциями дозиметра-радиометра и обмена данных с помощью цифрового протокола через аудиотракт мобильного телефона/смартфона методом частотной или фазовой манипуляции либо через USB-канал в универсальном разъеме или миниразъеме, либо по каналу Bluetooth или NFC каналу мобильного телефона/смартфона.

Описание

[1]

Полезная модель относится к устройствам мобильной связи (мобильный, сотовый телефон, смартфон), оснащенных вспомогательным оборудованием, в частности к портативным устройствам радиосвязи, имеющим встроенный модуль, предназначенный для измерений и обработки результатов измерений в виде дозиметра-радиометра (Dozimeter-Radiometer.Classic, сокращенно «DO-RA.Classic», так как в данной схеме используется классический (Classic) счетчик радиации Гейгера-Мюллера).

[2]

В связи с катастрофами в Чернобыле и на Фукусима-1 в мире значительно обострилось внимание к воздействию радиации на организм человека в зоне зараженной радиацией, в приграничных зонах заражения, так и в отдаленных местах, где могут появиться продукты радиоактивного распада, занесенные ветром, дождем, грунтовыми водами, водами рек, морей и океанов. Существуют различные конструкции дозиметров и радиометров, имеющих самостоятельный корпус, в котором размещено оборудование и средства визуальной индикации. Однако, обеспечение всех людей средствами контроля радиационной обстановки в виде мобильных приборов, требующих постоянного ношения и содержащих каждый индивидуальные средства питания, сигнализации и индикации, и не удобно и не рационально.

[3]

Известны мобильные телефоны в комбинации с встроенным вспомогательным оборудованием.

[4]

Известен сотовый телефон, в котором используется отдельно выполненное командное устройство в виде футляра для мобильного телефона, предназначенное для преобразования электрического сигнала, поступающего с электронного блока после срабатывания охранного датчика, в механическое воздействие посредством электромеханического узла на клавишу сотового телефона для подачи сигнала тревоги, представляющего собой вызов абонента с помощью функции сотового телефона «быстрый вызов», при возможности использования GSM связи с функцией «блокирование всех входящих» (RU №102282).

[5]

Известен мобильный (сотовый) телефон с дополнительными функциями, содержащий в себе приемопередающее устройство (приемопередатчик) для передачи и приема звуковых (средства звуковой сигнализации) и информационных сигналов, схему обработки сигналов, которая при работе соединяется с приемопередатчиком и микропроцессором для обработки сигналов, переданных и принятых приемопередатчиком, запоминающее устройство (блок памяти), кнопочную панель (клавиатуру), дисплей (монитор), аккумулятор (блок питания), корпус, он дополнительно снабжен встроенным дополнительным специальным средством - электронно-оптическим модулем для измерения расстояний, площадей, объемов и обработки результатов измерений, который при работе соединяется со схемой обработки сигналов, кнопочной панелью, дисплеем, аккумулятором, приемопередатчиком и микропроцессором, выполненным с возможностью прекращения работы электронно-оптического модуля и сохранения результатов его работы при поступлении входящего телефонного звонка. (RU №70434).

[6]

Недостатками известных мобильных радиоустройств является узость функциональных возможностей, не обеспечивающих контроль радиационной обстановки.

[7]

Известно мобильное радиоустройство, наиболее близкое к заявляемому, содержащее корпус, в котором размещены электрически связанные между собой приемопередающее устройство и процессор, к которому подключены монитор, клавиатура, блок памяти, блок питания и средства звуковой сигнализации, оно снабжено последовательно связанными полупроводниковым детектором излучения, усилителем и блоком сопряжения, выход которого подключен к процессору, выполненному с возможностью формирования звуковых и визуальных сигналов дозиметра и радиометра с помощью упомянутых средств звуковой сигнализации и монитора (RU №109625, прототип).

[8]

Недостатком данного мобильного радиоустройства и детектора является низкая чувствительность, обусловленная отсутствием доступного, т.е. освоенного промышленностью недорогого полупроводникового материала, который при моноблочном исполнении сочетал бы в себе такие свойства, как большая ширина запрещенной зоны и высокая подвижность носителей (выбитых квантами излучения электронов) в нормальных условиях окружающей среды (без принудительного охлаждения).

[9]

Например, германиевые детекторы, обладающие, в основном, нужными качествами, охлаждают до температуры жидкого азота, что делает их неприемлемыми для мобильных (карманных) радиоустройств. Кремниевый моноблочный детектор содержит, при нормальных условиях, нежелательно много собственных свободных электронов. Для повышения чувствительности, необходимо увеличивать объем полупроводника, чтобы повысить вероятность попадания и рассеяния в нем, например, гамма - кванта и, соответственно повысить скорость счета частиц радиационного потока. Но с ростом объема, пропорционально увеличивается и число собственных носителей, на фоне которых добавочные носители, вызванные действием кванта излучения, становятся малозаметными и выделение их оказывается непростой задачей, и требует привлечения криогенной техники, прецизионных усилительных устройств или непосредственного лавинного усиления сигнала в сильном электрическом поле, чтобы регистрировать события проникающей радиации.

[10]

В целом, недостатками известного радиоустройства являются высокая себестоимость, сложность конструкции и большое тепловыделение полупроводникового детектора, а также низкая ударная прочность и вибрационная устойчивость известных полупроводниковых детекторов, высокие требования по обеспечению теплоотвода, большие габариты и значительные затраты энергии, не приемлемые для мобильных радиоустройств.

[11]

Технической задачей полезной модели является создание эффективного мобильного радиоустройства с функцией детектора излучения, и расширение арсенала мобильных радиоустройств.

[12]

Технический результат, обеспечивающий решение поставленной задачи, состоит в упрощении конструкции благодаря исключению из конструкции детектора дорогостоящих редких материалов высокой чистоты и использованию детектора, имеющего высокую степень конструктивной и экспериментальной отработки, а также массовую производственную базу, при уменьшении тепловыделения, и, следовательно, снижении требований по теплоотводу детектора (без привлечения криогенной техники, не пригодного для мобильных радиоустройств).

[13]

Сущность полезной модели состоит в том, что мобильное радиоустройство содержит корпус, в котором размещены электрически связанные между собой приемопередающее устройство и процессор, к которому подключены монитор, клавиатура, блок памяти, блок питания, лицевая фотокамера и средства звуковой сигнализации, а также последовательно связанные детектор излучения и блок сопряжения, выход которого подключен к процессору, выполненному с возможностью формирования звуковых и визуальных сигналов дозиметра и радиометра с помощью упомянутых средств звуковой сигнализации и монитора, при этом детектор излучения выполнен в виде газоразрядного счетчика Гейгера-Мюллера, снабженного умножителем напряжения.

[14]

Предпочтительно, детектор радиоактивного излучения выполнен с возможностью измерения альфа, бета и гамма ионизирующего излучения, процессор выполнен с программным обеспечением для сигнализации о допустимой, предельной и недопустимой эквивалентной дозе ионизирующего излучения, определения величины фона (мощности дозы) ионизирующего излучения, формирования графиков состояния органов и систем человека в зависимости от накопленной эквивалентной дозы ионизирующего изучения, формирования рекомендаций для профилактики, в зависимости от накопленной эквивалентной дозы ионизирующего излучения, а также вывода на монитор соответствующих информационных визуальных сообщений в графическом, табличном, текстовом виде.

[15]

При этом процессор выполнен с программным обеспечением для сигнализации о допустимой, предельной и недопустимой эквивалентной дозе ионизирующего излучения в часовом, дневном, недельном, месячном, годовом интервале согласно НРБ 99/2009 РФ и НРБ других государств, клавиатура содержит дополнительные клавиши для управления работой в режимах дозиметра, радиометра и фото фиксации.

[16]

Мобильное радиоустройство снабжено навигационным устройством для определения местоположения в пространстве с помощью систем GPS/ГЛОНАСС, детектор излучения, усилитель и блок сопряжения размещены в его корпусе детектор излучения, усилитель и блок сопряжения размещены в съемно-надевном кожухе.

[17]

Мобильное радиоустройство предпочтительно снабжено лицевой фотокамерой для фортификации с соответствующими параметрами источников ионизирующего излучения.

[18]

Кроме того, мобильное радиоустройство снабжено стандартным аудио-разъемом или универсальным разъемом или мини разъемом мобильного телефона/смартфона, для питания дозиметра, радиометра и передачи сигналов управления и измерения эквивалентной дозы и мощности дозы и иных параметров, с возможностью осуществления управления функциями дозиметра-радиометра и обмена данных с помощью цифрового протокола через аудио тракт мобильного телефона/смартфона методом частотной или фазовой манипуляции, либо через USB канал в универсальном разъеме или мини разъеме, либо по каналу Bluetooth или NFC каналу мобильного телефона/смартфона.

[19]

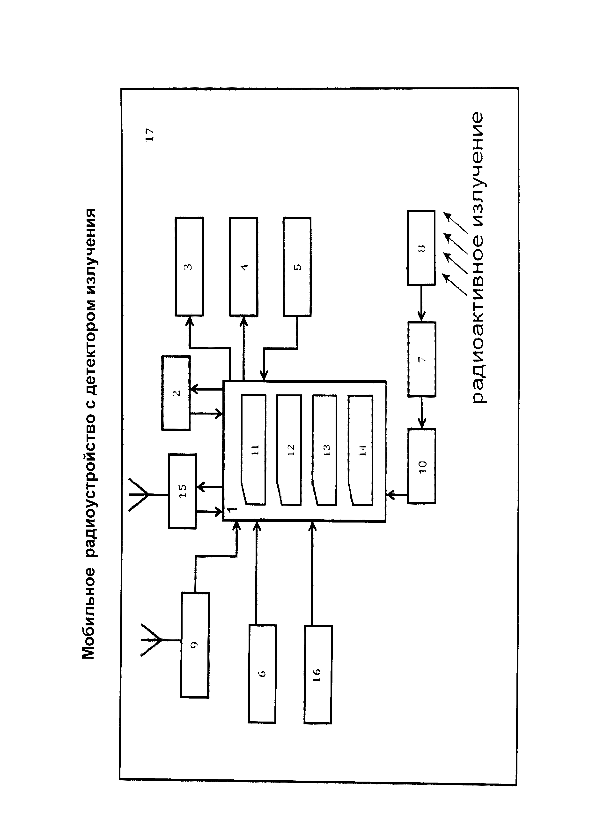
На чертеже изображена принципиальная блок-схема мобильного радиоустройства с дозиметром-радиометром («DO-RA.Classic»).

[20]

Мобильное радиоустройство (сотовый мобильный телефон, смартфон) содержит корпус 17 (изображен условно), в котором размещен процессор 1. К процессору 1 подключены блок 2 памяти, монитор 3, средства 4 звуковой сигнализации, клавиатура 5, блок 6 питания, навигационное устройство 9 систем GPS и ГЛОНАСС, приемопередающее устройство (приемопередатчик Wi-Fi/GPRS) 15. Мобильное радиоустройство снабжено лицевой фотокамерой 16? А также последовательно связанными между собой газоразрядным счетчиком 8 ионизирующего излучения Гейгера-Мюллера (далее Г-М) и преобразователем (умножителем) 7 напряжения и блоком 10 сопряжения, подключенным к процессору 1 для взаимодействия с помощью последнего с остальными вышеуказанными элементами устройства.

[21]

Для питания дозиметра, радиометра от сети, передачи сигналов управления и измерения эквивалентной дозы и мощности дозы и иных параметров, предусмотрены стандартный аудио-разъем (аудио-джек) или универсальный разъем или мини разъем или иная инфраструктура мобильного телефона/смартфона (не изображены). При этом обеспечена возможность реализации и управления функциями дозиметра, радиометра и обмен данных осуществляется с помощью цифрового протокола через аудио тракт мобильного телефона/смартфона методом частотной или фазовой манипуляции, либо через USB канал в универсальном разъеме или мини разъеме, либо по каналу Bluetooth или NFC каналу мобильного телефона/смартфона, либо иным способом через инфраструктуру мобильного телефона/смартфона.

[22]

Счетчик 8 Гейгера-Мюллера - чувствительный элемент, служащий для регистрации ионизирующего излучения Гамма, Бета и Альфа частиц высоких энергий благодаря фиксации эмиссии вторичных ионизирующих частиц, фотоэлектронов или комптоновских электронов (Комптоновский эффект). Счетчик 8 представляет собой газонаполненный конденсатор, который состоит, например, из металлической трубки или металлизированной изнутри стеклянной трубки, и тонкой металлической нити, натянутой по оси трубки и пробивается коронным разрядом (электрической дугой) при пролете ионизирующей частицы через объем газа.

[23]

В результате ионизирующего излучения и, как следствие, эмиссии комптоновских электронов, в газовой среде счетчика 8 происходит разряд, вследствие чего через счетчик 8 протекает импульс тока, фиксируя, тем самым, наличие ионизирующего излучения. Газоразрядный счетчик 8 ионизирующего излучения Г-М выполнен с возможностью измерения Гамма. Бета и Альфа радиоактивного излучения высоких энергий. Подсчет числа импульсов за единицу времени, а также передача полученных данных на процессор 1 осуществляется схемой блока 10 сопряжения.

[24]

Процессор 1 оснащен программным обеспечением, как для реализации функций радиоустройства связи, так и для контроля, накопления сведений и сигнализации о нормальной, допустимой и опасной эквивалентной дозе ионизирующего облучения, определения величины мощности дозы (фона радиоактивного излучение) и оценки воздействия на отдельные человеческие органы, формирования графиков состояния органов и систем человека в зависимости от эквивалентной дозы облучения, формирования рекомендаций для профилактики в зависимости от эквивалентной дозы ионизирующего излучения, а также вывода на монитор 3 соответствующих информационных графических, табличных, текстовых визуальных сообщений. Программное обеспечение процессора 1 включает в себя четыре режимных программных модуля, которые условно показаны на чертеже:

[25]

- информационный модуль 11 «Дозиметр»;

[26]

- информационный модуль 12 «Радиометр»;

[27]

- информационный модуль 13 «Воздействие на отдельные человеческие органы»;

[28]

- информационный модуль 14 «Фото фиксация источника ионизирующего излучения».

[29]

Дозиметр - устройство для измерения эквивалентной дозы или мощности дозы ионизирующего излучения, оцененной прибором (и соответственно воздействие ионизирующего излучения на того, кто им пользуется) за некоторый промежуток времени, например, за период нахождения на некоторой территории или за рабочую смену.

[30]

Радиометр - прибор для измерения плотности потока ионизирующих излучений для проверки на радиоактивность подозрительных предметов и оценки радиационной обстановки в данном месте в данный момент.

[31]

Процессор 1 выполнен с программным обеспечением для визуальной или звуковой или голосовой, с помощью средства 4, сигнализации о нормальной, допустимой, и опасной эквивалентной дозе и мощности дозы ионизирующего излучения в часовом, дневном, недельном, месячном, годовом интервале согласно Норм радиационной безопасности РФ 99/2009 или иных норм Радиационной безопасности и системных единиц измерения других государств.

[32]

Клавиатура 5 содержит дополнительные клавиши (не обозначены) для управления работой в режиме дозиметра и/или радиометра, а так же клавиши для фото фиксации источника ионизирующего излучения и отправки фотоснимка по электронной почте, через Bluetooth или иным способом.

[33]

Реализация функций дозиметра, радиометра и фото фиксации источника излучения определяется программой процессора 1, причем схема, как дозиметра, так и радиометра, образуется счетчиком 8 с умножителем 7 напряжения, блоком 10 сопряжения, усилителем (не изображен) и всей совокупностью оборудования мобильного радиоустройства включая лицевую фотокамеру 16. Режим фото фиксации источника ионизирующего излучения обеспечивается, как процессорам 1 так и штатной лицевой фотокамерой 16 мобильного телефона/смартфона. Счетчик 8, преобразователь (умножитель) 7 напряжения, блок сопряжения 10 могут быть размещены в корпусе 17 мобильного радиоустройства или в съемно-надевном кожухе (не изображен).

[34]

Смартфон - это продвинутый вариант мобильного телефона, обладающий более мощным процессором и операционной системой управления, с расширенными возможностями по настройке под нужды пользователя.

[35]

Таким образом, объединение взаимодействующих между собой устройств (элементов схемы) 1-10, 15, 16 в одно привело к их конструктивному единству и функциональной взаимосвязи, и, соответственно, к созданию новой оптимальной конструкции мобильного радиоустройства с широкими функциональными возможностями.

[36]

Мобильное радиоустройство с дозиметром-радиометром работает следующим образом.

[37]

Реализация функций дозиметра, радиометра и фото фиксации источника излучения реализуется программой процессора 1, причем схема, как дозиметра, так и радиометра, образуется газоразрядным счетчиком 8, преобразователем (умножителем) напряжения 7, блоком 10 сопряжения, и всей совокупностью оборудования мобильного радиоустройства включая лицевую фотокамеру 16. А режим фото фиксации источника ионизирующего излучения обеспечивается, как процессорам 1 так и штатной лицевой фотокамерой 16 мобильного телефона/ смартфона.

[38]

Питание дозиметра, радиометра, как и передача сигналов управления и измерения эквивалентной дозы и мощности дозы и иных параметров, может осуществляться от блока 6 или через стандартный аудио-разъем (аудиоджек) или универсальный разъем или мини разъем мобильного телефона/смартфона. Причем управление функциями дозиметра, радиометра и обмен данными осуществляется с помощью цифрового протокола через аудио тракт мобильного телефона/смартфона методом частотной или фазовой манипуляции, либо через USB канал в универсальном разъеме или мини разъеме, либо по каналу Bluetooth или NFC каналу мобильного телефона/смартфона.

[39]

При включении радиоустройства в работу активируется навигационное устройство 9, приемопередатчик 15 и счетчик 8. Устройство 9 принимает координаты систем GPS/ГЛОНАСС и фиксирует их в блоке 2 памяти. Радиоустройство в целом функционирует с питанием от блока 6 обычным образом как мобильный телефон (смартфон) и обеспечивает пользователя телефонной связью и различными функциями.

[40]

Счетчик 8 функционирует как пассивный чувствительный элемент, который может быть включен постоянно или на фиксированные промежутки времени и служит для регистрации ионизирующего излучения Гамма, Бета и Альфа частиц высоких энергий благодаря фиксации эмиссии вторичных ионизирующих частиц, фотоэлектронов или комптоновских электронов (Комптоновский эффект).

[41]

При работе счетчика (детектора) 8 его нить служит анодом, трубка - катодом. Между катодом и анодом с помощью умножителя 7 напряжения создается напряжение порядка 400-500 вольт. Работа счетчика 8 основана на ударной ионизации, обусловленной фиксацией эмиссии вторичных ионизирующих частиц, фотоэлектронов или комптоновских электронов (Комптоновский эффект).

[42]

В случае наличия излучения на окружающей территории, кванты излучения, испускаемые источником излучения, например, радиоактивным изотопом, попадая на стенки счетчика 8, выбивают из их материала электроны. Эти электроны, двигаясь в газе и сталкиваясь с атомами газа, выбивают из атомов газа электроны и создают положительные ионы и свободные электроны. Электрическое поле между катодом и анодом ускоряет электроны до энергий, при которых начинается ударная ионизация. Возникает лавина ионов, и ток через счетчик 8 резко возрастает. Таким образом, в результате ионизирующего излучения и как следствие, эмиссии комптоновских электронов, и приложенному высоковольтному напряжению к счетчику 8 от умножителя 7 напряжения, в газовой среде счетчика 8 происходит вспышка коронного разряда, вследствие чего через счетчик 8 начинает протекать электрический ток, фиксируя тем самым факт наличия ионизирующего излучения. В результате образуется импульс тока и напряжения, который подается через усилитель и блок 10 в процессор 1.

[43]

Таким образом, сама по себе цепь, состоящая из счетчика 8 Гейгера-Мюллера, умножителя 7, операционного усилителя и блока 10 сопряжения не может реализовать функции детектора или радиометра, как самостоятельного средства.

[44]

Процессор 1 подсчитывает количество разрядов через счетчик 8 и выполнен с программным обеспечением для визуальной или звуковой, с помощью средств 4, сигнализации о допустимой, предельной и недопустимой эквивалентной дозе облучения в часовом, дневном, недельном, месячном, годовом интервале. В результате счетчик 8 под воздействием ионизирующего излучения формирует сигналы, которые усиливаются усилителем, преобразуются блоком 10 сопряжения, подвергаются обработке процессором 1 с определением допустимой, предельной и недопустимой дозе облучения в часовом, дневном, недельном, месячном, годовом интервале, определением величины мощности дозы (фона) ионизирующего излучения. В результате чего на мониторе 3 обеспечивается формирование графиков состояния органов и систем человека в зависимости от эквивалентной дозы ионизирующего излучения, и предоставляются рекомендации для профилактики, в зависимости от эквивалентной дозы ионизирующего излучения, а так же согласно текущим параметрам мощности дозы (фона) ионизирующего излучения, что фиксируется в блоке 2 памяти. Далее эти данные предаются через приемопередатчик 15 (Wi-Fi/GPRS) на централизованный, например, стационарный сервер обработки данных провайдера мобильной связи, где данные накапливаются, обрабатываются и предоставляются, например, участникам акции "Наш Радиоактивный Мир". Участники акции «Наш Радиоактивный Мир» - добровольные владельцы прибора DO-RA.Classic и сервиса GPS/ГЛОНАСС по картированию территорий и ареалов заражения радиоактивными элементами распада. Процессор 1 выполнен с программным обеспечением для визуальной или звуковой или голосовой, с помощью средства 4, сигнализации о нормальной, допустимой, и опасной эквивалентной дозы и мощности дозы ионизирующего излучения в часовом, дневном, недельном, месячном, годовом интервале согласно Норм радиационной безопасности (НРБ) РФ 99/2009 или согласно НРБ другого государства, где применяется DO-RA.Classic.

[45]

В случае активации радиоустройства и нажатия соответствующих кнопок на клавиатуре 5 производится вывод на один и тот же монитор 3 соответствующих информационных визуальных сообщений, как о текстовых сообщениях и пропущенных звонках, так и вышеперечисленных сведений о радиационной обстановке.

[46]

Одни и те же средства 4 звуковой сигнализации информируют пользователя о входящих сигналах на радиочастоте, поступивших на процессор 1, и, при достижении порогового значения - о допустимой предельной и/или недопустимой эквивалентной дозе ионизирующего излучения в заранее установленном программно часовом, дневном, недельном, месячном, годовом интервале. Информация об уровне экспозиционной дозы (мощности дозы) ионизирующего излучения выводится на одном и том же мониторе 3 радиоустройства в виде числового значения в таких единицах, как например, мк3в/час. Эти единицы могут пересчитываться, корректироваться и выводиться на экран монитора 3 в системе мер и величин, принятых в стране пребывания пользователя.

[47]

Устройство 9 реализует навигационными средствами (не изображены) определение местоположения в пространстве на базе систем GPS/ГЛОНАСС.

[48]

Навигационные средства для определения местоположения в пространстве на базе систем GPS/ГЛОНАСС с помощью устройства 9 и процессора 1 выводят на один и тот же монитор 3 сведения о местонахождении радиоустройства.

[49]

Заявляемое техническое решение позволяет снабдить и реализовать с помощью мобильных телефонов/смартфонов функции дозиметра-радиометра на основе минимального числа встроенных, либо навесных элементов, которые придают возможность радиоустройству в целом не только поддерживать телефонную связь, но и измерять эквивалентную дозу ионизирующего изучения его владельца и мощность дозы (фона) территории местоположения измерения. Актуальность такого технического решения определяется тем, что на сегодня мобильный телефон/смартфон является фактически принадлежностью нашего тела. Весь рабочий день мы непрерывно носим с собой мобильный телефон, смартфон, поэтому функция дозиметра-радиометра в нем органично сочетается с другими функциями телефона/смартфона, тем самым, дополняя и значительно расширяя его возможности.

[50]

При реализации дозиметра, на той же элементарной базе программно реализуется функция радиометра, для анализа окружающей радиационной обстановки. Эта опция в телефоне/смартфоне поможет контролировать пользователям «радиационную чистоту» - мощность дозы не только территории, где бы они не находились, но и качество продуктов питания, воды и других объектов используемых в жизни и в быту, тем самым, оберегая и защищая их здоровье.

[51]

Использование в мобильных телефонах/смартфонах опции определения местоположения радиоустройства в пространстве на базе навигационных систем GPS/ГЛОНАСС позволяет обеспечить сбор объективной информации об уровне радиационного фона (мощности дозы) в местах пребывания владельцев мобильных телефонов/смартфонов в автоматическом режиме.

[52]

Режим «Фото фиксация источника ионизирующего излучения» «модуль 14» заключается в следующем. В случае обнаружения источника ионизирующего излучения с помощью программы Радиометра «модуль 12» на мониторе 3 мобильного телефона/смартфона, возможно с помощью лицевой фотокамеры 16 сфотографировать такой источник, а на его фотографии в электронном виде отобразить дополнительно следующие параметры: мощность дозы сфотографированного источника излучения, время, день, месяц и год фиксации этого события, геокоординаты источника излучения, и обеспечить возможность оперативной отправки фотоснимка выявленного источника ионизирующего излучения с выше перечисленными параметрами по электронной почте благодаря сетям Интернета, по Bluetooth протоколу или иным способом.

[53]

Полезная модель может быть реализована на основе любого мобильного телефона/ смартфона, причем функции дозиметра-радиометра реализуются частично элементами самой схемы мобильного телефона/смартфона в качестве конструктивных составляющих элементов «DO-RA.Classic». Работа «DO-RA.Classic» в режимах дозиметра-радиометра осуществляется на основе специально разработанных для этих целей пакетов программ «DO-RA.Soft» и операционной системы, используемой тем или иным мобильным телефоном/смартфоном. Питание «DO-RA.Classic» в режиме дозиметра-радиометра производится от штатного аккумулятора (блока 6) мобильного телефона/смартфона. Цепь детектора 8 может быть как конструктивно встроенной в схему телефона для новых моделей мобильных телефонов/смартфонов, так и съемно-надевной (навесной). Дозиметр-радиометр работает благодаря внутренним соединениям и коммуникациям мобильного телефона/смартфона, управляемый специализированным пакетом программ процессора 1.

[54]

Таким образом, заявляемое радиоустройство в целом пригодно для осуществления множества функций:

[55]

- реализация мобильной телефонной связи.

[56]

- определение уровня радиационного фона (мощности дозы) окружающих нас предметов и пространства.

[57]

- находит или выявляет предметы, представляющие радиационную опасность для здоровья человека и домашних животных.

[58]

- определяет пригодность для употребления в пищу различных продуктов и жидкостей.

[59]

- Определение накопительной эквивалентной дозы ионизирующего излучения владельца мобильного телефона/смартфона оснащенного «DO-RA.Classic» в часовом, дневном, недельном, месячном, годовом интервале, в режиме дозиметра, показывается на мониторах благодаря специальным графическим файлам и программам.

[60]

- Сигнализация о допустимой, предельной и недопустимой эквивалентной дозе ионизирующего излучения, в режиме дозиметра, сообщается через голосовые системы мобильного телефона/смартфона в виде голосовых команд: «нормальная доза облучения», «предельная доза облучения», «недопустимая доза облучения». Величина эквивалентной дозы ионизирующего излучения, так же обозначается звуковыми сигналами опасности соответствующих тональностей.

[61]

- Формирование графиков состояния органов и систем человека, владельца мобильного телефона, смартфона оснащенного<rDO-RA.Classic» в зависимости от полученной, накопленной эквивалентной дозы ионизирующего, на основе данных дозиметра, осуществляется специальными графическими файлами и программами, выводится на мониторы мобильных радиоустройств.

[62]

- Формирование рекомендаций владельцу мобильного телефона, смартфона оснащенного «DO-RA.Classic» для профилактики, в зависимости от полученной, накопленной эквивалентной дозы ионизирующего излучения, на основе данных дозиметра, осуществляется в текстовом виде, выводится на мониторы мобильных радиоустройств.

[63]

- Автоматическое формирование отчетов о радиоактивном фоне (мощности дозы) территории местоположения владельца мобильного телефона/смартфона в режиме реального времени, оснащенного «DO-RA.Classic» с координатами на основе GPS/ГЛОНАСС, осуществляется через провайдеров мобильной связи.

[64]

- Реализация режима «Фото фиксация источника ионизирующего излучения» заключающегося в следующем. В случае обнаружения источника ионизирующего излучения с помощью Радиометра «модуль 12», с помощь функции на экране мобильного телефона/смартфона возможно сфотографировать такой источник, а на его фотографии в электронном виде отобразить дополнительно следующие параметры: мощности дозы сфотографированного источника излучения, временя фото фиксации этого события, геокоординаты найденного источника излучения, и обеспечить возможностью оперативной отправки фотоснимка выявленного источника ионизирующего излучения по электронной почте благодаря сетям Интернета, по Bluetooth протоколу или иным способом.

[65]

- Возврат накопленной информации сформированной центром радиационной обстановки в Мире, в виде визуализированных карт ареалов местности, водных пространств и других объектов, говорящих об уровне радиоактивного заражения, полученного в результате сбора данных от мобильных радиоустройств, оснащенных «DO-RA.Classic» обеспечивается на бесплатной основе всем участникам акции «Наш Радиоактивный Мир».

[66]

Таким образом, создано эффективное мобильное радиоустройство, имеющее простую конструкцию, обеспечивающее дополнительные функции, и расширен арсенал мобильных радиоустройств.

Как компенсировать расходы
на инновационную разработку
Похожие патенты