патент
№ RU 122864
МПК A61B5/022
Номер заявки
2012126188/14
Дата подачи заявки
22.06.2012
Опубликовано
20.12.2012
Страна
RU
Как управлять
интеллектуальной собственностью
Чертежи 
3
Реферат

1. Устройство для измерения артериального давления, включающее тонометр, содержащий ручной нагнетатель воздуха, регулятор давления, манометр и устанавливаемую в зоне измерения пневматическую манжету, соединенные между собой воздуховодом, а также регистратор тонов Короткова, устанавливаемый в зоне измерения, отличающееся тем, что содержит, по меньшей мере, две параллельно установленные пневматические манжеты и регистраторы тонов Короткова в количестве, соответствующем количеству манжет.2. Устройство по п.1, отличающееся тем, что при наличии двух манжет оно содержит в качестве регистратора тонов Короткова стереостетоскоп с двумя звукопринимающими головками.3. Устройство по п.1, отличающееся тем, что регистратор тонов Короткова содержит микрофон, усилитель электрического сигнала и индикатор тонов Короткова.4. Устройство по п.3, отличающееся тем, что индикатор тонов Короткова выполнен или звуковым, или оптическим, или цифровым.5. Устройство по п.3, отличающееся тем, что в зоне крепления микрофона полость манжеты заполнена жидким телом.

Формула изобретения

1. Устройство для измерения артериального давления, включающее тонометр, содержащий ручной нагнетатель воздуха, регулятор давления, манометр и устанавливаемую в зоне измерения пневматическую манжету, соединенные между собой воздуховодом, а также регистратор тонов Короткова, устанавливаемый в зоне измерения, отличающееся тем, что содержит, по меньшей мере, две параллельно установленные пневматические манжеты и регистраторы тонов Короткова в количестве, соответствующем количеству манжет.

2. Устройство по п.1, отличающееся тем, что при наличии двух манжет оно содержит в качестве регистратора тонов Короткова стереостетоскоп с двумя звукопринимающими головками.

3. Устройство по п.1, отличающееся тем, что регистратор тонов Короткова содержит микрофон, усилитель электрического сигнала и индикатор тонов Короткова.

4. Устройство по п.3, отличающееся тем, что индикатор тонов Короткова выполнен или звуковым, или оптическим, или цифровым.

5. Устройство по п.3, отличающееся тем, что в зоне крепления микрофона полость манжеты заполнена жидким телом.

Описание

[1]

Полезная модель относится к медицине, а именно к устройствам для измерения артериального давления и может быть использована для измерения артериального давления способом Короткова.

[2]

Известны устройства для измерения артериального давления, в которых регистратор тонов Короткова содержит микрофон, усилитель сигналов низкой частоты и акустический излучатель [Патент US №2145449 (1934), Патент US №3087016, Патент US №3555187, Патент US №4254302].

[3]

Недостаток: невозможность измерения артериального давления способом Короткова одновременно в двух и более зонах в одном измерительном цикле одним оператором.

[4]

Известны устройства для измерения артериального давления, в которых регистратор тонов Короткова содержит микрофон, усилитель сигналов низкой частоты и электронную схему, производящую фиксацию интервала значений давления в манжете, в котором зарегистрированы тоны Короткова [Патент US №3978848, Патент US №3405707, Патент US №4290434, Патент US №4534361, Патент US №6095983].

[5]

Недостаток: невозможность измерения артериального давления способом Короткова одновременно в двух и более зонах в одном измерительном цикле одним оператором.

[6]

Известны стереостетоскопы и стереофонендоскопы Портера, Хардта, Зала и других [Патент US №1811558, Патент US №1847607, Патент US №1853951, Патент US №4170717]. Сведений о применении таких устройств для измерения артериального давления одновременно в нескольких зонах одним оператором в доступных источниках информации не обнаружено.

[7]

Известно устройство для измерения артериального давления, содержащее пневматическую манжету Рива-Роччи, ручной нагнетатель воздуха, регулятор давления и манометр, соединенные между собой воздуховодом, а также фонендоскоп в качестве регистратора тонов Короткова, устанавливаемый в зоне измерения артериального давления [Найдено 05.06.2012 г. ON LINE: http://www.sibzub.ru/article/723.html]. Это устройство принято авторами за прототип.

[8]

Недостатком прототипа является невозможность измерения артериального давления способом Короткова одновременно в двух и более зонах в одном измерительном цикле одним оператором.

[9]

Техническим результатом полезной модели является возможность производить измерение артериального давления способом Короткова, по меньшей мере, в двух зонах одновременно в одном измерительном цикле одним оператором.

[10]

Указанный технический результат достигается тем, что устройство для измерения артериального давления, включающее тонометр, содержащий ручной нагнетатель воздуха, регулятор давления, манометр и устанавливаемую в зоне измерения пневматическую манжету, соединенные между собой воздуховодом, а также регистратор тонов Короткова, устанавливаемый в зоне измерения, согласно полезной модели содержит, по меньшей мере, две параллельно установленные пневматические манжеты и регистраторы тонов Короткова в количестве, соответствующем количеству манжет..

[11]

Целесообразно, чтобы при наличии двух манжет устройство содержало в качестве регистратора тонов Короткова стереостетоскоп с двумя звукопринимающими головками.

[12]

Целесообразно, чтобы регистратор тонов Короткова содержал микрофон, усилитель электрического сигнала и индикатор тонов Короткова.

[13]

Целесообразно, чтобы индикатор тонов Короткова был выполнен или звуковым, или оптическим, или цифровым.

[14]

Целесообразно в зоне крепления микрофона полость в манжете заполнить.жидким телом.

[15]

Регистрация асимметрии артериального и пульсового давлений в разных зонах измерения может свидетельствовать о различных патологических состояниях. Так, при развитии синдрома плечеголовного ствола часто регистрируется асимметрия артериального и пульсового давлений при измерении на двух руках. При односторонней частичной окклюзии бедренной артерии регистрируется асимметрия артериального и пульсового давлений в подколенных ямках.

[16]

При этом последовательное измерение сопряжено с риском диагностических ошибок, обусловленных тем, что уровень систолического давления во всей артериальной системе может измениться под действием трудно учитываемых факторов, в частности эмоциональных и других. Параллельное измерение артериального давления при использовании известного оборудования требует привлечения минимум двух операторов с двумя комплектами устройств для измерения артериального давления.

[17]

Предлагаемая полезная модель содержит параллельно установленные пневматические манжеты и регистраторы тонов Короткова в количестве, соответствующем количеству манжет.

[18]

Проведенные исследования показали, что здоровому человеку доступны раздельная регистрация, опознание и различение звуков, поступающих в правое и левое ухо. Восприятие одним оператором асимметрии звуков, поступающих раздельно справа и слева, позволяет регистрировать асимметрию артериального давления и имеет большое значение для осуществления ранней диагностики расстройств.

[19]

Регистрация тонов Короткова может быть облегчена применением микрофона, усилителя электрического сигнала и звукового индикатора в виде акустических излучателей, объединенных в стереофоническую телефонную гарнитуру.

[20]

Могут быть также использованы визуальные индикаторы (цифровые или оптические), установленные вблизи от шкалы манометра.

[21]

Асимметрия звуков справа и слева легко поддается визуальной регистрации, привлекая внимание оператора, что позволяет регистрировать асимметрию артериального давления.

[22]

Использование жидкости в полости манжеты в зоне установки микрофона улучшает акустический контакт между стенками артерии, окружающими их мягкими тканями и микрофоном, так как уменьшаются отражение и рассеяние акустических волн на неоднородностях, в частности газовых.

[23]

Сущность полезной модели поясняется изображениями на фиг.1-3, где:

[24]

На фиг.1 представлен общий вид устройства с использованием в качестве регистратора тонов Короткова стереостетоскопа с двумя звукопринимающими головками.

[25]

На фиг.2 представлен общий вид устройства с использованием в качестве регистратора тонов Короткова микрофона, усилителя электрического сигнала и звукового индикатора.

[26]

На фиг.3 представлен общий вид устройства с использованием в качестве регистратора тонов Короткова микрофона, усилителя электрического сигнала и визуального индикатора (оптического или цифрового).

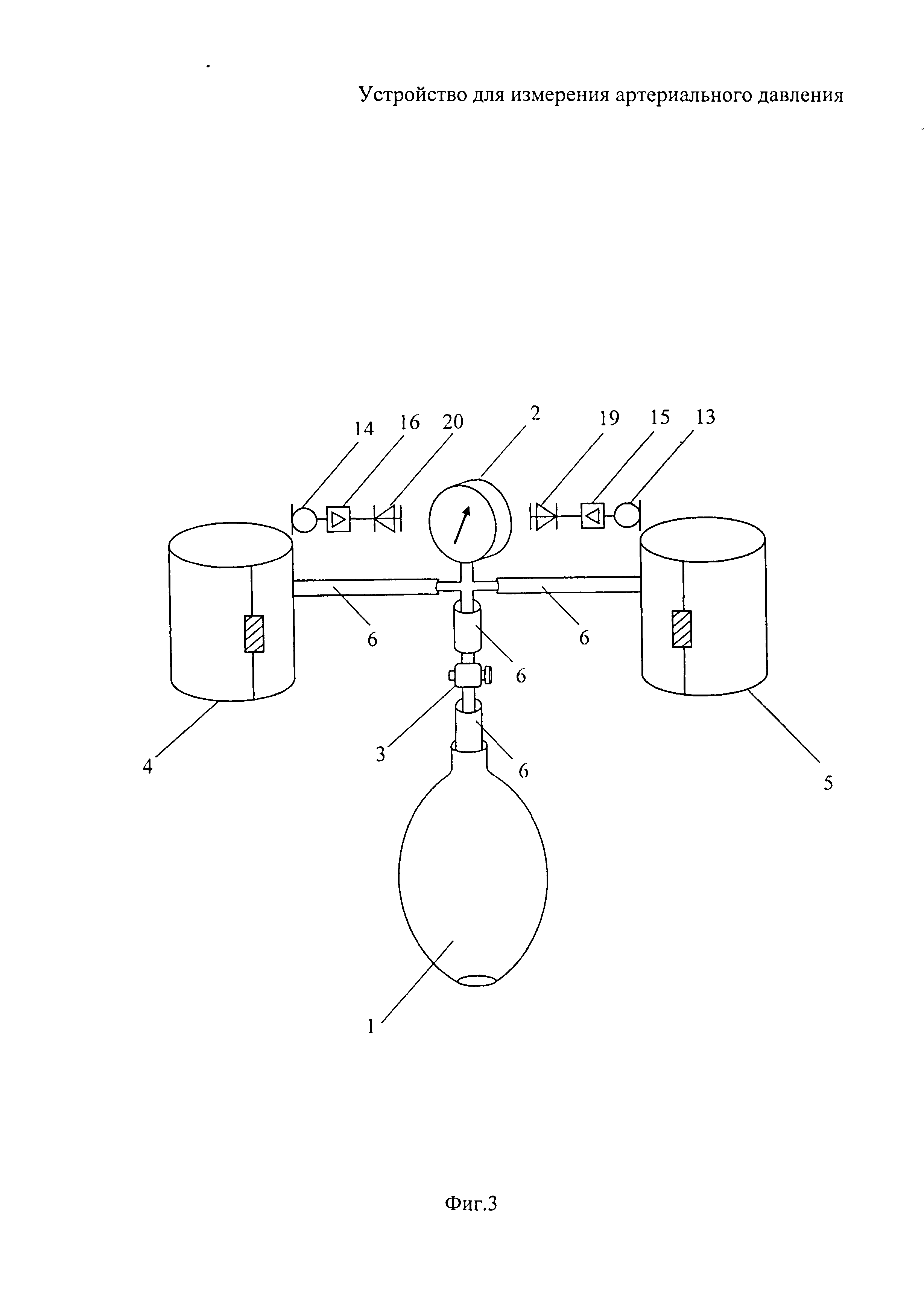
[27]

Предлагаемое устройство содержит нагнетатель воздуха 1, манометр 2, регулятор давления 3 и две параллельно установленные пневматические манжеты 4, 5, соединенные воздуховодом 6. В зависимости от используемого регистратора тонов Короткова устройство содержит стереостетоскоп с двумя звукопринимающими головками 7, 8 соответственно соединенными двумя раздельными воздуховодами 9, 10 с двумя ушными оливами 11, 12 или микрофоны 13, 14, соединенные с усилителями 15, 16, выходы которых соединены с индикаторами тонов Короткова (звуковыми индикаторами 17, 18 в виде акустических излучателей, объединенных в стереофоническую телефонную гарнитуру, или визуальными индикаторами 19, 20, установленными вблизи от шкалы манометра 2, выполненными оптическими или цифровыми,). Для улучшения акустического контакта полости манжет 4, 5 могут содержать жидкое тело 21.

[28]

Устройство работает следующим образом.

[29]

Вариант 1. Устанавливают две пневматические манжеты 4, 5 на конечности (зоны измерения). В проекции артериальных стволов под манжетами 4, 5 или вблизи от них устанавливают звукопринимающие головки 7, 8. Посредством нагнетателя воздуха 1 повышают давление в манжетах 4, 5 до уровня, заведомо превышающего систолическое давление. Ручным регулятором давления 3 устанавливают постепенное снижение давления газа в системе, соединенной двумя воздуховодами 9, 10, в том числе и манжетах 4, 5. На слух, посредством стереостетоскопа, раздельно регистрируют появление и прекращение тонов Короткова, отмечая по показаниям манометра 2 диапазон давлений, в котором тоны Короткова регистрируются.

[30]

Вариант 2. Устанавливают две пневматические манжеты 4, 5 на конечности (зоны измерения). В проекции артериальных стволов под манжетами 4, 5 или вблизи от них устанавливают микрофоны 13, 14. Посредством нагнетателя воздуха 1 повышают давление в манжетах 4, 5 до уровня, заведомо превышающего систолическое давление. Ручным регулятором давления 3 устанавливают постепенное снижение давления воздуха в системе. Возникающие звуковые колебания тонов Короткова микрофоны 13, 14 преобразуют в электрические колебания, которые поступают на входы усилителей 15, 16. С выходов усилителей 15, 16 усиленные электрические сигналы тонов Короткова поступают на звуковые индикаторы 17, 18, которыми являются акустические излучатели 17, 18, объединенные в стереофоническую телефонную гарнитуру 17, 18. На слух, посредством стереофонической телефонной гарнитуры 17, 18, один оператор раздельно регистрирует появление и прекращение тонов Короткова, отмечая по показаниям манометра 2 диапазон давлений, в котором тоны Короткова регистрируются.

[31]

Вариант 3. Устанавливают две пневматические манжеты 4, 5 на конечности (зоны измерения). В проекции артериальных стволов под манжетами 4, 5 или вблизи от них устанавливают микрофоны 13, 14. Посредством нагнетателя воздуха 1 повышают давление в манжетах 4, 5 до уровня, заведомо превышающего систолическое давление. Ручным регулятором давления 3 устанавливают постепенное снижение давления в системе, в том числе и манжетах 4, 5. Возникающие звуковые колебания тонов Короткова микрофоны 13, 14 преобразуют в электрические колебания, которые поступают на входы усилителей 15, 16. С выходов усилителей 15, 16 электрические сигналы тонов Короткова поступают на визуальные индикаторы 19, 20 (оптические или цифровые), установленные вблизи от шкалы манометра 2. Визуально, посредством визуальных индикаторов 19, 20, оператор раздельно регистрирует появление и прекращение тонов Короткова, отмечая по показаниям манометра 2 диапазон давлений, в котором тоны Короткова регистрируются.

[32]

Частичное (в зоне установки микрофона 13, 14) или полное заполнение полости манжеты 4, 5 жидким телом 21 позволяет регистрировать акустические волны в неудобных для измерения зонах (таких, например, как подколенная ямка).

[33]

Предлагаемая полезная модель позволяет одному оператору производить в цикле одного измерения регистрацию тонов Короткова, по меньшей мере, в двух зонах одновременно и таким образом, регистрировать асимметрию артериального давления в зонах измерения, что существенно для проведения ранней диагностики определенных патологических состояний.

Как компенсировать расходы
на инновационную разработку
Похожие патенты