Полезная модель относится к области метеорологии и может быть использована в конструкции различных флюгеров, в частности, предназначенных для определения направления ветра, в том числе, имеющих декоративную флюгарку без противовеса. Узел вращения флюгера содержит неподвижную вертикальную ось, на которой соосно установлена с возможностью свободного вращения втулка, и установленный в ее нижней части подшипник скольжения. При этом в верхней части втулки установлен второй подшипник скольжения. Подшипники скольжения закреплены на неподвижной оси или втулке, и к наружной поверхности втулки симметрично и параллельно относительно вертикальной оси вращения втулки прикреплены две пластины, нижний край которых закреплен на пластине, расположенной под прямым углом к вертикальной оси вращения втулки, и прикрепленной к наружной поверхности втулки.
1. Узел вращения флюгера, содержащий неподвижную вертикальную ось, на которой соосно установлена с возможностью свободного вращения втулка, и установленный в ее нижней части подшипник скольжения, отличающийся тем, что в верхней части втулки установлен второй подшипник скольжения, при этом подшипники скольжения закреплены на неподвижной оси или втулке, и к наружной поверхности втулки симметрично и параллельно относительно вертикальной оси вращения втулки прикреплены две пластины, нижний край которых закреплен на пластине, расположенной под прямым углом к вертикальной оси вращения втулки, и прикрепленной к наружной поверхности втулки. 2. Узел вращения по п.1, отличающийся тем, что в каждой из пластин, прикрепленных симметрично и параллельно относительно вертикальной оси вращения втулки, выполнено по крайней мере два круговых отверстия, предназначенных для крепления флюгарки или указателя ветра. 3. Узел вращения по п.1, отличающийся тем, что пластины присоединены к наружной поверхности втулки путем сварки. 4. Узел вращения по п.1, отличающийся тем, что подшипники скольжения выполнены в виде втулок из антифрикционного материала. 5. Узел вращения по п.1, отличающийся тем, что подшипники запрессованы во втулку.
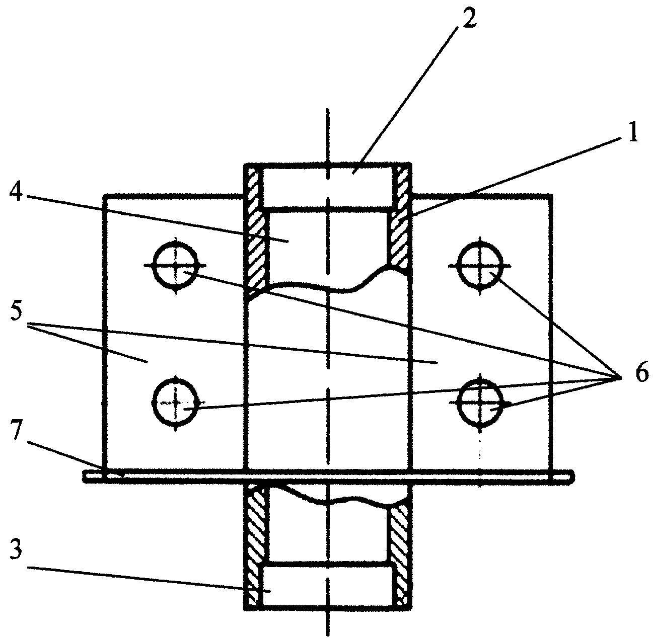
Полезная модель относится к области метеорологии и может быть использована в конструкции различных флюгеров, в частности, предназначенных для определения направления ветра, в том числе, имеющих декоративную флюгарку без противовеса. Известен флюгер Кудрявцева по патенту РФ №2513 от 13.04.1995 г., МПК A63H 33/40, содержащий неподвижную вертикальную стойку, на которую надета подвижная часть - установленный вверх дном несущий стакан с закрепленными на нем флюгаркой и противовесом. Узел вращения флюгера содержит несущий стакан, надетый на неподвижную вертикальную стойку, и не менее одного подшипника качения. Подшипник своим наружным кольцом запрессован внутри несущего стакана и установлен на вертикальной стойке. На несущем стакане горизонтально по отношению к оси стакана жестко закреплены два стержня, на концах которых размещены флюгарка и противовес, Описанный узел вращения недостаточно технологичен, т.к. используемый в нем подшипник критичен к точности его установки, требует периодической смазки, причем, для высоких и низких температур. Кроме того, использование подшипника качения приводит к увеличению диаметра узла вращения флюгера (несущего стакана), а также к его удорожанию. К недостаткам указанной конструкции узла вращения также можно отнести необходимость использования противовеса. Известный узел вращения имеет общие с заявляемым устройством признаки: несущий стакан (втулка), надетый на неподвижную вертикальную стойку, и подшипник, который своим наружным кольцом запрессован внутри несущего стакана и установлен на вертикальной стойке. Наиболее близким по технической сущности к заявляемой полезной модели является узел вращения флюгера по патенту РФ №14674 от 02.03.2000 г., МПК G01P 13/02. Узел вращения флюгера содержит неподвижный стержень, на который надета трубка-вертушка. Стержень ввинчен в неподвижную стойку, свободный конец стержня выполнен с острым конусом. На стойке установлен подшипник скольжения. В верхней части трубки-вертушки винтами закреплена рамка флюгера с подпятником из твердого металла. В нижней части трубки-вертушки закреплена винтом втулка с двухлопастной флюгаркой и стержнем с противовесом. Трубка-вертушка подпятником опирается на острие конуса стержня и свободно вращается вокруг вертикальной оси. Указанный узел вращения имеет общие с заявляемым устройством признаки: неподвижный стержень (ось); трубка-вертушка (втулка), установленная с возможностью свободного вращения на ось; узел вращения в его нижней части снабжен подшипником скольжения. Устройство имеет следующие недостатки. Острый конус стержня, опирающийся в подпятник рамки, образует подшипник, воспринимающий осевые нагрузки и не воспринимающий радиальные нагрузки, который по воспринимаемой нагрузке является упорным подшипником скольжения. Подшипник скольжения, установленный в нижней части узла вращения, по направлению воспринимаемой нагрузки является радиальным. Конструкция узла вращения требует использования противовеса. В такой конструкции узла вращения флюгера с упорным верхним и радиальным нижним подшипником возможен перекос трубки-вертушки. Узел вращения имеет низкую надежность вращения трубки-вертушки из-за возникающего трения, критичен к уравновешиванию флюгарки и других элементов, закрепляемых на трубке-вертушке. Выполнение качественного уравновешивания флюгарки и других элементов усложняет и утяжеляет конструкцию флюгера. Кроме того, острый конус стержня подвержен истиранию в процессе эксплуатации. Задачей полезной модели является создание надежного узла вращения флюгера (указателя направления ветра), предназначенного для закрепления на нем флюгарок без противовеса. Достигаемый при использовании заявляемой полезной модели технический результат заключается в повышении надежности узла вращения флюгера, упрощении монтажа флюгера, снижении веса и металлоемкости флюгера. Поставленная задача решается и технический результат достигается тем, что в узле вращения флюгера (указателя направления ветра), содержащем неподвижную вертикальную ось, на которой соосно установлена с возможностью свободного вращения втулка, и установленный в ее нижней части подшипник скольжения, в верхней части втулки установлен второй подшипник скольжения, причем, подшипники скольжения закреплены на неподвижной оси или втулке, и при этом к наружной поверхности втулки симметрично и параллельно относительно вертикальной оси вращения втулки прикреплены две пластины, нижний край которых закреплен на пластине, расположенной под прямым углом к вертикальной оси вращения втулки, и прикрепленной к наружной поверхности втулки. Верхний подшипник скольжения выполняют функцию радиально-упорного подшипника. Данный подшипник в верхней части втулки и подшипник скольжения в нижней части втулки, воспринимающие радиальные нагрузки, способствуют повышению чувствительности к ветру, исключению перекосов втулки, снижению трения, и, следовательно, повышают надежность вращения втулки. Использование в конструкции узла вращения кронштейна, выполненного в виде двух вертикальных и горизонтальной пластин, позволяет легко и быстро присоединять к узлу вращения флюгарку. Причем конструкция кронштейна выполнена таким образом, что для надежной работы флюгера не требуется использование противовеса. Горизонтальная пластина, прикрепленная к вертикальным пластинам, предназначена для повышения жесткости конструкции, что повышает надежность конструкции и позволяет снизить ее материалоемкость в целом и соответственно габариты и вес. В частных случаях реализации устройство может выполняться следующим образом. Для крепления флюгарки к втулке в каждой из пластин, прикрепленных симметрично и параллельно относительно вертикальной оси вращения втулки, выполнено по крайней мере два круговых отверстия. Для повышения прочности крепления пластин к наружной поверхности втулки пластины присоединены к наружной поверхности втулки путем сварки. Подшипники скольжения выполнены в виде втулок из антифрикционного материала. Подшипники запрессованы во втулку. Сущность полезной модели поясняется чертежом, на котором показан поперечный разрез узла вращения флюгера. Узел вращения флюгера содержит втулку 1, верхний подшипник скольжения 2, нижний подшипник скольжения 3, неподвижную ось 4 с винтовой нарезкой в нижней части (на фиг. не показана), вертикальные пластины 5 с отверстиями 6, горизонтальную пластину 7. В верхней части неподвижной оси 4 установлена втулка 1. Втулка 1 размещена соосно неподвижной оси 4. В верхнем и нижнем концах втулки 1 закреплены (запрессованы) соответственно верхний подшипник скольжения 2 и нижний подшипник скольжения 3. К внешней поверхности втулки 1 симметрично и параллельно оси 4 приварены две вертикальные прямоугольные пластины 5, предназначенные для крепления флюгарки (на фиг. не показана). В каждой пластине 5 имеется по два круговых отверстия 6, расположенных одно под другим. В отверстия 6 вставляют винты для крепления флюгарки. Нижний край вертикальных пластин 5 приварен к горизонтальной пластине 7, размещенной вокруг наружной поверхности втулки 1. Пластина 7 приварена к наружной поверхности втулки 1. Втулка 1, пластины 6 и 7, неподвижная ось 4 выполнены из металла. Подшипники 2 и 3 выполнены, например, в виде втулок из антифрикционного материала. Узел вращения флюгера работает следующим образом. Под действием ветра втулка 1 с закрепленной на ней флюгаркой (на фиг. не показана) свободно вращается вокруг неподвижной оси 2.