патент
№ RU 121836
МПК E04B5/43

КАРКАС МОНОЛИТНЫЙ ЖЕЛЕЗОБЕТОННЫЙ БЕЗРИГЕЛЬНЫЙ

Авторы:
Кузьменко Сергей Геннадьевич
Номер заявки
2012124318/03
Дата подачи заявки
14.06.2012
Опубликовано
10.11.2012
Страна
RU
Как управлять
интеллектуальной собственностью
Чертежи 
5
Реферат

1. Каркас монолитный железобетонный безригельный, содержащий колонны и перекрытия, отличающийся тем, что колонна и перекрытие, в месте сопряжения, объединены в жесткий конструктивный элемент-узел, условными границами которого являются, на плане - линии расчетных нулевых изгибающих моментов в перекрытиях вокруг колонн, а по вертикали - сечения колонн, расположенные посередине высоты этажей; каркас выполнен как совокупность жестких конструктивных элементов-узлов с радиально-концентрическим армированием, объединенных в пространственную конструкцию вертикальными и горизонтальными связями; продольная арматура колонн своими отгибами, в радиальных направлениях, плавно переходит в растянутую приколонную зону перекрытия и далее, в зоне минимальных изгибающих моментов, та же арматура плавно переходит в растянутую пролетную зону перекрытия; отгибы продольной арматуры колонн состыкованы жестко, с нахлестом по вертикали, в верхней растянутой приколонной зоне перекрытия, задавая эксцентриситет передачи нагрузки на колонны. ! 2. Каркас по п.1, отличающийся тем, что он имеет консольные свесы перекрытия, составляющие 30-35% размера примыкающего пролета 3. ! 3. Каркас по п.1, отличающийся тем, что он армирован непрерывной и закольцованной, через колонны и смежные перекрытия, радиальной арматурой. ! 4. Каркас по п.1, отличающийся тем, что колонны равноудалены друг от друга по принципу равностороннего треугольника. ! 5. Каркас по п.1, отличающийся тем, что швы бетонирования на колоннах располагают посередине высоты этажей.

Формула изобретения

1. Каркас монолитный железобетонный безригельный, содержащий колонны и перекрытия, отличающийся тем, что колонна и перекрытие, в месте сопряжения, объединены в жесткий конструктивный элемент-узел, условными границами которого являются, на плане - линии расчетных нулевых изгибающих моментов в перекрытиях вокруг колонн, а по вертикали - сечения колонн, расположенные посередине высоты этажей; каркас выполнен как совокупность жестких конструктивных элементов-узлов с радиально-концентрическим армированием, объединенных в пространственную конструкцию вертикальными и горизонтальными связями; продольная арматура колонн своими отгибами, в радиальных направлениях, плавно переходит в растянутую приколонную зону перекрытия и далее, в зоне минимальных изгибающих моментов, та же арматура плавно переходит в растянутую пролетную зону перекрытия; отгибы продольной арматуры колонн состыкованы жестко, с нахлестом по вертикали, в верхней растянутой приколонной зоне перекрытия, задавая эксцентриситет передачи нагрузки на колонны.

2. Каркас по п.1, отличающийся тем, что он имеет консольные свесы перекрытия, составляющие 30-35% размера примыкающего пролета 3.

3. Каркас по п.1, отличающийся тем, что он армирован непрерывной и закольцованной, через колонны и смежные перекрытия, радиальной арматурой.

4. Каркас по п.1, отличающийся тем, что колонны равноудалены друг от друга по принципу равностороннего треугольника.

5. Каркас по п.1, отличающийся тем, что швы бетонирования на колоннах располагают посередине высоты этажей.

Описание

[1]

Каркас монолитный железобетонный безригельный относится к области строительства, и может быть использован в жилищных, культурно-бытовых и промышленных зданиях, а так же в районах с повышенной сейсмической активностью, в зданиях с большепролетными монолитными перекрытиями, в высотном монолитном строительстве при различных типах сечения колонн.

[2]

Из уровня техники известен монолитный железобетонный безригельный каркас традиционно разделяемый на колонны и плоские перекрытия. При этом швы бетонирования по колоннам, как правило, находятся в уровне верхней и нижней плоскостей плиты перекрытия, то есть плиты пересекают швами бетонирования колонны. В этом случае нет необходимого эффекта совместной работы колонны с перекрытием. И при пересечении колонн и перекрытий, как правило, арматура колонн не связана с арматурой перекрытия. В результате этого, учитывая продавливание от реакции колонны, при восприятии нагрузки, с увеличением пролета, приходится увеличивать толщину плиты и сечение колонны, а так же ставить много поперечной арматуры в приколонной зоне перекрытия.

[3]

Известно, что стык продольной арматуры колонн осуществляется преимущественно внахлест и в теле колонны, что приводит к бесполезному перерасходу арматуры, особенно с увеличением диаметра арматуры.

[4]

Известно так же, что шаг колонн, традиционно применяемый, как правило, с нечастыми исключениями, не превышает 7÷7,5 м при плитах перекрытия δ=180-200 мм. Если при увеличении шага колонн и нагрузок на перекрытие в результате расчета получим расчетную арматуру в верхней растянутой зоне плиты: Ах+Аy=100 см2, (где Ах-, Аy-, расчетное значение арматуры по взаимно перпендикулярным направлениям Х и Y), то, при традиционной системе армирования, при сечении колонны 400×400 и толщине плиты 200 мм, разместить такое количество арматуры в растянутой зоне плиты перекрытия просто представится невозможным.

[5]

Известно «Безбалочное перекрытие» по патенту RU 2382154 С1, от 16.10.2008, опубликовано 20.02.2010 Е04В 5/43, содержащее железобетонную плиту, армированную по осям сетки колонн арматурными элементами верхней и нижней зон пространственных каркасов условных ригелей, а над колоннами, взаимно перпендикулярно пересекающимися арматурными элементами в верхней и нижней зонах, при этом перекрытие дополнительно снабжено арматурными элементами условных ригелей, установленными по диагоналям плиты между колоннами, при этом арматурные элементы выполнены, как одно целое, на всю длину диагоналей сетки колонн, и установлены в верхней и нижней зонах, а в области пересечения каркасов условных ригелей, в пролетах в нижней зоне, установлены радиальные арматурные элементы, соединенные между собой посредством пластины в одной плоскости, имеющие длину с каждой стороны от центра их соединения между собой, не превышающую1/4 расстояния между осями сетки колонн, с интервалом не более 45° по окружностям, совпадающим с центрами пересечения арматурных каркасов условных ригелей, при этом радиальные элементы расположены на уровне верхнего края арматурных элементов нижней зоны каркасов условных ригелей, над средними колоннами в верхней и нижней зонах установлены радиальные арматурные элементы, соединенные в одной плоскости, имеющие длину с каждой стороны от центра их соединения, не превышающую1/4 расстояния между осями сетки колонн, с интервалом не более 45° по окружностям с центрами, совпадающими с центрами средних колонн, а над крайними колоннами в верхней и нижней зонах установлены радиальные арматурные элементы, соединенные в одной плоскости, имеющие длину, не превышающую1/4 расстояния между осями сетки колонн, с интервалом не более 45° по окружностям с центрами, совпадающими с центрами крайних колонн.

[6]

В данной конструкции армирование перекрытия рассматривается отдельно от колонны; колонны имеют 4 (четыре) продольных стержня арматуры, хотя при предполагаемом 12-ти метровом шаге колонн, и здании в несколько этажей, количество стержней может быть 8 и даже более.

[7]

При этом возникают серьезные трудности с размещением всей арматуры на колонне: сплошная основная арматура плиты, дополнительная, в растянутой зоне над колонной, взаимно-пересекающиеся условные ригели, дополнительные радиальные элементы, плюс поперечная арматура. В любом случае - в перекрытии, в надколонной зоне располагается сплошной металл.

[8]

Из-за наличия условных ригелей по осям сетки колонн и по диагоналям и наличия дополнительных радиальных элементов возникают дополнительные ограничения по размещению крупных отверстий (вентиляции, лестничные клетки и др.);

[9]

Крайние пролеты в монолитном железобетонном безригельном каркасе, без наличия консольных участков перекрытия, при 12-ти метровых пролетах, обуславливают тяжелые условия работы колонн крайнего ряда, и особенно угловых колонн, за счет большой концентрации напряжений.

[10]

Известно «Безбалочное перекрытие» по патенту RU 2309228 от 10.03.2006, опубликовано 27.10.2007, Е04В 5/43, включающее плоскую плиту и колонну без капители, отличающееся тем, что в теле плоской плиты размещают n-ветвевую консоль с кольцевой рабочей арматурой, жестко прикрепленной к верхним граням n-ветвевой консоли, при этом в верхней зоне плоской плиты дополнительно размещают радиальную рабочую арматуру, связанную с кольцевой рабочей арматурой, причем центр обеих арматур совпадает с осью колонны.

[11]

Известно «Безбалочное перекрытие» по патенту RU 2362856 С1, от 26.02.2008, опубликовано 27.07.2009, Е04В 5/43, включающее колонну без капители, плоскую плиту, в теле которой размещена n-ветвевая консоль с кольцевой и радиальной рабочими арматурами, центр пересечения которых совпадает с осью колонны, отличающееся тем, что ветви n-ветвевой консоли жестко прикреплены к обрезку трубы, помещенному внутрь колонны таким образом, что ось обрезка трубы совпадает с осью колонны, причем длина окружности обрезка трубы больше суммарной ширины полок ветвей n-ветвевой консоли, а длина обрезка трубы определяется суммарным изгибающим моментом в ветвях n-ветвевой консоли.

[12]

В предложенной конструкции, в расчетной схеме отсутствует конструктивная связь колонны с перекрытием, и плита рассматривается отдельно от колонны. Наличие в теле плиты вертикальных пластинчатых прокатных элементов оказывает раскалывающее воздействие на бетон плиты под нагрузками, что приводит к ее расщеплению на секторы;

[13]

Наиболее близким техническим решением является каркас, с концентрированным «ригельным» армированием плоских плит пространственными арматурными каркасами, при этом, основная верхняя и нижняя продольная арматура, расположены во взаимно перпендикулярных направлениях, по линиям действия максимальных изгибающих моментов и поперечных сил, обычно вдоль створов колонн каркаса, и завязаны хомутами в пространственные арматурные каркасы, которые в перекрытиях образуют условные скрытые ригели.

[14]

В средних зонах ячеек каркаса перекрытия армированы только понизу, одной сеткой с минимальным количеством арматуры. Но и в этом случае, расход арматуры на 1 м2 перекрытия, например при сетке колонн 7.5 м составляет 28 кг/м2 (при толщине плиты δ=200 мм). (В.Н.Симбиркин. Проектирование железобетонных каркасов многоэтажных зданий с помощью ПК STARK ES // Информационный вестник Мособлгосэкспертизы. - 2005. - №3(10). - С.42-48.), а также: http://www.eurosoft.ru/files/publ/4rcframes.pdf

[15]

Приведенные по вышеперечисленным ссылкам данные преимущественно приведены для жилых домов с соответствующими нормативными нагрузками.

[16]

При «ригельном» армировании, перекрытие рассматривают отдельно от колонны, и, при увеличении шага колонн, при увеличении пролетных нагрузок, ширина условных ригелей увеличивается.

[17]

«Ригельное» армирование, так же не решает проблемы густого армирования в надколонной зоне перекрытия, и соответственно, не может повлиять на уменьшение толщины плиты.

[18]

При ригельном армировании добиваются некоторой экономии, по сравнению с традиционной системой, но только при небольших пролетах (~6÷6.5 метров) и небольших пролетных нагрузках.

[19]

«Ригельное» армирование так же ограничивает возможности размещения крупных отверстий между колоннами, таких как, лестничные клетки, вентиляционные отверстия, и другие.

[20]

Задачей предлагаемого технического решения является обеспечение повышенной несущей способности и сейсмостойкости зданий, в том числе монолитных перекрытий с шагом колонн более 9-ти метров без предварительного напряжения арматуры.

[21]

Задача решена за счет, каркаса монолитного железобетонного безригельного, содержащего колонны и перекрытия, при этом, колонна и перекрытие, в месте сопряжения, объединены в жесткий конструктивный элемент-узел, условными границами которого являются, на плане - линии расчетных нулевых изгибающих моментов в перекрытиях вокруг колонн, а по вертикали - сечения колонн, расположенные посередине высоты этажей; каркас выполнен, как совокупность жестких конструктивных элементов-узлов с радиально-концентрическим армированием, объединенных в пространственную конструкцию вертикальными и горизонтальными связями; продольная арматура колонн своими отгибами, в радиальных направлениях, плавно переходит в растянутую приколонную зону перекрытия и далее, в зоне минимальных изгибающих моментов, та же арматура плавно переходит в растянутую пролетную зону перекрытия; отгибы продольной арматуры колонн состыкованы жестко, с нахлестом по вертикали, в верхней растянутой приколонной зоне перекрытия, задавая эксцентриситет передачи вертикальной нагрузки на колонны; он имеет консольные свесы перекрытия, составляющие 30-35% размера примыкающего пролета; он армирован непрерывной и закольцованной, через колонны и смежные перекрытия, радиальной арматурой; колонны равноудалены друг от друга по принципу равностороннего треугольника; швы бетонирования на колоннах, располагают посередине высоты этажей.

[22]

Предлагаемое техническое решение позволяет: повысить несущую способность каркаса за счет перераспределения усилий задаваемым эксцентриситетом «е» передачи нагрузки на колонны, в местах сопряжения колонн с перекрытиями, едиными конструктивными элемент-узлами, объединенными в пространственный каркас непрерывной и закольцованной в радиальных направлениях, через смежные перекрытия и колонны, арматурой, со швами бетонирования расположенными посередине высоты этажей, обеспечив несущую способность и сейсмостойкость зданий, в том числе монолитных перекрытий с шагом колонн более 9-ти метров без предварительного напряжения арматуры.

[23]

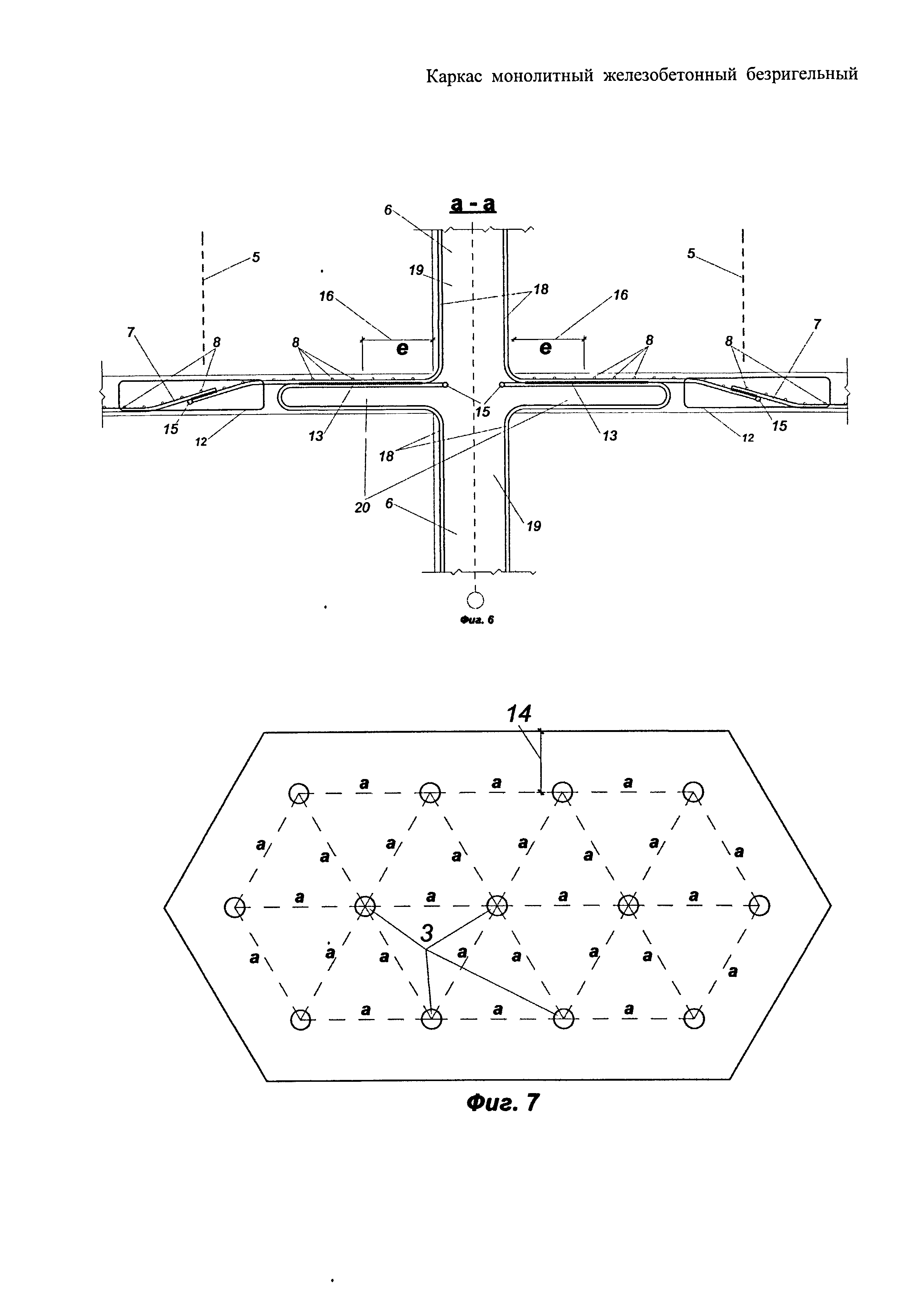
Каркас монолитный железобетонный безригельный изображен на чертежах, где на фиг.1 - каркас в сборе, на фиг 2 - монолитный конструктивный элемент-узел с арматурой 9, на фиг.3 - арматура 9, 17, 18; на фиг.4 - конструктивный разрез по каркасу, на фиг.5 - раскладка арматуры в плане по перекрытию, на фиг.6 - монолитный конструктивный узел с арматурой 18, на фиг.7 - схема расположения равноудаленных колонн по принципу равностороннего треугольника.

[24]

На фиг.1, 2, 3, 4, 5, 6, 7 изображены: каркас 1 монолитный железобетонный безригельный в сборе, жесткий конструктивный элемент-узел 2, колонна 3, перекрытие 4, линия 5 расчетных нулевых изгибающих моментов в перекрытиях, сечение 6 колонн со швами бетонирования, армирование 7 радиальное перекрытия, армирование 8 концентрическое, продольная арматура 9 колонной части узла с отгибами в плитную часть узла, растянутая приколонная зона 10 плитной части узла, зона 11 плиты перекрытия растянутая пролетная, арматура 12 конструктивная, стык 13 отогнутой части продольной арматуры колонной части элемента-узла в верхней растянутой приколонной плитной части элемента-узла, консольные свесы 14 перекрытия, кольцевая распределительная арматура 15, эксцентриситет «е» 16 передачи нагрузки перекрытия на колонну, продольная арматура 17 колонной части узла с отгибами в плитную часть узла, продольная арматура 18 колонной части узла с отгибами в плитную часть узла, колонная часть 19 элемента-узла, плитная часть 20 элемента-узла.

[25]

Поперечная арматура колонн и перекрытий на приведенных чертежах не показана.

[26]

Каркас монолитный железобетонный безригельный выполнен следующим образом.

[27]

Каркас 1 выполнен, как совокупность жестких монолитных конструктивных элементов-узлов 2 с радиально-концентрическим армированием 7, 8, объединенных в пространственную конструкцию вертикальными и горизонтальными связями, в виде продольной арматуры 9, и/или 17, и/или 18 колонн, и радиальной арматуры 7 перекрытия (фиг.4), а также монолитными участками плит.

[28]

При этом, для верхних этажей, и при небольших пролетных нагрузках и эксцентриситетах 16, применяют арматуру 9 (фиг.2, фиг.4), для средних и нижних этажей и для увеличенных пролетов и больших пролетных нагрузках и эксцентриситетах 16 применяют арматуру 17 или 18 (фиг.4, фиг.6). В зависимости от условий применяют или одну арматуру 9, или 17, или 18 на всем каркасе, или комбинируют эти арматуры.

[29]

Монолитный элемент-узел 2 (фиг.2, фиг.6), имеющий условные границы по линиям 5 перекрытия 4 и по сечениям 6 колонн 3, выполнен из соединенных жестко, конструктивно объединенных радиально направленной продольной арматурой 9, или 17, или 18 колонн с отгибами в плитную часть 20 элемента-узла, вертикальной колонной части 19, и горизонтальной плитной части 20, размещенной вокруг центра, расположенного в месте пересечения центральной оси колонны 3 с плитой перекрытия 4.

[30]

Перекрытие содержит плитные части 20 элемент-узлов и монолитные участки плит, объединенные горизонтальными связями в виде радиальной арматуры 7 перекрытия. (фиг.1, 2, 6)

[31]

Колонна содержит верхнюю и нижнюю колонные части 19 смежных элемент-узлов текущего этажа (фиг.1, 2, 6)

[32]

Арматура, с особой конфигурацией отгибов 9, 17, 18, является основной образующей арматурного каркаса элемента-узла 2.

[33]

В растянутой приколонной зоне 10 плитной части элемента-узла 2 арматура 9, и/или 17, и/или 18, отгибами смежных этажей, жестко соединена с вертикальным нахлестом с кольцевой распределительной арматурой 15. На вертикальные участки арматуры 9, и/или 17, и/или 18, накручена поперечная арматура колонн (не показана), и на горизонтальные участки этой арматуры - концентрическая арматура 8. (фиг.2, фиг.6).

[34]

Наличие у арматуры 9, 17, 18, отгибов в верхнюю растянутую приколонную зону 10 плитной части элемента-узла 2, задает всегда присутствующий и регулируемый проектными решениями эксцентриситет «е» 16, передачи вертикальной нагрузки перекрытия на колонну.

[35]

Наличие эксцентриситета «е» 16 передачи вертикальной нагрузки на колонную часть 3 элемента-узла 2, при жестком стыке 13 и изогнутой формы детали 9 или 17 или 18:

[36]

- создает момент в колонной части арматуры 9 или 17 или 18, выдергивающий арматуру вверх, то есть в арматуре 9 или 17 или 18 создается разгружающее колонну 3 усилие, направленное вверх;

[37]

- обеспечивает автоматическую работу механизма разгрузки: при увеличении количества этажей увеличивается и разгружающий момент в колоннах 3 нижележащих этажей.

[38]

Собранный пространственный арматурный каркас для формирования элемент-узла 2 устанавливают своими нижними отгибами арматуры 9, и/или 17, и/или 18, на верхние отгибы арматуры 9, и/или 17, и/или 18, такого же пространственного арматурного каркаса, выступающего из колонны 3 текущего этажа.

[39]

Верхние отгибы продольной арматуры 9 или 17 или 18, нижней колонны (фиг.2, фиг.4, фиг.6), упираясь в прикрепленные нижние отгибы продольной арматуры 9 или 17 или 18 верхней колонны (фиг.2, фиг.4, фиг.6), создают эффект поддерживающей капители в теле плиты, в то же время являясь надежными анкерами при восприятии изгибающих приколонных моментов. При этом перекрытие при работе ощущает опору не на колонну, а на значительно расширенную область.

[40]

Продольная арматура 9, 17, 18 колонн 3, своими отгибами в радиальных направлениях, плавно переходит в растянутую приколонную зону 10 плитной части элемента-узла 2, и далее, в зоне 5 минимальных изгибающих моментов, та же арматура плавно переходит в растянутую пролетную зону 11 перекрытия 4.

[41]

Стык 13 продольной арматуры 9, и/или 17, и/или 18 колонн 3, соседних этажей, своими отгибами жестко соединен с вертикальным нахлестом в верхней растянутой приколонной зоне 10 плитной части узла 2. Отогнутые концы продольной арматуры 9, и/или 17, и/или 18, жестко соединены между собой кольцевой распределительной арматурой 15 в теле перекрытия 4.

[42]

Радиальная арматура 7, смежных перекрытий 4, каркаса 1, и продольная арматура колонн 9, и/или 17, и/или 18 с отгибами, жестко соединены между собой, непрерывны и закольцованы через колонны 3, создают непрерывную систему колонна-перекрытие-колонна-перекрытие, (фиг.2, фиг.4, фиг.6).

[43]

Каркас 1 имеет консольные свесы 14 перекрытия 4, составляющие 30-35% размера примыкающего пролета.

[44]

В предлагаемом каркасе применено наиболее рациональное и, как следствие, самое экономичное: радиально-концентрическое армирование, поскольку:

[45]

- набирают необходимое количество арматуры в нужном месте без перерасхода в приколонной растянутой зоне бетона, избегая значительного перерасхода арматуры на анкеровку дополнительного армирования, по сравнению с традиционной системой и прототипом;

[46]

- в радиальном направлении увеличивают шаг арматуры по мере удаления от центра колонны соответственно уменьшению изгибающих моментов;

[47]

- вследствие задаваемого эксцентриситета е и непрерывно закольцованного с соседствующим этажом радиального армирования колонна-перекрытие-колонна-перекрытие (фиг.4), пролетные нагрузки на перекрытие растягивают радиальную арматуру, в том числе и в колонной зоне, создавая при этом разгрузочный момент в арматуре колонны, при этом уменьшают расход армирования колонн;

[48]

- нагрузка вертикальная N (фиг.4) от вышележащего этажа через арматуру, из-за отгибов стержней, передается на нижний этаж с эксцентриситетом - фиг.2, вследствие чего создается момент М (фиг.4), выдергивающий арматуру нижнего этажа, то есть в колонной части создается хороший разгружающий эффект, причем, регулируемый величиной эксцентриситета, эффект саморазгружения.

[49]

- вследствие непрерывности радиального армирования колонна-перекрытие-колонна-перекрытие, отпадает необходимость сплошного непрерывного верхнего и нижнего армирования, в том виде как это было при традиционной системе (⌀10,⌀12А-III с шагом 200×200); теперь достаточно и ⌀8A-I и то не по всей площади плиты (возможно ⌀6A-I, при небольших пролетах и плитах δ=120÷150 мм) и отнести его к конструктивному армированию, определяемому проектировщиками; это так же даст значительную экономию арматуры.

[50]

Важным отличительным моментом, предлагаемого каркаса, является устройство швов бетонирования по колоннам (рис.1), например, с применением секционной замковой пластиковой опалубки GEOTUBE или ей подобной, дающими возможность расположить швы бетонирования в зоне сечений колонн на уровне середины этажей, то есть по возможности в районе зоны с минимальным расчетным изгибающим моментом.

[51]

Равноудаленное расположение колонн (фиг.7) выравнивает нагрузки на колонны и способствует увеличению шага колонн и уменьшению поперечного армирования.

[52]

Несущая способность безригельного монолитного железобетонного каркаса повышается за счет работы элемент-узла 2 следующим образом.

[53]

Собранный из элемент-узлов 2, пространственный каркас объединен в непрерывную систему колонна-перекрытие-колонна-перекрытие, горизонтальными и вертикальными связями, в котором продольная арматура колонн 9, и/или 17, и/или 18, плавно переходит своими отгибами в радиальных направлениях в растянутую приколонную зону перекрытия, далее, в зону минимальных изгибающих моментов, и далее плавно переходит в растянутую пролетную зону перекрытия, закольцованную с соседствующими этажами радиальным армированием (фиг.4).

[54]

Основной характеристикой элемент-узла 2 является эксцентриситет «е» 16 передачи нагрузки перекрытия на колонну.

[55]

Пролетные вертикальные нагрузки, действующие на перекрытие, передаются через арматуру 9 или 17 или 18 на колонну 3 с задаваемым проектным решением эксцентриситетом «е» 16. При этом, на каждом этаже в продольной арматуре колонн, кроме усилия сжатия N возникают растягивающие усилия от изгибающего момента, равного М=Ne. (фиг.4)

[56]

Нагрузка вертикальная N (фиг.4) от вышележащего этажа через арматуру, из-за отгибов стержней, передается на нижний этаж с эксцентриситетом - фиг.2, вследствие чего создается момент М (фиг.4), выдергивающий арматуру нижнего этажа, то есть в колонной части создается хороший разгружающий эффект, причем, регулируемый величиной эксцентриситета, эффект саморазгружения.

[57]

Вследствие наличия заданного эксцентриситета 16 и непрерывности и закольцованности с соседствующими этажами радиального армирования колонна-перекрытие-колонна-перекрытие, (фиг.4) пролетные нагрузки на перекрытие растягивают радиальную арматуру, в том числе и в колонной зоне, создавая при этом разгрузочный момент в арматуре колонны. Что позволяет значительно уменьшить расход армирования колонн.

[58]

Техническим эффектом является обеспечение повышенной несущей способности монолитного железобетонного каркаса при возведении жилищных, культурно-бытовых и промышленных объектов, в том числе и с пролетами перекрытий более 9-ти метров, без предварительного напряжения арматуры, при различных типах сечения колонн, в высотном монолитном строительстве, в том числе, в районах с повышенной сейсмической активностью, за счет перераспределения усилий заданным эксцентриситетом «е» передачи нагрузки на колонны, в местах сопряжения колонн с перекрытиями, формируя каркас из единых конструктивных элементов-узлов, условными границами которых являются, на плане - линии расчетных нулевых изгибающих моментов в перекрытиях вокруг колонн, а по вертикали - сечения колонн, расположенные посередине высоты этажей, объединяя их в пространственный каркас непрерывной и закольцованной в радиальных направлениях, через смежные перекрытия и колонны, арматурой.

Как компенсировать расходы
на инновационную разработку
Похожие патенты